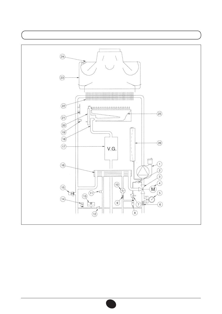
De Dietrich MS 24 MI FF: 33. SCHEMAT FUNKCJONALNY OBWODÓW
33. SCHEMAT FUNKCJONALNY OBWODÓW: De Dietrich MS 24 MI FF
191
71.03982.03 - PL
INSTRUKCJE PRZEZNACZONE DLA INSTALATORA
33. SCHEMAT FUNKCJONALNY OBWODÓW
24 MI FF
Legenda:
1 Pompa z separatorem powietrza
2 Zawór zwrotny
3 Zawór trójdrożny
4 Silnik zaworu trójdrożnego
5 Manometr
6 Filtr obwodu c.o.
7 Urządzenie rozłączające
8 Kurek napełniający kotła
9 Wyciągany filtr zimnej wody użytkowej
10 Czujnik c.w.u.
11 Sonda NTC obiegu c.w.u.
12 Zawór uzupełniający na automatycznym by-pass
13 Czujnik ciśnienia wody
14 Kurek spustowy kotła
15 Zawór bezpieczeństwa
16 Wymiennik płytowy woda-woda
17 Zawór gazu
18 Rampa gazu z dyszami
19 Sonda NTC obiegu c.o.
20 Elektroda zapłonowa/jonizacyjna
21 Termostat bezpieczeństwa
22 Wymiennik woda /spaliny
23 Kolektor spalin
24 Wentylator
25 Zwężka Venturiego
26 Gniazdo dodatnie ciśnienia
27 Gniazdo ujemne ciśnienia
28 Presostat powietrza
29 Palnik
30 Zbiornik wyrównawczy
Rysunek 17
Doprowadzenie
obiegu c.o.
Wylot
obiegu
c.w.u.
Gaz
Wlot
obiegu
c.w.u.
Powrót obiegu
c.o.
CG_2269 / 1006_1805
192
71.03982.03 - PL
INSTRUKCJE PRZEZNACZONE DLA INSTALATORA
24 MI
Legenda:
1 Pompa z separatorem powietrza
2 Zawór zwrotny
3 Zawór trójdrożny
4 Silnik zaworu trójdrożnego
5 Manometr
6 Filtr obwodu c.o.
7 Urządzenie rozłączające
8 Kurek napełniający kotła
9 Wyciągany filtr zimnej wody użytkowej
10 Czujnik c.w.u.
11 Sonda NTC obiegu c.w.u.
12 Zawór uzupełniający na automatycznym by-pass
13 Czujnik ciśnienia wody
14 Kurek spustowy kotła
15 Zawór bezpieczeństwa
16 Wymiennik płytowy woda-woda
17 Zawór gazu
18 Rampa gazu z dyszami
19 Sonda NTC obiegu c.o.
20 Elektroda zapłonowa/jonizacyjna
21 Termostat bezpieczeństwa
22 Wymiennik woda/spaliny
23 Kolektor spalin
24 Czujnik ciągu kominowego
25 Palnik
26 Zbiornik wyrównawczy
Rysunek 18
Doprowadzenie
obiegu c.o.
Wylot
obiegu
c.w.u.
Gaz
Wlot
obiegu
c.w.u.
Powrót obiegu
c.o.
CG_2270 / 1006_1806
193
71.03982.03 - PL
INSTRUKCJE PRZEZNACZONE DLA INSTALATORA
24 FF
Legenda
1
Automatyczny by-pass z zaworem zwrotnym
2
Czujnik cisnienia wody
3
Zawór trójdrozny
4
Silnik zaworu trójdrożnego
5
Zawór gazu
6
Rampa gazu z dyszami
7
Sonda NTC obiegu c.o.
8
Elektroda zapłonu/wykrywania płomienia
9
Termostat bezpieczeństwa
10 Wymiennik woda/spaliny
11 Kolektor spalin
12 Wentylator
13
Zwężka Venturiego
14
Gniazdo dodatnie ciśnienia
15
Gniazdo ujemne ciśnienia
16
Presostat powietrza
17
Palnik
18
Zbiornik wyrównawczy
19
Pompa z separatorem powietrza
20
Zawór zwrotny
21
Kurek spustowy kotła
22
Manometr
23
Zawór bezpieczeństwa
24
Urządzenie rozłączające
Rysunek 19
Doprowadzenie
obiegu c.o.
Gaz
Wlot
obiegu
c.w.u.
Powrót obiegu
c.o.
CG_2267 / 1006_2102
Doprowadzenie
bojlera
194
71.03982.03 - PL
INSTRUKCJE PRZEZNACZONE DLA INSTALATORA
24
Legenda:
1 Automatyczny by-pass z zaworem zwrotnym
2 Czujnik ciśnienia wody
3 Zawór trójdrożny
4 Silnik zaworu trójdrożnego
5 Zawór gazu
6 Rampa gazu z dyszami
7 Sonda NTC obiegu c.o.
8 Elektroda zapłonowa/jonizacyjna
9 Termostat bezpieczeństwa
10 Wymiennik woda/spaliny
11 Kolektor spalin
12 Czujnik ciągu kominowego
13 Palnik
14 Zbiornik wyrównawczy
15 Pompa z separatorem powietrza
16 Zawór zwrotny
17 Kurek spustowy kotła
18 Manometr
19 Zawór bezpieczeństwa
20 Urządzenie rozłączające
Rysunek 20
Doprowadzenie
obiegu c.o.
Gaz
Wlot
obiegu
c.w.u.
Powrót obiegu
c.o.
CG_2268 / 1006_2103
Doprowadzenie
bojlera
Оглавление
- SOMMAIRE
- 5. DESCRIPTION DES TOUCHES (ÉTÉ – HIVER – CHAUFFAGE SEULEMENT – ARRÊT)
- •
- 28. RACCORDEMENT D’UN BALLON SEPARE AVEC UN MOTEUR VANNE 3 VOIES
- 5. DESCRIZIONE TASTO (Estate - Inverno - Solo riscaldamento - Spento)
- •
- 5. DESCRIPTION OF BUTTON (Summer - Winter - Heating only - Off)
- •
- 5. DESCRIPCIÓN DE LA TECLA (Verano - Invierno - Sólo calefacción - Apagado)
- •
- 5. ОПИСАНИЕ НА БУТОН (Лято – Зима – Само отопление – Изключен)
- 8. СМЯНА НА ВИДА ГАЗ
- 13. УКАЗАНИЯ ПРЕДИ МОНТАЖА
- 15. РАЗМЕРИ НА КОТЕЛА
- •
- 28. ГОДИШЕН ПРЕГЛЕД
- SPIS TREŚCI
- 1. OSTRZEŻENIA PRZED ZAINSTALOWANIEM
- 3. ROZRUCH KOTŁA
- 4. REGULACJA TEMPERATURY POKOJOWEJ I CIEPŁEJ WODY UŻYTKOWEJ
- 7. WYŁĄCZENIE KOTŁA 8. ZMIANA GAZU
- 9. WYDŁUŻONY OKRES WYŁĄCZENIA INSTALACJI. OCHRONA PRZED ZAMARZANIEM
- 12. UWAGI OGÓLNE 13. WYMAGANIA INSTALACYJNE
- 14. UWAGI INSTALACYJNE
- 15. WYMIARY KOTŁA
- 16. INSTALOWANIE PRZEWODÓW POWIETRZNO-SPALINOWYCH
- 17. PODŁĄCZENIE ELEKTRYCZNE 18. PODŁĄCZENIE TERMOSTATU POKOJOWEGO
- 19. SPOSÓB ZMIANY RODZAJU GAZU
- •
- 21. USTAWIENIE PARAMETRÓW
- 23. USTAWIENIE ELEKTRODY ZAPŁONOWEJ I JONIZACYJNEJ PŁOMIEŃ
- 24. KONTROLA PARAMETRÓW SPALANIA 25. CHARAKTERYSTYKA NATĘŻENIA PRZEPŁYWU/WYSOKOŚCI PODNOSZENIA
- 26. PODŁĄCZENIE CZUJNIKA ZEWNĘTRZNEGO
- 28. KONSERWACJA ROCZNA
- 30. CZYSZCZENIE FILTRÓW
- 32. DEMONTAŻ WYMIENNIKA WODA-WODA
- 33. SCHEMAT FUNKCJONALNY OBWODÓW
- 34. SCHEMAT POŁACZEŃ ELEKTRYCZNYCH
- 35. CHARAKTERYSTYKA TECHNICZNA
- CUPRINS
- 1. AVERTISMENTE ANTERIOARE INSTALĂRII
- 3. PUNEREA ÎN FUNCŢIUNE A CENTRALEI TERMICE
- 4. REGLAREA TEMPERATURII AMBIANTE ŞI A TEMPERATURII APEI MENAJERE
- 7. OPRIREA CENTRALEI TERMICE 8. SCHIMBAREA TIPULUI DE GAZ
- 10. INTRAREA ÎN FUNCŢIUNE A DISPOZITIVELOR DE SIGURANŢA
- 12. AVERTISMENTE GENERALE 13. AVERTISMENTE ANTERIOARE INSTALĂRII
- 13. INSTALLAZIONE DELLA CALDAIA 14. INSTALAREA CENTRALEI TERMICE
- 14. DIMENSIONI CALDAIA 15. DIMENSIUNILE CENTRALEI TERMICE
- 16. INSTALAREA CONDUCTELOR DE EVACUARE GAZE ARSE ŞI ADMISIE AER
- 17. CONECTAREA LA REŢEAUA ELECTRICĂ 18. CONECTAREA TERMOSTATULUI AMBIENTAL
- 19. MODALITĂŢI DE SCHIMBARE A TIPULUI DE GAZ
- 20. VIZUALIZAREA PARAMETRILOR PE AFIŞAJ (FUNCŢIE “INFO”)
- 21. SETAREA PARAMETRILOR
- 23. POZIŢIONAREA ELECTRODULUI DE APRINDERE ŞI DETECTARE A FLĂCĂRII
- 24. VERIFICAREA PARAMETRILOR DE COMBUSTIE 25. PERFORMANŢE DEBIT/ÎNĂLŢIME DE POMPARE
- 26. CONECTAREA SONDEI EXTERNE
- 28. ÎNTREŢINEREA ANUALĂ
- 30. CURĂŢAREA FILTRELOR
- 32. DEMONTAREA SCHIMBĂTORULUI APĂ-APĂ
- 33. DIAGRAMĂ FUNCŢIONALĂ CIRCUITE
- 34. DIAGRAMĂ CUPLARE CONECTORI
- 35. CARACTERISTICI TEHNICE
- ΠΕΡΙΕΧΟΜΕΝΑ
- 1. ΟΔΗΓΙΕΣ ΠΡΙΝ ΤΗΝ ΕΓΚΑΤΑΣΤΑΣΗ
- 3. ΘΕΣΗ ΣΕ ΛΕΙΤΟΥΡΓΙΑ ΤΟΥ ΛΕΒΗΤΑ
- 4. ΡΥΘΜΙΣΗ ΤΗΣ ΘΕΡΜΟΚΡΑΣΙΑΣ ΠΕΡΙΒΑΛΛΟΝΤΟΣ ΚΑΙ ΤΟΥ ΝΕΡΟΥ ΟΙΚΙΑΚΗΣ ΧΡΗΣΗΣ
- 7. ΣΒΗΣΙΜΟ ΤΟΥ ΛΕΒΗΤΑ 8. ΑΛΛΑΓΗ ΑΕΡΙΟΥ
- 10. ΕΝΔΕΙΞΕΙΣ-ΕΠΕΜΒΑΣΗ ΣΥΣΤΗΜΑΤΩΝ ΑΣΦΑΛΕΙΑΣ
- 12. ΓΕΝΙΚΕΣ ΠΛΗΡΟΦΟΡΙΕΣ 13. ΟΔΗΓΙΕΣ ΠΡΙΝ ΤΗΝ ΕΓΚΑΤΑΣΤΑΣΗ
- 13. INSTALLAZIONE DELLA CALDAIA 14. ΕΓΚΑΤΑΣΤΑΣΗ ΤΟΥ ΛΕΒΗΤΑ
- 14. DIMENSIONI CALDAIA 15. ΔΙΑΣΤΑΣΕΙΣ ΛΕΒΗΤΑ
- 16. ΕΓΚΑΤΑΣΤΑΣΗ ΑΓΩΓΩΝ ΑΠΑΓΩΓΗΣ - ΑΝΑΡΡΟΦΗΣΗΣ
- 17. ΗΛΕΚΤΡΙΚΗ ΣΥΝΔΕΣΗ 18. ΣΥΝΔΕΣΗ ΤΟΥ ΘΕΡΜΟΣΤΑΤΗ ΔΩΜΑΤΙΟΥ
- 19. ΤΡΟΠΟΣ ΑΛΛΑΓΗΣ ΑΕΡΙΟΥ
- 20. ΑΠΕΙΚΟΝΙΣΗ ΠΑΡΑΜΕΤΡΩΝ ΣΤΗΝ ΟΘΟΝΗ (ΛΕΙΤΟΥΡΓΙΑ «INFO»)
- 21. ΡΥΘΜΙΣΗ ΠΑΡΑΜΕΤΡΩΝ
- 23. ΤΟΠΟΘΕΤΗΣΗ ΗΛΕΚΤΡΟΔΙΟΥ ΑΝΑΦΛΕΞΗΣ ΚΑΙ ΑΝΙΧΝΕΥΣΗΣ ΦΛΟΓΑΣ
- 24. ΕΛΕΓΧΟΣ ΠΑΡΑΜΕΤΡΩΝ ΚΑΥΣΗΣ 25. ΧΑΡΑΚΤΗΡΙΣΤΙΚΑ ΠΑΡΟΧΗΣ / ΜΑΝΟΜΕΤΡΙΚΟΥ ΥΨΟΥΣ ΣΤΗΝ ΠΛΑΚΑ
- 26. ΣΥΝΔΕΣΗ ΤΟΥ ΕΞΩΤΕΡΙΚΟΥ ΑΙΣΘΗΤΗΡΑ
- 28. ΕΤΗΣΙΑ ΣΥΝΤΗΡΗΣΗ
- 30. ΚΑΘΑΡΙΣΜΟΣ ΤΩΝ ΦΙΛΤΡΩΝ
- 32. ΑΠΟΣΥΝΑΡΜΟΛΟΓΗΣΗ ΕΝΑΛΛΑΚΤΗ ΝΕΡΟΥ-ΝΕΡΟΥ
- 33. ΛΕΙΤΟΥΡΓΙΚΟ ΣΧΕΔΙΟ ΚΥΚΛΩΜΑΤΩΝ
- 34. ΣΧΕΔΙΟ ΣΥΝΔΕΣΗΣ ΣΥΝΔΕΣΜΩΝ
- 35. ТЕХНИЧЕСКИ ХАРАКТЕРИСТИКИ
- 5. ОПИСАНИЕ КНОПКИ (Лето – Зима – Только Отопление – Выключено)
- •
- 5. 锅炉运行模式选择
- 错误信息及故障表

