De Dietrich MS 24 MI FF: 33. DIAGRAMĂ FUNCŢIONALĂ CIRCUITE
33. DIAGRAMĂ FUNCŢIONALĂ CIRCUITE: De Dietrich MS 24 MI FF
224
71.03982.03 - RO
INSTRUCŢIUNI DESTINATE INSTALATORULUI
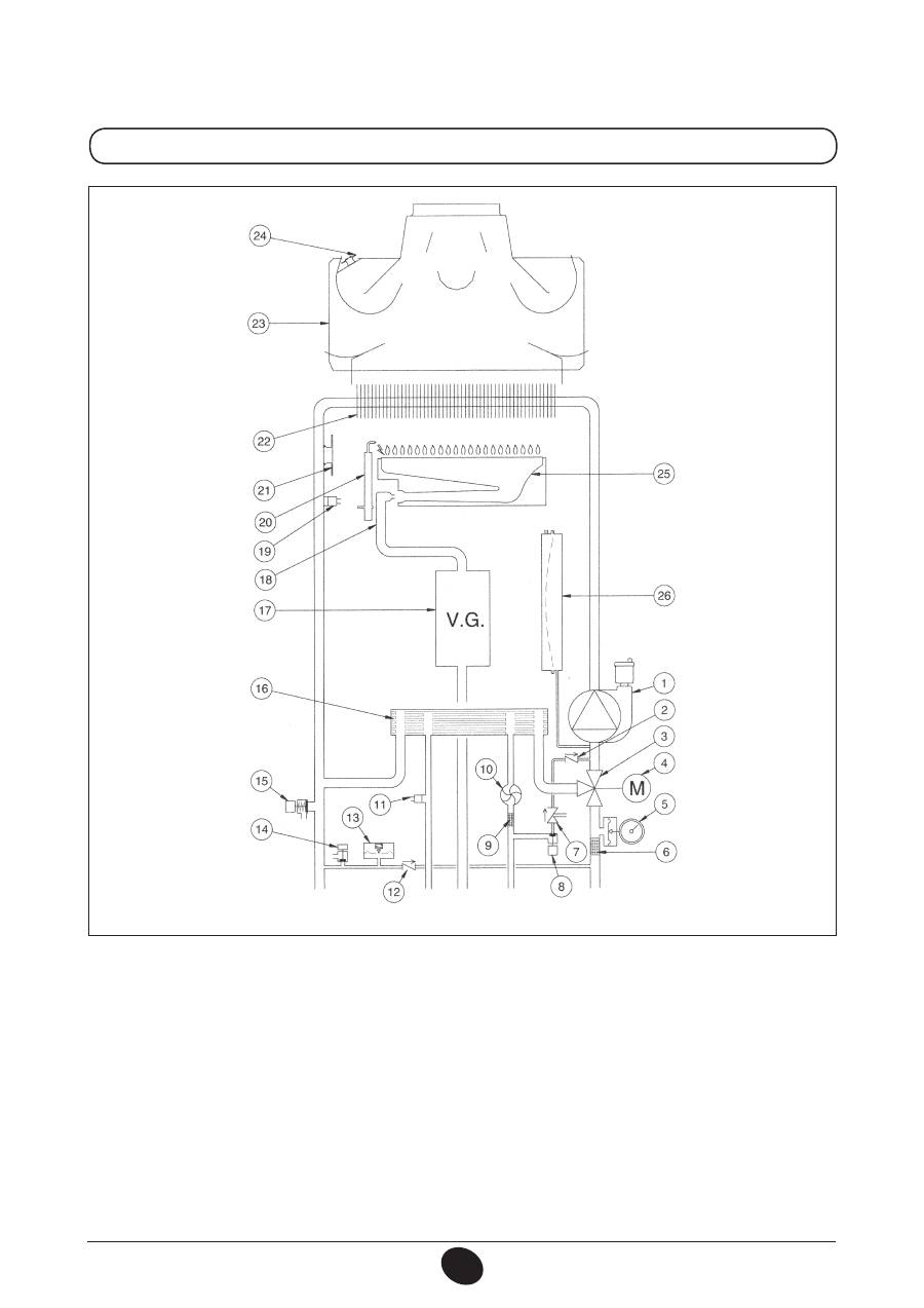
33. DIAGRAMĂ FUNCŢIONALĂ CIRCUITE
24 MI FF
Legendă:
1 Pompă cu separator aer
2 Supapă de sens
3 Vană cu trei căi
4 Motor vană cu trei căi
5 Manometru
6 Filtru circuit de încălzire detaşabil
7 Separator
8 Robinet de umplere centrală
9 Filtru apă rece menajeră detaşabil
10 Senzor prioritar apă menajeră
11 Sondă NTC circuit de apă menajeră
12 Valvă de reţinere pe by-pass automat
13 Presostat hidraulic
14 Robinet de golire centrală
15 Valvă de siguranţă
16 Schimbător apă-apă cu plăci
17 Vană de gaz cu diafragmă
18 Rampă gaz cu duze
19 Sondă NTC circuit de încălzire
20 Electrod de aprindere/detectare a flăcării
21 Termostat de siguranţă
22 Schimbător apă-gaze arse
23 Colector gaze arse
24 Ventilator
25 Venturimetru
26 Priză de presiune pozitivă
27 Priză de presiune negativă
28 Presostat aer
29 Arzător
30 Vas de expansiune
Figura 17
Tur încălzire
Ieşire apă
menajeră
Gaz
Intrare apă
menajeră
Retur încălzire
CG_2269 / 1006_1805
225
71.03982.03 - RO
INSTRUCŢIUNI DESTINATE INSTALATORULUI
24 MI
Legendă:
1 Pompă cu separator de aer
2 Supapă de sens
3 Vană cu trei căi
4 Motor vană cu trei căi
5 Manometru
6 Filtru circuit de încălzire detaşabil
7 Separator
8 Robinet de umplere centrală
9 Filtru apă rece menajeră detaşabil
10 Senzor prioritar apă menajeră
11 Sondă NTC circuit de apă menajeră
12 Valvă de reţinere pe by-pass automat
13 Presostat hidraulic
14 Robinet de golire centrală
15 Valvă de siguranţă
16 Schimbător apă-apă cu plăci
17 Vană de gaz cu diafragmă
18 Rampă gaz cu duze
19 Sondă NTC circuit de încălzire
20 Electrod de aprindere/detectare a flăcării
21 Termostat de siguranţă
22 Schimbător apă-gaze arse
23 Colector gaze arse
24 Termostat gaze arse
25 Arzător
26 Vas de expansiune
Figura 18
Tur
încălzire
Ieşire apă
menajeră
Gaz
Intrare apă
menajeră
Retur încălzire
CG_2270 / 1006_1806
226
71.03982.03 - RO
INSTRUCŢIUNI DESTINATE INSTALATORULUI
24 FF
Legendă:
1 Valvă de reţinere pe by-pass automat
2 Presostat hidraulic
3 Vană cu trei căi
4 Motor vană cu trei căi
5 Vană de gaz cu diafragmă
6 Rampă gaz cu duze
7 Sondă NTC circuit de încălzire
8 Electrod de aprindere/detectare a flăcării
9 Termostat de siguranţă
10 Schimbător apă-gaze arse
11 Colector gaze arse
12 Ventilator
13 Venturimetru
14 Priză de presiune pozitivă
15 Priză de presiune negativă
16 Presostat aer
17 Arzător
18 Vas de expansiune
19 Pompă cu separator aer
20 Supapă de sens
21 Robinet de golire centrală
22 Manometru
23 Valvă de siguranţă
24 Separator
Figura 19
Tur
încălzire
Gaz Intrare apă
menajeră
Retur încălzire
CG_2267 / 1006_2102
Tur
boiler
227
71.03982.03 - RO
INSTRUCŢIUNI DESTINATE INSTALATORULUI
24
Legendă:
1 Valvă de reţinere pe by-pass automat
2 Presostat hidraulic
3 Vană cu trei căi
4 Motor vană cu trei căi
5 Vană de gaz cu diafragmă
6 Rampă gaz cu duze
7 Sondă NTC circuit de încălzire
8 Electrod de aprindere/detectare a flăcării
9 Termostat de siguranţă
10 Schimbător apă-gaze arse
11 Colector gaze arse
12 Termostat gaze arse
13 Arzător
14 Vas de expansiune
15 Pompă cu separator aer
16 Supapă de sens
17 Robinet de golire centrală
18 Manometru
19 Valvă de siguranţă
20 Separator
Figura 20
Tur
încălzire
Gaz
Intrare
apă
menajeră
Retur
încălzire
CG_2268 / 1006_2103
Tur
boiler
Оглавление
- SOMMAIRE
- 5. DESCRIPTION DES TOUCHES (ÉTÉ – HIVER – CHAUFFAGE SEULEMENT – ARRÊT)
- •
- 28. RACCORDEMENT D’UN BALLON SEPARE AVEC UN MOTEUR VANNE 3 VOIES
- 5. DESCRIZIONE TASTO (Estate - Inverno - Solo riscaldamento - Spento)
- •
- 5. DESCRIPTION OF BUTTON (Summer - Winter - Heating only - Off)
- •
- 5. DESCRIPCIÓN DE LA TECLA (Verano - Invierno - Sólo calefacción - Apagado)
- •
- 5. ОПИСАНИЕ НА БУТОН (Лято – Зима – Само отопление – Изключен)
- 8. СМЯНА НА ВИДА ГАЗ
- 13. УКАЗАНИЯ ПРЕДИ МОНТАЖА
- 15. РАЗМЕРИ НА КОТЕЛА
- •
- 28. ГОДИШЕН ПРЕГЛЕД
- SPIS TREŚCI
- 1. OSTRZEŻENIA PRZED ZAINSTALOWANIEM
- 3. ROZRUCH KOTŁA
- 4. REGULACJA TEMPERATURY POKOJOWEJ I CIEPŁEJ WODY UŻYTKOWEJ
- 7. WYŁĄCZENIE KOTŁA 8. ZMIANA GAZU
- 9. WYDŁUŻONY OKRES WYŁĄCZENIA INSTALACJI. OCHRONA PRZED ZAMARZANIEM
- 12. UWAGI OGÓLNE 13. WYMAGANIA INSTALACYJNE
- 14. UWAGI INSTALACYJNE
- 15. WYMIARY KOTŁA
- 16. INSTALOWANIE PRZEWODÓW POWIETRZNO-SPALINOWYCH
- 17. PODŁĄCZENIE ELEKTRYCZNE 18. PODŁĄCZENIE TERMOSTATU POKOJOWEGO
- 19. SPOSÓB ZMIANY RODZAJU GAZU
- •
- 21. USTAWIENIE PARAMETRÓW
- 23. USTAWIENIE ELEKTRODY ZAPŁONOWEJ I JONIZACYJNEJ PŁOMIEŃ
- 24. KONTROLA PARAMETRÓW SPALANIA 25. CHARAKTERYSTYKA NATĘŻENIA PRZEPŁYWU/WYSOKOŚCI PODNOSZENIA
- 26. PODŁĄCZENIE CZUJNIKA ZEWNĘTRZNEGO
- 28. KONSERWACJA ROCZNA
- 30. CZYSZCZENIE FILTRÓW
- 32. DEMONTAŻ WYMIENNIKA WODA-WODA
- 33. SCHEMAT FUNKCJONALNY OBWODÓW
- 34. SCHEMAT POŁACZEŃ ELEKTRYCZNYCH
- 35. CHARAKTERYSTYKA TECHNICZNA
- CUPRINS
- 1. AVERTISMENTE ANTERIOARE INSTALĂRII
- 3. PUNEREA ÎN FUNCŢIUNE A CENTRALEI TERMICE
- 4. REGLAREA TEMPERATURII AMBIANTE ŞI A TEMPERATURII APEI MENAJERE
- 7. OPRIREA CENTRALEI TERMICE 8. SCHIMBAREA TIPULUI DE GAZ
- 10. INTRAREA ÎN FUNCŢIUNE A DISPOZITIVELOR DE SIGURANŢA
- 12. AVERTISMENTE GENERALE 13. AVERTISMENTE ANTERIOARE INSTALĂRII
- 13. INSTALLAZIONE DELLA CALDAIA 14. INSTALAREA CENTRALEI TERMICE
- 14. DIMENSIONI CALDAIA 15. DIMENSIUNILE CENTRALEI TERMICE
- 16. INSTALAREA CONDUCTELOR DE EVACUARE GAZE ARSE ŞI ADMISIE AER
- 17. CONECTAREA LA REŢEAUA ELECTRICĂ 18. CONECTAREA TERMOSTATULUI AMBIENTAL
- 19. MODALITĂŢI DE SCHIMBARE A TIPULUI DE GAZ
- 20. VIZUALIZAREA PARAMETRILOR PE AFIŞAJ (FUNCŢIE “INFO”)
- 21. SETAREA PARAMETRILOR
- 23. POZIŢIONAREA ELECTRODULUI DE APRINDERE ŞI DETECTARE A FLĂCĂRII
- 24. VERIFICAREA PARAMETRILOR DE COMBUSTIE 25. PERFORMANŢE DEBIT/ÎNĂLŢIME DE POMPARE
- 26. CONECTAREA SONDEI EXTERNE
- 28. ÎNTREŢINEREA ANUALĂ
- 30. CURĂŢAREA FILTRELOR
- 32. DEMONTAREA SCHIMBĂTORULUI APĂ-APĂ
- 33. DIAGRAMĂ FUNCŢIONALĂ CIRCUITE
- 34. DIAGRAMĂ CUPLARE CONECTORI
- 35. CARACTERISTICI TEHNICE
- ΠΕΡΙΕΧΟΜΕΝΑ
- 1. ΟΔΗΓΙΕΣ ΠΡΙΝ ΤΗΝ ΕΓΚΑΤΑΣΤΑΣΗ
- 3. ΘΕΣΗ ΣΕ ΛΕΙΤΟΥΡΓΙΑ ΤΟΥ ΛΕΒΗΤΑ
- 4. ΡΥΘΜΙΣΗ ΤΗΣ ΘΕΡΜΟΚΡΑΣΙΑΣ ΠΕΡΙΒΑΛΛΟΝΤΟΣ ΚΑΙ ΤΟΥ ΝΕΡΟΥ ΟΙΚΙΑΚΗΣ ΧΡΗΣΗΣ
- 7. ΣΒΗΣΙΜΟ ΤΟΥ ΛΕΒΗΤΑ 8. ΑΛΛΑΓΗ ΑΕΡΙΟΥ
- 10. ΕΝΔΕΙΞΕΙΣ-ΕΠΕΜΒΑΣΗ ΣΥΣΤΗΜΑΤΩΝ ΑΣΦΑΛΕΙΑΣ
- 12. ΓΕΝΙΚΕΣ ΠΛΗΡΟΦΟΡΙΕΣ 13. ΟΔΗΓΙΕΣ ΠΡΙΝ ΤΗΝ ΕΓΚΑΤΑΣΤΑΣΗ
- 13. INSTALLAZIONE DELLA CALDAIA 14. ΕΓΚΑΤΑΣΤΑΣΗ ΤΟΥ ΛΕΒΗΤΑ
- 14. DIMENSIONI CALDAIA 15. ΔΙΑΣΤΑΣΕΙΣ ΛΕΒΗΤΑ
- 16. ΕΓΚΑΤΑΣΤΑΣΗ ΑΓΩΓΩΝ ΑΠΑΓΩΓΗΣ - ΑΝΑΡΡΟΦΗΣΗΣ
- 17. ΗΛΕΚΤΡΙΚΗ ΣΥΝΔΕΣΗ 18. ΣΥΝΔΕΣΗ ΤΟΥ ΘΕΡΜΟΣΤΑΤΗ ΔΩΜΑΤΙΟΥ
- 19. ΤΡΟΠΟΣ ΑΛΛΑΓΗΣ ΑΕΡΙΟΥ
- 20. ΑΠΕΙΚΟΝΙΣΗ ΠΑΡΑΜΕΤΡΩΝ ΣΤΗΝ ΟΘΟΝΗ (ΛΕΙΤΟΥΡΓΙΑ «INFO»)
- 21. ΡΥΘΜΙΣΗ ΠΑΡΑΜΕΤΡΩΝ
- 23. ΤΟΠΟΘΕΤΗΣΗ ΗΛΕΚΤΡΟΔΙΟΥ ΑΝΑΦΛΕΞΗΣ ΚΑΙ ΑΝΙΧΝΕΥΣΗΣ ΦΛΟΓΑΣ
- 24. ΕΛΕΓΧΟΣ ΠΑΡΑΜΕΤΡΩΝ ΚΑΥΣΗΣ 25. ΧΑΡΑΚΤΗΡΙΣΤΙΚΑ ΠΑΡΟΧΗΣ / ΜΑΝΟΜΕΤΡΙΚΟΥ ΥΨΟΥΣ ΣΤΗΝ ΠΛΑΚΑ
- 26. ΣΥΝΔΕΣΗ ΤΟΥ ΕΞΩΤΕΡΙΚΟΥ ΑΙΣΘΗΤΗΡΑ
- 28. ΕΤΗΣΙΑ ΣΥΝΤΗΡΗΣΗ
- 30. ΚΑΘΑΡΙΣΜΟΣ ΤΩΝ ΦΙΛΤΡΩΝ
- 32. ΑΠΟΣΥΝΑΡΜΟΛΟΓΗΣΗ ΕΝΑΛΛΑΚΤΗ ΝΕΡΟΥ-ΝΕΡΟΥ
- 33. ΛΕΙΤΟΥΡΓΙΚΟ ΣΧΕΔΙΟ ΚΥΚΛΩΜΑΤΩΝ
- 34. ΣΧΕΔΙΟ ΣΥΝΔΕΣΗΣ ΣΥΝΔΕΣΜΩΝ
- 35. ТЕХНИЧЕСКИ ХАРАКТЕРИСТИКИ
- 5. ОПИСАНИЕ КНОПКИ (Лето – Зима – Только Отопление – Выключено)
- •
- 5. 锅炉运行模式选择
- 错误信息及故障表

