Acme LCD105 – page 2
Manual for Acme LCD105
Table of contents

PL
Lista dostarczonych części
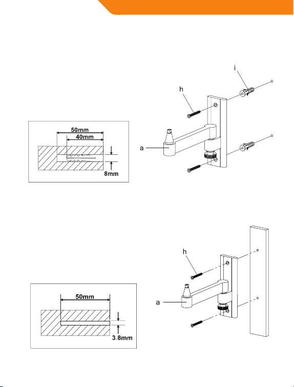
(1)Płytka naścienna-a (1) Uchwyt monitora-b (1)Pokrywka-c
(4)M4x12 Śruba-d (4)M4x30 Śruba-e (8)M4 Podkładka-f (4)M4 Dystansownik-g
(2)Śruba mocująca-h (2)Zakotwienie w betonie-i (1) Gałka zabezpieczająca-j
To zamocowanie odbiornika TV musi być bezpiecznie
zamontowane do pionowej ściany. Niewłaściwie
zamontowane może spaść skutkując możliwym urazem i/
albo uszkodzeniem.
OSTRZEŻENIE
• Zestaw kluczy
• 5/32”(4mm)
•3/8”(10mm)
Wymagane
nasadowych
wiertło
wiertło do murów
narzędzia
lub płaskich
• Śrubokręt
•Wykrywacz proli
• Poziomica ciesielska
Uwaga: Elementy montażu i sprzęt dostarczany w tym pakiecie
nie są przeznaczone dla instalacji do ścian żelazobetonowych lub
żużlobetonowych. Jeśli potrzebny do instalacji sprzęt nie jest zawarty,
to proszę skonsultować się z lokalnym sklepem żelaznym w sprawie
odpowiedniego do zastosowania wyposażenia montażowego.
21

PL
Montowanie płytki naściennej
do ściany
Mocowanie w cegle
Mocowanie w drewnie
22

PL
Mocowanie uchwytu monitora do
odbiornika TV
See pool üleval! See pool üleval!
Dla płaskich ekranów TV
Dla sferycznych ekranów TV
Mocowanie odbiornika TV do
płytki naściennej i dodanie gałki
Dziękujemy za wybranie naszego produktu,
życzymy przyjemnego użytkowania.
23

DE
Auspacken
• Önen sie die verpackung vorsichtig, nehmen sie alle teile heraus und
legen sie sie auf einer unterlage ab, um schäden zu vermeiden.
• Vergleichen sie den inhalt mit der teileliste auf der nächsten seite auf
vollständigkeit und unversehrtheit. Benutzen sie keine beschädigten
teile.
• Lesen sie alle anleitungen, bevor sie mit der montage beginnen.
Wichtige sicherheitshinweise
Installieren und bedienen sie das gerät vorsichtig. Lesen sie alle
anleitungen, bevor sie mit der montage beginnen und befolgen sie
die anleitungen. Benutzen sie während der montage die korrekte
schutzausrüstung.
Bitte wenden sie sich an einen fachbetrieb, falls sie:
• Diese anleitungen nicht verstehen oder zweifel an der sicherheit der
installation haben;
• Den aufbau ihrer wand nicht genau kennen.
Benutzen sie dieses produkt ausschließlich für seinen bestimmungszweck,
wie in dieser anleitung beschrieben. Wir lehnen jegliche haftung
für verletzungen und schäden aufgrund unsachgemäßer montage,
installation und nutzung dieses produkts ab.
24

DE
Lieferumfang
(1) Wandplatte-a (1) Bildschirmhalterung-b (1) Abdeckkappe-c
(4) Bolzen M4x12-d (4) Bolzen M4x30-e (8) Unterlegscheibe M4-f (4) Abstandhalter M4-g
(2) Schlüsselschraube-h (2) Wanddübel-i (1) Sicherheitsdrehknopf-j
Diese TV-Halterung muss sicher an einer senkrechten Wand
befestigt werden. Bei unsachgemäßer Installation kann
die Halterung herunterfallen und zu Verletzungen und
Sachschäden führen.
WARNUNG
• 4 mm Bohrer
•10 mm
• Maulschlüssel
Benötigte
• Kreuzschlitzs-
Steinbohrer
• Wasserwaage
Werkzeuge
chraubendreher
• Balkensucher
Bitte beachten Sie: Die Komponenten der Halterung und die Beschläge
sind nicht zur Montage an Wänden mit Metallbalken oder aus
Schlackenbetonblocks geeignet. Sind die Beschläge, welche Sie für Ihre
Montage benötigen, nicht mitgeliefert, so wenden Sie sich bitte an Ihren
örtlichen Baumarkt für die korrekten Befestigungsmittel für dieses Gerät.
25

DE
Montage der Wandplatte
an der Wand
Gemauerte Wand
Holzbalken
26

DE
Montage der Bildschirmhalterung
am Fernseher
Tis Weg nach oben Tis Weg nach oben
Fernseher mit acher Rückseite
Fernseher mit gewölbter Rückseite
Montage des Fernsehers an der
Wandplatte und Anbringen
des Sicherungsbolzens
Vielen Dank, dass Sie sich für dieses Produkt
entschieden haben, viel Spaß damit.
27

FI
Pakkauksesta purkamisohjeet:
• Avaa laatikko varoen, nosta osat ulos ja levitä ne pahville tai muulle
suojaavalle pinnalle.
• Tarkasta pakkauksen sisältö seuraavalla sivulla olevan osalistan avulla
varmistaaksesi, että kaikki osat ovat mukana ja vahingoittumattomia.
Älä käytä vahingoittuneita tai viallisia osia.
• Lue kaikki ohjeet huolellisesti ennen asennusta.
Tärkeitä turvallisuustietoja
Ole huolellinen asentaessasi ja käyttäessäsi laitetta. Lue ohjeet ennen
asennuksen aloittamista ja seuraa tarkasti kaikkia annettuja ohjeita.
Käytä tarvittavia turvallisuusvälineitä asennuksen aikana.
Pyydä pätevää asentajaa avustamaan asentamisessa, jos:
• Et ymmärrä näitä ohjeita, tai jos sinulla on epäilyksiä telineen
turvallisuuteen liittyen.
• Jos et ole varma seinäsi kestävyydestä, pyydä apua kokeneelta
asentajalta.
Älä käytä tätä laitetta mihinkään muuhun kuin näissä ohjeissa
mainittuun tarkoitukseen tai asennukseen. Emme ole vastuussa mistään
tapaturmista tai vahingoista, jotka johtuvat laitteen vääränlaisesta
kokoamisesta, asentamisesta tai käytöstä.
28

FI
Pakkaukseen sisältyvien
osien lista
(1)Seinäteline-a (1) Näytön pidike-b (1)Korkki-c
(4)M4x12 ruuvi-d (4)M4x30 ruuvi-e (8)M4 prikka-f (4)M4 välike-g
(2)Kansiruuvi-h (2)Kara-i (1)Turvanuppi prikalla-j
Tämä televisioteline tulee kiinnittää lujasti pystysuoraan
seinään. Jos telinettä ei ole asennettu oikein, se voi pudota ja
aiheuttaa mahdollisen tapaturman ja/tai vahinkoja.
VAROITUS
• 5/32”(4 mm)
•3/8”(10mm) kivipora
• Ruuviavainsarja
Tarvittavat
porauspää
•Pystytuen paikannin
• Vatupassi
työkalut
• Ruuvimeisseli
Huomautus: Pakkauksen asennusosia ja työkaluja ei ole tarkoitettu
terästukiin eikä tiiliseiniin kiinnitystä varten. Jos asennukseen tarvittavia
työkaluja ei ole mukana, kysy tarvittavia tarvikkeita paikallisesta
rautakaupasta.
29

FI
Seinätelineen kiinnittäminen
Tiiliseinään kiinnittäminen
Puuseinään kiinnittäminen
30

FI
Näytön pidikkeen
kiinnittäminen televisioon
Tämä puoli ylöspäin! Tämä puoli ylöspäin!
Televisio, jossa on litteä tausta
Televisio, jossa on kupera tausta
Television liittäminen
seinätelineeseen ja nupin lisääminen
Kiitos, että valitsit tuotteemme,
toivottavasti nautit tuotteistamme.
31

SE
Uppackningsinstruktioner
• Försiktigt öppna kartongen, ta bort innehåll och lägg ut på kartong
eller annan skyddande yta för att undvika skada.
• Kontrollera paketets innehållet mot supplied parts list på nästa sida
för att säkerställa att alla komponenter mottogs oskadade. Använd
inte skadade eller defekta delar.
• Läs noga igenom alla instruktioner innan du påbörjar installationen.
Viktig säkerhetsinformation
Installera och använd denna apparat med omsorg. Läs denna instruktion
innan du börjar installationen,och följ noga alla anvisningar häri. Använd
lämplig säkerhetsutrustning vid installationen.
Vänligen ring en kvalicerad installatör för hjälp om du:
• Om du inte förstår dessa anvisningar eller har några tvivel om
säkerheten rörande installation.
• Om du är osäker på karaktären för din vägg, konsultera en kvalicerad
installatör.
Använd inte denna produkt för andra ändamål och i en konguration
som inte uttryckligen anges i denna instruktion. Vi avsäger oss härmed
allt ansvar för skador som orsakats av felaktig hopsättning, felaktig
montering eller felaktig användning av denna produkt.
32

SE
Lista över levererade komponenter
(1)Väggfäste-a (1)Monitor fäste-b (1)Hylsa-c
(4)M4x12 skruv-d (4)M4x30 skruv-e (8)M4 bricka-f (4)M4 Mellanbricka-g
(2)Träskruv-h (2)Betongankare-i (1)Säkerhetsknoppar med bricka-j
Denna TV-ram måste monteras fast på den vertikala väggen.
Om ramen inte är korrekt installerad, kan den falla, vilket
resulterar i eventuella skador och/eller skada.
VARNING
• 5/32”(4mm)
• Skiftnyckel eller
Nödvändiga
•3/8”(10mm) stenborr
borrkrona
socket set
verktyg
•Stud Finder
• Skruvmejsel
• Vattenpass
Obs: Beslag och hårdvara levererade i detta paket är inte avsedda för
vägginstallationer med dubbar eller i cementblockväggar. Om den
maskinvara du behöver för din installation inte ingår, kontakta din lokala
järnaär för korrekt beslagutrustning för applikationen.
33

SE
Montera väggfästet mot väggen
Montera på murad vägg
Montera på trä
34

SE
Montera monitor fästet till en TV
Denna sida upp! Denna sida upp!
För TV med at baksida
För TV med rundad baksida
Fästa TV mot väggfästet
och sätta på knoppen
Kiitos, että valitsit tuotteemme,
toivottavasti nautit tuotteistamme.
35

RO
Instrucţiuni de dezambalare
• Deschideţi cu grijă cutia, scoateţi conţinutul şi întindeţi-l pe carton
sau pe o altă suprafaţă de protecţie pentru a evita deteriorările.
• Vericaţi conţinutul pachetului cu lista de piese furnizate de pe pagina
următoare pentru a vă asigura că aţi primit toate componentele fără
deteriorări. Nu utilizaţi piese deteriorate sau defecte.
• Citiţi cu atenţie toate instrucţiunile înainte de a încerca să montaţi
produsul.
Informaţii importante
privind siguranţa
Montaţi şi utilizaţi acest dispozitiv cu atenţie. Citiţi aceste instrucţiuni
înainte de a începe montarea şi respectaţi cu atenţie toate instrucţiunile
incluse. Utilizaţi echipament de protecţie adecvat în timpul modicării.
Luaţi legătura cu un tehnician calicat pentru asistenţă în cazul în
care:
• Nu înţelegeţi aceste instrucţiuni sau aveţi orice dubii privind siguranţa
montării.
• Dacă nu sunteţi sigur privind natura peretelui dvs, luaţi legătura cu un
tehnician de montare calicat.
Nu utilizaţi acest produs în niciun alt scop şi în nicio altă conguraţie
nespecicate expres în aceste instrucţiuni. Prin prezenta, declinăm
orice şi toată responsabilitatea pentru răni sau daune survenite prin
asamblarea incorectă, montarea incorectă sau utilizarea incorectă a
acestui produs.
36

RO
Lista de piese furnizate
(1)Placă de perete-a (1) Suport monitor-b (1)Capac-c
(4)Şurub M4x12-d (4)Şurub M4x30-e (8)Şaibă M4-f (4)Distanţier M4-g
(2)Şurub de xare-h (2)Diblu-i (1) Buton de siguranţă - j
Acest suport de televizor trebuie să e ferm xat în peretele
vertical. Dacă suportul nu este montat adecvat, este posibil
să cadă ducând la posibile răniri şi/sau daune.
AVERTISMENT
• Burghiu
•Burghiu de zidărie
• Set de chei sau
Unelte necesare
de 4 mm
de 10mm
capete de cheie
• Şurubelniţă
•Detector de stâlpi
• Nivelă de dulgher
Observaţie: Componentele de montare şi organele de asamblare furnizate
în acest pachet nu sunt destinate montărilor pe pereţi cu stâlpi de oţel sau
pe pereţi din cărămidă de zgură. Dacă organele de asamblare necesare
montării nu sunt incluse, luaţi legătura cu magazinul de feronerie local
pentru a obţine organele de asamblare adecvate.
37

RO
Montarea plăcii de perete pe perete
Montare în zidărie
Montare în lemn
38

RO
Montarea suportului de monitor
pe un televizor
Cu partea
Cu partea
aceasta în sus!
aceasta în sus!
Pentru televizoare
Pentru televizoare
cu partea posterioară plată
cu partea posterioară curbă
Fixarea televizorului în placa de
perete şi adăugarea butonului
Vă mulţumim că ne-aţi ales produsele. Utilizare plăcută!
39

BG
Инструкции за разопаковане
• Отворете внимателно картонената кутия, отстранете
съдържанието и поставете на плот или друга защитена
повърхност, за да избегнете повредите.
• Проверете съдържанието на пакета по списъка на доставените
части в първата опаковка, за да се уверите, че компонентите не са
повредени. Не използвайте повредени или дефектни части.
• Прочетете внимателно всички инструкции, преди да започнете
монтажа.
Важни инструкции за
безопасност
Внимавайте при монтажа и работата с устройството. Прочетете
настоящите инструкции преди монтажа и внимателно ги следвайте.
При монтажа използвайте подходящо обезопасително оборудване.
За помощ при монтажа се обърнете към квалифициран техник.
• Ако не разбирате настоящите инструкции или имате съмнения
относно безопасността на монтажа.
• Ако не сте сигурни относно материала на стената, се посъветвайте
с квалифициран монтажен техник.
Не използвайте продукта за други цели или в непосочени в
настоящите инструкции конфигурации. С настоящото отказваме
да поемем всякаква отговорност за наранявания или щети,
произтичащи от неправилно сглобяване, неправилен монтаж или
използване на продукта.
40

