De Dietrich MS 24 FF: •
•: De Dietrich MS 24 FF
283
РУКОВОДСТВО ДЛЯ ТЕХНИЧЕСКОГО ПЕРСОНАЛА
71.03982.03 - RU
20. ВЫВОД ИНФОРМАЦИИ НА ДИСПЛЕЙ КОТЛА
Для вывода информации о работе котла на дисплей, расположенный на передней панели котла, нажимать не менее 5 сек
кнопку «i».
•
нажимать кнопки (
+/-
) чтобы вывести на дисплей значения следующих параметров:
A00:
действующее значение (ºС) температуры горячей бытовой воды (система ГВС);
А01:
значение (ºС) температуры на улице (при подсоединенном датчике уличной температуры);
А02:
значение (%) силы тока на модуляторе (100% = 310мА для метана, 100% = 310 мА для сжиженного газа);
А03:
значение (%) мощности (MAX R);
А04:
заданное значение (ºС) температуры на подаче в систему отопления;
А05:
действующее значение (ºС) температуры воды на подаче в систему отопления;
А06:
заданное значение (ºС) температуры горячей бытовой воды;
А07:
— —;
А08:
значение (л/мин х 10) расхода горячей бытовой воды;
А09: последняя ошибка, обнаруженная в работе котла.
•
функция “INFO” остается активной в течение 3 мин. Для выхода из данного режима раньше этого времени нажимать не
менее 5 сек кнопку «i» или отключить электропитание котла.
ВНИМАНИЕ:
когда активна функция «INFO» на дисплее (рис.12) появляется надпись «А00», которая сменяется
значением температуры на подаче котла:
0605_2204 / C
G_1808
Рис.12
284
РУКОВОДСТВО ДЛЯ ТЕХНИЧЕСКОГО ПЕРСОНАЛА
71.03982.03 - RU
21. УСТАНОВКА ПАРАМЕТРОВ
Для установки параметров котла нажимать одновременно кнопку (
–
) и кнопку (
–
) не менее 6 секунд. Когда функция
активна, на дисплее появится надпись “ F01”, которая сменяется значением выбранного параметра.
Изменение параметров:
• Для просмотра параметров действовать кнопками
+/–
;
• Для изменения единичного параметра действовать кнопками
+/–
;
• Для запоминания измененного значения параметра нажать кнопку (
), на дисплее появится надпись “MEM”.
• Для выхода из функции без запоминания нажать кнопку (i), на дисплее появится надпись “
ESC”.
ОПИСАНИЕ ПАРАМЕТРОВ
Заводские настройки
24 MI FF
24 FF
24 MI
24
F01
Тип котла
10 = герметичная камера - 20 = открытая камера
10
10
20
20
F02
Тип используемого газа
00 = МЕТАН
01 = GPL
02 = МЕТАН (
с газовой мембраной
)
02
F03
Гидравлическая система
00 = с проточным теплообменником
03 = оборудование с внешним бойлером
04 = оборудование только для отопления
13 = Функция предварительного нагрева (24 часа)
14 = предварително нагряване (1 час)
13
04
13
04
F04/ F05
Настройка программируемого реле 1 и 2 (см. инструкции СЕРВИС)
00 = нет связанных функций
00
F06
Макс. настройка параметра (°C) отопления
00 = 85°C - 01 = 45°C (функция не используется)
00
F07
Конфигурация входа первоочередности горячей воды
00
01
00
01
F08
Макс. мощность при отоплении (0-100%)
100
F09
Макс. мощность горячей воды (0-100%)
100
F10
Мин. мощность при отоплении (0-100%)
00
F11
Время ожидания при отоплении перед новым включением
(00-10 минут) - 00=10 секунд
03
F12
Диагностика (см. инструкции СЕРВИС)
--
F13-F14-F15 Заводские настройки
00
F16
Функция Антилегионелла
(параметр F03=03)
00 = функция неактивна
55...67 = функция включена (температура установки °C)
00
F17
Выбор типа прессостата системы отопления
00 = реле гидравлического давления
01 = дифференциальный гидравлический прессостат
00
F18
Информация производителя
00
Котел спроектирован в полном соответствии с европейскими нормами и содержит следующие устройства:
• Датчик тяги (пневмореле) (в моделях 24 MI FF - 24 FF)
Данное устройство обеспечивает включение основной горелки при условии исправной работы вытяжного дымохода.
Пневмореле отключает основную горелку при следующих неисправностях:
• загорожен выход дымохода;
• засорена трубка Вентури;
• не работает вентилятор;
• нет контакта между трубкой Вентури и датчиком тяги,
котел остается в режиме ожидания, на дисплей выводится код неисправности Е03 (см. таблицу главы 10).
• Термостат – датчик тяги (модели 24 MI - 24)
данное устройство расположено в левой части вытяжного колпака, и перекрывает подачу газа к основной горелке, если засорился дымоход
или нет тяги по другой причине. При этом котел останавливается, на дисплей выводится код неисправности Е03 (см. таблицу главы 10).
После устранения причины, вызвавшей блокировку, возможно повторное включение, нажимая не менее 2 сек на кнопку ( ).
Запрещается отключать данное предохранительное устройство!
22. УСТРОЙСТВА РЕГУЛИРОВАНИЯ И ПРЕДОХРАНИТЕЛЬНЫЕ УСТРОЙСТВА
285
РУКОВОДСТВО ДЛЯ ТЕХНИЧЕСКОГО ПЕРСОНАЛА
71.03982.03 - RU
• Термостат перегрева
благодаря датчику, установленному на выходной трубе первичного теплообменника, в случае перегрева воды первичного контура
прекращается подача газа в горелку. При этом котел останавливается. После устранения причины, вызвавшей блокировку, возможно
повторное включение, нажимая не менее 2 сек на кнопку ( ).
Запрещается отключать данное предохранительное устройство!
• Датчик ионизации пламени
Электрод для определения наличия пламени, расположенный с правой части горелки, гарантирует безопасность работы и блокирует котел
при нарушении подачи газа или неполном горении основной горелки. В данных условиях котел блокируется после 3 попыток запуска.
Для восстановления нормальной работы котла нажимать не менее 2 сек на кнопку ( ).
• Гидравлический прессостат.
Данное устройство позволяет включить основную горелку, только если давление в системе выше 0,5 бар.
• Постциркуляция насоса контура отопления
Постциркуляция насоса, контролируемая электронной системой управления котла, продолжается 3 мин, когда котел находится в режиме
обогрева и осуществляется при каждом выключении горелки по сигналу комнатного термостата.
• Постциркуляция насоса контура ГВС
Постциркуляция насоса, контролируемая электронной системой управления котла, продолжается 30 сек, когда котел находится в режиме
приготовления бытовой горячей воды и осуществляется в контуре ГВС при каждом выключении горелки по сигналу датчика.
• Устройство защиты от замерзания (контуры отопления и ГВС)
Электронная система управления котла имеет функцию защиты «от замерзания» в контуре отопления и ГВС, которая при температуре
воды на подаче ниже 5°С включает горелку до достижения на подаче температуры, равной 30°С.
Данная функция работает, если к котлу подключено электричество, кран подачи газа открыт и если давление в системе соответствует
предписанному.
• Отсутствие циркуляции воды в первичном контуре (возможная блокировка насоса)
В случае отсутствия или недостаточности циркуляции воды в первичном контуре, работа котла останавливается и дисплее котла выводится
код неисправности Е25 (см. главу 10)
• Защита от блокировки насоса
Если котел не работает в течение 24 часов подряд на контур отопления, насос включается автоматически на 10 сек. Данная функция работает,
если к котлу подключено электричество.
• Защита от блокировки трехходового клапана.
Если котел не работает на контур отопления в течение 24 часов подряд, трехходовый клапан осуществляет одно полное переключение.
Данная функция работает, если к котлу подключено электричество.
• Водяной сбросной клапан системы отопления
настроен на давление 3 бар и установлен в системе отопления.
Сбросной клапан должен быть присоединен к дренажной системе через воронку. Категорически воспрещается использовать его для слива
воды из системы отопления.
ПРИМЕЧАНИЕ:
В случае поломки датчика температуры NTC системы ГВС производство горячей санитарной воды, тем не менее,
продолжается. В этом случае контроль температуры осуществляется посредством датчика на подаче.
23. РАСПОЛОЖЕНИЕ ЭЛЕКТРОДА ЗАЖИГАНИЯ И ЭЛЕКТРОДА-ДАТЧИКА ПЛАМЕНИ
Рис.13
9912070100
286
РУКОВОДСТВО ДЛЯ ТЕХНИЧЕСКОГО ПЕРСОНАЛА
71.03982.03 - RU
При необходимости контроля отходящих газов котлы с принудительной тягой имеют две точки замера, расположенных на
коаксиальной входной муфте.
Одна из них находится на вытяжном дымоходе и позволяет контролировать соответствие отходящих газов гигиеническим
нормам.
Вторая точка замера находится на трубе забора воздуха и позволяет определить наличие продуктов сгорания в забираемом
воздухе при использовании коаксиальной системы труб.
В точках замера определяют:
• температуру продуктов сгорания
• содержание кислорода (О
2
) или, наоборот, двуокиси углерода (СО
2
)
• содержание окиси углерода (СО)
Температура подаваемого воздуха определяется в точке замера на подаче воздуха в коаксиальной входной муфте.
Примечание:
для регулирования максимальной мощности смотри главу 19.
Если необходим контроль отходящих газов в моделях с естественной тягой, то в дымоходе следует проделать отверстие на
расстоянии от котла, равном двум внутренним диаметрам трубы.
В точке замера определяют:
• температуру продуктов сгорания
• содержание кислорода (О
2
) или, наоборот, двуокиси углерода (СО
2
)
• содержание окиси углерода (СО)
Замер температуры поступающего воздуха проводится рядом с местом входа воздуха в котел.
Отверстие проделывается установщиком при первоначальной установке агрегата и должно быть затем герметично заделано,
чтобы избежать просачивания продуктов сгорания при нормальной работе.
24. КОНТРОЛЬ ОТХОДЯЩИХ ГАЗОВ 25. ХАРАКТЕРИСТИКИ РАСХОД/НАПОР
Высокопроизводительный н а с о с п од
х од и т д л я у с т а н ов к и в л ю б ой о
т о п и т е л ь н о й о д н о т р у б н о й и
л и двухтрубной системе. Встроенный в
него клапан воздухоотводчик позволяет
э ф ф ек тивно уда лять находящийся в
о т о п и т е л ь н о й с и с т е м е в о з д
у х . Нижеприведенные характеристики
уж е у ч и т ы в а ю т г и д р а в л и ч е
с к о е сопротивление элементов котла.
График 1
Расход (л/час)
На
пор (м в
од. с
т.)
1009_2401
1009_2402
Расход (л/час)
На
пор (м в
од. с
т.)
287
РУКОВОДСТВО ДЛЯ ТЕХНИЧЕСКОГО ПЕРСОНАЛА
71.03982.03 - RU
26. ПРИСОЕДИНЕНИЕ ДАТЧИКА УЛИЧНОЙ ТЕМПЕРАТУРЫ
Из проводов, которые выходят из приборного щитка, два провода КРАСНОГО цвета оснащены изолированными ножевыми
контактами. Подсоединить датчик уличной температуры к данным проводам.
При подсоединенном датчике уличной температуры с помощью кнопок
+/-
можно установить заданный коэффициент
дисперсии Kt (график 2).
ВАЖНО : В случае установки в небольших жилых помещениях (с хорошей изоляцией и системой с радиаторами) советуем
выставить значение климатической кривой “kt” равное “25”.
27. СОЕДИНЕНИЕ НАРУЖНОГО БЛОКА БОЙЛЕРА
Модель 24 - 24FF
Датчик ГВС поставляется как принадлежность.
ПОДКЛЮЧЕНИЕ ДАТЧИКА ГВС
Котел подготовлен к соединению внешнего бойлера. Гидравлически соединить бойлер, как показано на рис. 14. Подключить
датчик ГВС к клеммам 5-6 клеммника M2. Чувствительный элемент датчика ГВС должен помещаться в специальный приямок
на самом бойлере. Регулирование температуры горячей воды (35 °C...60 °C) выполняется при помощи кнопок
+/–
.
ВНИМАНИЕ:
Проверить, чтобы параметр
F03 = 03
(параграф 21).
TM = температура воды на подаче в систему отопления
Te = температура наружного воздуха
График 2
TM
Te
curbe „kt“
1012_0501
Рис. 14
СИСТЕМА ОБОЗНАЧЕНИЙ
UB БЛОК БОЙЛЕРА
UR БЛОК ОТОПЛЕНИЯ
V3V НАРУЖНЫЙ ТРЕХХОДОВОЙ
КЛАПАН
M2 СОЕДИНИТЕЛЬНЫЙ КЛЕММНИК
SB ДАТЧИК ГВС
MR ПОДАЧА ОТОПЛЕНИЯ
MB ПОДАЧА БОЙЛЕРА
RR ВОЗВРАТ ОТОПЛЕНИЯ/ БОЙЛЕРА
CG_2085 / 1101_1701
288
РУКОВОДСТВО ДЛЯ ТЕХНИЧЕСКОГО ПЕРСОНАЛА
71.03982.03 - RU
Для правильной и надежной работы котла необходимо ежегодно проверять:
• внешний вид и непроницаемость прокладок газового контура и камеры сгорания;
• состояние и правильное положение электрода зажигания и электрода-датчика пламени;
• состояние горелки и ее крепление к алюминиевому фланцу;
• отсутствие грязи внутри камеры сгорания. Для чистки используйте пылесос;
• правильную настройку газового клапана;
• давление в системе отопления;
• давление в расширительном баке;
• правильную работу вентилятора;
• отсутствие загрязнений внутри дымохода и воздуховода.
ВНИМАНИЕ
Перед проведением любых работ убедитесь, что котел отключен от электропитания.
По завершению технического осмотра установить параметры работы котла в начальные позиции.
28. ЕЖЕГОДНОЕ ТЕХНИЧЕСКОЕ ОБСЛУЖИВАНИЕ
Слив котла выполняется при помощи специального крана на котле.
У котлов MS 24 MI и MS 24 MI FF кран с резиновым наконечником находится на дне, а у котлов MS 24 и MS 24 FF он расположен
рядом с насосом (1 – рис. 15).
Для слива котла при помощи крана с резиновым наконечником, находящимся на дне котла, действовать, как описано ниже
(рис. 15):
- закрыть отсекающие краны котла;
- откройте кран с резиновым наконечником с помощью шестиугольного ключа 8 мм;
- слейте котел;
- закройте кран с резиновым наконечником с помощью шестиугольного ключа 8 мм;
29. СЛИВ ВОДЫ ИЗ КОТЛА
CG_2284 / 1009_2405
Рис.15
289
РУКОВОДСТВО ДЛЯ ТЕХНИЧЕСКОГО ПЕРСОНАЛА
71.03982.03 - RU
Фильтр на входе холодной воды системы ГВС и фильтр на обратке системы отопления располагаются внутри специальных
съемных картриджей. Картридж с фильтром системы отопления располагается на возврате из системы (рис.16 F), картридж с
фильтром системы ГВС располагается на входе холодной воды (рис. 16Е). Для очистки фильтров действовать следующим образом:
• отключить электропитание котла;
• закрыть кран на подаче в систему ГВС;
• слить воду из системы отопления, открыв кран А (рис.16);
• снять зажим (1-Е/F) фильтра как показано на рисунке и действуя осторожно, не прикладывая излишних усилий, вынуть
картридж (2-Е/F), содержащий фильтр;
• для того, чтобы вынуть картридж с фильтром системы отопления, необходимо вначале снять мотор трехходового клапана
(1-2G – рис.16);
• очистите фильтры от возможных загрязнений;
• вставьте фильтры в картриджи и установите на свои места, аккуратно закрепив зажимами;
• для замены датчика NTC контура ГВС смотри рис. 16D.
ВНИМАНИЕ:
При замене или чистке кольцевых прокладок «О-типа» в гидравлическом блоке не смазывайте их маслом. Смазывайте их
только специальными средствами типа «Molykote 111».
30. ОЧИСТКА ФИЛЬТРОВ
Очистка системы ГВС может быть осуществлена без демонтажа вторичного теплообменника, если заранее был установлен
специальный кран (поставляется отдельно) на выходе горячей санитарной воды.
Для очистки системы ГВС необходимо:
• Перекрыть кран на входе холодной воды в систему ГВС;
• Слить воду из системы ГВС при помощи специального крана;
• Перекрыть кран выхода горячей санитарной воды;
• Снять зажим 1Е (рис.16);
• Снять фильтр (2Е рис.16).
При отсутствии специального крана необходимо демонтировать вторичный теплообменник, как описано в следующем
параграфе, и очистить его отдельно. Рекомендуем очистить от известкового налета также датчик NTC системы ГВС и место
его расположения ( рис.16 D).
Для очистки вторичного теплообменника или контура ГВС рекомендуем использовать Cillit FFW-AL и Benckiser HF-AL.
31. ОЧИСТКА ОТ ИЗВЕСТКОВОГО НАЛЕТА В СИСТЕМЕ ГВС
290
РУКОВОДСТВО ДЛЯ ТЕХНИЧЕСКОГО ПЕРСОНАЛА
71.03982.03 - RU
Теплообменник вода-вода с пластинами из нержавеющей стали может быть демонтирован, используя шестигранный ключ,
действуя, как указано ниже:
- слить установку, по возможности, ограничиваясь только котлом, при помощи специального сливного крана;
- вылить воду, находящуюся в контуре горячей воды;
- отвинтить трубу соединения расширительного бака с гидравлическим узлом;
- снять реле давления отопления (16H), не отсоединяя проводку;
- снять два винта (рис. 16B), видные спереди, для крепления теплообменника вода-вода и снять его из гнезда, используя
пространство, образовавшееся после снятия реле давления отопления;
- очистить теплообменник и установить его в гнездо;
- привинтить трубу соединения расширительного бака с гидравлическим узлом;
- установить гидравлическое реле давления в гнездо.
32. ДЕМОНТАЖ ТЕПЛООБМЕННИКА ВОДА-ВОДА
ВНИМАНИЕ:
Будьте очень внимательны во время демонтажа гидравлической группы.
Не используйте острые инструменты, не прикладывайте чрезмерные усилия, снимая фиксирующие зажим.
Рис.16
CG_2078 / 1009_2201
291
РУКОВОДСТВО ДЛЯ ТЕХНИЧЕСКОГО ПЕРСОНАЛА
71.03982.03 - RU
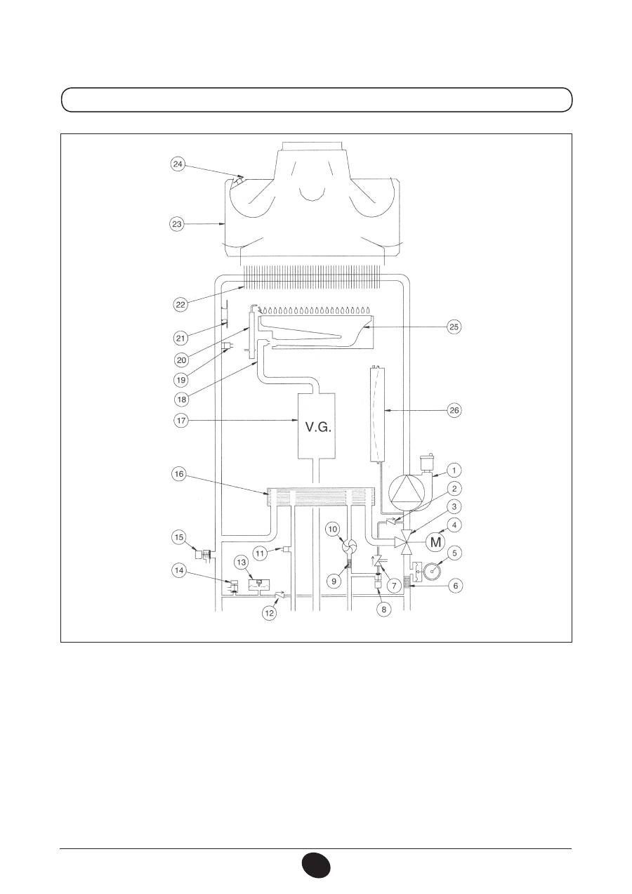
33. ФУНКЦИОНАЛЬНАЯ СХЕМА КОНТУРОВ
24 MI FF
Система обозначений:
1 Насос с воздухоотводчиком
2 Обратный клапан
3 Трехходовой клапан
4 Двигатель трехходового клапана
5 Манометр
6 Съемный фильтр контура отопления
7 Разъединитель
8 Кран подачи в котел
9 Съемный фильтр холодной воды
10 Датчик протока ГВС
11 Датчик NTC температуры горячей воды
12 Стопорный клапан на автоматическом байпасе
13 Гидравлическое реле давления
14 Кран слива котла
15 Предохранительный клапан
16 Пластинчатый теплообменник вода-вода
17 Газовый клапан с газовой мембраной
18 Газовая рампа с форсунками
19 Датчик NTC температуры отопления
20 Электрод зажигания/детектор пламени
21 Предохранительный термостат
22 Теплообменник вода-дым
23 Канал направления дымов
24 Вентилятор
25 Труба Вентури
26 Положительная точка отбора давления
27 Отрицательная точка отбора давления
28 Реле давления воздуха
29 Горелка
30 Расширительный бак
Рисунок 17
Подача
отопления
Выход
горячей
воды
Газ
Вход
горячей
воды
Возврат
отопления
CG_2269 / 1006_1805
292
РУКОВОДСТВО ДЛЯ ТЕХНИЧЕСКОГО ПЕРСОНАЛА
71.03982.03 - RU
24 MI
Рис. 18
CG_2270 / 1006_1806
Подача
отопления
Выход
горячей
воды
Газ
Вход
горячей
воды
Возврат
отопления
Система обозначений:
1 Насос с воздухоотводчиком
2 Обратный клапан
3 Трехходовой клапан
4 Двигатель трехходового клапана
5 Манометр
6 Съемный фильтр контура отопления
7 Разъединитель
8 Кран подачи в котел
9 Съемный фильтр холодной воды
10 Датчик протока ГВС
11 Датчик NTC температуры горячей воды
12 Стопорный клапан на автоматическом байпасе
13 Гидравлическое реле давления
14 Кран слива котла
15 Предохранительный клапан
16 Пластинчатый теплообменник вода-вода
17 Газовый клапан с газовой мембраной
18 Газовая рампа с форсунками
19 Датчик NTC температуры отопления
20 Электрод зажигания/детектор пламени
21 Предохранительный термостат
22 Теплообменник вода-дым
23 Канал направления дымов
24 Термостат дымов
25 Горелка
26 Расширительный бак
293
РУКОВОДСТВО ДЛЯ ТЕХНИЧЕСКОГО ПЕРСОНАЛА
71.03982.03 - RU
24 FF
Рис. 19
CG_2267 / 1006_2102
Подача
отопления
Подача
бойлера
Газ
Вход
горячей
воды
Возврат
отопления
Система обозначений:
1 Автоматический байпас со стопорным клапаном
2 Гидравлическое реле давления
3 Трехходовой клапан
4 Двигатель трехходового клапана
5 Газовый клапан с газовой мембраной
6 Газовая рампа с форсунками
7 Датчик NTC температуры отопления
8 Электрод зажигания / детектор пламени
9 Предохранительный термостат
10 Теплообменник вода-дым
11 Канал направления дымов
12 Вентилятор
13 Труба Вентури
14 Положительная точка отбора давления
15 Отрицательная точка отбора давления
16 Реле давления воздуха
17 Горелка
18 Расширительный бак
19 Насос с воздухоотводчиком
20 Обратный клапан
21 Кран слива котла
22 Манометр
23 Предохранительный клапан
24 Разъединитель
294
РУКОВОДСТВО ДЛЯ ТЕХНИЧЕСКОГО ПЕРСОНАЛА
71.03982.03 - RU
24
Рис. 20
CG_2268 / 1006_2103
Подача
отопления
Подача
бойлера
Газ
Вход
горячей
воды
Возврат
отопления
Система обозначений:
1 Автоматический байпас со стопорным клапаном
2 Гидравлическое реле давления
3 Трехходовой клапан
4 Двигатель трехходового клапана
5 Газовый клапан с газовой мембраной
6 Газовая рампа с форсунками
7 Датчик NTC температуры отопления
8 Электрод зажигания / детектор пламени
9 Предохранительный термостат
10 Теплообменник вода-дым
11 Канал направления дымов
12 Термостат дымов
13 Горелка
14 Расширительный бак
15 Насос с воздухоотводчиком
16 Обратный клапан
17 Кран слива котла
18 Манометр
19 Предохранительный клапан
20 Разъединитель
295
РУКОВОДСТВО ДЛЯ ТЕХНИЧЕСКОГО ПЕРСОНАЛА
71.03982.03 - RU
34. СХЕМЫ ЭЛЕКТРИЧЕСКИХ СОЕДИНЕНИЙ
24 F
Цвет проводов
C = голубой
М = коричневый
N = черный
R = красный
G/V = желтый/зеленый
B = белый
V = зеленый
ЭЛЕКТРОД ДЕТЕКТОРА/
ЗАЖИГАНИЯ
ТЕРМОСТАТ
ТРЕХХОДОВОЙ
КЛАПАН
НАСОС
ВЕНТИЛЯТОР
ДАТЧИК ПЕРВООЧЕРЕДНОСТИ
ГОРЯЧЕЙ ВОДЫ
НАРУЖНЫЙ
ЗОНД
ГИДРАВЛИЧЕСКОЕ
ПРЕССОСТАТ
ПРЕДОХРАНИТЕЛЬНЫЙ
ТЕРМОСТАТ
РЕЛЕ ДАВЛЕНИЯ ВОЗДУХА
ЗОНД NTC ГОР.
ЗОНД NTC ОТ.
CG_2075 / 1001_1806
ПРОГРАММИРОВАНИЕ
296
РУКОВОДСТВО ДЛЯ ТЕХНИЧЕСКОГО ПЕРСОНАЛА
71.03982.03 - RU
24 MI
Цвет проводов
C = голубой
М = коричневый
N = черный
R = красный
G/V = желтый/зеленый
B = белый
V = зеленый
ТЕРМОСТАТ
ТРЕХХОДОВОЙ КЛАПАН
НАСОС
ГИДРАВЛИЧЕСКОЕ
ПРЕССОСТАТ
ТЕРМОСТАТ–
ДАТЧИК ТЯГИ
ЭЛЕКТРОД ДЕТЕКТОРА/
ЗАЖИГАНИЯ
ДАТЧИК ПЕРВООЧЕРЕДНОСТИ
ГОРЯЧЕЙ ВОДЫ
CG_2076 / 1001_1807
ЗОНД NTC ГОР.
НАРУЖНЫЙ
ЗОНД
ПРЕДОХРАНИТЕЛЬНЫЙ
ТЕРМОСТАТ
ПРОГРАММИРОВАНИЕ
ЗОНД NTC ОТ.
297
РУКОВОДСТВО ДЛЯ ТЕХНИЧЕСКОГО ПЕРСОНАЛА
71.03982.03 - RU
24 FF
Цвет проводов
C = голубой
М = коричневый
N = черный
R = красный
G/V = желтый/зеленый
B = белый
V = зеленый
ТЕРМОСТАТ
НАСОС
ВЕНТИЛЯТОР
ГИДРАВЛИЧЕСКОЕ
ПРЕССОСТАТ
РЕЛЕ ДАВЛЕНИЯ ВОЗДУХА
ЭЛЕКТРОД ДЕТЕКТОРА/
ЗАЖИГАНИЯ
CG_2271 / 1006_1603
КЛЕММНИК М2
ТРЕХХОДОВОЙ
КЛАПАН
НАРУЖНЫЙ
ЗОНД
ПРЕДОХРАНИТЕЛЬНЫЙ
ТЕРМОСТАТ
ПРОГРАММИРОВАНИЕ
ЗОНД NTC ОТ.
298
РУКОВОДСТВО ДЛЯ ТЕХНИЧЕСКОГО ПЕРСОНАЛА
71.03982.03 - RU
24
Цвет проводов
C = голубой
М = коричневый
N = черный
R = красный
G/V = желтый/зеленый
B = белый
V = зеленый
ТЕРМОСТАТ
НАСОС
ГИДРАВЛИЧЕСКОЕ
ПРЕССОСТАТ
ТЕРМОСТАТ–
ДАТЧИК ТЯГИ
ПРОГРАММИРОВАНИЕ
ЭЛЕКТРОД ДЕТЕКТОРА/
ЗАЖИГАНИЯ
КЛЕММНИК М2
ТРЕХХОДОВОЙ
КЛАПАН
НАРУЖНЫЙ
ЗОНД
ПРЕДОХРАНИТЕЛЬНЫЙ
ТЕРМОСТАТ
ЗОНД NTC ОТ.
CG_2272 / 1010_2101
299
РУКОВОДСТВО ДЛЯ ТЕХНИЧЕСКОГО ПЕРСОНАЛА
71.03982.03 - RU
35. ТЕХНИЧЕСКИЕ ДАННЫЕ
Модель MS
24 MI FF
24 FF
24 MI
24
Категория
II
2H3P
II
2H3P
II
2H3P
II
2H3P
Максимальная потребляемая тепловая мощность
кВт
25,8
25,8
26,3
26,3
Минимальная потребляемая тепловая мощность
кВт
10,6
10,6
10,6
10,6
Максимальная полезная тепловая мощность
кВт
24
24
24
24
ккал/час
20.600
20.600
20.600
20.600
Минимальная полезная тепловая мощность
кВт
9,3
9,3
9,3
9,3
ккал/час
8.000
8.000
8.000
8.000
КПД согласно 92/42/ СЕЕ
—
★★★
★★★
★★
★★
Максимальное давление в системе отопления
бар
3
3
3
3
Объем расширительного бака
л
6
6
6
6
Давление в расширительном баке
бар
1
1
1
1
Максимальное входное давление холодной воды
бар
8
—
8
—
Минимальное давление в контуре ГВС
бар
0,15
—
0,15
—
Минимальный расход воды в контуре ГВС
л/мин
2,0
—
2,0
—
Количество горячей воды при ΔT=25°С
л/мин
13,7
—
13,7
—
Количество горячей воды при ΔT=35°С
л/мин
9,8
—
9,8
—
Количество горячей воды согласно EN 625
л/мин
12
—
12
—
Диапазон температур воды в контуре отопления
°C
30/85
30/85
30/85
30/85
Диапазон температур воды в системе ГВС
°C
35/60
35/60***
35/60
35/60***
Тип
—
C12-C32-C42-C52-
C82-B22
B
11BS
B
11BS
Диаметр коаксиального дымохода
мм
60
60
-
-
Диаметр коаксиального воздуховода
мм
100
100
-
-
Диаметр раздельного дымохода
мм
80
80
-
-
Диаметр раздельного воздуховода
мм
80
80
-
-
Диаметр дымохода
мм
-
-
125
125
Максимальный расход отходящих газов
кг/сек
0,014
0,014
0,020
0,020
Минимальный расход отходящих газов
кг/сек
0,014
0,014
0,018
0,018
Максимальная температура отходящих газов
°C
146
146
110
110
Минимальная температура отходящих газов
°C
116
116
85
85
Класс NOx
—
3
3
3
3
Тип газа
Природный G20 или сжиженный G31
Номинальное давление подачи природного газа G 20 (метан)
мбар
20
20
20
20
Номинальное давление подачи сжиженного газа G31 (пропан)
мбар
30
30
30
30
Напряжение электропитания
В
230
230
230
230
Частота питающей сети
Гц
50
50
50
50
Номинальная электрическая мощность
Вт
130
130
80
80
Масса Нетто
кг
33
32
29
28
Габариты
высота
мм
730
730
730
730
ширина
мм
400
400
400
400
глубина
мм
299
299
299
299
Уровень защиты от внешних воздействий (согласно EN60529)
IP X5D
IP X5D
IP X5D
IP X5D
(***) с внешним бойлером
Компания
DE DIETRICH
, постоянно работая над усовершенствованием предлагаемой продукции, оставляет за собой право
без предварительного уведомления вносить необходимые технические изменения в свою продукцию. Настоящее руководство
поставляется в качестве информативной поддержки и не может считаться контрактом в отношении третьих лиц.
300
71.03982.03 - CN
用户使用说明
亲爱的用户:
我们确信您购买的新锅炉能够满足您的所有要求。
我们的产品:功能优异、 操作简便。
您在使用之前,务必仔细阅读本手册:本手册的信息非常实用,可以帮助您正确、高效地操作锅
炉。
请不要将产品包装(塑料袋、聚苯乙烯等)放到小孩能够触及的地方,以免发生危险.
1. 安装前须知
301
2. 调试前须知
301
3. 调试启动锅炉
302
4. 锅炉供水温度调节
303
5. 锅炉运行模式选择
303
6. 锅炉补水
304
7. 关闭锅炉
304
8. 置换燃气种类
304
9. 长时间停机时系统的防冻保护
305
10. 错误信息及故障表
305
11. 维保说明
305
12. 基本信息
306
13. 安装前须知
306
14. 锅炉的安装
307
15. 锅炉尺寸
308
16. 进气-排气管的安装
309
17. 电源连接
313
18. 室内温控器接线
313
19. 换煤气模式
314
20. INFO显示功能
316
21. 参数设置
317
22. 调节及安全保护装置
317
23. 点火电极及火焰检测电极的定位
318
24. 燃烧参数的检测
319
25. 水泵性能曲线
319
26. 室外温度传感器接线
320
27. 外置式燃烧箱的连接
320
28. 年度维保
321
29. 锅炉排水电路
321
30. 清洗过滤网
322
31. 卫生热水系统的清洗除垢
322
32. 热水交换器的拆卸
323
33. 电路功能图
324
34. 连接器的连接图
328
35. 技术参数
332
目录
用户使用说明
安装维修保护说明
我们的锅炉符合如下标准要求,获得CE认证::
- 燃气标准2009/142/EC
- 性能标准92/42/EEC
- 电磁兼容性标准 2004/108/EC
- 低电压电器标准 2006/95/EC
301
71.03982.03 - CN
用户使用说明
该锅炉的出水温度设计为低于水的沸点温度(标准大气压下)。
必须依据锅炉的性能和热输出功率连接与其匹配的采暖和卫生热水系统。
锅炉的安装必须由授权的、有资质的工程师完成,在安装前,须确保完成下述操作:
a) 检查锅炉是否适用于用户所提供的燃气类型,如是,方可进行安装。锅炉适用的燃气类型详见设备包装和标牌说明。
b) 检查烟道设计是否符合当地相关法律、法规、标准要求;检查进气、排烟是否顺畅,有无堵塞,并确保烟、气管连接
处密封良好,检查合格后方可安装。如锅炉需连接至共用烟道时,须严格按照锅炉的安装技术要求以及当地的相关法
律、法规、标准执行。
c) 当锅炉连接到现有烟道上时,应彻底清理旧烟道,以免锅炉运行时燃烧残余物脱落堵塞烟道。
d) 为确保设备正确运转并避免锅炉质保失效,请遵循下述预防措施:
1. 卫生热水系统
1.1. 如果水硬度大于20 °F(1 °F = 每升水含10毫克碳酸钙),则根据现行规定采用聚磷酸盐或相当的水处理系统。
1.2. 设备安装后及使用前,必须彻底冲洗卫生热水管路系统。
1.3. 用于卫生热水系统水处理的产品,必须满足规范98/83/EC及当地相关法律、规范的相关要求。
2. 采暖系统
2.1. 新安装的采暖系统
安装锅炉前,必须清理并彻底地冲洗系统以清除剩余的切屑、焊渣和溶剂(如有),尽可能采用适当的专利产品处理。
为了避免损坏金属、塑料和橡胶零部件,只允许使用中性的清洁剂,即非酸性、非碱性的清洁剂。所推荐的清洁产品包
括:SENTINEL X300或X400 及采暖管路防护剂FERNOX。必须严格遵守产品制造商的指导要求使用上述产品。
2.2. 原有的采暖系统
安装锅炉前,必须清理并冲洗系统以去除淤渣及污物,采用第2.1节所述适当的专利产品进行清洗。
为了避免损坏金属、塑料和橡胶零部件,只允许使用中性的清洁剂,即非酸性、非碱性的清洁剂。所推荐的清洁产品包
括:SENTINEL X100 和采暖管路防护剂FERNOX。必须严格遵守产品制造商的指导要求使用该产品。
请注意,采暖系统内的杂质会对锅炉的运行产生不利的影响(例如过热及换热器的工作噪音).
如不遵循上述要求,将导致锅炉质保失效.
1. 安装前须知
必须由授权的、有资质的工程师完成锅炉的初次点火,在初次点火前,必须确保完成下述操作:
a) 检查并确认锅炉参数(电、水、气)与供应系统的参数相符;
b) 壁挂炉的安装符合法律及规范要求;
c) 正确连接电源并确保设备具有正确、可靠的接地。
授权代理商的名称应在所附的维修单中标明。
如不遵循上述要求,将导致锅炉质保失效。
调试前,需除去炉体外壳上的塑料防护薄膜,请不要使用任何工具或磨蚀性清洁剂,以防损坏其喷涂表面.
《安装使用手册》中应阐述如下内容:
此设备不应由以下人员使用:儿童、生理残疾者、精神障碍、感官或智力不全者、以及缺乏相应经验和知识者;除非在其
监护人的监督和指导下。
家长应监护好自己的孩子,确保他们不玩此设备.
2. 调试前须知
302
71.03982.03 - CN
用户使用说明
请按以下步骤正确点火:
1) 接通锅炉电源;
2) 打开燃气进气阀;
3) 按 (
)
按钮,并将锅炉设为夏季 ( ), 冬季 (
) 或单采暖 (
) 三种模式之一;
4) 锅炉必须在有供热需求时才会点火,按采暖 (
) 和卫生热水 ( ) 温度调节按钮 (
+/-
) 将锅炉供水温度调高以产生
热需求,从而使锅炉点火并开始工作. 锅炉点火成功后,燃烧器开始正常燃烧工作后, 液晶屏中上部将显示符号 ( ).
注意:锅炉处于夏季模式时,显示屏右上角会显示符号 (
) 这种情况下,只有在卫生热水龙头打开时锅炉才会点火工
作.
注意:
锅炉初次点火时, 可能会因为燃气管路中空气未排尽而造成点火失败(导致锅炉故障停机)。在这种情况下,需重复点火直
至纯燃气到达锅炉。锅炉故障停机后,需按下重启按钮 ( ), 至少 2 秒钟,松开后锅炉将重启进行下一次点火.
3.调试启动锅炉
在采暖模式下运行
燃烧正常(燃烧器运行)
点火故障(点火失败)
在卫生热水模式下运行
一般故障
缺水指示(系统压力不足)
数字信号 (温度、故障代码等)
重启指示
按钮说明
图1
符号说明
开/关/夏季/冬季 模式选择
(
+/-
) 采暖温度调节按钮
(
+/-
) 卫生热水温度调节按钮
重启按钮
信息按钮
0805_2302 / CG_2072
Оглавление
- SOMMAIRE
- 5. DESCRIPTION DES TOUCHES (ÉTÉ – HIVER – CHAUFFAGE SEULEMENT – ARRÊT)
- •
- 28. RACCORDEMENT D’UN BALLON SEPARE AVEC UN MOTEUR VANNE 3 VOIES
- 5. DESCRIZIONE TASTO (Estate - Inverno - Solo riscaldamento - Spento)
- •
- 5. DESCRIPTION OF BUTTON (Summer - Winter - Heating only - Off)
- •
- 5. DESCRIPCIÓN DE LA TECLA (Verano - Invierno - Sólo calefacción - Apagado)
- •
- 5. ОПИСАНИЕ НА БУТОН (Лято – Зима – Само отопление – Изключен)
- 8. СМЯНА НА ВИДА ГАЗ
- 13. УКАЗАНИЯ ПРЕДИ МОНТАЖА
- 15. РАЗМЕРИ НА КОТЕЛА
- •
- 28. ГОДИШЕН ПРЕГЛЕД
- SPIS TREŚCI
- 1. OSTRZEŻENIA PRZED ZAINSTALOWANIEM
- 3. ROZRUCH KOTŁA
- 4. REGULACJA TEMPERATURY POKOJOWEJ I CIEPŁEJ WODY UŻYTKOWEJ
- 7. WYŁĄCZENIE KOTŁA 8. ZMIANA GAZU
- 9. WYDŁUŻONY OKRES WYŁĄCZENIA INSTALACJI. OCHRONA PRZED ZAMARZANIEM
- 12. UWAGI OGÓLNE 13. WYMAGANIA INSTALACYJNE
- 14. UWAGI INSTALACYJNE
- 15. WYMIARY KOTŁA
- 16. INSTALOWANIE PRZEWODÓW POWIETRZNO-SPALINOWYCH
- 17. PODŁĄCZENIE ELEKTRYCZNE 18. PODŁĄCZENIE TERMOSTATU POKOJOWEGO
- 19. SPOSÓB ZMIANY RODZAJU GAZU
- •
- 21. USTAWIENIE PARAMETRÓW
- 23. USTAWIENIE ELEKTRODY ZAPŁONOWEJ I JONIZACYJNEJ PŁOMIEŃ
- 24. KONTROLA PARAMETRÓW SPALANIA 25. CHARAKTERYSTYKA NATĘŻENIA PRZEPŁYWU/WYSOKOŚCI PODNOSZENIA
- 26. PODŁĄCZENIE CZUJNIKA ZEWNĘTRZNEGO
- 28. KONSERWACJA ROCZNA
- 30. CZYSZCZENIE FILTRÓW
- 32. DEMONTAŻ WYMIENNIKA WODA-WODA
- 33. SCHEMAT FUNKCJONALNY OBWODÓW
- 34. SCHEMAT POŁACZEŃ ELEKTRYCZNYCH
- 35. CHARAKTERYSTYKA TECHNICZNA
- CUPRINS
- 1. AVERTISMENTE ANTERIOARE INSTALĂRII
- 3. PUNEREA ÎN FUNCŢIUNE A CENTRALEI TERMICE
- 4. REGLAREA TEMPERATURII AMBIANTE ŞI A TEMPERATURII APEI MENAJERE
- 7. OPRIREA CENTRALEI TERMICE 8. SCHIMBAREA TIPULUI DE GAZ
- 10. INTRAREA ÎN FUNCŢIUNE A DISPOZITIVELOR DE SIGURANŢA
- 12. AVERTISMENTE GENERALE 13. AVERTISMENTE ANTERIOARE INSTALĂRII
- 13. INSTALLAZIONE DELLA CALDAIA 14. INSTALAREA CENTRALEI TERMICE
- 14. DIMENSIONI CALDAIA 15. DIMENSIUNILE CENTRALEI TERMICE
- 16. INSTALAREA CONDUCTELOR DE EVACUARE GAZE ARSE ŞI ADMISIE AER
- 17. CONECTAREA LA REŢEAUA ELECTRICĂ 18. CONECTAREA TERMOSTATULUI AMBIENTAL
- 19. MODALITĂŢI DE SCHIMBARE A TIPULUI DE GAZ
- 20. VIZUALIZAREA PARAMETRILOR PE AFIŞAJ (FUNCŢIE “INFO”)
- 21. SETAREA PARAMETRILOR
- 23. POZIŢIONAREA ELECTRODULUI DE APRINDERE ŞI DETECTARE A FLĂCĂRII
- 24. VERIFICAREA PARAMETRILOR DE COMBUSTIE 25. PERFORMANŢE DEBIT/ÎNĂLŢIME DE POMPARE
- 26. CONECTAREA SONDEI EXTERNE
- 28. ÎNTREŢINEREA ANUALĂ
- 30. CURĂŢAREA FILTRELOR
- 32. DEMONTAREA SCHIMBĂTORULUI APĂ-APĂ
- 33. DIAGRAMĂ FUNCŢIONALĂ CIRCUITE
- 34. DIAGRAMĂ CUPLARE CONECTORI
- 35. CARACTERISTICI TEHNICE
- ΠΕΡΙΕΧΟΜΕΝΑ
- 1. ΟΔΗΓΙΕΣ ΠΡΙΝ ΤΗΝ ΕΓΚΑΤΑΣΤΑΣΗ
- 3. ΘΕΣΗ ΣΕ ΛΕΙΤΟΥΡΓΙΑ ΤΟΥ ΛΕΒΗΤΑ
- 4. ΡΥΘΜΙΣΗ ΤΗΣ ΘΕΡΜΟΚΡΑΣΙΑΣ ΠΕΡΙΒΑΛΛΟΝΤΟΣ ΚΑΙ ΤΟΥ ΝΕΡΟΥ ΟΙΚΙΑΚΗΣ ΧΡΗΣΗΣ
- 7. ΣΒΗΣΙΜΟ ΤΟΥ ΛΕΒΗΤΑ 8. ΑΛΛΑΓΗ ΑΕΡΙΟΥ
- 10. ΕΝΔΕΙΞΕΙΣ-ΕΠΕΜΒΑΣΗ ΣΥΣΤΗΜΑΤΩΝ ΑΣΦΑΛΕΙΑΣ
- 12. ΓΕΝΙΚΕΣ ΠΛΗΡΟΦΟΡΙΕΣ 13. ΟΔΗΓΙΕΣ ΠΡΙΝ ΤΗΝ ΕΓΚΑΤΑΣΤΑΣΗ
- 13. INSTALLAZIONE DELLA CALDAIA 14. ΕΓΚΑΤΑΣΤΑΣΗ ΤΟΥ ΛΕΒΗΤΑ
- 14. DIMENSIONI CALDAIA 15. ΔΙΑΣΤΑΣΕΙΣ ΛΕΒΗΤΑ
- 16. ΕΓΚΑΤΑΣΤΑΣΗ ΑΓΩΓΩΝ ΑΠΑΓΩΓΗΣ - ΑΝΑΡΡΟΦΗΣΗΣ
- 17. ΗΛΕΚΤΡΙΚΗ ΣΥΝΔΕΣΗ 18. ΣΥΝΔΕΣΗ ΤΟΥ ΘΕΡΜΟΣΤΑΤΗ ΔΩΜΑΤΙΟΥ
- 19. ΤΡΟΠΟΣ ΑΛΛΑΓΗΣ ΑΕΡΙΟΥ
- 20. ΑΠΕΙΚΟΝΙΣΗ ΠΑΡΑΜΕΤΡΩΝ ΣΤΗΝ ΟΘΟΝΗ (ΛΕΙΤΟΥΡΓΙΑ «INFO»)
- 21. ΡΥΘΜΙΣΗ ΠΑΡΑΜΕΤΡΩΝ
- 23. ΤΟΠΟΘΕΤΗΣΗ ΗΛΕΚΤΡΟΔΙΟΥ ΑΝΑΦΛΕΞΗΣ ΚΑΙ ΑΝΙΧΝΕΥΣΗΣ ΦΛΟΓΑΣ
- 24. ΕΛΕΓΧΟΣ ΠΑΡΑΜΕΤΡΩΝ ΚΑΥΣΗΣ 25. ΧΑΡΑΚΤΗΡΙΣΤΙΚΑ ΠΑΡΟΧΗΣ / ΜΑΝΟΜΕΤΡΙΚΟΥ ΥΨΟΥΣ ΣΤΗΝ ΠΛΑΚΑ
- 26. ΣΥΝΔΕΣΗ ΤΟΥ ΕΞΩΤΕΡΙΚΟΥ ΑΙΣΘΗΤΗΡΑ
- 28. ΕΤΗΣΙΑ ΣΥΝΤΗΡΗΣΗ
- 30. ΚΑΘΑΡΙΣΜΟΣ ΤΩΝ ΦΙΛΤΡΩΝ
- 32. ΑΠΟΣΥΝΑΡΜΟΛΟΓΗΣΗ ΕΝΑΛΛΑΚΤΗ ΝΕΡΟΥ-ΝΕΡΟΥ
- 33. ΛΕΙΤΟΥΡΓΙΚΟ ΣΧΕΔΙΟ ΚΥΚΛΩΜΑΤΩΝ
- 34. ΣΧΕΔΙΟ ΣΥΝΔΕΣΗΣ ΣΥΝΔΕΣΜΩΝ
- 35. ТЕХНИЧЕСКИ ХАРАКТЕРИСТИКИ
- 5. ОПИСАНИЕ КНОПКИ (Лето – Зима – Только Отопление – Выключено)
- •
- 5. 锅炉运行模式选择
- 错误信息及故障表

