De Dietrich MS 24 FF: 28. RACCORDEMENT D’UN BALLON SEPARE AVEC UN MOTEUR VANNE 3 VOIES
28. RACCORDEMENT D’UN BALLON SEPARE AVEC UN MOTEUR VANNE 3 VOIES: De Dietrich MS 24 FF
22
71.03982.03 - FR
INSTRUCTIONS DESTINÉES À L’INSTALLATEUR
Modèles 24 - 24 FF
RACCORDEMENT DE LA SONDE DU BALLON
La chaudière est conçue de façon à pouvoir être raccordée à un ballon séparé. Procéder au raccordement hydraulique
du ballon comme le montre la fig. 14.
Raccorder la sonde
CTN
de priorité sanitaire aux bornes 5-6 de la bornier
M2
. L’élément sensible de la sonde CTN doit être
installé sur le doigt de gant du ballon. Régler la température de l’eau sanitaire (35 °C...65 °C) à l’aide des touches
+
/
-
.
28. RACCORDEMENT D’UN BALLON SEPARE AVEC UN MOTEUR VANNE 3 VOIES
REMARQUE :
S’assurer que le paramètre
F03 = 03
(paragraphe 21).
Figure 14
Légende
UB
installation de ballon
UR
installation de chauffage
M
moteur
vanne trois voies
M2
bornier de raccordement
SB
sonde ballon de priorité sanitaire (accessoire)
MR
départ chauffage
MB
départ ballon
RR
retour chauffage/ballon
CG_2085 / 1101_1701
27. RACCORDEMENT DE LA SONDE EXTÉRIEURE
Le faisceau de câbles raccordé à la carte de contrôle comprend deux câbles ROUGES munis de cosses faston. Raccorder
la sonde extérieure à ces deux câbles.
Après la connexion de la sonde, les touches
+/-
permettent de modifier la courbe « kt » (Graphique 2).
NOTE : Pour une habitation ayant une isolation moyenne et équipée d’un système de chauffage à radiateurs nous con-
seillons de régler la courbe climatique “
kt
” à une valeur de “25”.
TM
= Plage des températures de sortie
Te
= Température extérieure
Graphique 2
TM
Te
courbe “kt”
1012_0501
23
71.03982.03 - FR
INSTRUCTIONS DESTINÉES À L’INSTALLATEUR
Pour optimiser l’efficacité de la chaudière, il convient d’effectuer tous les ans les contrôles suivants :
• vérifier l’aspect et l’étanchéité à l’air des joints des circuits du gaz et de la combustion ;
• s’assurer que les électrode de détection de la flamme sont en bon état et qu’elle est correctement positionnés ;
• s’assurer que le brûleur est en bon état et qu’il est bien fixé ;
• s’assurer qu’il n’y a pas d’impuretés dans la chambre de combustion et nettoyer la chambre de combustion à l’aide
d’un aspirateur ;
• s’assurer que le bloc gaz soit correctement étalonné ;
• vérifier la pression du système de chauffage ;
• vérifier la pression du vase d’expansion ;
• s’assurer que le ventilateur fonctionne correctement ;
• s’assurer que les conduits d’évacuation – aspiration ne soient pas obstrués;
AVERTISSEMENTS
Avant de commencer les opérations de maintenance, s’assurer que la chaudière soit déconectée de l’alimentation
électrique. Après la maintenance, remettre les réglages appropriés.
29. ENTRETIEN ANNUEL
La vidange de la chaudière peut être effectuée à l’aide du robinet situé sur la traverse porte-raccords (fournie en accessoire)
ou directement depuis le robinet situé dans le groupe hydraulique ; dans les chaudières MS 24 MI, MS 24 MI VMC et MS
24 MI FF, le robinet pour le tuyau est situé sur le fond, tandis que, dans les chaudières MS 24 et MS 24 FF, il se trouve à
côté de la pompe (1 - fig. 15b).
Pour vider la chaudière avec le robinet installé sur la traverse porte-raccords, procéder de la façon suivante (fig. 15a) :
- fermer les robinets d’arrêt de la chaudière ;
- en utilisant une clé de 5 mm, ouvrir le robinet de vidange situé sur le corps vanne du départ chauffage ;
- vider la chaudière ;
- en utilisant une clé de 5 mm, fermer le robinet de vidange.
30. VIDANGE DU CIRCUIT DE LA CHAUDIÈRE
CG_2284 / 1009_2403
Figure 15a
Pour vider la chaudière avec le robinet pour tuyau situé sur le fond de la chaudière, procéder de la façon suivante (fig. 15b) :
- fermer les robinets d’arrêt de la chaudière ;
- en utilisant une clé six pans mâle de 8 mm, ouvrir le robinet pour tuyau ;
- vider la chaudière ;
- en utilisant une clé six pans mâle de 8 mm, fermer le robinet pour tuyau.
CG_2284 / 1011_0203
Figure 15b
MS 24 MI - MS 24 MI VMC - MS 24 MI FF
MS 24 - MS 24 FF
24
71.03982.03 - FR
INSTRUCTIONS DESTINÉES À L’INSTALLATEUR
(Modèles MI)
Les filtres du circuit d’eau chaude sanitaire et du circuit de chauffage sont logés dans des cartouches extractibles. La
cartouche du circuit de chauffage est située sur la canalisation de retour du chauffage (figure 16F), la cartouche du circuit
de l’eau chaude sanitaire est située sur l’arrivée d’eau froide (figure 16E). Pour nettoyer les filtres, procéder de la manière
suivante:
• débrancher l’alimentation électrique de la chaudière;
• fermer le robinet d’arrivée de l’eau chaude sanitaire;
• vidanger l’eau du circuit de chauffage, en ouvrant le robinet A de la figure 16;
• enlever le clip (1-E / F) du filtre de la manière indiquée par la figure et extraire la cartouche (2-E / F) contenant le filtre
en prenant soin de ne pas appliquer une force excessive;
• pour extraire la cartouche du filtre de chauffage, il faut tout d’abord enlever le moteur de la valve 3 voies (1-2G - figure
16);
• éliminer les impuretés et les dépôts présents sur le filtre;
• remettre le filtre dans la cartouche, remettre la cartouche dans son logement et la fixer à l’aide du clips;
• pour changer la sonde CTN de l’eau chaude sanitaire, consulter la figure 16D.
IMPORTANT
Lors du remplacement et / ou du nettoyage des joints toriques du circuit hydraulique, n’utiliser que du Molykote 111 et
aucun autre lubrifiant comme du pétrole ou de la graisse.
31. NETTOYAGE DES FILTRES
(Modèles MI)
Pour effectuer le nettoyage, procéder comme suit :
• fermer le robinet d’arrivée de l’eau;
• vidanger le circuit d’eau chaude sanitaire en ouvrant un robinet d’eau chaude;
• fermer le robinet de sortie de l’eau;
• enlever le clip 1E de la figure 16;
• enlever le filtre (2E fig 16);
• pour changer la sonde CTN de l’eau chaude sanitaire, consulter la figure 16D.
Il faudra démonter l’échangeur de l’eau chaude sanitaire en suivant les instructions du paragraphe suivant et le nettoyer
séparément. Il est également conseillé de détartrer le siège et la sonde CTN installée sur le circuit sanitaire (figure 16D).
Pour nettoyer l’échangeur et/ou le circuit sanitaire, il est conseillé d’utiliser du Cillit FFW-AL ou du Benckiser HF-AL.
32. DÉTARTRAGE DU CIRCUIT SANITAIRE
25
71.03982.03 - FR
INSTRUCTIONS DESTINÉES À L’INSTALLATEUR
L’échangeur eau-eau, du type à plaques en acier inox, peut être démonté à l’aide d’une clé six pans mâle. Agir de la façon
suivante :
• vider l’installation, si possible en se limitant à la chaudière, à l’aide du
robinet de vidange prévu à cet effet
;
• vider l’eau contenue dans le circuit sanitaire ;
• dévisser le tuyau de raccordement du vase d’expansion au groupe hydraulique ;
• enlever le pressostat de chauffage (16H), sans déconnecter le câblage ;
• enlever les deux vis (fig. 16B) de fixation de l’échangeur eau-eau, visibles sur le devant, puis extraire l’échangeur de
son siège en profitant de l’espace créé en enlevant le pressostat de chauffage ;
• nettoyer l’échangeur, puis le remettre en place ;
• revisser le tuyau de raccordement du vase d’expansion au groupe hydraulique ;
• remettre en place le pressostat hydraulique dans son siège.
33. DÉMONTAGE DE L’ÉCHANGEUR SANITAIRE
AVERTISSEMENT
Faire particulièrement attention lors de démontage des différentes parties du système hydraulique ; éviter l’emploi d’outils
pointus et ne pas appliquer une force excessive pour enlever les clips de fixation.
CG_2078 / 1009_2201
Figure 16
modèles : MI
26
71.03982.03 - FR
INSTRUCTIONS DESTINÉES À L’INSTALLATEUR
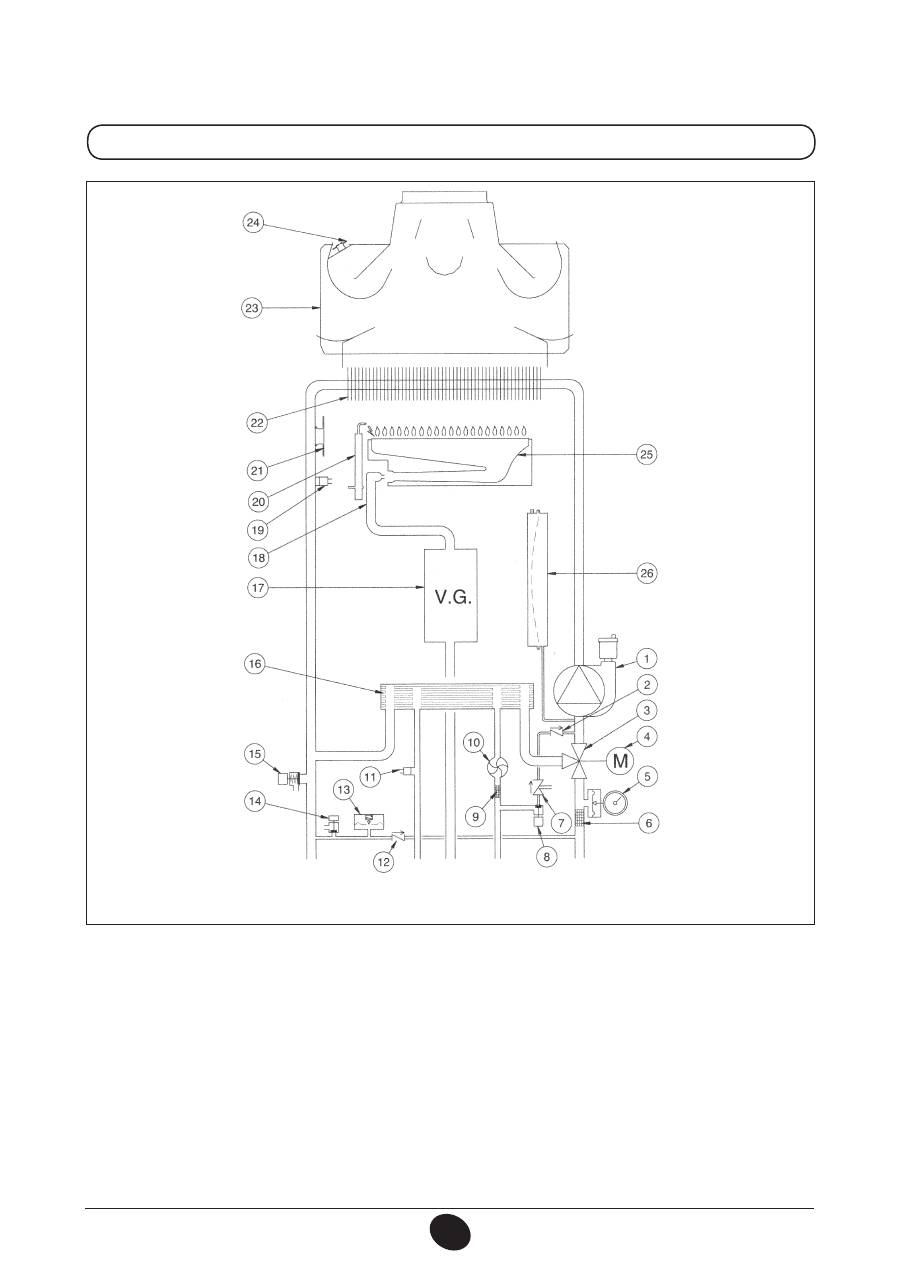
34. SCHÉMA DE LA CHAUDIÈRE
24 MI FF
Légende :
1
Pompe et séparateur d’air
2
Clapet antiretour
3
Vanne trois voies
4
Moteur vanne trois voies
5
Manomètre
6
Filtre extractible circuit de chauffage
7
Disconnecteur
8
Robinet de remplissage de la chaudière
9
Filtre extractible eau froide
10
Détecteur de débit sanitaire
11
Sonde CNT de l’eau chaude sanitaire
12
Clapet anti-retour sur by-pass automatique
13
Pressostat manque d’eau
14
Robinet de vidange chaudière
15
Soupape de sécurité
16
Échangeur de chaleur eau-eau à plaque
17
Vanne gaz avec diaphragme
18
Rampe gaz avec injecteurs
19
Sonde CNT du chauffage central.
20
Électrode pour l’allumage et la détection de flamme
21
Thermostat de sécurité
22
Échangeur eau-fumées
23
Convoyeur fumées
24
Ventilateur
25
Tube Venturi
26
Prise de pression positive
27
Prise de pression négative
28
Pressostat d’air
29
Brûleur
30
Vase d’expansion
Figure 17
CG_2269 / 1006_1805
Départ
chauffage
Sortie
eau
chaude
sanitaire
gaz
Entrée
eau
chaude
sanitaire
Retour
chauffage
27
71.03982.03 - FR
INSTRUCTIONS DESTINÉES À L’INSTALLATEUR
24 MI - 24 MI VMC
Légende:
1
Pompe et séparateur d’air
2
Clapet antiretour
3
Vanne trois voies
4
Moteur vanne trois voies
5
Manomètre
6
Filtre extractible circuit de chauffage
7
Disconnecteur
8
Robinet de remplissage de la chaudière
9
Filtre extractible eau froide
10
Détecteur de débit sanitaire
11
Sonde CNT de l’eau chaude sanitaire
12
Clapet anti-retour sur by-pass automatique
13
Pressostat manque d’eau
14
Robinet de vidange chaudière
15
Soupape de sécurité
16
Échangeur de chaleur eau-eau à plaque
17
Vanne gaz avec diaphragme
18
Rampe gaz avec injecteurs
19
Sonde CNT du chauffage central.
20
Électrode pour l’allumage et la détection de flamme
21
Thermostat de sécurité
22
Échangeur eau-fumées
23
Aspiration des fumées
24
Thermostat fumées
25
Brûleur
26
Vase d’expansion
Figure 18
CG_2270 / 1006_1806
Départ
chauffage
Sortie
eau
chaude
sanitaire
gaz
Entrée
eau
chaude
sanitaire
Retour
chauffage
28
71.03982.03 - FR
INSTRUCTIONS DESTINÉES À L’INSTALLATEUR
24 FF
Légende:
1
By-pass automatique
2
Pressostat manque d’eau
3
Vanne trois voies
4
Moteur vanne trois voies
5
Vanne gaz avec diaphragme
6
Rampe gaz avec injecteurs
7
Sonde CNT du chauffage central
8
Électrode pour l’allumage et la détection de flamme
9
Thermostat de sécurité
10
Échangeur eau-fumées
11
Convoyeur fumées
12
Ventilateur
13
Tube Venturi
14
Prise de pression positive
15
Prise de pression négative
16
Pressostat d’air
17
Brûleur
18
Vase d’expansion
19
Pompe et séparateur d’air
20
Clapet antiretour
21
Robinet de vidange chaudière
22
Manomètre
23
Soupape de sécurité
24
Disconnecteur
Figure 19
CG_2267 / 1006_2102
Départ
chauffage
Sortie eau
chaude
sanitaire
gaz Remplissage
Retour
chauffage
29
71.03982.03 - FR
INSTRUCTIONS DESTINÉES À L’INSTALLATEUR
24
Légende:
1
By-pass automatique
2
Pressostat manque d’eau
3
Vanne trois voies
4
Moteur vanne trois voies
5
Vanne gaz avec diaphragme
6
Rampe gaz avec injecteurs
7
Sonde CNT du chauffage central
8
Électrode pour l’allumage et la détection de flamme
9
Thermostat de sécurité
10
Échangeur eau-fumées
11
Aspiration des fumées
12
Thermostat fumées
13
Brûleur
14
Vase d’expansion
15
Pompe et séparateur d’air
16
Clapet antiretour
17
Robinet de vidange chaudière
18
Manomètre
19
Soupape de sécurité
20
Disconnecteur
Figure 20
CG_2268 / 1006_2103
Départ
chauffage
Sortie eau
chaude
sanitaire
gaz Remplissage
Retour
chauffage
30
71.03982.03 - FR
INSTRUCTIONS DESTINÉES À L’INSTALLATEUR
35. SCHÉMA DE CÂBLAGE ÉLECTRIQUE
24 MI FF
COULEURS CÂBLES
C = bleu ciel
M = marron
N = noir
R = rouge
G/V = jaune/vert
B = blanc
V = vert
0904_2904 / CG_2075
ELECTRODE DE
DETECTION/ALLUMAGE
THERMOSTAT
VANNE 3 VOIES
POMPE
VENTILATEUR
SONDE DE PRIORITÉ
SANITAIRE
SONDE CNT
SANITAIRE
SONDE
EXTERNE
PRESSOSTAT
HYDRAULIQUE
THERMOSTAT
DE SÉCURITÉ
PRESSOSTAT D’AIR
CAPTEUR CH CTN.
PROGRAMMATION
31
71.03982.03 - FR
INSTRUCTIONS DESTINÉES À L’INSTALLATEUR
24 MI - 24 MI VMC
CG_2076 / 1001_1807
THERMOSTAT
FUMÉES
COULEURS CÂBLES
C = bleu ciel
M = marron
N = noir
R = rouge
G/V = jaune/vert
B = blanc
V = vert
ELECTRODE DE
DETECTION/ALLUMAGE
THERMOSTAT
VANNE 3 VOIES
POMPE
SONDE DE PRIORITÉ
SANITAIRE
SONDE CNT
SANITAIRE
SONDE
EXTERNE
PRESSOSTAT
HYDRAULIQUE
THERMOSTAT
DE SÉCURITÉ
CAPTEUR CH CTN.
PROGRAMMATION
32
71.03982.03 - FR
INSTRUCTIONS DESTINÉES À L’INSTALLATEUR
24 FF
CG_2271 / 1006_1603
COULEURS CÂBLES
C = bleu ciel
M = marron
N = noir
R = rouge
G/V = jaune/vert
B = blanc
V = vert
ELECTRODE DE
DETECTION/ALLUMAGE
THERMOSTAT
VANNE 3 VOIES
POMPE
VENTILATEUR
SONDE
EXTERNE
PRESSOSTAT
HYDRAULIQUE
THERMOSTAT
DE SÉCURITÉ
PRESSOSTAT D’AIR
CAPTEUR CH CTN.
PROGRAMMATION
BORNIER M2
33
71.03982.03 - FR
INSTRUCTIONS DESTINÉES À L’INSTALLATEUR
24
COULEURS CÂBLES
C = bleu ciel
M = marron
N = noir
R = rouge
G/V = jaune/vert
B = blanc
V = vert
ELECTRODE DE
DETECTION/ALLUMAGE
THERMOSTAT
VANNE 3 VOIES
POMPE
SONDE
EXTERNE
PRESSOSTAT
HYDRAULIQUE
THERMOSTAT
DE SÉCURITÉ
THERMOSTAT
FUMÉES
CAPTEUR CH CTN.
PROGRAMMATION
BORNIER M2
CG_2272 / 1010_2101
34
71.03982.03 - FR
INSTRUCTIONS DESTINÉES À L’INSTALLATEUR
Dans le but d’améliorer constamment ses produits, DE DIETRICH se réserve le droit de modifier à tout moment et sans préavis les informations
contenues dans ce document. Ce document est publié uniquement à des fins d’information et ne doit pas être considéré comme un
engagement contractuel avec des tiers
36. DONNÉES TECHNIQUES
Modèle MS
24 MI FF
24 FF
24 MI
24 MI
VMC
24
Catégorie
II
2E+3P
II
2E+3P
II
2E+3P
I
2E+
II
2E+3P
Débit thermique nominal
kW
25,8
25,8
26,3
26,3
26,3
Débit thermique réduit
kW
10,6
10,6
10,6
10,6
10,6
Puissance thermique nominale
kW
24
24
24
24
24
kcal/h
20.600
20.600
20.600
20.600
20.600
Puissance thermique réduite
kW
9,3
9,3
9,3
9,3
9,3
kcal/h
8.000
8.000
8.000
8.000
8.000
Rendement, conformément à la directive 92/42/CEE
—
★★★
★★★
★★
★★
★★
Pression maximale du système de chauffage central
bar
3
3
3
3
3
Capacité du vase d'expansion
l
6
6
6
6
6
Pression du vase d'expansion
bar
1
1
1
1
1
Pression maximale système ECS.
bar
8
—
8
8
—
Pression dynamique minimum du système ECS
bar
0,15
—
0,15
0,15
—
Production minimale ECS
l/min
2,0
—
2,0
2,0
—
Production ECS à ∆T=25 °C
l/min
13,7
—
13,7
13,7
—
Production ECS à ∆T=35 °C
l/min
9,8
—
9,8
9,8
—
Production spécifique à ∆T=30 °C (*)
l/min
12
—
12
12
—
Plage de temπpérature du système de chauffage
°C
30/85
30/85
30/85
30/85
30/85
Plage de température du système ECS
°C
35/60
35/60***
35/60
35/60
35/60***
Type
—
C12-C32-C42-C52-C82-
B22
B
11BS
VMC
B
11BS
Diamètre du conduit de fumée concentriques
mm
60
60
-
-
-
Diamètre du conduit d'air concentrique
mm
100
100
-
-
-
Diamètre conduit de fumée séparé
mm
80
80
-
-
-
Diamètre conduit d’air séparé
mm
80
80
-
-
-
Diamètre du conduit de fumée
mm
-
-
125
125
125
Débit massique maxi des fumées
kg/s
0,014
0,014
0,020
0,020
0,020
Débit massique mini des fumées
kg/s
0,014
0,014
0,018
0,018
0,018
Température fumées maxi
°C
146
146
110
110
110
Température fumées mini
°C
116
116
85
85
85
Classe NOx
—
3
3
3
3
3
Type de gaz
—
G20-G25
G20-G25
G20-G25
G20-G25
G20-G25
—
G31
G31
G31
G31
Pression d’alimentation gaz méthane (G20)
mbar
20
20
20
20
20
Pression d’alimentation gaz (G25)
mbar
25
25
25
25
25
Pression d’alimentation gaz propane 3P (G31)
mbar
37
37
37
-
37
Tension d'alimentation électrique
V
230
230
230
230
230
Fréquence d’alimentation électrique
Hz
50
50
50
50
50
Puissance électrique nominale
W
130
130
80
80
80
Poids Net
kg
33
32
29
29
28
Dimensions
hauteur
mm
730
730
730
730
730
largeur
mm
400
400
400
400
400
profondeur
mm
299
299
299
299
299
Protection contre l’humidité et la pénétration de l’eau (**)
IP X5D
IP X5D
IP X5D
IP X5D
IP X5D
(*) selon EN 625 - (**) selon EN 60529 - (***) avec ballon exterieure
35
71.03982.03 - IT
ISTRUZIONI DESTINATE ALL’UTENTE
Gentile Cliente,
la nostra Azienda ritiene che la Sua nuova caldaia soddisferà tutte le Sue esigenze.
L’acquisto di un prodotto
De Dietrich
garantisce quanto Lei si aspetta: un buon funzionamento ed
un uso semplice e razionale.
Quello che Le chiediamo è di non mettere da parte queste istruzioni senza averle prima lette: esse
contengono informazioni utili per una corretta ed efficiente gestione della Sua caldaia.
Le parti dell’imballo (sacchetti in plastica, polistirolo ecc.) non devono essere lasciate alla portata dei bambini
in quanto potenziali fonti di pericolo.
1.
Avvertenze prima dell’installazione
36
2.
Avvertenze prima della messa in funzione
36
3.
Messa in funzione della caldaia
37
4.
Regolazione della temperatura ambiente e dell’acqua sanitaria
38
5.
Descrizione tasto
(Estate - Inverno - Solo riscaldamento - Spento)
38
6.
Riempimento impianto
39
7.
Spegnimento della caldaia
39
8.
Cambio gas
39
9.
Arresto prolungato dell’impianto. Protezione al gelo (circuito di riscaldamento)
40
10.
Segnalazioni-Intervento dispositivi di sicurezza
40
11.
Istruzioni per l’ordinaria manutenzione
40
12.
Avvertenze generali
41
13.
Avvertenze prima dell’installazione
41
14.
Installazione della caldaia
42
15.
Dimensioni caldaia
43
16.
Installazione dei condotti di scarico-aspirazione
44
17.
Allacciamento elettrico
48
18.
Collegamento del termostato ambiente
48
19.
Modalità di cambio gas
49
20.
Visualizzazione parametri della scheda elettronica sul display di caldaia (funzione “info”)
51
21.
Impostazione parametri
52
22.
Dispositivi di regolazione e sicurezza
52
23.
Posizionamento elettrodo di accensione e rivelazione di fiamma
53
24.
Verifica dei parametri di combustione
54
25.
Caratteristiche portata / prevalenza alla placca
54
26.
Collegamento della sonda esterna
55
27.
Collegamento di un’unità bollitore esterna
55
28.
Manutenzione annuale
56
29.
Svuotamento circuito caldaia
56
30.
Pulizia dei filtri
57
31.
Pulizia dal calcare del circuito sanitario
57
32.
Smontaggio dello scambiatore acqua-acqua
58
33.
Schema funzionale circuiti
59-62
34.
Schema collegamento connettori
63-66
35.
Caratteristiche tecniche
67
INDICE
ISTRUZIONI DESTINATE ALL’UTENTE
ISTRUZIONI DESTINATE ALL’INSTALLATORE
De Dietrich
dichiara che questi modelli di caldaie sono dotati di marcatura CE con-
formemente ai requisiti essenziali delle seguenti Direttive:
- Direttiva gas 2009/142/CE
- Direttiva Rendimenti 92/42/CEE
- Direttiva Compatibilità Elettromagnetica 2004/108/CE
- Direttiva bassa tensione 2006/95/CE
36
71.03982.03 - IT
ISTRUZIONI DESTINATE ALL’UTENTE
Questa caldaia serve a riscaldare l’acqua ad una temperatura inferiore a quella di ebollizione a pressione atmosferica.
Essa deve essere allacciata ad un impianto di riscaldamento e ad una rete di distribuzione di acqua calda sanitaria, com-
patibilmente alle sue prestazioni ed alla sua potenza.
Prima di far allacciare la caldaia da personale professionalmente qualificato, secondo il DM 22 gennaio 2008, n.37, far
effettuare:
a) Una verifica che la caldaia sia predisposta per il funzionamento con il tipo di gas disponibile. Questo è rilevabile dalla
scritta sull’imballo e dalla targa presente sull’apparecchio.
b) Un controllo che il camino abbia un tiraggio adeguato, non presenti strozzature e non siano inseriti nella canna fumaria
scarichi di altri apparecchi, salvo che questa non sia realizzata per servire più utenze secondo le specifiche Norme e
prescrizioni vigenti.
c) Un controllo che, nel caso di raccordi su canne fumarie preesistenti, queste siano state perfettamente pulite poiché le
scorie, staccandosi dalle pareti durante il funzionamento, potrebbero occludere il passaggio dei fumi.
d) Risulta inoltre indispensabile, al fine di preservare il corretto funzionamento e la garanzia dell’apparecchio, seguire le
seguenti precauzioni:
1. Circuito sanitario:
1.1.
Se la durezza dell’acqua supera il valore di 20 °F (1 °F = 10 mg di carbonato di calcio per litro d’acqua) si prescrive
l’installazione di un dosatore di polifosfati o di un sistema di pari effetto rispondente alle normative vigenti.
1.2.
E’ necessario effettuare un lavaggio accurato dell’impianto dopo l’installazione dell’apparecchio e prima del suo
utilizzo.
1.3.
I materiali utilizzati per il circuito acqua sanitaria del prodotto sono conformi alla Direttiva 98/83/CE.
2. Circuito di riscaldamento
2.1. impianto nuovo
Prima di procedere all’installazione della caldaia l’impianto deve essere opportunamente pulito allo scopo di
eliminare residui di filettature, saldature ed eventuali solventi utilizzando prodotti idonei disponibili nel mercato
non acidi e non alcalini, che non attacchino i metalli, le parti in plastica e gomma. I prodotti raccomandati per la
pulizia sono:
SENTINEL X300 o X400 e FERNOX Rigeneratore per impianti di riscaldamento. Per l’utilizzo di questi prodotti
seguire attentamente le istruzioni fornite con i prodotti stessi.
2.2. impianto esistente:
Prima di procedere all’installazione della caldaia l’impianto deve essere completamente svuotato ed opportunamente
pulito da fanghi e contaminanti utilizzando prodotti idonei disponibili nel mercato citati al punto 2.1.
Per la protezione dell’impianto dall’incrostazioni è necessario l’utilizzo di prodotti inibitori quali SENTINEL X100 e
FERNOX Protettivo per impianti di riscaldamento. Per l’utilizzo di questi prodotti seguire attentamente le istruzioni
fornite con i prodotti stessi.
Ricordiamo che la presenza di depositi nell’impianto di riscaldamento comporta dei problemi funzionali alla caldaia
(es. surriscaldamento e rumorosità dello scambiatore).
La mancata osservazione di queste avvertenze comporta il decadimento della garanzia dell’apparecchio
.
1. AVVERTENZE PRIMA DELL’INSTALLAZIONE
La prima accensione deve essere effettuata dal Servizio di Assistenza Tecnica autorizzato che dovrà verificare:
a) Che i dati di targa siano rispondenti a quelli delle reti di alimentazione (elettrica, idrica, gas).
b) Che l’installazione sia conforme alle normative vigenti (UNI-CIG 7129, 7131, Regolamento di Attuazione della Legge 9
gennaio 1991 n° 10 ed in specie i Regolamenti Comunali) di cui riportiamo uno stralcio nel manuale tecnico destinato
all’installatore.
c) Che sia stato effettuato regolarmente il collegamento elettrico alla rete più terra.
Il mancato rispetto di quanto sopra comporta il decadimento della garanzia.
Prima della messa in funzione togliere il film protettivo della caldaia. Non utilizzare per lo scopo utensili o materiali abrasivi
perché potrebbero danneggiare le parti verniciate.
L’apparecchio non è destinato a essere usato da persone (bambini compresi) le cui capacità fisiche, sensoriali
o mentali siano ridotte, oppure con mancanza di esperienza o di conoscenza, a meno che esse abbiano potuto
beneficiare, attraverso l’intermediazione di una persona responsabile della loro sicurezza, di una sorveglianza o
di istruzioni riguardanti l’uso dell’apparecchio.
2. AVVERTENZE PRIMA DELLA MESSA IN FUNZIONE
37
71.03982.03 - IT
ISTRUZIONI DESTINATE ALL’UTENTE
Procedere come di seguito descritto per le corrette operazioni di accensione:
1) alimentare la caldaia elettricamente;
2) aprire il rubinetto del gas;
3) agire sul tasto (
)
e predisporre la caldaia in Estate ( ), Inverno (
) o solo riscaldamento (
);
4) agire sui tasti (
+/-
) per regolare la temperatura del circuito di riscaldamento (
) e dell’acqua calda sanitaria ( ) in
modo da accendere il bruciatore principale.
Quando la caldaia è accesa, sul display è visualizzato il simbolo ( ).
In posizione Estate ( ) il bruciatore principale risulterà acceso solo in caso di prelievo di acqua calda sanitaria.
AVVERTENZA
In fase di prima accensione, finché non viene scaricata l’aria contenuta nella tubazione del gas, si può verificare la non
accensione del bruciatore ed il conseguente blocco della caldaia. Si consiglia in questo caso di ripetere le operazioni di
accensione, fino all’arrivo del gas al bruciatore, premere il tasto ( ), per almeno 2 secondi.
3. MESSA IN FUNZIONE DELLA CALDAIA
Funzionamento in riscaldamento
Presenza fiamma (bruciatore acceso)
Perdita fiamma (mancata accensione)
Funzionamento in sanitario
Anomalia generica
Mancanza acqua (Pressione impianto bassa)
Segnalazione numerica (Temperatura, cod. anomalia, etc.)
RESET
LEGENDA TASTI
Figura 1
LEGENDA SIMBOLI
Accensione / Spegnimento / Estate / Inverno / solo riscaldamento
(
+/-
) : Regolazione temperatura di riscaldamento
(
+/-
) : Regolazione temperatura acqua sanitaria
Reset
Informazioni
0805_2302 / C
G_2072
Оглавление
- SOMMAIRE
- 5. DESCRIPTION DES TOUCHES (ÉTÉ – HIVER – CHAUFFAGE SEULEMENT – ARRÊT)
- •
- 28. RACCORDEMENT D’UN BALLON SEPARE AVEC UN MOTEUR VANNE 3 VOIES
- 5. DESCRIZIONE TASTO (Estate - Inverno - Solo riscaldamento - Spento)
- •
- 5. DESCRIPTION OF BUTTON (Summer - Winter - Heating only - Off)
- •
- 5. DESCRIPCIÓN DE LA TECLA (Verano - Invierno - Sólo calefacción - Apagado)
- •
- 5. ОПИСАНИЕ НА БУТОН (Лято – Зима – Само отопление – Изключен)
- 8. СМЯНА НА ВИДА ГАЗ
- 13. УКАЗАНИЯ ПРЕДИ МОНТАЖА
- 15. РАЗМЕРИ НА КОТЕЛА
- •
- 28. ГОДИШЕН ПРЕГЛЕД
- SPIS TREŚCI
- 1. OSTRZEŻENIA PRZED ZAINSTALOWANIEM
- 3. ROZRUCH KOTŁA
- 4. REGULACJA TEMPERATURY POKOJOWEJ I CIEPŁEJ WODY UŻYTKOWEJ
- 7. WYŁĄCZENIE KOTŁA 8. ZMIANA GAZU
- 9. WYDŁUŻONY OKRES WYŁĄCZENIA INSTALACJI. OCHRONA PRZED ZAMARZANIEM
- 12. UWAGI OGÓLNE 13. WYMAGANIA INSTALACYJNE
- 14. UWAGI INSTALACYJNE
- 15. WYMIARY KOTŁA
- 16. INSTALOWANIE PRZEWODÓW POWIETRZNO-SPALINOWYCH
- 17. PODŁĄCZENIE ELEKTRYCZNE 18. PODŁĄCZENIE TERMOSTATU POKOJOWEGO
- 19. SPOSÓB ZMIANY RODZAJU GAZU
- •
- 21. USTAWIENIE PARAMETRÓW
- 23. USTAWIENIE ELEKTRODY ZAPŁONOWEJ I JONIZACYJNEJ PŁOMIEŃ
- 24. KONTROLA PARAMETRÓW SPALANIA 25. CHARAKTERYSTYKA NATĘŻENIA PRZEPŁYWU/WYSOKOŚCI PODNOSZENIA
- 26. PODŁĄCZENIE CZUJNIKA ZEWNĘTRZNEGO
- 28. KONSERWACJA ROCZNA
- 30. CZYSZCZENIE FILTRÓW
- 32. DEMONTAŻ WYMIENNIKA WODA-WODA
- 33. SCHEMAT FUNKCJONALNY OBWODÓW
- 34. SCHEMAT POŁACZEŃ ELEKTRYCZNYCH
- 35. CHARAKTERYSTYKA TECHNICZNA
- CUPRINS
- 1. AVERTISMENTE ANTERIOARE INSTALĂRII
- 3. PUNEREA ÎN FUNCŢIUNE A CENTRALEI TERMICE
- 4. REGLAREA TEMPERATURII AMBIANTE ŞI A TEMPERATURII APEI MENAJERE
- 7. OPRIREA CENTRALEI TERMICE 8. SCHIMBAREA TIPULUI DE GAZ
- 10. INTRAREA ÎN FUNCŢIUNE A DISPOZITIVELOR DE SIGURANŢA
- 12. AVERTISMENTE GENERALE 13. AVERTISMENTE ANTERIOARE INSTALĂRII
- 13. INSTALLAZIONE DELLA CALDAIA 14. INSTALAREA CENTRALEI TERMICE
- 14. DIMENSIONI CALDAIA 15. DIMENSIUNILE CENTRALEI TERMICE
- 16. INSTALAREA CONDUCTELOR DE EVACUARE GAZE ARSE ŞI ADMISIE AER
- 17. CONECTAREA LA REŢEAUA ELECTRICĂ 18. CONECTAREA TERMOSTATULUI AMBIENTAL
- 19. MODALITĂŢI DE SCHIMBARE A TIPULUI DE GAZ
- 20. VIZUALIZAREA PARAMETRILOR PE AFIŞAJ (FUNCŢIE “INFO”)
- 21. SETAREA PARAMETRILOR
- 23. POZIŢIONAREA ELECTRODULUI DE APRINDERE ŞI DETECTARE A FLĂCĂRII
- 24. VERIFICAREA PARAMETRILOR DE COMBUSTIE 25. PERFORMANŢE DEBIT/ÎNĂLŢIME DE POMPARE
- 26. CONECTAREA SONDEI EXTERNE
- 28. ÎNTREŢINEREA ANUALĂ
- 30. CURĂŢAREA FILTRELOR
- 32. DEMONTAREA SCHIMBĂTORULUI APĂ-APĂ
- 33. DIAGRAMĂ FUNCŢIONALĂ CIRCUITE
- 34. DIAGRAMĂ CUPLARE CONECTORI
- 35. CARACTERISTICI TEHNICE
- ΠΕΡΙΕΧΟΜΕΝΑ
- 1. ΟΔΗΓΙΕΣ ΠΡΙΝ ΤΗΝ ΕΓΚΑΤΑΣΤΑΣΗ
- 3. ΘΕΣΗ ΣΕ ΛΕΙΤΟΥΡΓΙΑ ΤΟΥ ΛΕΒΗΤΑ
- 4. ΡΥΘΜΙΣΗ ΤΗΣ ΘΕΡΜΟΚΡΑΣΙΑΣ ΠΕΡΙΒΑΛΛΟΝΤΟΣ ΚΑΙ ΤΟΥ ΝΕΡΟΥ ΟΙΚΙΑΚΗΣ ΧΡΗΣΗΣ
- 7. ΣΒΗΣΙΜΟ ΤΟΥ ΛΕΒΗΤΑ 8. ΑΛΛΑΓΗ ΑΕΡΙΟΥ
- 10. ΕΝΔΕΙΞΕΙΣ-ΕΠΕΜΒΑΣΗ ΣΥΣΤΗΜΑΤΩΝ ΑΣΦΑΛΕΙΑΣ
- 12. ΓΕΝΙΚΕΣ ΠΛΗΡΟΦΟΡΙΕΣ 13. ΟΔΗΓΙΕΣ ΠΡΙΝ ΤΗΝ ΕΓΚΑΤΑΣΤΑΣΗ
- 13. INSTALLAZIONE DELLA CALDAIA 14. ΕΓΚΑΤΑΣΤΑΣΗ ΤΟΥ ΛΕΒΗΤΑ
- 14. DIMENSIONI CALDAIA 15. ΔΙΑΣΤΑΣΕΙΣ ΛΕΒΗΤΑ
- 16. ΕΓΚΑΤΑΣΤΑΣΗ ΑΓΩΓΩΝ ΑΠΑΓΩΓΗΣ - ΑΝΑΡΡΟΦΗΣΗΣ
- 17. ΗΛΕΚΤΡΙΚΗ ΣΥΝΔΕΣΗ 18. ΣΥΝΔΕΣΗ ΤΟΥ ΘΕΡΜΟΣΤΑΤΗ ΔΩΜΑΤΙΟΥ
- 19. ΤΡΟΠΟΣ ΑΛΛΑΓΗΣ ΑΕΡΙΟΥ
- 20. ΑΠΕΙΚΟΝΙΣΗ ΠΑΡΑΜΕΤΡΩΝ ΣΤΗΝ ΟΘΟΝΗ (ΛΕΙΤΟΥΡΓΙΑ «INFO»)
- 21. ΡΥΘΜΙΣΗ ΠΑΡΑΜΕΤΡΩΝ
- 23. ΤΟΠΟΘΕΤΗΣΗ ΗΛΕΚΤΡΟΔΙΟΥ ΑΝΑΦΛΕΞΗΣ ΚΑΙ ΑΝΙΧΝΕΥΣΗΣ ΦΛΟΓΑΣ
- 24. ΕΛΕΓΧΟΣ ΠΑΡΑΜΕΤΡΩΝ ΚΑΥΣΗΣ 25. ΧΑΡΑΚΤΗΡΙΣΤΙΚΑ ΠΑΡΟΧΗΣ / ΜΑΝΟΜΕΤΡΙΚΟΥ ΥΨΟΥΣ ΣΤΗΝ ΠΛΑΚΑ
- 26. ΣΥΝΔΕΣΗ ΤΟΥ ΕΞΩΤΕΡΙΚΟΥ ΑΙΣΘΗΤΗΡΑ
- 28. ΕΤΗΣΙΑ ΣΥΝΤΗΡΗΣΗ
- 30. ΚΑΘΑΡΙΣΜΟΣ ΤΩΝ ΦΙΛΤΡΩΝ
- 32. ΑΠΟΣΥΝΑΡΜΟΛΟΓΗΣΗ ΕΝΑΛΛΑΚΤΗ ΝΕΡΟΥ-ΝΕΡΟΥ
- 33. ΛΕΙΤΟΥΡΓΙΚΟ ΣΧΕΔΙΟ ΚΥΚΛΩΜΑΤΩΝ
- 34. ΣΧΕΔΙΟ ΣΥΝΔΕΣΗΣ ΣΥΝΔΕΣΜΩΝ
- 35. ТЕХНИЧЕСКИ ХАРАКТЕРИСТИКИ
- 5. ОПИСАНИЕ КНОПКИ (Лето – Зима – Только Отопление – Выключено)
- •
- 5. 锅炉运行模式选择
- 错误信息及故障表

