De Dietrich MS 24 FF: •
•: De Dietrich MS 24 FF
117
71.03982.03 - ES
INSTRUCCIONES PARA EL INSTALADOR
20. VISUALIZACIÓN DE LOS PARÁMETROS EN LA PANTALLA (FUNCIÓN “INFO”)
Pulsar la tecla “
i
” durante 5 segundos como mínimo para visualizar alguna información sobre el funcionamiento de la
caldera en la pantalla situada en el panel frontal de la caldera.
•
Actuar sobre las teclas (
+/-
) para visualizar la siguiente información:
A00:
valor (°C) actual de la temperatura del agua caliente sanitaria (A.C.S.);
A01:
valor (°C) actual de la temperatura exterior (con sonda exterior conectada);
A02:
valor (%) de corriente en el modulador (100% = 310 mA METANO - 100% = 310 mA GPL);
A03:
valor (%) del rango de potencia (MÁX. R);
A04:
valor (°C) de temperatura de setpoint de la calefacción - - En caso de que la sonda exterior esté conectada, se
visualiza el valor de la curva “
kt
” (apartado 26);
A05:
valor (°C) actual de la temperatura de impulsión de la calefacción;
A06:
valor (°C) de temperatura del setpoint sanitario;
A07:
— — ;
A08:
valor (l/min x10) del caudal de agua sanitaria;
A09:
último error ocurrido en la caldera.
•
Esta función permanece activada durante 3 minutos. Es posible interrumpir con anticipación la función “INFO”
pulsando la tecla (
i
) durante por lo menos 5 segundos o cortando la tensión de la caldera.
NOTA:
cuando la función “INFO” está activada, en la pantalla (figura 12) aparece la indicación “A00” alternada
con la temperatura de impulsión de la caldera
0605_2204 / CG_1808
Figura 12
118
71.03982.03 - ES
INSTRUCCIONES PARA EL INSTALADOR
Descripción de los parámetros
Ajustes de fábrica
24 MI FF
24 FF
24 MI
24
F01
Tipo de caldera
10
= cámara estanca
20
= cámara abierta
10
10
20
20
F02
Tipo de gas utilizado
00
= METANO
01
= GPL
02
= METANO (CON DIAFRAGMA GAS)
02
F03
Sistema hidráulico
00
= aparato instantáneo
03
= aparato con calentador exterior
04
= aparato sólo calefacción
13
= precalentamiento (24h)
14
= precalentamiento (1h)
13
04
13
04
F04/ F05
Configuración relé programable 1 y 2 (véanse las instrucciones SERVICE)
00
= ninguna función asociada
00
F06
Configuración setpoint máximo (°C) calefacción
00
= 85°C -
01
= 45°C (está función no se puede utilizar)
00
F07
Configuración entrada prioridad sanitaria
00
01
00
01
F08
Potencia máx. de calefacción
(0-100%)
100
F09
Potencia máx. en sanitario
(0-100%)
100
F10
Potencia mín. de calefacción
(0-100%)
00
F11
Tiempo de espera en calefacción antes de un nuevo encendido
(00-10 minutos) - 00=10 segundos
03
F12
Diagnóstico (véanse las instrucciones SERVICE)
--
F13-F14-F15
Ajuste de fábrica
00
F16
Función Antilegionella
(con F03=03)
00
= función desactivada
55...67
= función activada (setpoint °C)
00
F17
Selección tipo presóstato calefacción
00
= presóstato hidráulico
01
= presóstato diferencial hidráulico
00
F18
Información productor
00
21. CONFIGURACIÓN DE LOS PARÁMETROS
Para configurar los parámetros de la caldera, pulsar a la vez la tecla (
–
) y la tecla (
–
) durante al menos 6 segun-
dos. Cuando la función está activada, en la pantalla se visualiza la indicación “
F01
” alternada con el valor del parámetro
visualizado.
Modificación de los parámetros
• Para desplazarse por los parámetros, pulsar las teclas (
+/–
);
• Para modificar un parámetro, pulsar las teclas (
+/–
);
• Para memorizar el valor, pulsar la tecla
(
)
; en la pantalla se visualiza la indicación “
MEM
”;
• Para salir de la función sin memorizar, pulsar la tecla
(
i
)
;
en la pantalla se visualiza la indicación “
ESC
”.
22. DISPOSITIVOS DE REGULACIÓN Y SEGURIDAD
La caldera está construida para satisfacer todas las prescripciones de las Normativas europeas de referencia; en parti-
cular, está provista de:
• Presóstato aire (modelo 24 MI FF - 24 FF)
Este dispositivo impide que se encienda el quemador si el circuito de evacuación de humos no es perfectamente eficaz.
En presencia de una de estas anomalías:
• terminal de descarga obstruido
• Venturi obstruido
• ventilador bloqueado
• conexión Venturi - presóstato interrumpido
La caldera permanecerá en espera activando el código de error E03 (véase la tabla del apartado 10).
• Termostato de humos (modelo 24 MI - 24)
Este dispositivo, cuyo sensor está situado en la parte izquierda de la campana de salida de humos, interrumpe el
flujo de gas al quemador principal en caso de chimenea obstruida y/o falta de tiro. En estas condiciones la caldera
se bloquea y en pantalla aparece el código de error E03 (apartado 10). Una vez eliminada la causa de la activación,
es posible efectuar de inmediato un nuevo encendido pulsando la tecla ( ), durante 2 segundos como mínimo.
Se prohíbe desactivar este dispositivo de seguridad
119
71.03982.03 - ES
INSTRUCCIONES PARA EL INSTALADOR
• Termostato de seguridad
Este dispositivo, cuyo sensor está situado en la impulsión de la calefacción, interrumpe el flujo del gas al quemador
en caso de sobrecalentamiento del agua contenida en el circuito primario. En estas condiciones la caldera se bloquea
y sólo después de haber eliminado la causa de la activación será posible repetir el encendido pulsando la tecla ( ),
durante 2 segundos como mínimo.
Se prohíbe desactivar este dispositivo de seguridad
• Detector de llama por ionización
El electrodo de detección, situado a la derecha del quemador, garantiza la seguridad en caso de falta de gas o encen-
dido incompleto del quemador. En estas condiciones la caldera se bloquea después del tercer intento.
Para restablecer las condiciones normales de funcionamiento es necesario pulsar la tecla ( ), durante 2 segundos
como mínimo.
• Presóstato hidráulico
Este dispositivo impide que se encienda el quemador principal si la presión de la instalación no es superior a 0,5 bares.
• Postcirculación de la bomba del circuito de calefacción
La postcirculación de la bomba, obtenida electrónicamente, dura 180 segundos y se activa, en la función calefacción,
después del apagado del quemador por el accionamiento del termostato ambiente.
• Postcirculación de la bomba para circuito sanitario
La postcirculación de la bomba, obtenida electrónicamente, dura 30 segundos y se activa, en sanitario, después del
apagado del quemador por el accionamiento de la sonda.
• Dispositivo antihielo (circuito de calefacción y sanitario)
La gestión electrónica de la caldera está provista de una función “antihielo” en calefacción que con una temperatura
de impulsión de la instalación inferior a 5 °C hace funcionar el quemador hasta alcanzar el valor de 30 °C en impulsión.
Esta función actúa si la caldera está conectada a la corriente eléctrica, hay paso de gas y la instalación está a la presión
indicada.
• No circula el agua en el circuito primario (probable bloqueo de la bomba)
En caso de falta total o parcial de agua en el circuito primario, la caldera se bloquea y señala el código de error E25
(apartado 10).
• Antibloqueo de la bomba
Si, durante el funcionamiento en calefacción, no hay demanda de calor durante 24 horas consecutivas, la bomba se
pone en marcha automáticamente durante 10 segundos. Esta función es operativa si la caldera está alimentada eléc-
tricamente.
• Antibloqueo de la válvula de tres vías
En caso de falta de demanda de calor en calefacción por un periodo de 24 horas, la válvula de tres vías realiza una
conmutación completa. Esta función es operativa si la caldera está alimentada eléctricamente.
• Válvula de seguridad hidráulica (circuito de calefacción)
Este dispositivo, calibrado en 3 bares, está al servicio del circuito de calefacción
.
Se aconseja conectar la válvula de seguridad a un desagüe con sifón. Está prohibido utilizarla como medio para vaciar
el circuito de calefacción.
NOTA:
en caso de avería en la sonda NTC del circuito sanitario, la producción de agua caliente sanitaria está asegurada.
En este caso el control de la temperatura se efectúa mediante la sonda de impulsión.
23. POSICIONAMIENTO DEL ELECTRODO DE ENCENDIDO Y DETECCIÓN DE LLAMA
Figura 13
9912070100
120
71.03982.03 - ES
INSTRUCCIONES PARA EL INSTALADOR
Para la medición en obra del rendimiento de combustión y de la higienicidad de los productos de la combustión, la caldera
está provista de dos tomas destinadas a este uso específico.
Una toma está conectada al circuito de descarga de los humos y permite medir la higienicidad de los productos de la
combustión y el rendimiento de la combustión.
La otra está conectada al circuito de aspiración del aire comburente, en la cual se puede controlar la eventual recirculación
de los productos de la combustión, en caso de conductos coaxiales.
En la toma conectada al circuito de los humos se pueden medir los siguientes parámetros:
• temperatura de los productos de la combustión;
• concentración de oxígeno (O
2
) o, como alternativa, de dióxido de carbono (CO
2
);
• concentración de monóxido de carbono (CO).
La temperatura del aire comburente se debe medir en la toma conectada al circuito de aspiración del aire, introduciendo
la sonda de medida unos 3 cm.
NOTA:
para la regulación de la potencia nominal véase el capítulo 19 (B1)
Para los modelos de calderas de tiro natural es necesario hacer un agujero en el conducto de descarga de los humos a
una distancia de la caldera que corresponda a 2 veces el diámetro interior del conducto.
Este agujero permite medir los siguientes parámetros:
• temperatura de los productos de la combustión;
• concentración de oxígeno (O
2
) o, como alternativa, de dióxido de carbono (CO
2
);
• concentración de monóxido de carbono (CO).
La medición de la temperatura del aire comburente se debe efectuar en las cercanías de la entrada del aire en la caldera.
El agujero, que debe ser realizado por el responsable de la instalación en ocasión de la primera puesta en funcionamiento,
debe estar cerrado para asegurar la hermeticidad del conducto de evacuación a los productos de la combustión durante
el funcionamiento normal.
24. CONTROL DE LOS PARÁMETROS DE COMBUSTIÓN 25. CURVAS DE CAUDAL / ALTURA MANOMÉTRICA EN LA PLACA
La bomba utilizada (GRUNDFOS
UPSO 15-50) es del tipo de gran
altura manométrica, adecuada para
el uso en cualquier tipo de instalación
de calefacción mono o de dos tubos.
La válvula automática de purga aire
incorporada en la caja de la bomba
permite una rápida desaireación de
la instalación de calefacción.
Gráfico 1
CAUDAL l/h
AL
TURA MANOMÉTRICA mH
2
O
1009_2401
1009_2402
AL
TURA MANOMÉTRICA mH
2
O
CAUDAL l/h
121
71.03982.03 - ES
INSTRUCCIONES PARA EL INSTALADOR
26. CONEXIÓN DE LA SONDA EXTERIOR
En el conjunto de cables que salen del panel de control hay dos cables ROJOS dotados de cubrefaston en sus extremos.
Conectar la sonda exterior a los extremos de estos dos cables.
Con la sonda exterior conectada es posible cambiar la curva “
kt
” (Gráfico 2) actuando sobre las teclas
+/-
.
NOTA: en caso de instalación en una unidad habitacional media (buen aislamiento perimétrico e instalación con radiadores,
se aconseja elegir el valor “25” para la curva climática “
kt
”.
27. CONEXIÓN DE UN CALENTADOR EXTERIOR
Modelo 24 - 24FF
La sonda NTC de prioridad sanitario se suministra como accesorio.
CONEXIÓN SONDA CALENTADOR
La caldera está habilitada para la conexión de un calentador exterior. Conectar hidráulicamente el calentador según se
indica en la fig. 14. Conectar la sonda NTC de prioridad sanitario a los bornes 5-6 del tablero de bornes M2. El elemento
sensible de la sonda NTC se debe introducir en el especial alojamiento presente en el calentador. La regulación de la
temperatura del agua sanitaria (35 °C...60 °C) se efectúa actuando sobre las teclas
+/–
.
Figura 14
LEYENDA
:
UB
CALENTADOR
UR
SISTEMA DE CALEFACCIÓN
V3V
VÁLVULA DE TRES VÍAS
EXTERIOR
M2
TABLERO DE BORNES DE
CONEXIÓN
SB
SONDA CALENTADOR DE
PRIORIDAD SANITARIO
MR
IMPULSIÓN CALEFACCIÓN
MB
IMPULSIÓN CALENTADOR
RR
RETORNO CALEFACCIÓN/
CALENTADOR
ATENCIÓN :
asegúrese de que el parámetro
F03 = 03
(apartado 21).
TM
= Rango temperatura de impulsión
Te
= temperatura exterior
Gráfico 2
TM
Te
Curvas “kt”
1012_0501
CG_2085 / 1101_1701
122
71.03982.03 - ES
INSTRUCCIONES PARA EL INSTALADOR
Para garantizar la perfecta eficacia de la caldera es necesario realizar anualmente los siguientes controles:
• control del aspecto y de la hermeticidad de las juntas del circuito del gas y del circuito de combustión;
• control del estado y de la correcta posición de los electrodos de encendido y detección de llama;
• control del estado del quemador y su fijación;
• control de las eventuales impurezas presentes en la cámara de combustión.
Utilizar una aspiradora para la limpieza;
• control del correcto calibrado de la válvula del gas;
• control de la presión de la instalación de calefacción;
• control de la presión del depósito de expansión;
• control del correcto funcionamiento del ventilador;
• control de los conductos de descarga y aspiración para asegurarse de que no estén atascados.
ADVERTENCIAS
Antes de efectuar cualquier intervención, asegurarse de que la caldera no esté alimentada eléctricamente.
Al finalizar las operaciones de mantenimiento, situar los mandos y/o los parámetros de funcionamiento de la
caldera en las posiciones originales.
28. MANTENIMIENTO ANUAL
El vaciado de la caldera se puede efectuar mediante el grifo situado en la caldera.
En las calderas MS 24 MI y MS 24 MI FF el grifo portagoma está situado en el fondo, mientras que para las calderas MS
24 y MS 24
FF está cerca de la bomba (1 – fig. 15).
Para vaciar la caldera con el grifo portagoma situado en el fondo de la caldera actuar según se describe a continuación
(fig. 15):
- cerrar las llaves de paso de la caldera;
- abrir el grifo portagoma utilizando una llave hexagonal de 8 mm;
- vaciar la caldera;
- cerrar el grifo portagoma utilizando la llave hexagonal de 8 mm.
29. VACIADO DEL CIRCUITO CALDERA
CG_2284 / 1009_2405
Figura 15
123
71.03982.03 - ES
INSTRUCCIONES PARA EL INSTALADOR
Los filtros del agua sanitaria y del circuito de calefacción están alojados en cartuchos extraíbles específicos. El cartucho
del circuito de calefacción está situado en el retorno de la calefacción (figura 16F) y el cartucho del circuito sanitario está
situado en la entrada del agua fría (figura 16E). Para limpiar los filtros actuar según se indica a continuación:
• cortar la alimentación eléctrica de la caldera;
• cerrar el grifo del agua de entrada sanitario;
• vaciar el agua contenida en el circuito de calefacción abriendo el grifo A de la figura 16.
• quitar la grapa (1-E/F) del filtro según se indica en la figura y sacar el cartucho (2-E/F) que contiene el filtro, teniendo
cuidado de no ejercer una fuerza excesiva;
• antes de sacar el cartucho del filtro de calefacción es necesario desmontar el motor de la válvula de 3 vías (1-2G - figura
16);
• eliminar las eventuales impurezas y los depósitos del filtro;
• volver a instalar el filtro en el cartucho e introducir el cartucho en su alojamiento fijándolo con la grapa correspondiente.
• para sustituir la sonda NTC sanitaria, véase la figura 16D.
ADVERTENCIA
En caso de sustitución y/o limpieza de las juntas tóricas del grupo hidráulico, utilizar exclusivamente Molykote 111 y no
aceites o grasas.
30. LIMPIEZA DE LOS FILTROS
La limpieza del circuito sanitario se puede efectuar sin quitar el intercambiador agua-agua de su alojamiento, si la placa
está dotada de un grifo específico (bajo pedido) en la salida del agua caliente sanitaria. Para las operaciones de limpieza
es necesario:
• cerrar el grifo de entrada del agua sanitaria;
• vaciar el agua presente en el circuito sanitario mediante un grifo utilizador;
• cerrar el grifo de salida del agua sanitaria;
• quitar la grapa 1E de la figura 16;
• quitar el filtro (2E figura 16);
• para sustituir la sonda NTC sanitaria, véase la figura 16D.
Si no se cuenta con el equipo específico, es necesario desmontar el intercambiador agua-agua, como se indica en el
apartado siguiente, y limpiarlo por separado. Se recomienda eliminar las incrustaciones calcáreas también del alojamiento
y de la sonda NTC del circuito sanitario (figura 16D).
Para la limpieza del intercambiador y/o del circuito sanitario, se aconseja utilizar Cillit FFW-AL o Benckiser HF-AL.
31. LIMPIEZA DE LA CALIZA DEL CIRCUITO SANITARIO
124
71.03982.03 - ES
INSTRUCCIONES PARA EL INSTALADOR
El intercambiador agua-agua, del tipo con placas de acero inoxidable, se puede desmontar mediante una llave hexagonal
actuando según se describe a continuación:
• vaciar la instalación, si es posible sólo la caldera,
mediante el grifo de descarga correspondiente
;
• vaciar el agua del circuito sanitario;
• desenroscar el tubo de conexión del depósito de expansión al grupo hidráulico;
• desmontar el presóstato calefacción (16H) sin desconectar el cableado;
• quitar los dos tornillos (fig. 16B), visibles desde la parte frontal, que fijan el intercambiador agua-agua y extraerlo de su
alojamiento utilizando el espacio creado tras haber quitado el presóstato calefacción;
• limpiar el intercambiador y volver a situarlo en su alojamiento;
• enroscar el tubo de conexión del depósito de expansión en el grupo hidráulico;
• volver a situar el presóstato hidráulico en su alojamiento.
32. DESMONTAJ E DEL INTERCAMBIADOR AGUA – AGUA
ADVERTENCIA
Durante el desmontaje de las piezas del grupo hidráulico prestar la máxima atención.
No utilizar herramientas puntiagudas y no ejercer una fuerza excesiva para quitar las grapas de fijación.
Figura 16
CG_2078 / 1009_2201
125
71.03982.03 - ES
INSTRUCCIONES PARA EL INSTALADOR
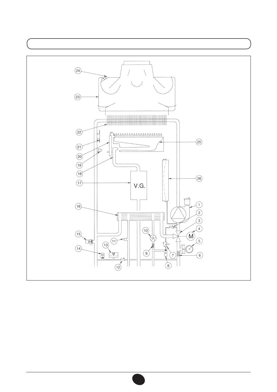
33. ESQUEMA FUNCIONAL DE LOS CIRCUITOS
24 MI FF
Leyenda:
1
Bomba con separador de aire
2
Válvula de retención
3
Válvula de tres vías
4
Motor válvula de tres vías
5
Manómetro
6
Filtro circuito calefacción extraíble
7
Desconectador
8
Grifo carga caldera
9
Filtro agua fría sanitaria extraíble
10
Sensor de prioridad sanitario
11
Sonda NTC sanitario
12
Válvula de retención en by-pass automático
13
Presóstato hidráulico
14
Grifo de descarga caldera
15
Válvula de seguridad
16
Intercambiador agua-agua de placas
17
Válvula del gas con diafragma gas
18
Rampa gas con inyectores
19
Sonda NTC calefacción
20
Electrodo de encendido/detección de llama
21
Termostato de seguridad
22
Intercambiador agua-humos
23
Canalizador de humos
24
Ventilador
25
Venturi
26
Toma de presión positiva
27
Toma de presión negativa
28
Presóstato aire
29
Quemador
30
Depósito de expansión
Figura 17
Impulsión
calefacción
Salida
sanitario
Gas Entrada
sanitario
Retorno
calefacción
CG_2269 / 1006_1805
126
71.03982.03 - ES
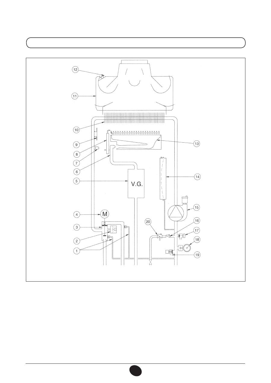
INSTRUCCIONES PARA EL INSTALADOR
24 MI
Leyenda:
1
Bomba con separador de aire
2
Válvula de retención
3
Válvula de tres vías
4
Motor válvula de tres vías
5
Manómetro
6
Filtro circuito calefacción extraíble
7
Desconectador
8
Grifo carga caldera
9
Filtro agua fría sanitaria extraíble
10
Sensor de prioridad sanitario
11
Sonda NTC sanitario
12
Válvula de retención en by-pass automático
13
Presóstato hidráulico
14
Grifo de descarga caldera
15
Válvula de seguridad
16
Intercambiador agua-agua de placas
17
Válvula del gas con diafragma gas
18
Rampa gas con inyectores
19
Sonda NTC calefacción
20
Electrodo de encendido/detección de llama
21
Termostato de seguridad
22
Intercambiador agua-humos
23
Canalizador de humos
24
Termostato de humos
25
Quemador
26
Depósito de expansión
Figura 18
Impulsión
calefacción
Salida
sanitario
Gas Entrada
sanitario
Retorno
calefacción
CG_2270 / 1006_1806
127
71.03982.03 - ES
INSTRUCCIONES PARA EL INSTALADOR
24 FF
Leyenda:
1
By-pass automático con válvula de retención
2
Presóstato hidráulico
3
Válvula de tres vías
4
Motor válvula de tres vías
5
Válvula del gas con diafragma gas
6
Rampa gas con inyectores
7
Sonda NTC calefacción
8
Electrodo de encendido / detección de llama
9
Termostato de seguridad
10
Intercambiador agua-humos
11
Canalizador de humos
12
Ventilador
13
Venturi
14
Toma de presión positiva
15
Toma de presión negativa
16
Presóstato aire
17
Quemador
18
Depósito de expansión
19
Bomba con separador de aire
20
Válvula de retención
21
Grifo de descarga caldera
22
Manómetro
23
Válvula de seguridad
24
Desconectador
Figura 19
Impulsión
calefacción
Gas
Entrada
sanitario
Retorno
calefacción
CG_2267 / 1006_2102
Salida
acumulador
128
71.03982.03 - ES
INSTRUCCIONES PARA EL INSTALADOR
24
Leyenda:
1
By-pass automático con válvula de retención
2
Presóstato hidráulico
3
Válvula de tres vías
4
Motor válvula de tres vías
5
Válvula del gas con diafragma gas
6
Rampa gas con inyectores
7
Sonda NTC calefacción
8
Electrodo de encendido / detección de llama
9
Termostato de seguridad
10
Intercambiador agua-humos
11
Canalizador de humos
12
Termostato de humos
13
Quemador
14
Depósito de expansión
15
Bomba con separador de aire
16
Válvula de retención
17
Grifo de descarga caldera
18
Manómetro
19
Válvula de seguridad
20
Desconectador
Figura 20
Impulsión
calefacción
Gas
Entrada
sanitario
Retorno
calefacción
CG_2268 / 1006_2103
Salida
acumulador
129
71.03982.03 - ES
INSTRUCCIONES PARA EL INSTALADOR
34. ESQUEMA DE CONEXIÓN DE LOS CONECTORES
24 MI FF
CG_2075 / 1001_1806
Color de los cables
C
= Celeste
M
= Marrón
N
= Negro
R
= Rojo
G/V
= Amarillo/Verde
B
= Blanco
V
= Verde
ELECTRODO DE DETECCIÓN/
ENCENDIDO
TERMOSTATO
VÁLVULA DE TRES VÍAS
BOMBA
VENTILADOR
SENSOR DE PRIORIDAD
SANITARIO
SONDA NTC SAN..
SONDA
EXTERIOR
PRESÓSTATO HIDRÁULICO
TERMOSTATO DE
SEGURIDAD
PRESÓSTATO AIRE
SONDA NTC CALEF.
PROGRAMACIÓN
130
71.03982.03 - ES
INSTRUCCIONES PARA EL INSTALADOR
24 MI
CG_2076 / 1001_1807
Color de los cables
C
= Celeste
M
= Marrón
N
= Negro
R
= Rojo
G/V
= Amarillo/Verde
B
= Blanco
V
= Verde
ELECTRODO DE DETECCIÓN/
ENCENDIDO
TERMOSTATO
VÁLVULA DE TRES VÍAS
BOMBA
SENSOR DE PRIORIDAD
SANITARIO
SONDA NTC SAN..
SONDA
EXTERIOR
PRESÓSTATO HIDRÁULICO
TERMOSTATO DE
SEGURIDAD
TERMOSTATO DE HUMOS
SONDA NTC CALEF.
PROGRAMACIÓN
131
71.03982.03 - ES
INSTRUCCIONES PARA EL INSTALADOR
24 FF
Color de los cables
C
= Celeste
M
= Marrón
N
= Negro
R
= Rojo
G/V
= Amarillo/Verde
B
= Blanco
V
= Verde
ELECTRODO DE DETECCIÓN/
ENCENDIDO
TERMOSTATO
TABLERO DE BORNES M2
BOMBA
SONDA
EXTERIOR
PRESÓSTATO HIDRÁULICO
TERMOSTATO DE
SEGURIDAD
PRESÓSTATO AIRE
SONDA NTC CALEF.
PROGRAMACIÓN
VENTILADOR
CG_2271 / 1006_1603
VÁLVULA DE TRES VÍAS
132
71.03982.03 - ES
INSTRUCCIONES PARA EL INSTALADOR
24
Color de los cables
C
= Celeste
M
= Marrón
N
= Negro
R
= Rojo
G/V
= Amarillo/Verde
B
= Blanco
V
= Verde
ELECTRODO DE DETECCIÓN/
ENCENDIDO
TERMOSTATO
TABLERO DE BORNES M2
BOMBA
SONDA
EXTERIOR
PRESÓSTATO HIDRÁULICO
TERMOSTATO DE
SEGURIDAD
TERMOSTATO DE HUMOS
SONDA NTC CALEF.
PROGRAMACIÓN
VÁLVULA DE TRES VÍAS
CG_2272 / 1010_2101
133
71.03982.03 - ES
INSTRUCCIONES PARA EL INSTALADOR
35. CARACTERÍSTICAS TÉCNICAS
Modelo MS
24 MI FF
24 FF
24 MI
24
Categoría
II
2H3P
II
2H3P
II
2H3P
II
2H3P
Capacidad térmica nominal
kW
25,8 25,8 26,3 26,3
Capacidad térmica reducida
kW
10,6 10,6 10,6 10,6
Potencia térmica nominal
kW
24 24 24 24
kcal/h
20.600 20.600 20.600 20.600
Potencia térmica reducida
kW
9,3 9,3 9,3 9,3
kcal/h
8.000 8.000 8.000 8.000
Rendimiento según la directiva 92/42/CEE
—
★★★
★★★
★★
★★
Presión máxima agua circuito térmico
bar
3
3
3
3
Capacidad depósito de expansión
l
6 6 6 6
Presión del depósito de expansión
bar
1
1
1
1
Presión máxima agua circuito sanitario
bar
8
—
8
—
Presión dinámica mínima agua circuito sanitario
bar
0,15 — 0,15 —
Caudal mínimo agua sanitaria
l/min
2,0
— 2,0
—
Producción agua sanitaria con ΔT=25 °C
l/min
13,7 — 13,7 —
Producción agua sanitaria con ΔT=35 °C
l/min
9,8
— 9,8
—
Caudal específico (*)
l/min
12
—
12
—
Rango de temperatura circuito de calefacción
°C
30/85 30/85 30/85 30/85
Rango de temperatura agua sanitaria
°C
35/60 35/60*** 35/60 35/60***
Tipo
—
C12-C32-C42-C52-C82-B22
B
11BS
B
11BS
Diámetro conducto de descarga concéntrico
mm
60 60
-
-
Diámetro conducto de aspiración concéntrico
mm
100 100 -
-
Diámetro conducto de descarga desdoblado
mm
80 80
-
-
Diámetro conducto de aspiración desdoblado
mm
80 80 - -
Diámetro conducto de descarga
mm
-
- 125 125
Caudal másico humos máx.
kg/s
0,014 0,014 0,020 0,020
Caudal másico humos mín.
kg/s
0,014 0,014 0,018 0,018
Temperatura humos máx.
°C
146 146 110 110
°C
116 116 85 85
Temperatura humos mín.
—
3
3
3
3
Clase NOx
—
G20 G20 G20 G20
Tipo de gas
—
G31 G31 G31 G31
Presión de alimentación gas metano
mbar
20
20
20
20
Presión de alimentación gas propano
mbar
37
37
37
37
Tensión de alimentación eléctrica
V
230 230 230 230
Frecuencia de alimentación eléctrica
Hz
50 50 50 50
Potencia eléctrica nominal
W
130 130 80 80
Peso neto
kg
33 32 29 28
Dimensiones
Altura
mm
730 730 730 730
Anchura
mm
400 400 400 400
Profundidad
mm
299 299 299 299
Grado de protección contra la humedad y la penetración de agua (**)
IP X5D
IP X5D
IP X5D
IP X5D
(*) según EN 625
(**) según EN 60529
(***) con calentador exterior
DE DIETRICH
,
en su constante acción para mejorar los productos, se reserva la posibilidad de modificar los datos indicados en esta
documentación en cualquier momento y sin aviso previo. Esta documentación es un soporte informativo y no se puede considerar como
un contrato con terceros.
134
71.03982.03 - BG
ИНСТРУКЦИИ ЗА ПОТРЕБИТЕЛЯ
Уважаеми клиенти,
Фирмата ни счита, че Нашият нов котел ще задоволи Вашите изисквания.
Покупката на изделията De Dietrich отговаря на Вашите очаквания: качествена работа и лесна и
рационална употреба.
Молбата ни е да не пренебрегвате тази инструкция преди да сте я прочели: тя съдържа полезна
информация за правилната и ефикасна употреба на Вашия котел.
Опаковъчните материали (пластмасови торби, стиропор и др.) трябва да се пазят от достъпа на деца, като източници
на потенциална опастност.
1. Указания преди монтажа
135
2. Указания преди пускане в действие
135
3. Пускане на котела
136
4. Регулация на стайната температурата и на битовата вода
137
5. Описание на бутон ( ) (Лято – Зима – Само отопление – Изключен)
137
6. Напълване на инсталацията
138
7. Изключване на котела
138
8. Смяна на вида газ
138
9. Продължителен период на бездействие. Предпазване от замръзване (отоплителен кръг)
139
10. Алармени сигнали-задействане на устройствата за защита
139
11. Инструкции за рутинна поддръжка
139
12. Общи указания
140
13. Указания преди монтажа
140
14. Монтаж на котела
141
15. Размери на котела
142
16. Монтаж на комините за приток на въздух и отвод на изгорелите газове
143
17. Електрически връзки
147
18. Монтаж на стайния термостат
147
19. Смяна на вида газ
148
20. Визуализация на параметрите на електронната платка на дисплея на котела (функция “info”)
150
21. Настройка на параметрите
151
22. Устройства за настройка и безопастност
151
23. Монтаж на електрода за запалване и контрол на пламъка
152
24. Проверка на параметрите на горене
153
25. Характеристики дебит/напорно налягане на табелката
153
26. Монтаж на външната сонда
154
27. Монтаж на външен бойлер
154
28. Годишен преглед
155
29. Изпразване на котела
155
30. Почистване на филтрите
156
31. Почистване на варовиковите отлагания в кръга на битовата вода
156
32. Демонтаж на топлообменника вода-вода
157
33. Функционална схема на потоците
158
34. Схема на електрическите връзки
162
35. Технически характеристики
166
СЪДЪРЖАНИЕ
ИНСТРУКЦИИ ЗА ПОТРЕБИТЕЛЯ
ИНСТРУКЦИИ ЗА ИНСТАЛАТОРА
De Dietrich
деклараира, че тези модели котли носят марка СE и отговарят на основните
изисквания на следните Директиви:
- Директива за работа с газ 2009/142/EO
- Директива за Производство на енергия 92/42/EИO
- Директива за Електромагнитна Съвместимост 2004/108/EO
- Директива за нисковолтов ток 2006/95/EO
135
71.03982.03 - BG
ИНСТРУКЦИИ ЗА ПОТРЕБИТЕЛЯ
Този котел служи за нагряване на водата до температура по-ниска от тази на кипене при наличие на атмосферно налягане.
Котелът трябва да бъде монтиран към отоплителна инсталация или мрежа за снабдяване с топла битова вода, в съответствие
с капацитета и мощността му.
Преди монтажа на котела от квалифициран персонал и в съответствие с действащите разпоредби, осъществете следните
проверки:
a) Уверете се, че котелът е предвиден за работа с вида газ на разположение. Това се вижда от надписа на опаковката и табелката
на оборудването.
б) Проверете дали коминът има необходимата тяга, няма стеснявания и в него не са изведени отводните тръби на други уреди,
освен ако не е преназначен за тази цел според съответните действащите норми и разпоредби.
в) Проверете, при наличие на снадки на вече съществуващи димоотводи, дали са съвсем чисти, тъй като при работа, нагара
по стените може да падне и запуши прохода на изгорелите газове.
г) С цел да се запази правилното функциониране и гаранцията на съоръжението, вземете задължително следните мерки:
1. Кръг на битовата топла вода:
1.1. Ако твърдостта на водата надвишава 20 °F (1 °F = 10 mg калциев карбонат на литър вода), се препоръчва монтажа на
полифосфатен дозатор или устройство с подобно действие съобразено със съответните разпоредби.
1.2. Извършете акуратна промивка на инсталацията след монтажа на котела и преди употребата му.
1.3. Материалите използвани в кръга на битовата топла вода отговарят на изискванията на Директива 98/83/ЕО.
2. Отоплителен кръг
2.1. нова инсталация
Преди да пристъпите към монтажа на котела, инсталацията трябва добре да се почисти с цел да се отстранят евентуални
останки от стружки, запойки или разтворители, като се използват подходящи препарати налични в търговската мрежа,
които са некиселинни, неалкални, неагресивни към метал, пластмаса и гума. Препоръчват се следните препарати:
SENTINEL X300 или X400 и FERNOX Регенератор за отоплителни инсталации. При употребата на тези препарати,
следвайте инструкциите към тях.
2.2. съществуваща инсталация:
Преди монтажа на котела, инсталацията трябва напълно да се изпразни и добре да се почисти от утайки и нечистотии,
използвайки споменатите в точка 2.1. подходящи препарати налични в търговската мрежа.
За предпазване на инсталацията от варовикови отлагания е необходима употребата на препарати като SENTINEL X100
и FERNOX Защита за отоплителни инсталации. При употребата на тези препарати, следвайте инструкциите към тях.
Наличието на утайки в отоплителната инсталация води до неизправности в работата на котела(напр.прегряване и шум
в топлообменника).
Неспазването на тези изисквания води до невалидност на гаранционния срок.
1. УКАЗАНИЯ ПРЕДИ МОНТАЖА
Първоначалното пускане трябва да бъде осъществено от Техническия Сервиз, който трябва да провери:
a) Дали данните от табелката отговарят на тези на захранването (с електричество, вода, газ)
б) Дали инсталацията отговаря на действащите разпоредби
в) Дали свързването към електрическата мрежа и заземяването са правилно осъществени. Неспазването на гореспоменатите
препоръки води до невалидност на гаранционния срок.
Преди пускане в действие, махнете защитното фолио от котела. Не използвайте абразивни инструменти или материали за тази
цел, тъй като могат да увредят боядисаните компоненти.
Уреда не е предназначен за употреба от хора (включително и деца) с намалени физически, сетивни или умствени
способности, или от хора без необходимите знания и опит, освен ако, чрез посредничеството на лице, което носи
отговорност за тяхната безопастност, не им е осигурен надзор и указания за употребата на уреда.
2. УКАЗАНИЯ ПРЕДИ ПУСКАНЕ В ДЕЙСТВИЕ
136
71.03982.03 - BG
ИНСТРУКЦИИ ЗА ПОТРЕБИТЕЛЯ
За правилното пускане в ход изпълнете следните действия:
1) включете към електрическото захранване;
2) отворете кранчето на газта;
3) чрез бутон (
)
нагласете котела на Лято ( ), Зима ( )или само отопление ( );
4) чрез бутон (
+/-
) регулирайте температурата на отоплителния кръг ( ) и на битовата топла вода ( ) така че да се запали
главната горелка.
Когато котелът е включен, на дисплея се появява символа ( ).
При положение Лято ( ) главната горелка се включва само при точене на битова топла вода.
ВНИМАНИЕ
При първо пускане в действие, докато не се обезвъздушат напълно тръбите на газта, горелката може да не се запали и това да
доведе до блокиране на котела. В такъв случай се препоръчва да се повтарят операциите по пускането, докато газта достигне
до горелката, задръжте натиснат бутона ( ), за поне 2 секунди.
3. ПУСКАНЕ НА КОТЕЛА
Отоплителен режим на работа
Наличие на пламък (запалена горелка)
Загуба на пламък (неуспешно запалване)
Режим на нагряване на битова вода
Обща повреда
Липса на вода (Ниско налягане в инсталацията)
Цифров дисплей (Температура, код на повредата, и др.)
РЕЗЕТ
ЛЕГЕНДА НА БУТОНИТЕI
Фигура 1
ЛЕГЕНДА НА СИМВОЛИТЕ
Включване / Изключване / Лято / Зима / само отопление
(
+/-
) : Регулация на температурата за отопление
(
+/-
) : Регулация на температурата на битовата вода
Резет
Информация
0805_2302 / C
G_2072
Оглавление
- SOMMAIRE
- 5. DESCRIPTION DES TOUCHES (ÉTÉ – HIVER – CHAUFFAGE SEULEMENT – ARRÊT)
- •
- 28. RACCORDEMENT D’UN BALLON SEPARE AVEC UN MOTEUR VANNE 3 VOIES
- 5. DESCRIZIONE TASTO (Estate - Inverno - Solo riscaldamento - Spento)
- •
- 5. DESCRIPTION OF BUTTON (Summer - Winter - Heating only - Off)
- •
- 5. DESCRIPCIÓN DE LA TECLA (Verano - Invierno - Sólo calefacción - Apagado)
- •
- 5. ОПИСАНИЕ НА БУТОН (Лято – Зима – Само отопление – Изключен)
- 8. СМЯНА НА ВИДА ГАЗ
- 13. УКАЗАНИЯ ПРЕДИ МОНТАЖА
- 15. РАЗМЕРИ НА КОТЕЛА
- •
- 28. ГОДИШЕН ПРЕГЛЕД
- SPIS TREŚCI
- 1. OSTRZEŻENIA PRZED ZAINSTALOWANIEM
- 3. ROZRUCH KOTŁA
- 4. REGULACJA TEMPERATURY POKOJOWEJ I CIEPŁEJ WODY UŻYTKOWEJ
- 7. WYŁĄCZENIE KOTŁA 8. ZMIANA GAZU
- 9. WYDŁUŻONY OKRES WYŁĄCZENIA INSTALACJI. OCHRONA PRZED ZAMARZANIEM
- 12. UWAGI OGÓLNE 13. WYMAGANIA INSTALACYJNE
- 14. UWAGI INSTALACYJNE
- 15. WYMIARY KOTŁA
- 16. INSTALOWANIE PRZEWODÓW POWIETRZNO-SPALINOWYCH
- 17. PODŁĄCZENIE ELEKTRYCZNE 18. PODŁĄCZENIE TERMOSTATU POKOJOWEGO
- 19. SPOSÓB ZMIANY RODZAJU GAZU
- •
- 21. USTAWIENIE PARAMETRÓW
- 23. USTAWIENIE ELEKTRODY ZAPŁONOWEJ I JONIZACYJNEJ PŁOMIEŃ
- 24. KONTROLA PARAMETRÓW SPALANIA 25. CHARAKTERYSTYKA NATĘŻENIA PRZEPŁYWU/WYSOKOŚCI PODNOSZENIA
- 26. PODŁĄCZENIE CZUJNIKA ZEWNĘTRZNEGO
- 28. KONSERWACJA ROCZNA
- 30. CZYSZCZENIE FILTRÓW
- 32. DEMONTAŻ WYMIENNIKA WODA-WODA
- 33. SCHEMAT FUNKCJONALNY OBWODÓW
- 34. SCHEMAT POŁACZEŃ ELEKTRYCZNYCH
- 35. CHARAKTERYSTYKA TECHNICZNA
- CUPRINS
- 1. AVERTISMENTE ANTERIOARE INSTALĂRII
- 3. PUNEREA ÎN FUNCŢIUNE A CENTRALEI TERMICE
- 4. REGLAREA TEMPERATURII AMBIANTE ŞI A TEMPERATURII APEI MENAJERE
- 7. OPRIREA CENTRALEI TERMICE 8. SCHIMBAREA TIPULUI DE GAZ
- 10. INTRAREA ÎN FUNCŢIUNE A DISPOZITIVELOR DE SIGURANŢA
- 12. AVERTISMENTE GENERALE 13. AVERTISMENTE ANTERIOARE INSTALĂRII
- 13. INSTALLAZIONE DELLA CALDAIA 14. INSTALAREA CENTRALEI TERMICE
- 14. DIMENSIONI CALDAIA 15. DIMENSIUNILE CENTRALEI TERMICE
- 16. INSTALAREA CONDUCTELOR DE EVACUARE GAZE ARSE ŞI ADMISIE AER
- 17. CONECTAREA LA REŢEAUA ELECTRICĂ 18. CONECTAREA TERMOSTATULUI AMBIENTAL
- 19. MODALITĂŢI DE SCHIMBARE A TIPULUI DE GAZ
- 20. VIZUALIZAREA PARAMETRILOR PE AFIŞAJ (FUNCŢIE “INFO”)
- 21. SETAREA PARAMETRILOR
- 23. POZIŢIONAREA ELECTRODULUI DE APRINDERE ŞI DETECTARE A FLĂCĂRII
- 24. VERIFICAREA PARAMETRILOR DE COMBUSTIE 25. PERFORMANŢE DEBIT/ÎNĂLŢIME DE POMPARE
- 26. CONECTAREA SONDEI EXTERNE
- 28. ÎNTREŢINEREA ANUALĂ
- 30. CURĂŢAREA FILTRELOR
- 32. DEMONTAREA SCHIMBĂTORULUI APĂ-APĂ
- 33. DIAGRAMĂ FUNCŢIONALĂ CIRCUITE
- 34. DIAGRAMĂ CUPLARE CONECTORI
- 35. CARACTERISTICI TEHNICE
- ΠΕΡΙΕΧΟΜΕΝΑ
- 1. ΟΔΗΓΙΕΣ ΠΡΙΝ ΤΗΝ ΕΓΚΑΤΑΣΤΑΣΗ
- 3. ΘΕΣΗ ΣΕ ΛΕΙΤΟΥΡΓΙΑ ΤΟΥ ΛΕΒΗΤΑ
- 4. ΡΥΘΜΙΣΗ ΤΗΣ ΘΕΡΜΟΚΡΑΣΙΑΣ ΠΕΡΙΒΑΛΛΟΝΤΟΣ ΚΑΙ ΤΟΥ ΝΕΡΟΥ ΟΙΚΙΑΚΗΣ ΧΡΗΣΗΣ
- 7. ΣΒΗΣΙΜΟ ΤΟΥ ΛΕΒΗΤΑ 8. ΑΛΛΑΓΗ ΑΕΡΙΟΥ
- 10. ΕΝΔΕΙΞΕΙΣ-ΕΠΕΜΒΑΣΗ ΣΥΣΤΗΜΑΤΩΝ ΑΣΦΑΛΕΙΑΣ
- 12. ΓΕΝΙΚΕΣ ΠΛΗΡΟΦΟΡΙΕΣ 13. ΟΔΗΓΙΕΣ ΠΡΙΝ ΤΗΝ ΕΓΚΑΤΑΣΤΑΣΗ
- 13. INSTALLAZIONE DELLA CALDAIA 14. ΕΓΚΑΤΑΣΤΑΣΗ ΤΟΥ ΛΕΒΗΤΑ
- 14. DIMENSIONI CALDAIA 15. ΔΙΑΣΤΑΣΕΙΣ ΛΕΒΗΤΑ
- 16. ΕΓΚΑΤΑΣΤΑΣΗ ΑΓΩΓΩΝ ΑΠΑΓΩΓΗΣ - ΑΝΑΡΡΟΦΗΣΗΣ
- 17. ΗΛΕΚΤΡΙΚΗ ΣΥΝΔΕΣΗ 18. ΣΥΝΔΕΣΗ ΤΟΥ ΘΕΡΜΟΣΤΑΤΗ ΔΩΜΑΤΙΟΥ
- 19. ΤΡΟΠΟΣ ΑΛΛΑΓΗΣ ΑΕΡΙΟΥ
- 20. ΑΠΕΙΚΟΝΙΣΗ ΠΑΡΑΜΕΤΡΩΝ ΣΤΗΝ ΟΘΟΝΗ (ΛΕΙΤΟΥΡΓΙΑ «INFO»)
- 21. ΡΥΘΜΙΣΗ ΠΑΡΑΜΕΤΡΩΝ
- 23. ΤΟΠΟΘΕΤΗΣΗ ΗΛΕΚΤΡΟΔΙΟΥ ΑΝΑΦΛΕΞΗΣ ΚΑΙ ΑΝΙΧΝΕΥΣΗΣ ΦΛΟΓΑΣ
- 24. ΕΛΕΓΧΟΣ ΠΑΡΑΜΕΤΡΩΝ ΚΑΥΣΗΣ 25. ΧΑΡΑΚΤΗΡΙΣΤΙΚΑ ΠΑΡΟΧΗΣ / ΜΑΝΟΜΕΤΡΙΚΟΥ ΥΨΟΥΣ ΣΤΗΝ ΠΛΑΚΑ
- 26. ΣΥΝΔΕΣΗ ΤΟΥ ΕΞΩΤΕΡΙΚΟΥ ΑΙΣΘΗΤΗΡΑ
- 28. ΕΤΗΣΙΑ ΣΥΝΤΗΡΗΣΗ
- 30. ΚΑΘΑΡΙΣΜΟΣ ΤΩΝ ΦΙΛΤΡΩΝ
- 32. ΑΠΟΣΥΝΑΡΜΟΛΟΓΗΣΗ ΕΝΑΛΛΑΚΤΗ ΝΕΡΟΥ-ΝΕΡΟΥ
- 33. ΛΕΙΤΟΥΡΓΙΚΟ ΣΧΕΔΙΟ ΚΥΚΛΩΜΑΤΩΝ
- 34. ΣΧΕΔΙΟ ΣΥΝΔΕΣΗΣ ΣΥΝΔΕΣΜΩΝ
- 35. ТЕХНИЧЕСКИ ХАРАКТЕРИСТИКИ
- 5. ОПИСАНИЕ КНОПКИ (Лето – Зима – Только Отопление – Выключено)
- •
- 5. 锅炉运行模式选择
- 错误信息及故障表

