De Dietrich MS 24 FF: •
•: De Dietrich MS 24 FF
51
71.03982.03 - IT
ISTRUZIONI DESTINATE ALL’INSTALLATORE
20. VISUALIZZAZIONE PARAMETRI SUL DISPLAY (FUNZIONE “INFO”)
Premere per almeno 5 secondi il tasto “
i
” per visualizzare sul display situato sul pannello frontale della caldaia alcune
informazioni di funzionamento della caldaia.
•
Agire sui tasti (
+/-
) per visualizzare le seguenti informazioni:
A00:
valore (°C) attuale della temperatura sanitaria (A.C.S.);
A01:
valore (°C) attuale della temperatura esterna (con sonda esterna collegata);
A02:
valore (%) della corrente al modulatore (100% = 310 mA METANO - 100% = 310 mA GPL);
A03:
valore (%) del range di potenza (MAX R);
A04:
valore (°C) di temperatura del setpoint riscaldamento - - Nel caso in cui sia collegata la sonda esterna viene
visualizzato il valore della curva “
kt
” (paragrafo 26);
A05:
valore (°C) attuale della temperatura di mandata riscaldamento;
A06:
valore (°C) di temperatura del setpoint sanitario;
A07:
— — ;
A08:
valore (l/minx10) della portata d’acqua sanitaria;
A09:
ultimo errore verificatosi in caldaia.
•
Tale funzione rimane attiva per un tempo di 3 minuti. E’ possibile interrompere anticipatamente la funzione “INFO”
premendo per almeno 5 secondi il tasto (
i
) oppure togliendo tensione alla caldaia.
NOTA:
quando la funzione “INFO” è attiva, sul display (figura 12) è visualizzata la scritta “A00” che si alterna
nella visualizzazione, al valore di temperatura di mandata della caldaia:
0605_2204 / CG_1808
Figura 12
52
71.03982.03 - IT
ISTRUZIONI DESTINATE ALL’INSTALLATORE
Descrizione parametri
Impostazioni di fabbrica
24 MI FF
24 FF
24 MI
24
F01
Tipo di caldaia
10
= camera stagna -
20
= camera aperta
10
10
20
20
F02
Tipo di gas utilizzato
00
= METANO
01
= GPL
02
= METANO (CON DIAFRAMMA GAS)
02
F03
Sistema idraulico
00
= apparecchio istantaneo
03
= apparecchio con bollitore esterno
04
= apparecchio solo riscaldamento
13
= funzione preriscaldo (24h)
14
= funzione preriscaldo (1h)
13
04
13
04
F04/ F05
Settaggio relè programmabile 1 e 2 (Vedere istruzioni SERVICE)
00
= nessuna funzione associata
00
F06
Impostazione massimo setpoint (°C) riscaldamento
00
= 85°C -
01
= 45°C (funzione non utilizzabile)
00
F07
Configurazione ingresso precedenza sanitaria
00
01
00
01
F08
Max potenza in riscaldamento
(0-100%)
100
F09
Max potenza in sanitario
(0-100%)
100
F10
Min potenza in riscaldamento
(0-100%)
00
F11
Tempo di attesa in riscaldamento prima di una nuova accensione
(00-10 minuti) - 00=10 secondi
03
F12
Diagnostica (Vedere istruzioni SERVICE)
--
F13-F14-F15
Impostazione di fabbrica
00
F16
Funzione Antilegionella
(con F03=03)
00
= funzione disattivata
55...67
= funzione attivata (setpoint °C)
00
F17
Selezione tipo pressostato riscaldamento
00
= pressostato idraulico
01
= pressostato differenziale idraulico
00
F18
Informazione produttore
00
21. IMPOSTAZIONE PARAMETRI
Per impostare i parametri di caldaia, premere contemporaneamente il tasto (
–
) e il tasto (
–
) per almeno 6 secondi.
Quando la funzione è attiva, sul display è visualizzata la scritta “
F01
” che si alterna col valore del parametro visualizzato.
Modifica parametri
• Per scorrere i parametri agire sui tasti (
+/–
);
• Per modificare il singolo parametro agire sui tasti (
+/–
);
• Per memorizzare il valore premere il tasto
(
)
, sul display è visualizzata la scritta “
MEM
”;
• Per uscire dalla funzione senza memorizzare, premere il tasto
(
i
)
,
sul display è visualizzata la scritta “
ESC
”.
22. DISPOSITIVI DI REGOLAZIONE E SICUREZZA
La caldaia è costruita per soddisfare a tutte le prescrizioni delle Normative europee di riferimento, in particolare è dotata di:
• Pressostato aria (modello 24 MI FF - 24 FF)
Questo dispositivo permette l’accensione del bruciatore solo in caso di perfetta efficienza del circuito di scarico dei fumi.
Con la presenza di una di queste anomalie:
• terminale di scarico ostruito
• venturi ostruito
• ventilatore bloccato
• collegamento venturi - pressostato interrotto
la caldaia rimane in attesa segnalando il codice di errore E03 (vedere tabella paragrafo 10).
• Termostato fumi (modello 24 MI - 24)
Questo dispositivo, il cui sensore è posizionato sulla parte sinistra della cappa fumi, interrompe l’afflusso del gas al bruciatore principale
in caso di camino ostruito e/o mancanza di tiraggio.
In queste condizioni la caldaia va in blocco segnalando il codice di errore E03 (paragrafo 10).
Per riavere subito una nuova accensione, dopo aver rimosso la causa dell’intervento, è possibile ripetere l’accensione premendo il
tasto ( ), per almeno 2 secondi.
E’ vietato mettere fuori servizio questo dispositivo di sicurezza
53
71.03982.03 - IT
ISTRUZIONI DESTINATE ALL’INSTALLATORE
•
Termostato di sicurezza
Questo dispositivo, il cui sensore è posizionato sulla mandata del riscaldamento, interrompe l’afflusso del gas al bruciatore in caso di
surriscaldamento dell’acqua contenuta nel circuito primario. In queste condizioni la caldaia va in blocco e solo dopo aver rimosso la
causa dell’intervento è possibile ripetere l’accensione premendo il tasto ( ), per almeno 2 secondi.
E’ vietato mettere fuori servizio questo dispositivo di sicurezza
•
Rivelatore a ionizzazione di fiamma
L’elettrodo di rivelazione, posto nella parte destra del bruciatore, garantisce la sicurezza in caso di mancanza gas o interaccensione
incompleta del bruciatore.
In queste condizioni la caldaia va in blocco dopo 3 tentativi.
É necessario premere il tasto ( ), per almeno 2 secondi, per ristabilire le normali condizioni di funzionamento.
• Pressostato idraulico
Questo dispositivo permette l’accensione del bruciatore principale solamente se la pressione dell’impianto è superiore a 0,5 bar.
• Postcircolazione pompa circuito riscaldamento
La postcircolazione della pompa, ottenuta elettronicamente, ha una durata di 180 secondi e viene attivata, nella funzione riscaldamento,
dopo lo spegnimento del bruciatore per l’intervento del termostato ambiente.
• Postcircolazione pompa per circuito sanitario
La postcircolazione della pompa, ottenuta elettronicamente, ha una durata di 30 secondi e viene attivata, in modo sanitario, dopo lo
spegnimento del bruciatore per l’intervento della sonda.
• Dispositivo antigelo (circuito riscaldamento e sanitario)
La gestione elettronica della caldaia è provvista di una funzione “antigelo” in riscaldamento che con temperatura di mandata impianto
inferiore ai 5 °C fa funzionare il bruciatore fino al raggiungimento in mandata di un valore pari a 30 °C.
Tale funzione è operativa se la caldaia è alimentata elettricamente, se c’è gas e se la pressione dell’impianto è quella prescritta.
• Mancanza circolazione acqua su circuito primario (probabile pompa bloccata)
In caso di mancanza o insufficienza di circolazione d’acqua nel circuito primario, la caldaia và in blocco segnalando il codice di errore
E25 (paragrafo 10).
•
Antibloccaggio pompa
In caso di mancanza di richiesta di calore, in riscaldamento, per un tempo di 24 ore consecutive la pompa si mette in funzione auto-
maticamente per 10 secondi.
Tale funzione è operativa se la caldaia è alimentata elettricamente.
•
Antibloccaggio valvola a tre vie
In caso di mancanza di richiesta calore in riscaldamento per un tempo di 24 ore la valvola a tre vie effettua una commutazione com-
pleta. Tale funzione è operativa se la caldaia è alimentata elettricamente.
• Valvola di sicurezza idraulica (circuito di riscaldamento)
Questo dispositivo, tarato a 3 bar, è a servizio del circuito di riscaldamento.
E’ consigliabile raccordare la valvola di sicurezza ad uno scarico sifonato. E’ vietato utilizzarla come mezzo di svuotamento del circuito
di riscaldamento.
NOTA:
qualora dovesse guastarsi la sonda NTC del circuito sanitario,la produzione di acqua calda sanitaria è comunque assicurata.
Il controllo della temperatura viene in questo caso, effettuato mediante la sonda di mandata.
23. POSIZIONAMENTO ELETTRODO DI ACCENSIONE E RIVELAZIONE DI FIAMMA
Figura 13
9912070100
54
71.03982.03 - IT
ISTRUZIONI DESTINATE ALL’INSTALLATORE
Per la misura in opera del rendimento di combustione e dell’igienicità dei prodotti di combustione, come disposto dal DPR
26 Agosto 1993 n° 412, la caldaia è dotata di due prese destinate a tale uso specifico.
Una presa è collegata al circuito scarico dei fumi mediante la quale è possibile rilevare l’igienicità dei prodotti della com-
bustione ed il rendimento di combustione.
L’altra è collegata al circuito di aspirazione dell’aria comburente nella quale è possibile verificare l’eventuale ricircolo dei
prodotti della combustione nel caso di condotti coassiali.
Nella presa collegata al circuito dei fumi possono essere rilevati i seguenti parametri:
• temperatura dei prodotti della combustione;
• concentrazione di ossigeno (O
2
) od in alternativa di anidride carbonica (CO
2
);
• concentrazione di ossido di carbonio (CO).
La temperatura dell’aria comburente deve essere rilevata nella presa collegata al circuito di aspirazione dell’aria, inserendo
la sonda di misura per circa 3 cm.
NOTA:
per la regolazione della potenza nominale vedere capitolo 19 (B1)
Per i modelli di caldaie a tiraggio naturale è necessario realizzare un foro sul condotto di scarico dei fumi ad una distanza
dalla caldaia di 2 volte il diametro interno del condotto stesso.
Mediante tale foro possono essere rilevati i seguenti parametri:
• temperatura dei prodotti della combustione;
• concentrazione di ossigeno (O
2
) od in alternativa di anidride carbonica (CO
2
);
• concentrazione di ossido di carbonio (CO).
La misurazione della temperatura dell’aria comburente deve essere effettuata nei pressi dell’ingresso dell’aria nella caldaia.
Il foro, che deve essere realizzato dal responsabile dell’impianto in occasione della prima messa in servizio, deve essere chiuso
in modo da garantire la tenuta del condotto di evacuazione dei prodotti della combustione durante il normale funzionamento.
24. VERIFICA DEI PARAMETRI DI COMBUSTIONE 25. CARATTERISTICHE PORTATA/PREVALENZA ALLA PLACCA
La pompa utilizzata (GRUNDFOS
UPSO 15-50) è del tipo ad alta preva-
lenza adatta all’uso su qualsiasi tipo
di impianto di riscaldamento mono
o a due tubi. La valvola automatica
sfogo aria incorporata nel corpo della
pompa permette una rapida disaera-
zione dell’impianto di riscaldamento.
Grafico 1
PORTATA l/h
PREV
ALENZA mH
2
O
1009_2401
1009_2402
PORTATA l/h
PREV
ALENZA mH
2
O
55
71.03982.03 - IT
ISTRUZIONI DESTINATE ALL’INSTALLATORE
26. COLLEGAMENTO DELLA SONDA ESTERNA
Sul cablaggio di cavi che escono dal cruscotto, ci sono due cavetti di colore ROSSO dotati di copri-faston di testa.
Collegare la sonda esterna ai capi di questi due cavetti.
Con sonda esterna collegata è possibile cambiare la curva “
kt
” (Grafico 2) agendo sui tasti
+/-
.
NOTA : Nel caso di installazione in una unità abitativa media (buon isolamento perimetrale e impianto a radiatori) è consi-
gliabile impostare la curva climatica “
kt
” al valore di “25”.
27. COLLEGAMENTO DI UN’UNITÀ BOLLITORE ESTERNA
Modello 24 - 24FF
La sonda NTC di precedenza sanitario è fornita come accessorio.
COLLEGAMENTO SONDA BOLLITORE
La caldaia è predisposta per il collegamento di un bollitore esterno. Collegare idraulicamente il bollitore come in fig.14.
Collegare la sonda NTC di precedenza sanitario ai morsetti 5-6 della morsettiera M2. L’elemento sensibile della sonda
NTC deve essere inserito sull’apposito pozzetto previsto sul bollitore stesso. La regolazione della temperatura dell’acqua
sanitaria (35 °C...60 °C) si effettua agendo sui tasti
+/–
.
Figura 14
Legenda:
UB
UNITÀ BOLLITORE
UR
UNITÀ RISCALDAMENTO
V3V
VALVOLA TRE VIE ESTERNA
M2
MORSETTIERA DI
COLLEGAMENTO
SB
SONDA BOLLITORE DI
PRECEDENZA SANITARIO
MR
MANDATA RISCALDAMENTO
MB
MANDATA BOLLITORE
RR
RITORNO RISCALDAMENTO/
BOLLITORE
ATTENZIONE :
Verificare che il parametro
F03 = 03
(paragrafo 21).
TM
= Range temperature mandata
Te
= temperatura esterna
Grafico 2
TM
Te
curve “kt”
1012_0501
CG_2085 / 1101_1701
56
71.03982.03 - IT
ISTRUZIONI DESTINATE ALL’INSTALLATORE
Allo scopo di assicurare un’efficienza ottimale della caldaia è necessario effettuare annualmente i seguenti controlli:
• verifica dell’aspetto e della tenuta delle guarnizioni del circuito gas e del circuito di combustione;
• verifica dello stato e della corretta posizione degli elettrodi di accensione e rivelazione di fiamma;
• verifica dello stato del bruciatore ed il suo corretto fissaggio;
• verifica delle eventuali impurità presenti all’interno della camera di combustione.
Utilizzare allo scopo un aspirapolvere per la pulizia;
• verifica della corretta taratura della valvola gas;
• verifica della pressione dell’impianto di riscaldamento;
• verifica della pressione del vaso espansione;
• verifica che il ventilatore funzioni correttamente;
• verifica che i condotti di scarico e aspirazione non siano ostruiti;
AVVERTENZE
Prima di effettuare qualsiasi intervento, assicurarsi che la caldaia non sia alimentata elettricamente.
Terminate le operazioni di manutenzione, riportare le manopole e/o i parametri di funzionamento della caldaia
nelle posizioni originali.
28. MANUTENZIONE ANNUALE
Lo svuotamento della caldaia può essere effettuato tramite l’apposito rubinetto posto in caldaia.
Nelle caldaie MS 24 MI e MS 24 MI FF il rubinetto porta-gomma si trova sul fondo mentre per le caldaie MS 24 e MS 24
FF si trova accanto alla pompa (1 – fig. 15).
Per svuotare la caldaia con il rubinetto porta-gomma posto sul fondo della caldaia procedere come di seguito descritto
(fig. 15):
- chiudere i rubinetti di intercettazione della caldaia;
- aprire il rubinetto porta-gomma utilizzando una chiave esagonale da 8 mm;
- svuotare la caldaia;
- chiudere il rubinetto porta-gomma utilizzando la chiave esagonale da 8mm;
29. SVUOTAMENTO CIRCUITO CALDAIA
CG_2284 / 1009_2405
Figure 15
57
71.03982.03 - IT
ISTRUZIONI DESTINATE ALL’INSTALLATORE
I filtri dell’acqua sanitaria e del circuito di riscaldamento sono alloggiati all’interno di apposite cartucce estraibili. La cartuccia
del circuito di riscaldamento è posizionata sul ritorno del riscaldamento (figura 16F), la cartuccia del circuito sanitario è
posizionata sull’ingresso dell’acqua fredda (figura 16E). Per la pulizia dei filtri agendo come di seguito riportato:
• togliere l’alimentazione elettrica alla caldaia;
• chiudere il rubinetto dell’acqua d’ingresso sanitario;
• svuotare l’acqua contenuta nel circuito di riscaldamento aprendo il rubinetto A di figura 16.
• rimuovere la clip (1-E/F) del filtro come illustrato in figura ed estrarre la cartuccia (2-E/F) contenente il filtro avendo cura
di non esercitare una forza eccessiva;
• per estrarre la cartuccia del filtro di riscaldamento è necessario prima rimuovere il motore della valvola 3 vie (1-2G -
figura 16);
• eliminare dal filtro eventuali impurità e depositi;
• riposizionare il filtro all’interno della cartuccia e inserire nuovamente la stessa nella propria sede assicurandola con la
propria clip.
• per sostituire la sonda NTC sanitaria, vedere figura 16D.
AVVERTENZA
In caso di sostituzione e/o pulizia degli anelli “OR” del gruppo idraulico non utilizzare come lubrificanti olii o grassi ma
esclusivamente Molykote 111.
30. PULIZIA DEI FILTRI
La pulizia del circuito sanitario può essere effettuata senza togliere dalla sua sede lo scambiatore acqua-acqua se la
placca è stata provvista inizialmente dello specifico rubinetto (a richiesta) collocato sull’uscita dell’acqua calda sanitaria.
Per le operazioni di pulizia è necessario:
• Chiudere il rubinetto d’entrata dell’acqua sanitaria;
• Svuotare dall’acqua il circuito sanitario mediante un rubinetto utilizzatore;
• Chiudere il rubinetto d’uscita dell’acqua sanitaria;
• Rimuovere la clip 1E di figura 16;
• Togliere il filtro (2E figura 16);
• per sostituire la sonda NTC sanitaria, vedere figura 16D.
Nel caso non vi fosse la specifica dotazione è necessario smontare lo scambiatore acqua-acqua, come descritto al pa-
ragrafo successivo, e pulirlo isolatamente. Si consiglia di pulire dal calcare anche la sede e relativa sonda NTC posta sul
circuito sanitario (figura 16D).
Per la pulizia dello scambiatore e/o del circuito sanitario è consigliabile l’utilizzo di Cillit FFW-AL o Benckiser HF-AL.
31. PULIZIA DAL CALCARE DEL CIRCUITO SANITARIO
58
71.03982.03 - IT
ISTRUZIONI DESTINATE ALL’INSTALLATORE
Lo scambiatore acqua-acqua, del tipo a piastre in acciaio inox, può essere smon tato con l’utilizzo di una chiave esagonale
procedendo come di seguito descritto:
• svuotare l’impianto, se possibile limitatamente alla caldaia,
mediante l’apposito rubinetto di scarico
;
• svuotare l’acqua contenuta nel circuito sanitario;
• svitare il tubo di collegamento del vaso di espansione al gruppo idraulico;
• rimuovere il pressostato riscaldamento (16H) senza scollegare il cablaggio;
• togliere le due viti (fig. 16B), visibili frontalmente, di fissaggio dello scambiatore acqua-acqua e sfilarlo dalla sua sede
utilizzando lo spazio creato dopo aver tolto il pressostato riscaldamento;
• pulire lo scambiatore e riposizionarlo nella propria sede;
• riavvitare il tubo di collegamento del vaso di espansione al gruppo idraulico;
• riposizionare il pressostato idraulico nella propria sede.
32. SMONTAGGIO DELLO SCAMBIATORE ACQUA-ACQUA
AVVERTENZA
Prestare la massima attenzione durante lo smontaggio delle singole parti del gruppo idraulico.
Non utilizzare utensili appuntiti, non esercitare una forza eccessiva nel rimuovere le clip di fissaggio.
Figura 16
CG_2078 / 1009_2201
59
71.03982.03 - IT
ISTRUZIONI DESTINATE ALL’INSTALLATORE
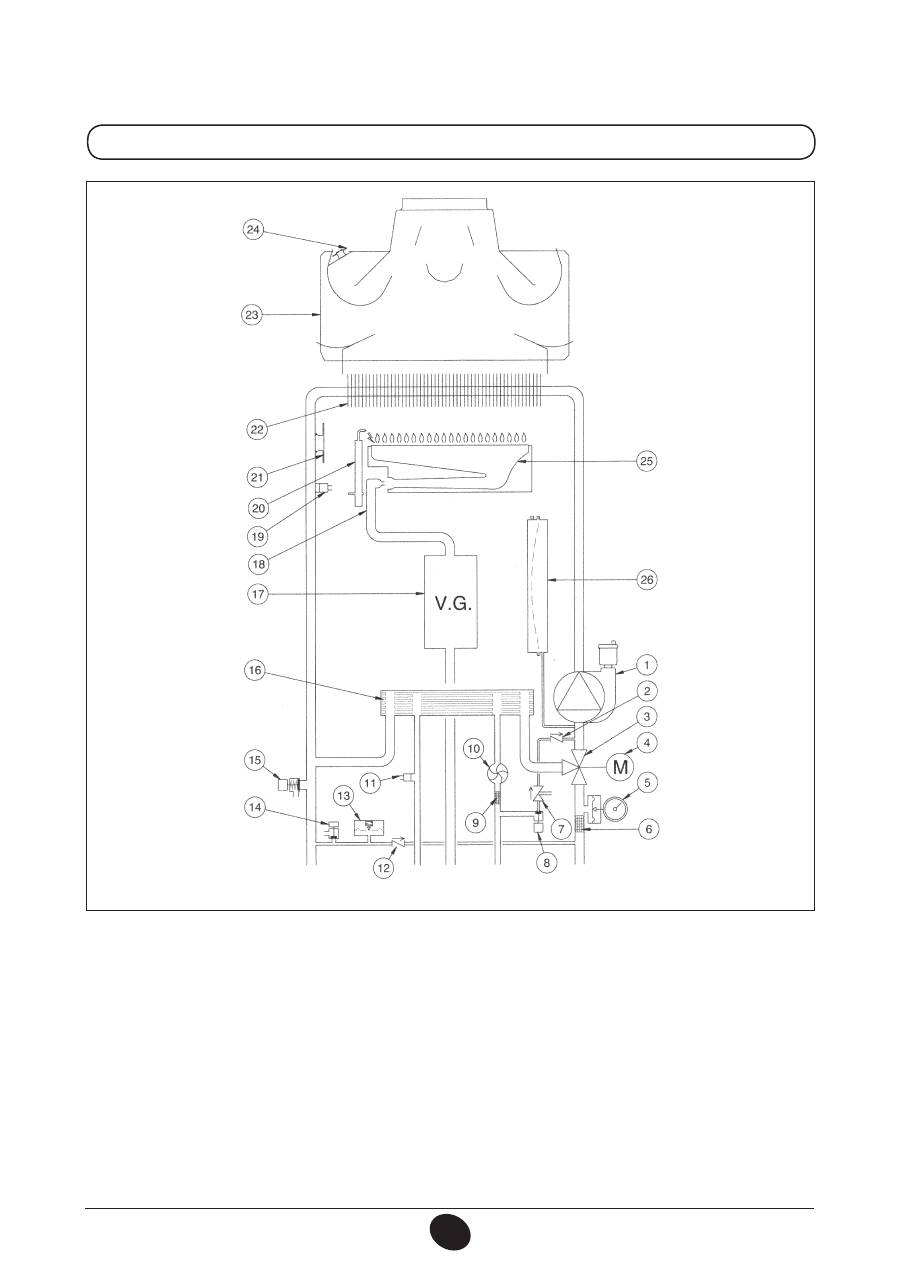
33. SCHEMA FUNZIONALE CIRCUITI
24 MI FF
Legenda:
1
Pompa con separatore d’aria
2
Valvola di non ritorno
3
Valvola tre vie
4
Motore valvola tre vie
5
Manometro
6
Filtro circuito riscaldamento estraibile
7
Disconnettore
8
Rubinetto caricamento caldaia
9
Filtro acqua fredda sanitaria estraibile
10
Sensore di precedenza sanitario
11
Sonda NTC sanitario
12
Valvola di ritegno su by-pass automatico
13
Pressostato idraulico
14
Rubinetto di scarico caldaia
15
Valvola di sicurezza
16
Scambiatore acqua-acqua a piastre
17
Valvola gas con diaframma gas
18
Rampa gas con ugelli
19
Sonda NTC riscaldamento
20
Elettrodo di accensione/rilevazione fiamma
2
1
Termostato di sicurezza
22
Scambiatore acqua-fumi
23
Convogliatore fumi
24
Ventilatore
25
Venturi
26
Presa di pressione positiva
27
Presa di pressione negativa
28
Pressostato aria
29
Bruciatore
30
Vaso espansione
Figura 17
Mandata
riscaldamento
Uscita
sanitario
Gas Entrata
sanitario
Ritorno
riscaldamento
CG_2269 / 1006_1805
60
71.03982.03 - IT
ISTRUZIONI DESTINATE ALL’INSTALLATORE
24 MI
Legenda:
1
Pompa con separatore d’aria
2
Valvola di non ritorno
3
Valvola tre vie
4
Motore valvola tre vie
5
Manometro
6
Filtro circuito riscaldamento estraibile
7
Disconnettore
8
Rubinetto caricamento caldaia
9
Filtro acqua fredda sanitaria estraibile
10
Sensore di precedenza sanitario
11
Sonda NTC sanitario
12
Valvola di ritegno su by-pass automatico
13
Pressostato idraulico
14
Rubinetto di scarico caldaia
15
Valvola di sicurezza
16
Scambiatore acqua-acqua a piastre
17
Valvola gas con diaframma gas
18
Rampa gas con ugelli
19
Sonda NTC riscaldamento
20
Elettrodo di accensione/rilevazione fiamma
2
1
Termostato di sicurezza
22
Scambiatore acqua-fumi
23
Convogliatore fumi
24
Termostato fumi
25
Bruciatore
26
Vaso espansione
Figura 18
Mandata
riscaldamento
Uscita
sanitario
Gas Entrata
sanitario
Ritorno
riscaldamento
CG_2270 / 1006_1806
61
71.03982.03 - IT
ISTRUZIONI DESTINATE ALL’INSTALLATORE
24 FF
Legenda:
1
By-pass automatico con valvola di ritegno
2
Pressostato idraulico
3
Valvola tre vie
4
Motore valvola tre vie
5
Valvola gas con diaframma gas
6
Rampa gas con ugelli
7
Sonda NTC riscaldamento
8
Elettrodo di accensione / rivelazione fiamma
9
Termostato di sicurezza
10
Scambiatore acqua fumi
11
Convogliatore fumi
12
Ventilatore
13
Venturi
14
Presa di pressione positiva
15
Presa di pressione negativa
16
Pressostato aria
17
Bruciatore
18
Vaso espansione
19
Pompa con separatore d’aria
20
Valvola di non ritorno
21
Rubinetto di scarico caldaia
22
Manometro
23
Valvola di sicurezza
24
Disconnettore
Figura 19
Mandata
riscaldamento
Gas
Entrata
sanitario
Ritorno
riscaldamento
CG_2267 / 1006_2102
Mandata
bollitore
62
71.03982.03 - IT
ISTRUZIONI DESTINATE ALL’INSTALLATORE
24
Legenda:
1
By-pass automatico con valvola di ritegno
2
Pressostato idraulico
3
Valvola tre vie
4
Motore valvola tre vie
5
Valvola gas con diaframma gas
6
Rampa gas con ugelli
7
Sonda NTC riscaldamento
8
Elettrodo di accensione / rivelazione fiamma
9
Termostato di sicurezza
10
Scambiatore acqua fumi
11
Convogliatore fumi
12
Termostato fumi
13
Bruciatore
14
Vaso espansione
15
Pompa con separatore d’aria
16
Valvola di non ritorno
17
Rubinetto di scarico caldaia
18
Manometro
19
Valvola di sicurezza
20
Disconnettore
Figura 20
Mandata
riscaldamento
Gas
Entrata
sanitario
Ritorno
riscaldamento
CG_2268 / 1006_2103
Mandata
bollitore
63
71.03982.03 - IT
ISTRUZIONI DESTINATE ALL’INSTALLATORE
34. SCHEMA COLLEGAMENTO CONNETTORI
24 MI FF
CG_2075 / 1001_1806
Colore cavetti
C
= Celeste
M
= Marrone
N
= Nero
R
= Rosso
G/V
= Giallo/Verde
B
= Bianco
V
= Verde
ELETTRODO DI
RIVELAZIONE/ACCENSIONE
TERMOSTATO
VALVOLA TRE VIE
POMPA
VENTILATORE
SENSORE PRECEDENZA
SANITARIO
SONDA NTC SAN.
SONDA
ESTERNA
PRESSOSTATO IDRAULICO
TERMOSTATO DI
SICUREZZA
PRESSOSTATO ARIA
SONDA NTC RISC.
PROGRAMMAZIONE
64
71.03982.03 - IT
ISTRUZIONI DESTINATE ALL’INSTALLATORE
24 MI
CG_2076 / 1001_1807
Colore cavetti
C
= Celeste
M
= Marrone
N
= Nero
R
= Rosso
G/V
= Giallo/Verde
B
= Bianco
V
= Verde
ELETTRODO DI
RIVELAZIONE/ACCENSIONE
TERMOSTATO
VALVOLA TRE VIE
POMPA
SENSORE PRECEDENZA
SANITARIO
SONDA NTC SAN.
SONDA
ESTERNA
PRESSOSTATO IDRAULICO
TERMOSTATO DI
SICUREZZA
TERMOSTATO FUMI
SONDA NTC RISC.
PROGRAMMAZIONE
65
71.03982.03 - IT
ISTRUZIONI DESTINATE ALL’INSTALLATORE
24 FF
Colore cavetti
C
= Celeste
M
= Marrone
N
= Nero
R
= Rosso
G/V
= Giallo/Verde
B
= Bianco
V
= Verde
ELETTRODO DI
RIVELAZIONE/ACCENSIONE
TERMOSTATO
MORSETTIERA M2
POMPA
SONDA
ESTERNA
PRESSOSTATO IDRAULICO
TERMOSTATO DI
SICUREZZA
PRESSOSTATO ARIA
SONDA NTC RISC.
PROGRAMMAZIONE
VENTILATORE
CG_2271 / 1006_1603
VALVOLA TRE VIE
66
71.03982.03 - IT
ISTRUZIONI DESTINATE ALL’INSTALLATORE
24
Colore cavetti
C
= Celeste
M
= Marrone
N
= Nero
R
= Rosso
G/V
= Giallo/Verde
B
= Bianco
V
= Verde
ELETTRODO DI
RIVELAZIONE/ACCENSIONE
TERMOSTATO
MORSETTIERA M2
POMPA
SONDA
ESTERNA
PRESSOSTATO IDRAULICO
TERMOSTATO DI
SICUREZZA
TERMOSTATO FUMI
SONDA NTC RISC.
PROGRAMMAZIONE
CG_2272 / 1010_2101
VALVOLA TRE VIE
67
71.03982.03 - IT
ISTRUZIONI DESTINATE ALL’INSTALLATORE
35. CARATTERISTICHE TECNICHE
Modello MS
24 MI FF
24 FF
24 MI
24
Categoria
II
2H3P
II
2H3P
II
2H3P
II
2H3P
Portata termica nominale
kW
25,8
25,8
26,3
26,3
Portata termica ridotta
kW
10,6
10,6
10,6
10,6
Potenza termica nominale
kW
24
24
24
24
kcal/h
20.600 20.600 20.600 20.600
Potenza termica ridotta
kW
9,3
9,3
9,3
9,3
kcal/h
8.000 8.000 8.000 8.000
Rendimento secondo la direttiva 92/42/CEE
—
★★★
★★★
★★
★★
Pressione massima acqua circuito termico
bar
3
3
3
3
Capacità vaso espansione
l
6
6
6
6
Pressione del vaso d’espansione
bar
1
1
1
1
Pressione massima acqua circuito sanitario
bar
8
—
8
—
Pressione minima dinamica acqua circuito sanitario
bar
0,15
—
0,15
—
Portata minima acqua sanitaria
l/min
2,0
—
2,0
—
Produzione acqua sanitaria con
∆
T=25 °C
l/min
13,7
—
13,7
—
Produzione acqua sanitaria con
∆
T=35 °C
l/min
9,8
—
9,8
—
Portata specifica (*)
l/min
12
—
12
—
Range temperatura circuito di riscaldamento
°C
30/85
30/85
30/85
30/85
Range temperatura acqua sanitaria
°C
35/60
35/60***
35/60
35/60***
Tipo
—
C12-C32-C42-C52-C82-B22
B
11BS
B
11BS
Diametro condotto di scarico concentrico
mm
60
60
-
-
Diametro condotto di aspirazione concentrico
mm
100
100
-
-
Diametro condotto di scarico sdoppiato
mm
80
80
-
-
Diametro condotto di aspirazione sdoppiato
mm
80
80
-
-
Diametro condotto di scarico
mm
-
-
125
125
Portata massica fumi max
kg/s
0,014
0,014
0,020
0,020
Portata massica fumi min.
kg/s
0,014
0,014
0,018
0,018
Temperatura fumi max
°C
146
146
110
110
Temperatura fumi min.
°C
116
116
85
85
Classe NOx
—
3
3
3
3
Tipo di gas
—
G20
G20
G20
G20
—
G31 G31 G31 G31
Pressione di alimentazione gas metano
mbar
20
20
20
20
Pressione di alimentazione gas propano
mbar
37
37
37
37
Tensione di alimentazione elettrica
V
230
230
230
230
Frequenza di alimentazione elettrica
Hz
50
50
50
50
Potenza elettrica nominale
W
130
130
80
80
Peso netto
kg
33
32
29
28
Dimensioni
altezza
mm
730
730
730
730
larghezza
mm
400
400
400
400
profondità
mm
299
299
299
299
Grado di protezione contro l’umidità e la penetrazione dell’acqua (**)
IP X5D
IP X5D
IP X5D
IP X5D
(*) secondo EN 625
(**) secondo EN 60529
(***) con bollitore esterno
DE DIETRICH
,
nella costante azione di miglioramento dei prodotti, si riserva la possibilità di modificare i dati espressi in questa documentazione
in qualsiasi momento e senza preavviso. La presente documentazione è un supporto informativo e non considerabile come contratto nei
confronti di terzi.
68
71.03982.03 - EN
OPERATING INSTRUCTIONS
Dear Customer,
We are confident your new boiler will meet all your requirements.
All
De Dietrich
products have been designed to give you what you are looking for: good performance
combined with simple and rational use.
Please do not put away this booklet without reading it first as it contains some useful information
which will help you to operate your boiler correctly and efficiently.
Do not leave any packaging (plastic bags, polystyrene, etc.) within the reach of children as they are a potential
source of danger.
1.
Instructions prior to installation
69
2.
Instructions prior to commissioning
69
3.
Commissioning the boiler
70
4.
Adjusting room and DHW temperatures
71
5.
Description of button (
) (Summer - Winter - Heating only - Off)
71
6.
Filling the system
72
7.
Turning off the boiler
72
8.
Gas conversion
72
9.
Prolonged shutdown. Frost protection (heating circuit)
73
10.
Troubleshooting 73
11.
Routine maintenance instructions
73
12.
General information
74
13.
Instructions prior to installation
74
14.
Installing the boiler
75
15.
Dimensions of boiler
76
16.
Installation of flue and air ducts
77
17.
Connecting the mains supply
81
18.
Connecting the room thermostat
81
19.
Gas conversion methods
82
20.
Visualisation of electronic board parameters on boiler display (“info” function)
84
21.
Parameter settings
85
22.
Adjustment and safety devices
85
23.
Positioning the ignition and flame-sensor electrode
86
24.
Checking combustion parameters
87
25.
Output/pump head performance
87
26.
Connecting the external probe
88
27.
Connecting an external storage boiler
88
28.
Annual servicing
89
29.
Draining the heating circuit
89
30.
Cleaning the filters
90
31.
Removing scale from the DHW circuit
90
32.
Dismounting the water-water heat exchanger
91
33.
Circuit diagram
92
34.
Illustrated wiring diagram
96
35.
Technical data
100
CONTENTS
INSTRUCTIONS FOR USERS
INSTRUCTIONS FOR FITTERS
De Dietrich
declares that these models of boiler bear the CE mark in compliance
with the basic requirements of the following Directives:
- Gas directive 2009/142/EC
- Efficiency Directive 92/42/EEC
- Electromagnetic Compatibility Directive 2004/108/EC
- Low Voltage Directive 2006/95/EC
69
71.03982.03 - EN
OPERATING INSTRUCTIONS
This boiler has been designed to heat water to a temperature lower than boiling point at atmospheric pressure. It must
be connected to a central heating system and to a domestic hot water supply system according to its performance and
power output.
Before having the boiler installed by a qualified fitter, make sure the following operations are performed:
a) Make sure that the boiler is adjusted to use the type of gas delivered by the gas supply. To do this, check the markings
on the packaging and the rating plate on the appliance.
b) Make sure that the flue terminal draft is appropriate, that the terminal is not obstructed and that no exhaust gases
from other appliances are expelled through the same flue duct, unless the latter has been specially designed to collect
exhaust gas from more than one appliance, in compliance with current laws and regulations.
c) Make sure that, if the boiler is connected to existing flue ducts, these have been thoroughly cleaned as residual products
of combustion may detach from the walls during operation and obstruct the flow of fumes.
d) To ensure correct operation and maintain the warranty, observe the following precautions:
1. DHW circuit:
1.1.
If the water is harder than 20 °F (1 °F = 10 mg calcium carbonate per litre of water), install a polyphosphate
dispenser or an equivalent treatment system, compliant with current regulations.
1.2.
Thoroughly flush the system after installation of the appliance and before use.
1.3.
The materials used for the product’s DHW circuit comply with Directive 98/83/CE.
2. Heating circuit
2.1. new system
Before proceeding with installation of the boiler, the system must be cleaned and flushed to eliminate residual
thread-cutting swarf, solder and any solvents, using suitable proprietary products. To avoid damaging metal, plastic
and rubber parts, only use neutral cleaners, i.e. non-acid and non alkaline. Recommended cleaning products are:
SENTINEL X300 or X400 and FERNOX Regenerator for heating circuits. Use these products in strict compliance
with the manufacturers’ instructions.
2.2. existing system:
Before installing the boiler, drain the system and clean it to remove sludge and contaminants, using suitable
proprietary products as described in section 2.1.
To avoid damaging metal, plastic and rubber parts, use only neutral cleaners, i.e. non-acid and non-alkaline such as
SENTINEL X100 and FERNOX Protector for heating circuits. Use these products in strict compliance with the
manufacturers’ instructions.
Remember that the presence of foreign bodies in the heating system can adversely affect boiler operation (e.g.
overheating and excessive noise of the heat exchanger).
Failure to observe the above will render the warranty null and void
.
1. INSTRUCTIONS PRIOR TO INSTALLATION
Initial lighting of the boiler must be carried out by an authorised Service Engineer who must first ensure that:
a) the rated data correspond to the supply (electricity, water and gas) data;
b) the installation complies with current laws and regulations;
c) the appliance is correctly connected to the power supply and earthed. Failure to observe the above will render the
guarantee null and void.
Prior to commissioning, remove the protective plastic coating from the boiler. Do not use any tools or abrasive detergents
to do this as you may damage the painted surfaces.
The appliance is not intended to be used by persons (including children) with reduced physical, sensory or mental
capacities, or who lack experience or knowledge, unless, through the mediation of a person responsible for their
safety, they have had the benefit of supervision or of instructions on the use of the appliance.
2. INSTRUCTIONS PRIOR TO COMMISSIONING
70
71.03982.03 - EN
OPERATING INSTRUCTIONS
To light the boiler correctly, proceed as follows:
1) power the boiler
2) open the gas tap;
3) press the button (
)
and switch the boiler to Summer ( ), Winter (
) or heating only (
);
4) press the heating circuit (
+/-
) and domestic hot water circuit (
) temperature adjustment buttons ( ) in order to ignite
the main burner.
When the boiler is lit, the symbol ( ) will appear on the display.
In the Summer position ( ) the main burner will only ignite if a DHW tap is opened.
WARNING
During initial ignition, the burner may not ignite (causing the boiler to shut down) until any air in the gas pipes is vented. In
this case, repeat the ignition procedure until gas reaches the burner. Press button ( ), for at least 2 seconds.
3. COMMISSIONING THE BOILER
Operation in the heating mode
Flame present (burner on)
No flame (ignition failure)
Operation in the DHW mode
Generic fault
No water (Low system pressure)
Numerical signal (Temperature, fault code, etc.)
RESET
BUTTON KEY
Figure 1
SYMBOL KEY
On / Off / Summer / Winter / heating only
(
+/-
) : CH temperature adjustment
(
+/-
) : DHW temperature adjustment
Reset
Information
0805_2302 / C
G_2072
Оглавление
- SOMMAIRE
- 5. DESCRIPTION DES TOUCHES (ÉTÉ – HIVER – CHAUFFAGE SEULEMENT – ARRÊT)
- •
- 28. RACCORDEMENT D’UN BALLON SEPARE AVEC UN MOTEUR VANNE 3 VOIES
- 5. DESCRIZIONE TASTO (Estate - Inverno - Solo riscaldamento - Spento)
- •
- 5. DESCRIPTION OF BUTTON (Summer - Winter - Heating only - Off)
- •
- 5. DESCRIPCIÓN DE LA TECLA (Verano - Invierno - Sólo calefacción - Apagado)
- •
- 5. ОПИСАНИЕ НА БУТОН (Лято – Зима – Само отопление – Изключен)
- 8. СМЯНА НА ВИДА ГАЗ
- 13. УКАЗАНИЯ ПРЕДИ МОНТАЖА
- 15. РАЗМЕРИ НА КОТЕЛА
- •
- 28. ГОДИШЕН ПРЕГЛЕД
- SPIS TREŚCI
- 1. OSTRZEŻENIA PRZED ZAINSTALOWANIEM
- 3. ROZRUCH KOTŁA
- 4. REGULACJA TEMPERATURY POKOJOWEJ I CIEPŁEJ WODY UŻYTKOWEJ
- 7. WYŁĄCZENIE KOTŁA 8. ZMIANA GAZU
- 9. WYDŁUŻONY OKRES WYŁĄCZENIA INSTALACJI. OCHRONA PRZED ZAMARZANIEM
- 12. UWAGI OGÓLNE 13. WYMAGANIA INSTALACYJNE
- 14. UWAGI INSTALACYJNE
- 15. WYMIARY KOTŁA
- 16. INSTALOWANIE PRZEWODÓW POWIETRZNO-SPALINOWYCH
- 17. PODŁĄCZENIE ELEKTRYCZNE 18. PODŁĄCZENIE TERMOSTATU POKOJOWEGO
- 19. SPOSÓB ZMIANY RODZAJU GAZU
- •
- 21. USTAWIENIE PARAMETRÓW
- 23. USTAWIENIE ELEKTRODY ZAPŁONOWEJ I JONIZACYJNEJ PŁOMIEŃ
- 24. KONTROLA PARAMETRÓW SPALANIA 25. CHARAKTERYSTYKA NATĘŻENIA PRZEPŁYWU/WYSOKOŚCI PODNOSZENIA
- 26. PODŁĄCZENIE CZUJNIKA ZEWNĘTRZNEGO
- 28. KONSERWACJA ROCZNA
- 30. CZYSZCZENIE FILTRÓW
- 32. DEMONTAŻ WYMIENNIKA WODA-WODA
- 33. SCHEMAT FUNKCJONALNY OBWODÓW
- 34. SCHEMAT POŁACZEŃ ELEKTRYCZNYCH
- 35. CHARAKTERYSTYKA TECHNICZNA
- CUPRINS
- 1. AVERTISMENTE ANTERIOARE INSTALĂRII
- 3. PUNEREA ÎN FUNCŢIUNE A CENTRALEI TERMICE
- 4. REGLAREA TEMPERATURII AMBIANTE ŞI A TEMPERATURII APEI MENAJERE
- 7. OPRIREA CENTRALEI TERMICE 8. SCHIMBAREA TIPULUI DE GAZ
- 10. INTRAREA ÎN FUNCŢIUNE A DISPOZITIVELOR DE SIGURANŢA
- 12. AVERTISMENTE GENERALE 13. AVERTISMENTE ANTERIOARE INSTALĂRII
- 13. INSTALLAZIONE DELLA CALDAIA 14. INSTALAREA CENTRALEI TERMICE
- 14. DIMENSIONI CALDAIA 15. DIMENSIUNILE CENTRALEI TERMICE
- 16. INSTALAREA CONDUCTELOR DE EVACUARE GAZE ARSE ŞI ADMISIE AER
- 17. CONECTAREA LA REŢEAUA ELECTRICĂ 18. CONECTAREA TERMOSTATULUI AMBIENTAL
- 19. MODALITĂŢI DE SCHIMBARE A TIPULUI DE GAZ
- 20. VIZUALIZAREA PARAMETRILOR PE AFIŞAJ (FUNCŢIE “INFO”)
- 21. SETAREA PARAMETRILOR
- 23. POZIŢIONAREA ELECTRODULUI DE APRINDERE ŞI DETECTARE A FLĂCĂRII
- 24. VERIFICAREA PARAMETRILOR DE COMBUSTIE 25. PERFORMANŢE DEBIT/ÎNĂLŢIME DE POMPARE
- 26. CONECTAREA SONDEI EXTERNE
- 28. ÎNTREŢINEREA ANUALĂ
- 30. CURĂŢAREA FILTRELOR
- 32. DEMONTAREA SCHIMBĂTORULUI APĂ-APĂ
- 33. DIAGRAMĂ FUNCŢIONALĂ CIRCUITE
- 34. DIAGRAMĂ CUPLARE CONECTORI
- 35. CARACTERISTICI TEHNICE
- ΠΕΡΙΕΧΟΜΕΝΑ
- 1. ΟΔΗΓΙΕΣ ΠΡΙΝ ΤΗΝ ΕΓΚΑΤΑΣΤΑΣΗ
- 3. ΘΕΣΗ ΣΕ ΛΕΙΤΟΥΡΓΙΑ ΤΟΥ ΛΕΒΗΤΑ
- 4. ΡΥΘΜΙΣΗ ΤΗΣ ΘΕΡΜΟΚΡΑΣΙΑΣ ΠΕΡΙΒΑΛΛΟΝΤΟΣ ΚΑΙ ΤΟΥ ΝΕΡΟΥ ΟΙΚΙΑΚΗΣ ΧΡΗΣΗΣ
- 7. ΣΒΗΣΙΜΟ ΤΟΥ ΛΕΒΗΤΑ 8. ΑΛΛΑΓΗ ΑΕΡΙΟΥ
- 10. ΕΝΔΕΙΞΕΙΣ-ΕΠΕΜΒΑΣΗ ΣΥΣΤΗΜΑΤΩΝ ΑΣΦΑΛΕΙΑΣ
- 12. ΓΕΝΙΚΕΣ ΠΛΗΡΟΦΟΡΙΕΣ 13. ΟΔΗΓΙΕΣ ΠΡΙΝ ΤΗΝ ΕΓΚΑΤΑΣΤΑΣΗ
- 13. INSTALLAZIONE DELLA CALDAIA 14. ΕΓΚΑΤΑΣΤΑΣΗ ΤΟΥ ΛΕΒΗΤΑ
- 14. DIMENSIONI CALDAIA 15. ΔΙΑΣΤΑΣΕΙΣ ΛΕΒΗΤΑ
- 16. ΕΓΚΑΤΑΣΤΑΣΗ ΑΓΩΓΩΝ ΑΠΑΓΩΓΗΣ - ΑΝΑΡΡΟΦΗΣΗΣ
- 17. ΗΛΕΚΤΡΙΚΗ ΣΥΝΔΕΣΗ 18. ΣΥΝΔΕΣΗ ΤΟΥ ΘΕΡΜΟΣΤΑΤΗ ΔΩΜΑΤΙΟΥ
- 19. ΤΡΟΠΟΣ ΑΛΛΑΓΗΣ ΑΕΡΙΟΥ
- 20. ΑΠΕΙΚΟΝΙΣΗ ΠΑΡΑΜΕΤΡΩΝ ΣΤΗΝ ΟΘΟΝΗ (ΛΕΙΤΟΥΡΓΙΑ «INFO»)
- 21. ΡΥΘΜΙΣΗ ΠΑΡΑΜΕΤΡΩΝ
- 23. ΤΟΠΟΘΕΤΗΣΗ ΗΛΕΚΤΡΟΔΙΟΥ ΑΝΑΦΛΕΞΗΣ ΚΑΙ ΑΝΙΧΝΕΥΣΗΣ ΦΛΟΓΑΣ
- 24. ΕΛΕΓΧΟΣ ΠΑΡΑΜΕΤΡΩΝ ΚΑΥΣΗΣ 25. ΧΑΡΑΚΤΗΡΙΣΤΙΚΑ ΠΑΡΟΧΗΣ / ΜΑΝΟΜΕΤΡΙΚΟΥ ΥΨΟΥΣ ΣΤΗΝ ΠΛΑΚΑ
- 26. ΣΥΝΔΕΣΗ ΤΟΥ ΕΞΩΤΕΡΙΚΟΥ ΑΙΣΘΗΤΗΡΑ
- 28. ΕΤΗΣΙΑ ΣΥΝΤΗΡΗΣΗ
- 30. ΚΑΘΑΡΙΣΜΟΣ ΤΩΝ ΦΙΛΤΡΩΝ
- 32. ΑΠΟΣΥΝΑΡΜΟΛΟΓΗΣΗ ΕΝΑΛΛΑΚΤΗ ΝΕΡΟΥ-ΝΕΡΟΥ
- 33. ΛΕΙΤΟΥΡΓΙΚΟ ΣΧΕΔΙΟ ΚΥΚΛΩΜΑΤΩΝ
- 34. ΣΧΕΔΙΟ ΣΥΝΔΕΣΗΣ ΣΥΝΔΕΣΜΩΝ
- 35. ТЕХНИЧЕСКИ ХАРАКТЕРИСТИКИ
- 5. ОПИСАНИЕ КНОПКИ (Лето – Зима – Только Отопление – Выключено)
- •
- 5. 锅炉运行模式选择
- 错误信息及故障表

