Gorenje GMO-23 A – page 4
Manual for Gorenje GMO-23 A
Table of contents
- SPECIFICATIONS Before you call for service Radio interference Installation
- IMPORTANT Important safety instructions Safety instructions for general use Always have the glass tray, roller arms, coupling and roller track in place when operating the oven.
- 16. To reduce the risk of fire in the oven cavity:
- Computer control panel Feature diagram
- Operation Instruction 1. Single Button Heating 2. Microwave Heating 3. Auto weight defrost 4. Grill 5. Combination Cooking 6. Auto-Menu
- 7. Clock 8. Timer 9. Child-safety-lock 10. Start/Reset
- Care of your microwave oven Environment Guarantee & service
61
mosogassuk
el meleg vìzben egy kis
tisztìtószer segìtségével, vagy
mosogatógépben is tisztìthatjuk.
7.
A csapágy-gyűrűt és a sütő belsejének alját
(alsó lemez) szintén szükséges
rendszeresen tisztìtani, mivel egyébként
működés közben a sütő zajt adhat ki. A
készülék belsejének alsó részét egyszerűen
töröljük át kìmélő tisztìtószer és vìz, vagy
ablaktisztìtó segìtségével, majd szárìtsuk
meg. A csapágy-gyűrűt meleg vìz és egy
kis tisztìtószer segìtségével tisztìthatjuk,
vagy mosogatógépben is moshatjuk.
Hosszabb haszn
álat után a csapágy-gyűrű
kerekein pára gyűlhet össze a főzéstől, ez
azonban nincs kihatással a működésére.
Amikor a csapágy-gyűrűt eltávolìtjuk a sütő
aljának vájatából, ügyeljünk arra, hogy
helyesen is tegyük vissza.
8.
A sütőből áradó esetleges kellemetlen
szagokat úgy távolìthatjuk el, ha egy mély
edénybe egy pohár vizet öntünk, amibe
belevágjuk egy citrom héját, majd az edényt
5 percre a mikrohullámú sütőbe tesszük, a
sütőt bekapcsoljuk. A működést követően
alaposan szárìtsuk meg a sütő belsejét és
pu
ha ruhával töröljük át.
9.
Ha a sütőben szükségessé válik az izzó
cseréje, forduljunk a forgalmazóhoz.
K örnyezetvédelem
A feleslegess
é vált készülék szelektìv
hullad
ékként kezelendő. Kérjük, hivatalos
újrahasznosìtó gyűjtőhelyen adja le, ìgy
hozz
ájárul a környezet védelméhez.
Jótállás és szerviz
Ha információra van szüksége, vagy forduljon az
adott ország Gorenje vevőszolgálatához (a
telefonszámot megtalálja a világszerte érvényes
garanc
ialevélen). Ha országában nem működik
vevőszolgálat, forduljon a Gorenje helyi
szaküzletéhez vagy a Gorenje háztartási
kisgépek és szépségápolási termékek
üzletágának vevőszolgálatához.
Csak személyes használatra!
A
SOK ÖRÖMET KÍVÁN
MIKROHULLÁMÚ SÜTŐJE
HASZNÁLATA SORÁN!
Kiegészìtő sütési javaslatokat és egyébb
hasznos információkat a mikrohullámu
sütőhöz megtalálhatja a következő web-
oldalon:
http://microwave.gorenje.com
62
INSTRUKCJA OBSŁUGI PL
Instrukcję obsługi należy uważnie przeczytać i zachować.
Charakterystyki techniczne
Zasilanie elektryczne .............................................................................................. 230V~50Hz,1280W
Moc użyteczna ............................................................................................................................. 900W
Mo
c grilowania, grzałka grilowa ................................................................................................. 1200W
Częstotliwość robocza: .......................................................................................................... 2450MHz
Wymiary zewnętrzne: ................................................................. 510mm(Ńz) X 303mm(V) X 382mm(G)
Wymiary w
nętrza (komory): ....................................................... 330mm(Sz) X 212mm(V) X 330mm(G)
Pojemność kuchenki: ............................................................................................................... 23 litrόw
Waga netto: ......................................................................................................................
około 14,5 kg
Poziom hałasu: ................................................................................................................ Lc < 58 dB (A)
Przed wezwaniem serwisu
1.
Jeśli kuchenka nie działa, jeśli wyświetlacz
wyłączył się lub nie wyświetla komunikatόw:
a)
Należy sprawdzić czy urządzenie jest
prawidłowo podłączone do sieci
zasilania elektrycznego. Jeśli nie,
należy wyciągnać przewόd elektryczny
kuchenki z gniazdka zasilania
elektrycznego i po 10 sekundach
powtόrnie włączyć urządzenie.
b)
Należy sprawdzić bezpieczniki i
gniazdko przewodu zasilającego.
Gniazdko najłatwiej sprawdzić,
podłączając do niego inne urządzenie
elektryczne.
2.
Jeśli kuchenka nie grzeje tzn. nie dochodzi
do emisji en
ergii mikrofalowej, należy:
a)
Sprawdzić ustawienie timera.
b)
Sprawdzić, czy drzwiczki kuchenki
zostały domknięte a zamki
bezpieczeństwa zamknięte. W
przeciwnym razie emisja enerii
mikrofalowej została uniemożliwiona.
W przypadku nie możności rozwiązania
problemu, mimo wykonania w/w
czynności , należy zwrόcić się do
autoryzowanego punktu serwisowego.
Zakłócenia w odbiorze fal radiowych i elewizyjnych
Kuchenka mikrofalowa może spowodować
zakłócenia w działaniu odbiornikόw
telewizyjnych, radiowych itp. B
y usunąć lub
zmniejszyć zakłócenia, należy:
a)
Oczyścić drzwiczki kuchenki i powierzchnie
uszczelek.
b)
Umieścić odbiorniki televizyjne lub radiowe
jak najdalej od kuchenki mikrofalowej.
c)
Wyposażenie odbiornikόw w anteny i
umieszczenie ich w sposόb, ktόry umożliwi
najsilniejszy odbiόr sygnału.
Ostrzeżenie:
Urządzenie przeznaczone jest tylko do użytku
w warunkach gospodarstwa domowego.
Oddziaływanie energii elektromagnetycznej,
służy wyłącznie do podgrzewania żywności
oraz napojów. Kuchenki należy używać tylko
w zamkniętych pomieszczeniach.
Instalacja
1.
Należy przekonać się, że opakowanie
zostało usunięte, przede wszystkim z
wnętrza komory i z wewnętrznej strony
drzwiczek.
2.
Po rozpakowaniu kuchenki należy upewnić
się, że kuchenka nie posiada
następujących uszkodzeń:
-
pochyłe drzwiczki,
- uszkodzone drzwiczki,
- wgniecenia lub dziury w szkle (oknie) na
drzwiczkach lub wyświetlaczu,
- wgniecenia w komorze kuchenki.
Kuchenki mikrofalowej nie należy używać,
jeśli znalezione zostanie ktόreś z podanych
wyżej uszkodzeń.
Urządzenie to oznaczono zgodnie z
europejską wytyczną 2002/96/EG o
zużytych urządzeniach elektrycznych i
elektronicznych (waste electrical and
electronic equipment - WEEE).
Wytyczna ta określa ramy
obowiązującego w całej Unii Europejskiej
odbioru i wtórnego wykorzystania
starych urządzeń.
63
3.
Ciężar kuchenki mikrofalowej wynosi około
14,5
kg; zaleca się, aby kuchenkę
mikrofalową umieścić na twardej, stabilnej
powierzchni poziomej, ktόra będzie w stanie
utrzymać jej ciężar.
4.
Kuchenkę należy umieścić zdala od źrόdeł
wysokich temperatur i pary.
5.
Na kuchence nie powinno stawiać się
niczego.
6.
Kuchenka mikrofalowa powinna być
ustawiona tak, aby jej tylna część oddalona
była od ściany o co najmniej 10 cm,
natomiast przedmioty lub ściany po jej
bokach winny być w odległości przynajmniej
8 cm. Taki sposób ustawienia kuchenki
gwarantuje najlepszą wentylację.
7.
NIE WOLNO USUWAĆ
podstawy
obrotowej talerza.
8.
Podobnie jak w przypadku innych urządzeń
elektrycznych, używanie kuchenki
mikrofalowej przez dzieci powinno
przebie
gać pod kontrolą rodziców lub osoby
dorosłej.
OSTRZEŻENIE:
URZĄDZENIE NALEŻY
UZIEMIĆ
9.
Gniazdko przewodu zasilającego kuchenkę,
musi być łatwo dostępne.
10. Kuchenka mikrofalowa wymaga mocy 1,3
kVA
– przed podłączeniem należy
zasięgnąć porady pracownika punktu
serwisowego lub wykwalifikowanej osoby.
UWAGA:
Kuchenka mikrofalowa jest
zabezpieczona. Posiada ona wewnętrzny
bezpiecznik o właściwościach: 250 V, 10A.
WA
ŻNE:
Kolor i znaczenie poszczególnych
przewodnikόw przewodu zasilającego:
Zieleno-
żόłty: uziemienie
Niebieski:
neutralny
Brązowy:
prąd
Ponieważ kolor przewodnikόw może
odbiegać od kolorόw podanych w gniazdku,
należy uwzględnić co następuje:
- przewodnik koloru zielono-
żόłtego należy
podłączyć na końcόwkę oznaczoną literą
E
lub symbolem uziemienia.
-
przewodnik koloru niebieskiego należy
podłączyć na końcόwkę oznaczoną literą
N
lub oznaczoną kolorem czarnym.
-
przewodnik koloru brązowego należy
podłączyć na końcόwkę oznaczoną literą
L
lub oznaczoną kolorem czerwonym.
Ważne wskazόwki bezpi eczeństwa
UWAGA:
Podczas korzystania z funkcji
mikrofale + grill dochodzi do znacznego
wzrostu temperatury. W tym wypadku
zaleca się, by dzieciom podczas
użytkowania kuchenki towarzyszyła osoba
dorosła (tylko dla kuchenek posiadających
funkcję grilowania).
UWAGA:
Jeśli uszkodzone są drzwiczki
lub powierzchnie uszczelniające, kuchenka
nie powinna być uruchamiana do czasu jej
naprawy przez wykwalifikowaną osobę.
UWAGA:
Wykonywanie jakichkolwiek
czynności serwisowych lub naprawczych
związanych ze zdejmowaniem ktόrejkolwiek
z pokryw lub części obudowy, dających
osłonę przed energią mikrofalową jest
niebezpieczne dla każdego i łączy się z
ryzykiem. Dlatego tego rodzaju czynności
powinna dokonywać wyłącznie osoba
wykwalifikowana.
UWAGA:
Cieczy i innych artykułόw
żywnościowych nie wolno ogrzewać w
szczelnych pojemnikach, gdyż są one
podatne na eksplozję.
UWAGA:
Urządzenie nie jest przeznaczone
do użytku przez osoby (w tym dzieci) z
ograniczonymi zdolnościami fizycznymi,
sensorycznymi lub umysłowymi, a także
nie
posiadające wiedzy lub doświadczenia w
użytkowaniu tego typu urządzeń, chyba że
będą one nadzorowane lub zostaną
poinstruowane na temat korzystania z tego
urządzenia przez opiekuna. Nie pozwalaj
dzieciom bawić się urządzeniem.
Kuchenka mikrofalowa powinna
działać w
warunkach umożliwiających dostateczne
krążenie powietrza. Dlatego musimy za
kuchenką zapewnić co najmniej 8 cm
przestrzeni, po bokach przynajmniej 10 cm
a nad nią 10 cm. Usuwanie nóżek kuchenki
oraz pokrywanie odwietrzników jest
zabronione.
Do
gotowania należy używać wyłącznie
naczyń i przyrządόw specjalnie
przeznaczonych do zastosowania w
kuchenkach mikrofalowych.
Podczas podgrzewania żywności w
pojemnikach plastykowych lub
papierowych, należy często sprawdzać
proces gotowania ze względu na możliwość
zapłonu pojemnikόw.
W przypadku pojawienia się dymu,
wyłączyć kuchenkę lub odłączyć ją od sieci
64
zasilania i nie otwierać drzwiczek, by
stłumić możliwe płomienie.
Mikrofalowe podgrzewanie napojόw może
powodować opόźnione nagłe wykipienie,
dlatego
też zaleca się uważne
manipulowanie naczyniami w których były
one podgrzewane.
Po podgrzaniu pożywienia dla dzieci
(niemowląt) w butelkach lub słoikach (bez
zakrętki i smoczka), należy zawartość
dobrze wymieszać lub wstrząsnąć. Przed
podaniem pożywienia należy sprawdzić
jego temperaturę, aby uniknąć możliwości
oparzeń.
Nie należy gotować jajek w skorupie ani
podgrzewać ugotowanych jajek na twardo,
gdyż mogą pęknąć, nawet po
zakończonym już podgrzewaniu.
Do czyszczenia drzwiczek kuchenki,
powierzchni uszc
zelniających oraz wnętrza,
należy używać łagodnych środkόw
czyszczacych oraz gąbek lub miękkich
szmatek.
Kuchenkę mikrofalową należy
systematycznie i dokładnie czyścić, oraz
usunąć z jej wnętrza resztki jedzenia.
Nieregularna pielęgnacja kuchenki
mikrof
alowej może spowodować
uszkodzenia jej powierzchni, co z kolei
może ujemnie wpłynąć na wiek trwania
urządzenia, oraz może wywołać
niebezpieczeństwo.
W przypadku uszkodzenia przewodu
zasilającego, wymiany może dokonać
producent, autoryzowany serwis lub
odpowiednio do tego celu wykwalifikowana
osoba.
Wskazόwki dotyczące bezpiecznego użytkowania kuchenki
Poniżej podane zostały niektόre zasady i
wskazόwki dotyczące bezpieczeństwa, ktόre
(podobnie jak w przypadku użytkowania innych
urządzeń elektrycznych) należałoby uwzględnić.
Zapewni to bezpieczne i najskuteczniejsze
działanie kuchenki.
1.
Podczas działania kuchenki talerz
obrotowy, nośniki rolek, podstawek
(sprzęgło) i pierścień zawsze powinny być
umieszczone na swoim miejscu.
2.
Kuchenki należy używać wyłącznie do
przyrządzania potraw. Nie wolno używać jej
do suszenia ubrań, papieru lub innych
przedmiotów. Nie nadaje się ona również
do procesu sterylizacji przedmiotów czy
żywności.
3.
Nie wolno włączać pustej kuchenki, gdyż
może to spowodować jej uszkodzenie.
4.
W wnętrzu kuchenki nie należy
przechowywć przedmiotόw, a w
szczególności książek kucharskich, gazet
itp.
5.
Potrawy, które posiadają błonę, czy otacza
ich skórka tj. żółtka, ziemniaki, wątróbki
drobiowe i tym podobne, należy przed
gotowaniem kilkakr
otnie nakłóć widelcem.
6.
Do otworów znajdujących się po
zewnętrznej stronie kuchenki nie wolno
wkładać żadnych przedmiotów.
7.
Z kuchenki nie wolno usuwać żadnych
części, takich jak nóżki, śruby, złącza itp.
8.
Potraw nie należy gotować bezpośrednio
na szklanym talerzu.
Żywność zawsze należy włożyć do
odpowiedniego naczynia.
WAŻNE:
W kuchence mikrofalowej nie należy
używać:
-
naczyń metalowych lub naczyń z
metalowymi uchwytami.
-
naczyń z metalowym wykończeniem lub
dekoracją.
- klamer drucianych powlekanych
papierem do wiązania worków foliowych.
-
naczyń z melaminu, ponieważ zawierają
one substancje wchłaniające energię
mikrofalową. Grozi to pęknięciem
naczynia lub jego zwęgleniem. Co
więcej, przedłuża to czas
przygotowywania żywności.
-
naczyń, ktόrych powierzchnia nie jest
przystosowana do użycia w kuchence
mikrofalowej. Nie należy również używać
zamkniętych filiżanek z uchwytami.
-
pojemników o małych otworach lub
butelek z wąskimi szyjkami, gdyż mogą
one podczas podgrzewania pęknąć.
- zwyk
łych termometrów do mięsa lub
wypieków. Na rynku dostępne są
specjalne termometry, które
przystosowane są do zastosowania w
kuchenkach mikrofalowych.
9.
Przyrządy przeznaczone do użycia w
kuchence mikrofalowej należy używać
zgodnie z instrukcją obsługi ich producenta.
10.
Kuchenka mikrofalowa nie nadaje się do
smażenia potraw.
11.
Należy pamiętać, iż energia mikrofalowa nie
nagrzewa naczyń w których
przygotowywana jest żywność. Mimo iż
naczynie, będzie na dotyk chłodne,
temperatura artykułu żywnościowego
65
b
ędzie tak samo wysoka jak po zwykłym
gotowaniu. Dlatego po odsłonięciu
(chłodnej) przykrywki potrawa będzie
parować.
12.
Przed spożyciem należy sprawdzić
temperaturę żywności, szczególnie jeśli
chodzi o artykuły żywnościowe dla dzieci i
niemowląt. Radzi się, aby po wyjęciu
żywności z kuchenki poczekać kilka minut,
potrawę należy przemieszać lub wstrząsnąć
aby temperatura pożywienia była
rόwnomiernie rozprowadzona.
13.
Żywność zawierającą tłuszcze i wodę
należy po wyłączeniu się kuchenki
przetrzym
ać w niej przez kolejnych 30 - 60
sekund. Spowoduje to uspokojenie się
składników. Potrawa po wstawieniu do niej
łyżki lub dodaniu kostki Maggi nie będzie
się pienić.
14.
Należy pamiętać, że czas przygotowywania
niektórych potraw (np. budyniu wigilijnego,
marmolady lub mielonego mięsa), jest
krótszy w porównaniu z ich tradycyjnym
przygotowywaniem. Do podgrzewania
potraw zawierających dużą ilość tłuszczu
lub cukru nie wolno używać naczyń z
tworzyw sztucznych..
15.
Mimo, iż energia mikrofalowa nie nagrzewa
n
aczyń, naczynie może absorbować ciepło
pochodzące z potrawy. Najczęściej pojawia
się to w przypadku pokrycia żywności folią.
By zapobiec poparzeniom, zaleca się
używanie rękawiczek ochronnych, podczas
wyjmowania naczyń z kuchenki.
16.
Aby zmniejszyć możliwość wystąpienia
pożaru w komorze kuchenki:
a)
Należy dokładnie określić czas
przygotowywania żywności i uważać
by jej nie podgrzewać za długo.
Uważnie należy sprawdzać proces
podgrzewania żywności jeśli używamy
do tego przyrządów papierowych, z
tworzyw sz
tucznych lub innych łatwo
palnych materiałów.
b)
Należy usunąć druciane spinki czy
sznurki, którymi związana jest
pakowana w woreczkach żywność.
c)
Nie wolno otwierać drzwiczek kuchenki
w przypadku zapalenia się wsadu.
Kuchenkę należy natychmiast odciąć
od zasilania prądu przez wyciągnięcie
wtyczki z gniadzka lub przez
odkręcenie bezpiecznika z głównej
tablicy rozdzielczej.
66
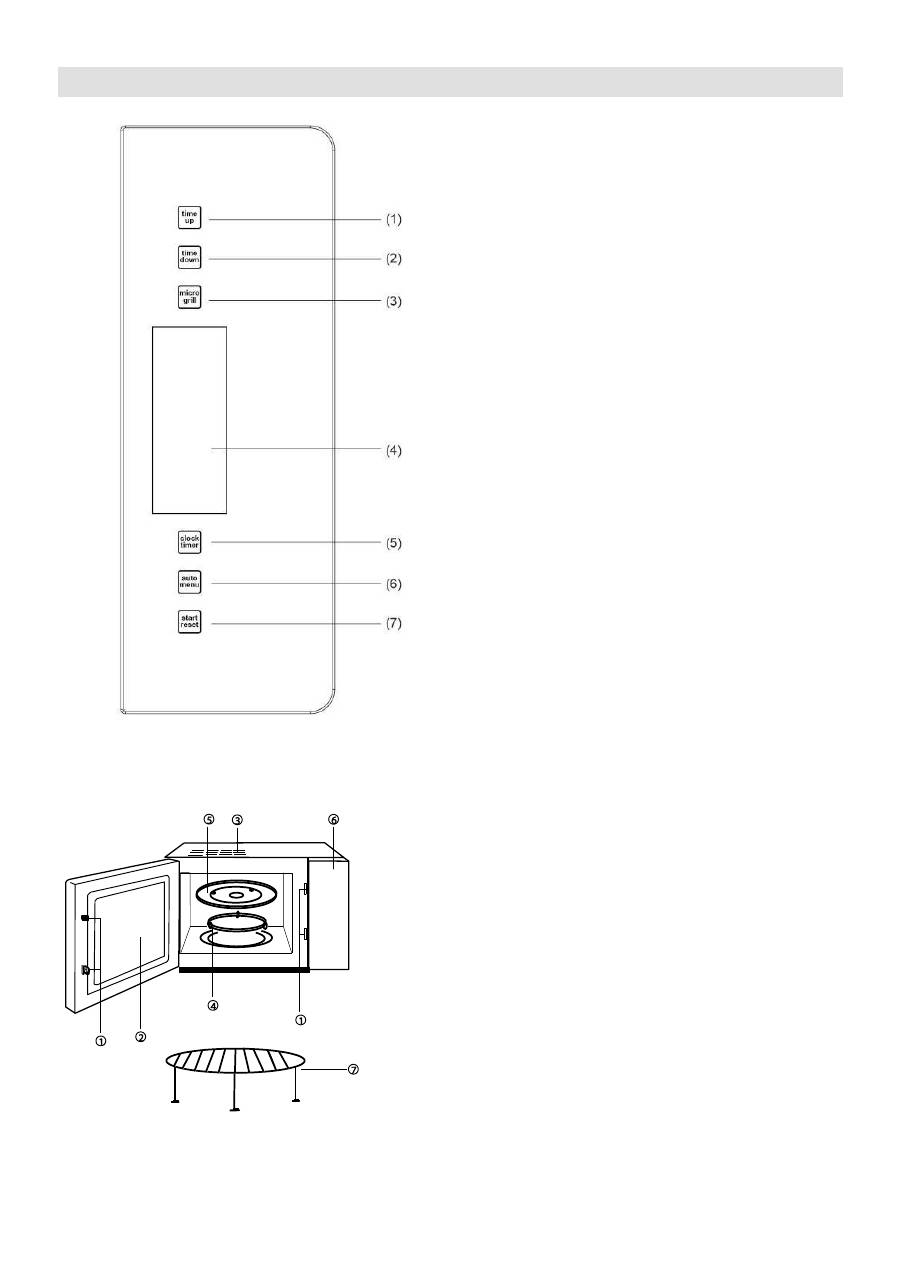
Opis kuchenki
1.
Wybór czasu +
2.
Wybór czasu -
3.
Wybór sposobu gotowania i pieczenia
(mikrofale, rozmara
żanie, ruszt i
kombinacja)/ Cooking mode (microwave,
defrost, grill and combination)
4.
Wyświetlacz
5.
Ustawienie czasu i zegar programujący/
Time set and Timer
6.
Wybór menu/ Auto menu
7.
Rozpoczęcie i przerwanie działania/ Start –
reset function
1.
Ochronny system zatrzaskόw drzwi
2.
Okno kuchenki
3.
Odwietrznik
4.
Pierścień łożyska
5.
Szklany talerz
6.
Panel sterujący
7.
Ruszt do grilowania
67
Instrukcja obsługi
1. Podgrzewanie przez na
ciśnięcie
jednego przycisku
Kuchenka umożliwia, by jednym
naciśnięciem przycisku rozpocząć proces
gotownia. Funkcja ta jest bardzo wygodna i
pomocna, gdyż pozwala na szybkie
podgrzanie szklanki wody itp.
Przykład:
Podgrzanie szklanki melka
a)
Szklankę z mlekiem należy umieścić
na szklanym talerzu obrotowym i
zamknąć drzwiczki kuchenki.
b)
Naciśnięciem przycisku "Start/Reset"
uruchamia się kuchenkę, ktόra będzie
oddziaływała przez kolejną minutę
100% siłą mikrofali.
c)
Zakończony program oznajmi 5
sygnałόw dźwiękowych.
2. Podgrzewanie przy pomocy
mikrofali
W zakresie tej funkcji istnieją dwie
możliwości.
a)
Szybkie podgrzewanie mikrofalami
(100% siły oddziaływania)
Przykład: Gotowanie – czas 5 minut, siła
oddziaływania mikrofali 100%.
1.
Należy określić czas gotowania np.
"5:00".
2.
Nacisnąć "Start/Reset".
b)
Podgrzewanie mikrofalami z ręcznym
ustawieniem ich siły oddziaływania
1.
Należy nacisnąć przycisk "Micro…Auto
menu"
i wybrać siłę oddziaływania
mikrofali np. 70%;
2.
Nastawić czas np. na "10:00".
3.
Nac
isnąć "Start/Reset".
Wybierać można spośrόd 5 poziomόw siły
oddziaływania, najdłuższy czas działania
wynosi 60 minut.
3.
Automatyczne rozmrażanie zależne
od ciężaru żywności
Należy wybrać masę zamrożonego artykułu
żywnościowego, kuchenka sama określi
optymalną siłę oddziaływania mikrofali i
potrzebny czas do przygotowania żywności.
Przykład:
Rozmrażanie 0,5 kg
zamrożonego mięsa.
a)
By dokonać wyboru "DEF", należy
nacisnąć przycisk "Micro…Auto
menu".
b)
Trzeba podać masę artykułu
żywnościowego. Do tego służą
przyciski "1min" (1 kg) i "10sec" (0,1
kg).
c)
Kuchenka zostanie uruchomiona,
naciśnięciem przycisku "Start/Reset".
Masa zamrożonego artykułu
żywnościowego nie może przekraczać 2 kg.
4. Grill
W zakres tej funkcji wchodzą dwa sposoby.
Aby z niej skorzystać należy nacisnąć
przycisk
"Mikrofale…Meni automatycznego
gotowania" (najdłuższy czas gotowania to
60 min)
Sposób 1:
85% mocy grillowania, na
wyświetlaczy wyświetla się komunikat G-1
Sposób 2:
50% mocy grillowania, na
wyświetlaczy wyświetla się komunikat G-2
Przykład:
Przygotowanie żywności na
grillu, 20 minut
a)
Należy nacisnąć przycisk
"Mikrofale…Meni automatycznego
gotowania" , aż na wyświetlaczu LED
pojawi się komunikat "G-1".
b)
Ustawić czas gotowania "20:00".
c)
Nacisnąć przycisk "Start/Reset".
Podczas grillowania, żywność w kuchence
nie ogrzewa sie dzięki mikrofalom. Ciepło
emanuje
stalowa grzałka umieszczona w górnej
części kuchenki.
Podczas działania grilla, gotowanie
(grillowanie) może przebiagać w dwóch
poziomach, po
zakończeniu pierwszej połowy grillowania
program samoistnie wyłączy się. Dwa
sygnały
dźwiękowe zasygnalizują, iż nastąpił czas,
aby o
dwrucić żywność. Po odwruceniu
artykułu
spożywczego należy zamknąć drzwiczki i
nacisnąć przycisk "Start/Reset". Program
będzie
Gombnyomás
ok száma
"Micro"
A mikrohullámú
sugarak
teljesítménye
Felirat a
kijelzőn
1
100%
P100
2
70%
P70
3
50%
P50
4
30%
P30
5
10%
P10
68
kontynuowany. Jeśli zaś nie chcemy
odwrucić żywności, program z działaniem
po upływie jednej
5. Kombinowane
oddziaływanie
Kuchen
ka umożliwia dwa sposoby
przygotowywania żywności za pomocą
kombinacji mikrofali i grilla.
Sposób 1:
Łączne oddziaływanie (55%
mikrofale + 45% grill
). Na wyświetlaczu
zostanie
wyświetlony komunikat "C-2".
Sposób 2:
Łączne oddziaływanie (30%
mikrofale + 70% grill
). Na wyświetlaczu
zostanie
wyświetlony komunikat "C-1".
Przykład:
Przygotowanie żywności, sposób
2, 15 minut
a)
Należy nacisnąć przycisk
"Mikrofale…Meni automatycznego
gotowania" , aż na wyświetlaczu LED
pojawi się komunikat "C-2".
b)
Ustawić czas gotowania "15:00".
c)
Nacisnąć przycisk "Start/Reset".
6. Menu automatyczne
Należy wybrać tylko rodzaj żywności i jej
ciężar. Kuchenka sama dostosuje siłę i
czas oddziaływania mikrofali.
Przykład: Automatyczne gotowanie 0,4kg
ryby
a)
Należy naciskać przycisk
"Mikrofale…Meni automatycznego
gotowania" , aż na wyświetlaczu
pojawi się komunikat "A-5".
b)
Ciężar żywności określa się za
pomocą przycisków »time up«(1 kg) i
»time down« (0,1 kg). Należy naciskać
odpowiedni przycisk, aż na
wyświetlaczu pojawi się komunikat
"0,4".
c)
Nacisnąć przycisk "Start/Reset".
Liczba
naciśnięć
na
przycisk
"1min"
Ciężar. Rodzaj żywności
A-1
Ryż
A-2
Warzywa
A-3
Makaron
1
0,1
0,1
1
2
0,2
0,2
2
3
0,3
0,3
4
0,4
0,4
5
0,5
0,5
6
0,6
Liczba
naciśnięć
na przycisk
"1min"
Ciężar. Rodzaj żywności
A-4
Mięso
A-5
Ryba
A-6
Drób
1
0,2
0,2
0,2
2
0,3
0,3
0,4
3
0,4
0,4
0,6
4
0,5
0,5
0,8
5
0,6
0,6
1,0
6
0,8
0,8
7
1,0
1,0
7. Zegar dygitalny
Kuchenka jest zaopatrzona w zegar
dygitalny. W celu ustawienia czasu
(przykładowo 16:30)należy:
1.
Nacisnąć przycisk "Zegar/Timer".
Komunikat na wyświetlaczu zacznie
mrugać. Naciskając przycisk »time up«
i
»time down« ustawiamy godzinę.
2.
Ponownie nacisnąć przycisk
"Zegar/Timer". Za pomocą przycisków
»time up« i »time down«, należy
ustawić minuty.
3.
Nacisnać przycisk "Zegar/Timer".
Nowo ustawiony czas zostanie
wyświetlony.
4.
Aby ustawić zegar, należy za każdym
razem powtórzyć w/w kolejność.
8. Timer
Timer umożliwia dowolne ustawienie
rozpoczęcia i zakończenia działania
kuchenki. Aby skorzystać z tej funkcji
należy upewnić się, że zegar kuchenki
został dokładnie ustawiony.
Przykład:
W tym momencie jest 16:30. Z
przygotowaniem żywności chcemy
rozpocząć o godzinie 18:15. Chcemy aby
kuchenka działała o mocy 70% przez 10
minut.
a)
Należy nacisnąć przycisk "
Zegar/Timer". Za pomocą przycisków
»time up« i »time down« należy
ustawić czas na 18:15 (identyczny
proces jak podczas ustawiania
zegara).
b)
Naciskając przycisk "Mikrofale…Meni
automatycznego gotowania" należy
wybrać moc działania kuchenki 70%.
c)
Należy ustawić czas gotowania 10
minut
d)
Nacisnąć przycisk "Start/Reset".
Jeśli moc i czas działania (kroki b i c) nie
zostaną ustawione, po naciśnięciu
przycisku "Start/Reset", kuchenka działać
będzie jako budzik. O godzinie 18:15
69
włączy się 10 sygnałow dźwiękowych, po
czym urządzenie wyłaczy się.
9.
Zabezpieczenie/ blokada działania
W celu włączenia zabezpieczenia, należy
nacisnąć i przytrzymać przez 2 sekundy
przyciski "
Wybór czasu +" i
"
Wybór czasu -". W celu wyłączenia tej
funkcji należy powtórzyć działanie.
10. Start / Reset
a)
W przypadku naciśnięcia przycisku
Start/ Reset podczas działania
kuchenki, kuchenka wyłączy się.
b)
W przypadku ustawienia
automatycznego właczenia się
kuchenki, zaprogramowane dzi
ałanie
kuchenki zastanie zanulowane w chwili
nacisnięcia przycisku "Start/ Reset".
Pielęgnacja kuchenki mikrofalowej – czyszczenie i konserwacja
1.
Przed przystąpieniem do czyszczenia
należy kuchenkę obowiazkowo wyłaczyć i
wyciągnąć kabel zasilający z gniazdka.
2.
Wnętrze kuchenki powinno być zawsze
czyste. Jeżeli po zakończonym gotowaniu
na ściankach kuchenki zostały okruchy
potraw lub krople płynu, powinno się je
wytrzeć wilgotną szmatką. Do czyszczenia
należy używać łagodnych środkόw
czyszczących. Nie zaleca się używania
silnych detergentów oraz środków
ściernych.
3.
Powierzchnię zewnętrzną należy czyścić
wilgotną ściereczką. Aby zapobiec
uszkodzeniom lub awarii części
znajdujących się wewnątrz kuchenki, należy
uważać by woda lub inne płyny nie dostały
się do odwietrzników.
4.
Nie wolno zmoczyć panelu sterującego.
Należy czyścić go miękką, wilgotną
ściereczką. Nie powinno się używać silnych
środków czyszczących, środków ściernych,
jak również środków czyszczących w
aerosolu.
5.
Jeśli na wewnętrznych lub zewnętrznych
powierzchniach kuchenki osiada para,
należy zetrzeć ją miękką ściereczką. Para
pojawia się, gdy kuchenka umieszczona
jest w środowisku bardzo wilgotnym. Nie
oznacza to jednak usterki jej działania lub
jej uszkodzenia.
6.
Od czasu do cza
su należy oczyścić rόwnież
szklany talerz. Można umyć go w ciepłej
wodzie i płynem do naczyń lub w zmywarce
do naczyń.
7.
Aby zapobiec powstawaniu hałasu podczas
pracy kuchenki, należy regularnie czyścić
pierścień łożyska i dolną część komory
kuchenki. Za
leca się, aby wnętrze kuchenki
czyścić łagodnymi środkami, wodą lub
środkiem do mycia powierzchni szklanych.
Po czym, należy ją starannie wysuszyć.
Podczas przygotowywania żywności w
wnętrzu kuchenki kumuluje się para, która
wydostaje się z potraw. Para nie wywiara
żadnego wpływu ani na wewnętrzne
powierzchnie kuchenki ani na pierścień
łożyska. Po usunięciu pierścienia łożyska
podczas czyszczenia kuchenki należy
uważać aby później został on
umiejscowiony prawidłowo na pierwotne
miejsce.
70
8.
W celu usunięcia nieprzyjemnych
zapachów w kuchence należy umieścić w
niej głębokie naczynie (przystosowane do
użytku w kuchence mikrofalowe) z wodą.
Do wody należy wycisnąć sok jednej
cytryny i dodać pozostałą skόrkę. Gotować
przez 5 minut. Po zakończonym gotowaniu
nale
ży kuchenkę dokładnie i starannie
osuszyć za pomocą miękkiej ściereczki.
9.
Przed zamianą żarówki w kuchence
mikrofalowej neleży zasięgnąć rady u
sprzedawcy lub w autoryzowanym
zakładzie serwisowym.
Środowisko
Urządzenia po upływie okresu eksploatacyjnego
nie należy usunąć wraz ze zwykłymi odpadami
komunalnymi, lecz oddać na urzędowo
określone składowisko do recyklingu. Postępując
w ten sposób, przyczyniają się Państwo do
zachowania czystego środowiska.
Gwarancja i serwis naprawczy
W celu uzyskania informacji lub w razie
problemów z urządzeniem, zwrócić się do
centrum pomocy użytkownikom Gorenja w
danym państwie (numer telefonu znajduje się na
międzynarodowej karcie gwarancyjnej). Jeżeli w
danym kraju nie ma takiego centrum, należy
zwrócić się do lokalnego sprzedawcy Gorenja
lub Działu małych urządzeń AGD.
Zastrzegamy sobie prawo do zmian!
Zastrzegamy sobie prawo do zmian!
WIELE SATYSFAKCJI Z
KORZYSTANIA KUCHENKI
MIKROFALOWEJ ŻYCZY PAŃSTWU
Dodatkowe zalecenia i wskazówki dotyczące
pieczenia za pomocą mikrofali i grilla
znajduja się na stronie internetowej:
http://microwave.gorenje.com
71
MANUAL DE UTILIZARE RO
Înainte de a utiliza cuptorul, vă rugăm să citiŝi aceste instrucŝiuni cu atenŝie.
CARACTERISTICI
Consum ................................................................................................................. 230V~50Hz, 1280W
Capacitate ................................................................................................................................... 900W
Grill…………………………………………………………………………………. .............................. 1200W
Frecvenţă de operare ............................................................................................................. 2450MHz
Dimensiuni exterioare .................................................................. 510mm(L) x 303mm(H) x 382mm(W)
Dimensiuni cavitate cuptor ........................................................... 330mm(L) x 212mm(H) x 330mm(W)
Capacitate cuptor ......................................................................................................................... 23 litri
Greutate ....................................................................................................................... Approx. 14,5 kg
de zgomot: ...................................................................................................................... Lc < 58 dB (A)
Acest aparat este marcat corespunzător
directivei europene 2002/9/CE în privinŝa
aparatelor electrice şi electronice vechi
(waste
electrical
and
electronic
equipment - WEEE).
Directiva
prescrie
cadrul
pentru
o
preluar
e înapoi, valabilă în întreaga UE, şi
valorificarea aparatelor vechi.
Înainte de a suna la service
1.
Dacă cuptorul nu funcţionează, dacă
afişajul nu se aprinde sau dacă se stinge:
a)
Verificaţi dacă cuptorul este în priză.
Dacă ştecherul nu este bine fixat,
scoateţi-l din priză , aşteptaţi 10
secunde şi puneţi-l la loc.
b)
Verificaţi dacă siguranţele sunt bune
sau dacă nu este un scurt circuit. Dacă
totul este în regulă, verificaţi priza cu
un alt aparat.
2.
Dacă nu porneşte:
a)
Verificaţi dacă timer-ul este setat.
b)
Verificaţi dacă uşa este bine închisă.
Dacă aceasta nu este închisă, cuptorul
nu va porni.
Dacă cuptorul tot nu funcŝionează nici după
ce aŝi verificat situaŝiile de mai sus, chemaŝi
cea mai apropiată unitate de service.
Interferenŝe radio
Cuptoarele cu microunde pot avea interferenţe
cu radio-ul, televizorul sau alte echipamente
similare. Interferenţele pot fi eliminitate sau
reduse, dacă urmaţi următoarele proceduri:
a)
Curăţaţi uşa sau garnitura;
b)
Puneţi aparatul de radio sau TV cât mai
departe de cuptorul cu microunde;
c)
Folosiţi o antenă corect instalată pentru
radio, televizor etc., pentru a obţine un
semnal cât mai bun.
Instalare
1.
Scoateţi toate materialele de ambalare din
interiorul aparatului.
2.
Verificaţi cuptorul după despachetare,
pentru a vedea dacă:
-
uşa este bine aliniată,
-
uşa nu este deteriorată,
-
nu sunt crestături sau găuri pe geamul
de la uşă şi pe ecran,
-
nu sunt crestături în interiorul aparatului,
-
în cazul unor defecţiuni ca cele de mai
sus NU
folosiţi cuptorul.
3.
Acest cuptor are o greutate de 14,5
kg şi
trebuie plasat pe o suprafaţă orizontală,
suficient de puternică pentru a-i suporta
greutatea.
4.
Aparatul nu trebuie pus într-un loc unde
sunt temperaturi ridicate şi aburi.
5.
NU PUNEŢI nimic pe cuptor.
6.
Distanţa dintre zidurile laterale şi cuptor
trebuie să fie de cel puţin 8 cm, iar distanţa
dintre zidul din spate şi cuptor trebuie să fie
de cel puţin 10 cm pentru o ventilare
corectă.
7.
NU SCOATEŢI axul de rotire al platoului.
8.
Nu lăsaţi copiii nesupravegheaţi atunci când
utilizează aparatul.
72
ATENŜIE
– ACEST APARAT TREBUIE
ÎMPĂMÂNTAT
Cablul de alimentare trebuie să ajungă cu
uşurinţă la priză.
Pentru acest cuptor este nevoie de o putere
de alimentare de 1.3 KVA, de aceea este
reco
mandat să consultaţi un tehnician atunci
când instalaţi aparatul.
ATENŜIE:
Cuptorul este protejat de o
siguranţă internă de 250V 10 Amp.
IMPORTANT
– Cablurile sunt colorate
conform următorului cod:
Verde şi galben
Pământ
Albastru
Neutru
Maro
Activ
Deoare
ce culorile cablurilor pot să nu
corespundă cu marcajele de pe priza dvs.,
trebuie procedat în felul următor:
Cablul verde şi galben trebuie conectat la
terminalul marcat cu litera
E
sau cu simbolul
de pământ colorat în verde.
Cablul albastru trebuie conectat la terminalul
marcat cu litera
N
sau colorat în negru. Cablul
maro trebuie conectat la terminalul marcat cu
litera
L
sau colorat în roşu.
Instrucŝiuni importante
ATENŜIE
– pentru a reduce riscul de arderi,
şocuri electrice, incendiu, accidente sau energie
excesivă a microundelor:
1.
Citiţi cu atenţie aceste instrcţiuni, înainte de
a utiliza cuptorul
2.
Unele produse cum ar fi ouăle întregi şi
recipientele sigilate (cum ar fi, de exemplu,
borcanele închise de sticlă şi biberoanele)
pot exploda, de aceea nu este recomandat
să le încălziţi în cuptorul cu microunde.
Pentru detalii, consultaţi o carte de bucate.
3.
Cuptorul trebuie utilizat doar pentru
scopurile menţionate în instrucţiuni.
4.
Acest aparat nu trebuie utilizat de către
persoane (inclusiv copii
) care au capacităţi
fizice, mentale sau senzoriale reduse sau
sunt lipsite de experienţă şi cunoştinţe, cu
excepţia cazului în care sunt supravegheaţi
sau instruiţi cu privire la utilizarea aparatului
de către o persoană responsabilă pentru
siguranţa lor. Copiii trebuie supravegheaţi
pentru a nu se juca cu aparatul.
5.
Nu utilizaţi cuptorul dacă nu funcţionează
corect, dacă a căzut pe jos sau dacă este
deteriorat.
6.
Pentru a reduce riscul de incendii în
cavitatea cuptorului respectaţi următoarele
instrucţiuni:
a)
Nu gătiţi prea mult mâncarea.
Supravegheaţi funcţionarea aparatului
dacă aţi introdus în interior hârtie,
plastic sau alte materiale care ajută la
prepararea mâncării, dar pot fi
inflamabile.
b)
Înainte de a pune pungile în cuptor
îndepărtaţi legăturile de sârmă.
c)
Dacă materialele din interior iau foc,
lăsaţi uşa închisă, scoateţi aparatul din
priză sau opriţi alimentarea cu curent
de la siguranţă.
Instrucŝiuni generale pentru siguranŝa dvs.
Mai jos sunt câteva instrucţiuni şi precauţii de
care
trebuie să ţineţi seama atât pentru siguranţa
dvs., cât şi pentru a asigura o funcţionare cât mai
bună a aparatului:
1.
Atunci când folosiţi cuptorul, asiguraţi-vă că
tava de sticlă şi suportul pe care stă
aceasta sunt la locul lor.
2.
Cuptorul nu trebuie
folosit în alt scop decât
acela de a prepara mâncarea. Nu folosiţi
cuptorul pentru a usca rufe, hârtie sau alte
produse care nu sunt alimentare, sau
pentru a steriliza anumite lucruri.
3.
Cuptorul nu trebuie pornit dacă este gol,
deoarece se poate strica.
4.
Nu folosiţi cavitatea cuptorului ca spaţiu de
depozitare pentru hârtie, cărţi de bucate
etc.
5.
Nu folosiţi cuptorul pentru pregătirea
conservelor, deoarece cuptoarele cu
microunde nu sunt echipate în acest sens,
iar alimentele care nu sunt bine conservate
pot dăuna sănătăţii.
6.
Ouăle cu coajă pot exploda, de aceea nu
este bine să le preparaţi în cuptor. Chiar şi
ouăle curăţate pot exploda uneori în timpul
preparării, de aceea este bine să folosiţi un
capac când gătiţi ouă. După ce terminaţi,
mai lăsaţi capacul pe vas timp de
aproximativ un minut.
7.
Nu gătiţi alimente în membrană cum ar fi
gălbenuşul de la ou, cartofii, ficatul de pui,
înainte de a le fi înţepat de câteva ori cu o
furculiţă.
8.
Nu puneţi nimic în fantele de aerisire de pe
corpul aparatului.
9.
Nu îndepărtaţi piese din cuptor cum ar fi
picioruşele, şuruburile şi altele
asemănătoare.
10.
Nu puneţi alimentele direct pe farfuria de
sticlă. Alimentele trebuie să stea în/pe vase
speciale pentru gătit.
73
IMPORTANT
– CE VASE NU TREBUIE
FOLOSITE ÎN CUPTORUL CU
MICROUNDE:
-
Nu folosiţi tigăi de metal sau vase cu
mânere de metal.
-
Nu folosiţi vase ce au margini de metal.
-
Nu folosiţi pungi de plastic legate cu
sârmă.
-
Nu folosiţi vase din melamină, deoarece
conţin un material care absoarbe energia
microundelor. Vasele pot crăpa, iar
procesul de preparare va fi încetinit.
-
Nu folosiţi pentru gătit sticle cu gât
îngust, deoarece pot exploda.
-
Nu folosiţi termometre obişnuite pentru
carne sau prăjituri. Pe piaţă există
termometre speciale pentru cuptoarele cu
microunde.
11. Instrumentele pentru microunde trebuie
folosite în concordanţă cu instrucţiunile
producătorului.
12.
Cuptorul nu trebuie folosit pentru prăjirea
alimentelor.
13.
Nu uitaţi că cuptorul cu microunde
încălzeşte numai lichidul dintr-un recipient.
De aceea nu uitaţi că atunci când scoateţi
vasele din cuptor, chiar dacă nu sunt calde,
mâncarea sau lichidele din interior sunt
fierbinţi şi vor emite aburi atunci când luaţi
capacul de pe vas.
14.
Testaţi dvs. temperatura alimentelor şi a
l
ichidelor, mai ales dacă gătiţi pentru
bebeluşi. Este recomandabil să nu
consumaţi alimentele imediat ce le-aţi scos
din cuptor, ci să le lăsaţi câteva minute şi să
le amestecaţi pentru a distribui în mod egal
temperatura.
15.
Mâncarea care conţine un amestec de apă
cu grăsime trebuie să stea cam 30-60 de
secunde în cuptor după ce acesta s-a oprit.
Astfel, amestecul nu va bolborosi dacă
puneţi o lingură în el.
16.
Nu trebuie să uitaţi că anumite alimente
cum ar fi budincile, gemul, carnea tocată
etc., se încălzesc foarte repede. Dacă
preparaţi mâncăruri cu conţinut mare de
grăsime sau zahăr nu folosiţi recipiente din
plastic.
17.
Vasele se pot încinge, mai ales dacă au
fost acoperite cu o folie din plastic. Nu uitaţi
să folosiţi mănuşile pentru protecţie.
74
PANOU DE COMENZI
1.
TIMP SUS
2.
TIMP JOS
3.
Microunde / Dezghetare / Grill /
Grill dublu
4.
fereastra afisaj
5.
Ceas / Cronometru
6.
AUTO / MENIU
7.
PORNIT / ANULARE
1.
Sistem de blocare a usii
2.
Geam
3.
Ventilare
4.
Inel rotativ
5.
Tava
6.
Panou de comenzi
7.
Grill
75
Instructiuni de funtionare
1. Incalzire cu un singur buton
Apasati butonul doar o data pentru a porni
incalzirea
– este o modalitate rapida de a
incalzi un pahar cu apa etc.
Exemplu:
Pentru a incalzi un pahar cu
lapte
a)
Puneti paharul de lapte pe tava de
sticla rotativa si inchideti usa.
b)
Apasati butonul »Start/Reset«,
cuptorul cu microunde va functiona la
100% putere timp de un minut.
c)
La final veti auzi 5 semnale sonore.
2. Incalzire microunde
Aceasta functie are doua optiuni.
a)
Incalzire microunde rapida (100%
putere)
Exemplu:
Pentru a incalzi mancarea la
100% putere timp de 5 minute
1.
Setati timpul la »5:00«
2.
Apasati »Start/Reset«
b)
Functionare manuala incalzire
microunde
Exemplu:
Pentru a incalzi mancarea la
70% putere timp de 10 minute
1.
Apasati butonul
"Micro…Auto menu",
selectati »70%« putere;
2.
Setati timpul la »10:00«
3.
Apasati »Start/Reset«
Exista 5 niveluri de putere, iar durata cea mai
lunga de preparare la microunde este de 60
minute.
3. Auto-dezghetare
Selectati greutatea alimentelor congelate,
iar acest lucru va va ajuta sa reglati
automat nivelul de putere si timpul.
Exemplu:
dezghetare 0.5kg de carne
congelata.
a)
Apasati
"Micro…Auto menu" pentru a
selecta "DEF".
b)
Introduceti greutatea apasand butonul
"1min" (1kg) si butonul
»time down«
(0.1kg).
c)
Apasati " Start/Reset ".
Greutatea alimentelor congelate nu trebuie
sa depaseasca 2 kg.
4. Grill
Aceasta functie are doua optiuni. Puteti
alege intre cele doua apasand pe butonul
"Micro…Auto menu" (durata maxima de
preparare a mancarii este de 60 de minute):
Optiunea 1:
85% putere grill, afisaj G-1
Optiunea 2:
50% putere grill, afisaj G-2
Exemplu:
Prepararea mancarii folosind
grill-ul pentru 20 de minute.
a)
Apasati "Micro…Auto menu" pana
cand pe se afiseaza pe LED "G-1".
b)
Setati durata de preparare la "20:00"
c)
Apasati "Start/Reset"
Atunci cand utilizati grill-ul, mancarea
nu este incalzita de microunde.
Caldura este raspandita de la
rezistenta de metal din partea
superioara a cuptorului.
Atunci cand functia grill functioneaza,
durata de preparare este impartita in
doua etape. Dupa prima etapa,
programul se va opri automat si se vor
auzi doua semnale sonore, pentru a va
avertiza ca trebuie sa deschideti usa
cuptorului si sa intoarceti mancarea.
Inchideti usa, dupa ce ati intors
mancarea. Apasati butonul
"Start/Reset" si procesul de preparare
a mancarii va continua cu cea de-a
doua etapa. Daca nu vreti sa intoarceti
mancarea, cuptorul va porni singur
dupa un minut de pauza.
5. Gatire combinata
Cu acest produs aveti mai multe variante de
gatire combinata.
Optiunea 1 :
Gatire combinata (55%
microunde + 45% grill)
LED-ul va afisa "C-1"
Optiunea 2 :
Gatire combinata (30%
microunde + 70% grill)
LED-ul va afisa "C-2".
Exemplu:
Prepararea mancarii folosind
optiunea 2 pentru 15 minute.
a)
Apasati "Micro…Auto meniu" pana
cand pe LED apare "C-2"
b) Setati timpul de gatire pentru "15:00"
c) Apasati "Start/Reset"
6. Auto-Meniu
Acest aparat vă oferă posibilitatea de a
alege între două metode de gătire
combinată.
Exemplu:
Auto preparare 0.4 kg peste
a)
Apasati butonul "Micro…Auto menu"
pana cand se afiseaza "A-5".
Nr. Atingeri
"Micro"
Putere microunde
Afisaj
1
100%
P100
2
70%
P70
3
50%
P50
4
30%
P30
5
10%
P10
76
b)
Introduceti greutatea apasand pe
butonul
»time up« (1 kg) si pe butonul
»time down« (0.1 kg).
c)
Apasati "Start/Reset".
Numar
atingeri
"1min"
Menu, Weight (kg)
A-1
Orez
A-2
Legume
A-3
Găluşte
1
0,1
0,1
1
2
0,2
0,2
2
3
0,3
0,3
4
0,4
0,4
5
0,5
0,5
6
0,6
Numar
atingeri
"1min"
Menu, Weight (kg)
A-4
Carne
A-5
Peste
A-6
Pui
1
0,2
0,2
0,2
2
0,3
0,3
0,4
3
0,4
0,4
0,6
4
0,5
0,5
0,8
5
0,6
0,6
1,0
6
0,8
0,8
7
1,0
1,0
7. Ceas
Cuptorul are un ceas digital cu formatul 24
de ore,
Pentru a seta timpul de exemplu la 4:30pm:
a)
Apasati butonul "Clock/Timer". Afisajul
incepe sa clipeasca, reglati ora cu
butoanele
»time up« si »time down«.
b)
Apasati "Clock/Timer" din nou, reglati
minutele cu butoanele "1Min" si
»time
down«.
c)
Apasati "Clock/Timer" din nou si
ceasul va fi setat.
d)
Daca schimbati ora, repetati procedura
de mai sus.
8. Timer
Aceasta va permite sa setati cuptorul cu
microunde sa porneasca si sa se opreasca
la un timp dinainte stabilit.
Ceasul trebuie setat inainte de a folosi
aceasta functie.
Exemplu:
ora curenta este 16:30, iar dvs.
doriti sa inceapa gatitul la ora 18:15 cu 70%
putere, pentru 10 minute:
a)
Apasati "Clock/Timer", setati timpul la
"18:15" apasand pe butoanele "1Min"
si
»time down« , (ca atunci cand setati
ora)
b)
Apasati "Micro…Auto menu" pentru a
selecta 70% putere.
c)
Setati durata de gatit la 10.
d)
Apasati "Start/Reset"
Daca nu setati puterea si durata de
gatire si apasati direct butonul start,
dupa ce ati programat ceasul, aparatul
va incepe sa lucreze ca un ceas.
La 18:15 se vor auzi 10 sunete sonore
si aparatul se va opri.
9. Blocare pentru copii
Pentru a activa sistemul de blocare pentru
copii, apasati " TIMP SUS " si " TIMP JOS "
in acelasi timp, timp de 2 secunde.
Apasati " TIMP SUS " si " TIMP JOS " in
acelasi timp timp de doua secunde din nou,
pentru a debloca aparatul.
10. Start/Reset
a)
In perioada de functionare apasati
butonul "Start/Reset" pentru a opri
functionarea.
b)
Daca a fost setat un program inainte
de a apasa start, apasati acest buton
pentru a anula orice setare.
Curăŝare şi întreŝinere
1.
Opriţi cuptorul şi scoateţi-l din priză înainte
de a-
l curăţa.
2.
Interiorul cuptorului trebuie să fie tot timpul
curat. Dacă pe pereţi se depun resturi de
mâncare sau lichide, ştergeţi-le cu o cârpă
umedă. Puteţi folosi şi un detergent neutru,
dacă cuptorul este foarte murdar. Nu vă
recomandăm utilizarea unor detergenţi
puternici sau abrazivi.
3.
Exteriorul trebuie curăţat cu o cârpă umedă.
Pentru a nu deteriora părţile din interior, nu
lăsaţi apa să se scurgă în fantele de
ventilare.
4.
Panoul de comenzi nu trebuie s
ă se ude.
Curăţaţi-l cu o cârpă moale puţin umezită.
Nu folosiţi detergent, substanţe abrazive
sau spayuri pentru panoul de comenzi.
5.
Dacă se adună abur în interior, sau în jurul
uşii, stergeţi cu o cârpă moale. Acest lucru
se poate întâmpla dacă cuptorul
funcţionează într-un mediu umed, şi nu
reprezintă un semn de defectare a
aparatului.
6.
Din când în când trebuie să curăţaţi tava de
sticlă. Spălaţi-o cu apă caldă cu detergent
neutru sau în maşina de spălat vasele.
7.
Inelul şi cavitatea interioară trebuie curăţate
în mod regulat pentru a evita zgomotul
excesiv. Partea de jos se şterge cu
detergent neutru, apă sau soluţie de curăţat
geamurile, după care se şterge. Inelul poate
fi spălat cu apă călduţă cu detergent neutru
sau în maşina de spălat. Vaporii care se
acumulează în timpul gătitului nu
77
influenţează suprafaţa de jos sau roţile de
la inel. Dacă scoateţi inelul, aveţi grijă să îl
puneţi la loc exact în aceeaşi poziţie.
8.
Mirosul neplăcut din cuptor poate fi
îndepărtat amestecând într-un vas o cană
de apă cu suc şi coajă de lămâie. Lăsaţi
vasul să se încălzească în cuptor timp de 5
minute, apoi ştergeţi cu o cârpă moale şi
curată.
9.
Dacă trebuie să înlocuiţi becul din cuptor,
chemaţi un tehnicina autorizat.
Mediul înconjurător
Nu aruncaţi aparatul împreună cu deşeurile
casnice atunci când nu mai este utilizabil, ci
înmânaţi-l la un punct oficial de colectare pentru
reciclare. Astfel ajutaţi la conservarea mediului.
Garanŝie & service
Dacă aveţi nevoie de informaţii sau aveţi o
problemă, contactaţi Centrul Relaţii Clienţi
Gorenje din ţara dumneavoastră (veţi găsi
numărul de telefon în broşura de garanţie
tradusă în mai multe limbi). Dacă nu există niciun
Centru de Relaţii Clienţi în ţara dumneavoastră,
mergeţi la dealer-ul local Gorenje sau contactaţi
Departamentul de Service al Aparatelor
Domestice Gorenje
Numai pentru uz personal!
Ne rezervăm dreptul oricăror
modificări!
VA DORESTE SA FOLOSITI CU
PLACERE ACEST APARAT
Mai multe informatii privind gatitul la
microunde, grill si sfaturi utile puteti gasi pe
:
:
http://microwave.gorenje.com
78
NÁVOD NA OBSLUHU SK
Návod na obsluhu si pozorne preĉítajte a odloņte pre prípad budúceho pouņitia.
TECHNICKÉ ÚDAJE
Spotreba energie: ................................................................................................... 230V~50Hz,1280W
Výkon: ......................................................................................................................................... 900W
Výkon grilu: ................................................................................................................................ 1200W
Pracovná frekvencia: ............................................................................................................. 2450MHz
Vonkajńie rozmery: ....................................................................... 510mm(Ń) X 303mm(V) X382mm(H)
Vnútorné rozmery rúry: ................................................................330mm(Ń) X 212mm(V) X 330mm(H)
Ob
sah rúry: ............................................................................................................................... 23 litrov
Hmotnosť: ....................................................................................................................Pribliņne 14,5 kg
Deklarovaná hodnota emisie hluku je .................................................................................... < 58 dB(A)
Toto zariadenie je oznaĉené podľa
Európskej smernice 2002/96/EC
o
Doslúņilých elektrických
a
elektronických zariadení (WEEE).
Táto smernica urĉuje v rámci Európskej
únie pokyny pre vrátenie a recykláciu
starých elektrických a elektronických
zariadení.
Skôr ako sa obrátite na servis
1.
Ak rúra nefunguje, displej nezobrazuje
alebo zobrazenie zmizne:
a)
Skontrolujte, ĉi je rúra správne
pripojená. Ak nie, odpojte zástrĉku zo
zásuvky, poĉkajte 10 sekúnd a opäť ju
správne pripojte.
b)
Skontrolujte poistky pre daný obvod
a
hlavný istiĉ. Ak sa javia byť
v
poriadku, skúste skontrolovať
zásuvku pripojenìm iného zariadenia.
2.
Ak mikrovlnná energia nepracuje:
a)
Skontrolujte, ĉi sú nastavené hodiny.
b)
Skontrolujte, ĉi sú dvere správne
zatvorené. Inak mikrovlnná energia
nebude prúdiť do rúry.
Ak sa podľa vyńsie uvedených pokynov
nepodarí odstrániť problém, obráťte sa na
najbliņńí servis.
Toto zariadenie pre domáce pouņitie na
ohrievanie jedla a nápojov pouņíva
elektrom
agnetickú energiu, len pre domáce
pouņitie.
Ruńenie
Mikrovlnná rúra môņe spôsobiť ruńenie váńho
rádia, TV alebo podobného zariadenia. Ak
nastane toto ruńenie môņete ho odstrániť alebo
znìņiť nasledovnými opatreniami.
a)
Vyĉistite dvere a tesnenie rúry.
b)
Rádio, TV, atć. umiestnite ĉo najćalej od
mikrovlnnej rúry.
c)
Na dosiahnutie silného signálu pouņite
správne nainńtalovanú anténu pre vańe
rádio, TV, atć.
In ńtalácia
1.
Skontrolujte, ĉi ste odstránili vńetky obalové
materiály z vnútra dverì.
2.
Po vyb
alenì rúry skontrolujte, ĉi nie je
pońkodená:
-
Nedosadanie dverì
-
Pońkodenie dverì
- Vydutia alebo diery v
okne dverì alebo
obrazovke
-
Vydutia vo vnútri rúry
Ak nájdete jedno z vyńńie uvedených
pońkodenì,
NEPOUŅÍVAJTE
rúru.
3.
Mikrovlnná rúra váņi 14,5 kg a musì byť
umiestnená na silnom vodorovnom
povrchu, ktorý unesie túto hmotnosť.
4.
Rúru neumiestňujte na miestach s vysokou
teplotou a parou.
5.
Na rúru NEUMIESTŇUJTE ņiadne
predmety.
6.
Pre dostatoĉnú ventiláciu nechajte po
stranách rúry minimálne 8 cm voľný priestor
a vzadu 10 cm.
7.
NEODSTRAŇUJTE hnacì hriadeľ otoĉného
taniera.
8.
Tak ako pri kaņdom zariadenì je pri
pouņìvanì deťmi potrebný dozor.
VAROVANIE-
TOTO ZARIADENIE MUSÍ
BYŤ UZEMNENÉ.
9.
Zásuvka by mala byť v malej vzdialenosti.
10. T
áto rúra poņaduje 1.3 KVA pre jej vstup,
pri inńtalácii je odporúĉané konzultácia
s
kvalifikovaným pracovnìkom.
UPOZORNENIE:
Táto rúra je chránená
vnútornou 250V,10 Amp poistkou.
79
DÔLEŅITÉ
Vodiĉe v sieťovej ńnúre sú sfarbené
nasledovne:
Zelený a ņltý:
Zem
Modrý:
Neutrálny
Hnedý:
Fáza
Pretoņe farby vodiĉov sieťovej ńnúry
zariadenia nemusia súhlasiť s farebným
oznaĉenìm vańej zásuvky, pokraĉujte
nasledovne:
-
Zelený a ņltý vodiĉ musì byť pripojený ku
konektoru oznaĉeným pìsmenom
E
alebo
symbolom uzemnenia,
zelená alebo
zeleno-
ņltá farba.
-
Modrý vodiĉ musì byť pripojený ku
konektoru oznaĉeným pìsmenom
N
alebo
ĉiernou farbou.
-
Hnedý vodiĉ musì byť pripojený ku
konektoru oznaĉeným pìsmenom
L
alebo
ĉervenou farbou.
Dôleņité bezpeĉnostné pokyny
VAROVANIE:
Pri
pouņìvanì zariadenia
v
kombinovanom reņime, by mali deti
pouņìvať rúru len pod dohľadom dospelých
kvôli generovaným teplotám; (Len pre
modely s funkciou grilovania)
VAROVANIE:
Ak sú dvere alebo tesnenie
dverì pońkodené, rúru nesmiete pouņìvať,
pokiaľ nebude opravená kompetentnou
osobou;
VAROVANIE:
Pre kaņdého, okrem
kompetentnej osoby, je nebezpeĉné
vykonávať opravy a údrņbu, ktorá zahŕňa
demontáņ krytu, ktorý chráni pred
mikrovlnnou energiou.;
VAROVANIE:
Tekutiny a
iné potraviny
nesmú byť ohrievané v uzatvorených
nádobách, pretoņe môņu explodovať.
WARNING:
Zariadenie nepouņìvajte, ak sú
zástrĉka, sieťový kábel alebo iné súĉiastky
pońkodené. Toto zariadenie nesmú
pouņìvať osoby (vrátane detì), ktoré majú
obmedzené telesné, zmyslové alebo
mentálne schopnosti alebo ktoré nemajú
dostatok skúsenostì a znalostì, pokiaľ nie
sú pod dozoromalebo im nebolo vysvetlené
pouņìvanie tohto zariadenia osobou
zodpovednou za ich bezpeĉnosť. Deti
musia byť pod dozorom, aby sa nehrali so
zariadenìm.
Rúra musì mať dostatoĉnú ventiláciu.
Dodrņte 8 cm voľný priestor v zadu; 10 cm
po stranách a 10 cm z hora. Neodstraňujte
noņiĉky rúry a neblokujte ventilaĉné otvory.
Pouņìvajte len kuchynský riad urĉený na
pouņitie v mikrovlnnej rúre.
Keć ohrievate potraviny v plastových alebo
papiero
vých obaloch, dávajte pozor, aby sa
nevznietili;
Ak spozorujete dym, vypnite alebo odpojte
zariadenie a
dvere nechajte zatvorené na
uhasenie ohňa;
Mikrovlnné ohrievanie môņe mať za
následok oneskorené prevretie, preto bućte
pri narábanì s nádobou opatrný;
Obsah fľańe pre kojencov a detské poháre
premieńajte alebo pretrepte a pred
podávanìm deťom skontrolujte teplotu na
zabránenie popálenia;
Vajcia v
ńkrupine a celé vajcia na tvrdo
neohrievajte v
mikrovlnnej rúre, pretoņe
môņu explodovať, dokonca aj po skonĉenì
ohrievania;
Na ĉistenie povrchov dverì, tesnenia dverì,
interiéru rúry pouņite len jemné nebrúsne
mydlá, alebo ĉistiace prostriedky aplikované
ńpongiou alebo jemnou tkaninou.
Rúra by mala byť ĉistená pravidelne a mali
by byť odstránené vńetky zvyńky pokrmov;
Neudrņiavanie rúry v ĉistých podmienkach
môņe viesť k pońkodeniu povrchu, ktorý
môņe nepriaznivo ovplyvniť ņivotnosť
zariadenia a
môņe byť výsledkom
nebezpeĉnej situácie;
Ak je sieťová ńnúra pońkodená, musì byť
vymenená výrobcom, servisom alebo
podo
bne oprávnenou osobou na
zabránenie rizika.
Bezpeĉnostné pokyny pre vńeobecné pouņitie
Niņńie sú uvedené, tak ako pri vńetkých
spotrebiĉoch, urĉité zásady na ovládanie
a
bezpeĉnosť na zaistenie ńpiĉkového výkonu
tejto rúry:
1.
Pri pouņìvanì rúry vņdy majte na svojom
mieste vńetky potrebné súĉasti (otoĉný
sklený tanier, valĉekový prstenec a spojky).
2.
Rúru pouņìvajte len na prìpravu pokrmov,
nepouņìvajte na suńenie obleĉenia, papiera
alebo iných nepotravinových predmetov a
na sterilizovanie.
3.
Rúru nepouņìvajte, keć je prázdna. Toto ju
môņe pońkodiť.
4.
Rúru nepouņìvajte ako odkladacì priestor,
naprìklad papiera, knìh, atć.
5.
Nevarte ņiadny pokrm s blanou, ako je
ņĺtok, zemiaky, kurĉa, atć, bez
niekoľkonásobného prepichnutia vidliĉkou.
80
6.
Do vonkajńìch otvorov nevkladajte ņiadne
predmety.
7.
Neodstraňujte ņiadne ĉasti rúry ako sú
noņiĉky, skrutky, atć.
8.
Pokrm nevarte priamo na otoĉnom tanieri.
Pokrm umiestnite do/na správny kuchynský
riad.
DÔLEŅITÉ
-
V MIKROVLNNEJ RÚRE
NEPOUŅÍVAJTE
-
Nepouņìvajte kovové panvice alebo riad
s
kovovými rúĉkami.
-
Nepouņìvajte riad s kovovými ozdobami.
-
Nepouņìvajte plastové vrecká
uzatvorené drôtom.
-
Nepouņìvajte melamìnový riad ak
obsahuje materiál, ktorý pohlcuje
mikrovlnnú energiu. To môņe spôsobiť
prasknutie riadu ale
bo opálenie
a
spomaľuje rýchlosť varenia.
-
Nepouņìvajte staroņitný riad. Glazúra nie
je vhodná pre mikrovlnné pouņitie. Ńálky
typu „Corelle Livingware“ by nemali byť
pouņité.
-
Nepouņìvajte na varenie nádoby
s
obmedzeným otvorom, pretoņe môņu
explodovať.
-
Nepouņìvajte beņné mäsové a pekárske
teplomery.
-
Existujú teplomery výslovne na
mikrovlnné varenie. Tieto môņu byť
pouņité.
9.
Mikrovlnný riad by mal byť pouņìvaný len
s
pokynmi výrobcu.
10.
Nepokúńajte sa smaņiť pokrmy v rúre.
11.
Zapamätajte si, ņe mikrovlnná rúra ohrieva
len tekutinu v
nádobe. Preto kryt nádoby nie
je po vybratì z rúry horúci. Zapamätajte si,
ņe pokrm/tekutina vnútri uvoľnì rovnaké
mnoņstvo pary po otvorenì krytu ako pri
beņnom varenì.
12.
Vņdy skontrolujte teplotu vareného pokrmu,
obzvláńť ak ohrievate alebo varìte
pokrm/tekutinu pre deti. Je vhodné nikdy
nekonzumovať pokrm ihneć po vybratì
z
rúry, ale ho nechať niekoľko minút odstáť
a
premieńať, aby sa rovnomerne rozloņilo
teplo.
13. Pokrm obsahuje zmes tuku a vody, napr.
vývar by ste mali nechať odstáť 30-60
sekúnd v rúre po dokonĉenì. To umoņnì
zmesi vyrovnať teplotu a zamedziť bublaniu
keć ponorìte lyņicu do pokrmu/tekutiny
alebo pridáte bujón.
14.
Keć pripravujete/varìte pokrm/tekutinu
a
pamätáte, ņe sú urĉité pokrmy, naprìklad
puding, dņem a mleté mäso, ktoré sa
zohrejú veľmi rýchlo. Keć ohrievate alebo
varìte pokrmy s vysokým obsahom tuku
alebo cukru, nepouņìvajte plastové nádoby.
15.
Kuchynský riad sa môņe zohriať z dôvodu
prenosu tepla z
ohrievaného pokrmu. Zvláńť
pri riade s
plastovými povrchmi. Preto na
vybratie nádoby môņu byť potrebné
kuchynské rukavice.
16.
Znìņenie rizika vzniku ohňa v rúre:
a)
Pokrm neprevárajte. Ak sú v rúre
umiestnené papierové, plastové alebo
iné horľavé materiály potrebné pri
varenì, neustále kontrolujte mikrovlnnú
rúru.
b)
Pred vloņenìm vreciek do mikrovlnnej
rúry z nich odstráňte uzatváracie drôty.
c)
Ak by sa materiály vnútri rúry mali
zapáliť, nechajte dvere rúry zatvorené,
odpojte rúru z elektrickej zásuvky,
vypnite stenový istiĉ alebo vypnite
hlavný istiĉ v poistkovej skrini.






