Gorenje GMO-25 DCE: instruction
Manual for Gorenje GMO-25 DCE
Table of contents
- SPECIFICATIONS Radio interference Before you call for service Installation
- IMPORTANT Important safety instructions Safety instructions for general use
- 16. To reduce the risk of fire in the oven cavity:
- Computer control panel Feature diagram
- Operation Instruction 1. Single Button Heating 5. Combination Cooking
- 9. Timer
- 11. Start/Reset Environment Care of your microwave oven Guarantee & service

GMO 25 DCE
GMO 25 DCB
Mikrovalovna pečica
Navodila za uporabo
SI
Mikrovalovna pećnica
Upute za uporabu
BIH HR
Mikrotalasna rerna
Uputstvo za upotrebu
BIH SRB MNE
Микробрановата печка
Упатства за употреба
MK
Microwave oven
Instruction manual
GB
Mikrowellengerät
Gebrauchsanweisung
D
Micro-ondes
Notice d'utilisation
F
Mikrohullámú sütő
Használati utasítás
H
Kuchenka mikrofalowa
Instrukcja obsługi
PL
Microunde
Manual de utilizare
RO
Mikrovlnná rúra
Návod na obsluhu
SK
Mikrovlnná trouba
Návod na použití
CZ
Микровълновата фурна
Инструкции за употреба
BG
Мікрохвильова піч
I
нцтрукція з експлуатації
UA
Микроволновая печь
Инструкция по эксплуатации
RUS
Mikrobųlgeovn
Brugsanvisning
DK
Mikrobųlgeoven
Bruksanvisning
SE
Mikrovågsugnen
Bruksanvisning
NO
Mikroaaltouuni
Käyttöohje
FI
Mikrovilnu krasnij
Lietotaja rokasgramata
LV
Mikrobangu krosnele
Naudojimo instrukcija
LT
Mikrolaineahi
Kasutusjuhend
EE

2
SL Navodila za uporabo .............................................. 3
HR Upute za uporabu ................................................ 10
SRB, MNE Uputstvo za upotrebu ......................................... 17
MK ........................................ 25
EN Instruction manual .............................................. 34
DE Gebrauchsanweisung ......................................... 41
FR Notice d'utilisation .............................................. 50
HU .............................................. 58
PL ............................................... 66
RO Manual de utilizare ............................................... 75
SK ............................................... 82
CZ .................................................. 89
BG ................................... 96
UK ................................. 105
RU ......................... 112
DK Brugsanvisning ................................................ 120
SE Bruksanvisning .................................................. 127
NO Bruksanvisning ................................................. 134
FI K ......................................................... 141
LV .............. 148
LT Naudojimo instrukcija ........................................ 154
EE Kasutusjuhend ................................................... 163

3
NAVODILA ZA UPORABO SI
Pozorno preberite navodila in jih shranite!
Specifikacije
Poraba el. Energije ............................... 230V~50Hz,1400W
................................................................................................................................ 900W
............................................................................................................................ 1200W
Konvekcija ................................................................................................................................. 1350W
Delovna frekvenca: ................................................................................................................ 2450MHz
Zunanje mere: ............................................................................ mm(V) X 382mm(G)
Mere komore (notranjosti) p ............................................... mm(V) X 336mm(G)
................................................................................................................... 25 litrov
................................................................................................... kg
Raven hrupa: .................................................................................................................. Lc < 58 dB (A)
energije. Aparat uporabljajte le v zaprtih
prostorih.
Radijske motnje (interference)
sprejemniku in podobni
a)
b) Postavite radijski sprejemnik, TV sprejemnik
c) Za radijski sprejemnik, TV sprejemnik itd.
a)
Namestitev
1.
b)
2.
varovalkah ni videti napake, preskusite
primer:
- nagnjena vrata,
-
mikrovalovne energije:
- udrtine ali luknje v steklu (oknu) na vratih
a)
ter na zaslonu,
pravilno nastavljena.
-
b)
varnostne
niso, se mikrovalovna energija ne bo
3. Mikrovalovna kg;
4.
temperature in pare.
Opomba:
5.
6. o
gospodinjstvu, in sicer za segrevanje hrane
njo pa 10cm.
evropsko smernico 2002/96/EG o odpadni
electrical and electronic equipment -
WEEE). Smernica opredeljuje zahteve za
in elektronsko opremo, ki veljajo v celotni
Evropski Uniji.

4
7. NE odstranjujte pogonske gredi vrtljivega
primeru, da jim daste ustrezna navodila, da
podstavka.
8. Kot pri vseh drugih aparatih je tudi pri tem
bo razumel nevarnosti neustrezne uporabe.
potreben skrben nadzor, ko ga uporabljajo
otroci.
zadostno k
OPOZORILO: TA APARAT JE
vsaj 8 cm prostora, ob straneh vsaj 10 cm,
POTREBNO OZEMLJITI.
10
9.
10.
Ko segrevate hrano p
posvetujete s serviserjem oz. ustreznim
strokovnjakom.
POZOR:
varovalko 250V, 10A.
ogenj.
POMEMBNO
pomen:
zato v tem primeru ravnajte posebej
Zeleno-rumena: ozemljitveni vod
previdno.
Modra: nevtralni vod
Rjava: fazni vod
s hrano za
odgovarjajo barvnim oznakam na terminalih
- -
lupini ali celih trdo kuhanih jajc, saj lahko
E ali s
eksplodirajo, tudi potem, ko je segrevanje v
simbolom za ozemljitev.
-
N
p
barve.
-
z gobo ali mehko krpo.
L
barve.
morebitne ostanke hrane.
Pomembna varnostna
navodila
negativ
OPOZORILO: Ko aparat deluje v
uporabi.
zelo visokih temperatur, ki nastajajo,
izogib nevarnosti zamenjati le proizvajalec,
uporabljati aparat le pod skrbnim nadzorom
usposobljen strokovnjak.
OPOZORILO:
Varnostna navodila za
dokler ga ne popravi za to poklicana oseba.
OPOZORILO: Vsako popravilo ali servis, ki
se ga loti kdorkoli razen p
serviserja, in pri katerem je potrebno
nekateri varnostni ukrepi, ki jih, podobno kot pri
OPOZORILO:
segrevajte v zaprtih oz. zatesnjenih
1. naj bodo stekleni
ta eksplodira.
valj vedno na svojem mestu.
OPOZORILO: Otroci lahko aparat
uporabljajo brez nadzora odraslih le v

5
2.
obleke, papirja ali drugih predmetov in je ne
12. Pred uporabo vedno preverite temperaturo
uporabljajte za sterilizacijo.
3.
hrane/pi
4.
npr. papirja, kuharskih knjig ipd.
5. Ne kuhajte hrane, ki je obdana z
porazdeli.
13.
eter itd., ne da bi pred
vilicami.
T
6. Ne vstavljajte nobenih predmetov v odprtine
7.
14. Pri pripravi hrane bodite pozorni, da se
8. Ne kuhajte hrane neposredno na steklenem
podstavku. Preden hrano postavite v
marmelada ali mleto meso, segrejejo zelo
hitro. Ko segrevate ali kuhate hrano z
visoko vsebnostjo masti ali sladkorja, ne
POMEMBNO:
15.
- Ne uporabljajte kovinskih ponev ali
To
- Ne uporabljajte posode s kovinsko
obrobo.
- Ne uporabljajte s papirjem prekritih
boste morda potrebovali kuhinjske rokavice.
16.
- Ne uporabljajte posode iz melamina, saj
a) pazite, da hrane ne kuhate predolgo.
vsebujejo material, ki vsrkava
Skrbno nadzorujte potek segrevanja, kadar
mikrovalovno energijo. To lahko
plastike ali drugih lahko vnetljivih oz.
gorljivih materialov.
kuhanje.
b)
- Ne uporabljajte posode brez ustreznega
premaza za uporabo v mikrovalovni
c)
-
posodi,
varovalkami.
steklenici, saj lahko ta med segrevanjem
-
le termometre, ki so namenjeni prav
9.
uporabljajte le v skladu z navodili njihovega
proizvajalca.
10.
11.
po

6
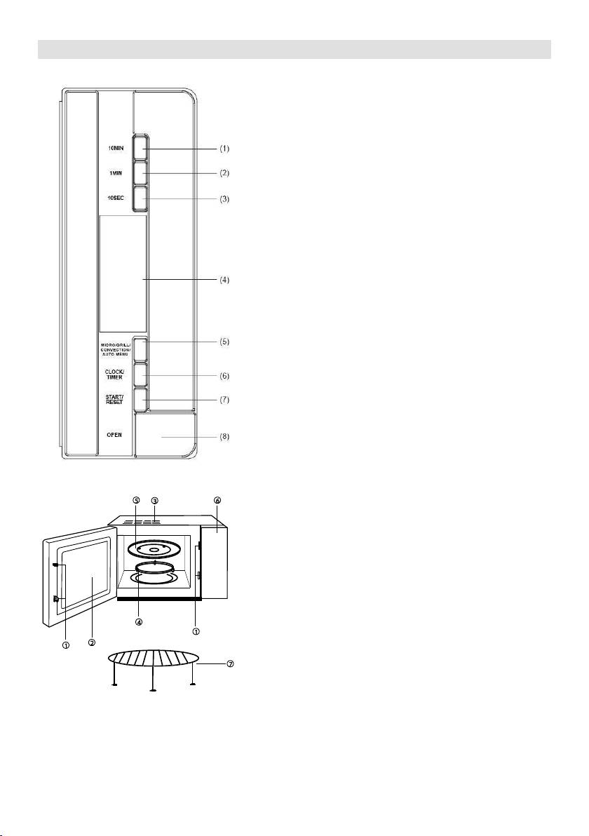
1. 10 minut
2. 1 minuta
3. 10 sekund
4. Prikazovalnik
5. Mik
6. Ura/Programska ura
7.
8. Gumb za odpiranje
1. Zapiralo vrat
2.
3. ventilator za
4.
5. Stekleni pladenj
6.
7.

7
Navodila za upravljanje
1. Segrevanje z enim pritiskom na
gumb
Z enim samim pritiskom na gumb lahko
segrejete kozarec vode ipd.
Primer: Segrevanje kozarca mleka
a) Kozarec mleka postavite na stekleni
b) Pritisnite tipko "Start/Reset" in
c)
2.
Ta funkcija im
a) Hitro segrevanje z mikrovalovnimi
Primer:
1.
2. Pritisnite "Start/Reset".
b)
Primer: Segrevanje hrane s 70%
10 minut.
1. Pritisnite tipko "Micro",
2.
3. Pritisnite "Start/Reset".
0 minut.
Število
pritiskov
na tipko
"Micro"
Moč
mikrovalovnih
žarkov
Izpis na
ekranu
1
100%
P100
2
70%
P70
3
50%
P50
4
30%
P30
5
10%
P10
Masa zamrznjene hrane mora biti
4.
lahko izberete s pritiskom na tipko
"Micro
je 60 minut).
Način 1:
izpisano G-1
Način 2:
izpisano G-2.
Primer: Priprava hr
a) Pritisnite tipko "Micro", da
-1".
b)
c) Pritisnite tipko "Start/Reset".
toploto oddaja kovinski grelnik na vrhu
polovici priprave se bo izvajanje
programa samodejno prekinilo, dva
kos hrane, ki jo pripravljate
obrnete. Ko obrnete hrano, ponovno
"Start/Reset". Program priprave hrane
hrane, se bo program nadaljeval
samodejno po eni minuti.
5. Kombinirano delovanje
priprave hrane.
Možnost 1: Kombinirano delovanje (50%
ekranu bo izpisano "C-1".
Možnost 2: Kombinirano delovanje (50%
ekcija). Na ekranu bo
izpisano "C-2".
3. Samodejno odtajevanje glede na
Primerno za pripravo hrustljavih jedi ipd.
maso
Možnost 3: Kombinirano delovanje (50%
bo izpisano "C-3".
Primer: Odtajanje 0,5 kg zamrznjenega
Primer:
mesa.
minut.
a) S pritiskom na tipko "Micro
a) Pritiskajte tipko "Micro",
menu" izberite "DEF".
dokler se na prikazovalniku LED ne
b) S pritiskom na tipki "1min" (1 kg) ter
pojavi oznaka "C-2".
"10sec" (0,1 kg) vnesite maso.
b)
c) Pritisnite tipko "Start/Reset".
c) Pritisnite tipko "Start/Reset".

8
6. Samodejni meni
Izbrati morate le vrsto hrane in maso,
nastavitvi
Primer: Samodejno kuhanje 0,4 kg ribe.
a) Pritisnite tipko "Micro"
tolikokrat, da je na ekranu izpisano "A-
5".
b)
min"(1 kg) in "10 sec" (0,1 kg), dokler
se na ekranu ne iz
c) Pritisnite tipko "Start/Reset".
pritiskov
na tipko
"1min"
Masa, Meni
A-1
Pogrevanje
A-2
Krompir
A-3
Pica
1
0,1
0,2
0,1
2
0,15
0,3
0,2
3
0,2
0,4
0,25
4
0,25
0,5
0,30
5
0,3
0,6
0,35
6
0,35
0,7
0,40
7
0,4
0,9
0,45
8
0,45
1,1
0,50
9
0,5
1,3
0,55
10
0,6
1,5
0,60
pritiskov
na tipko
"1min"
Masa, Meni
A-4
Meso
A-5
Riba
A-6
Perutnina
1
0,1
0,2
0,2
2
0,2
0,3
0,4
3
0,3
0,4
0,6
4
0,4
0,5
0,8
5
0,5
0,6
1,0
6
0,6
0,8
7
0,8
1,0
8
1,0
9
10
30 minut.
Primer:
a) Pritisnite tipko "Micro",
dokler se
b)
c) Pritisnite tipko "Start/Reset".
8. Ura
-urno digitalno uro. Za
a) Pritisnite tipko "Clock/Timer". Napis na
ipati.
Nastavite uro s tipkama "1 min" in "10
sec".
b) Ponovno pritisnite tipko "Clock/Timer"
in nastavite minute s tipkama "1 min"
in "10 sec".
c) Znova pritisnite tipko "Clock/Timer" in
d)
ponovite zgornji postopek.
9. Programska ura
hrane.
Preden uporabite to funkcijo, mora biti
Primer:
a) Pritisnite tipko " Clock/Timer" in s
tipkama "1 min" in "10 sec" nastavite
nastavitvi ure).
b) S pritiskom na tipko "Micro
menu
c) Nastavi
7. Konvekcijsko kuhanje
d) Pritisnite tipko "Start/Reset".
temperature predhodno segrevanje
"Start/Reset", bo aparat deloval le kot
ura (budilka). Ob 18:
10 piskov, aparat pa se bo izklopil.
na gumb "Micro".
Primer:
10. Zaklepanje pred otroci
a)
pritiskajte tipko "Micro",
otroki, hkrati pritisnite tipki "1 min" in "10
b) Pritisnite tipko "Start/Reset".
izklopiti to funkcijo, storite enako.
delovanje aparata ustavi. Z dvema piskoma
Vas opozori, d

9
11.
nastavitev")
limone. Posodo nato za pet minut postavite
-to vklopite. Po
a)
tipko "Start/Reset", bo delovanje
krpo.
b)
9.
programiran vklop, bo po pritisku na
se, prosimo, obrnite na prodajalca.
tipko "Start/Reset" programirano
delovanje preklicano.
OKOLJE
1.
za recikliranje. Tako pripomorete k ohranitvi
okolja.
2.
GARANCIJA IN SERVIS
-
3.
lokalnega Gorenjevega prodajalca ali Gorenjev
oddelek za male gospodinjske aparate.
Samo za osebno uporabo!
4.
detergentov, grobih (abrazivnih) sredstev ali
5.
plos
mehko krpo. Do tega lahko pride, ko
6.
denj pomijte v topli
vodi z nekaj detergenta ali v pomivalnem
stroju.
7.
lagim detergentom,
topli vodi z nekaj detergenta ali v
hlapi od kuhanja, vendar to ne vpliva na
ponovno namestili.
8.
odstranite tako, da v globoko posodo za
pripravo hrane v mikr
spletni strani:
http://microwave.gorenje.com

10
UPUTE ZA UPORABU HR
Pozorno proučite upute, te ih sačuvajte.
Specifikacija
Potr .............................................................................................. 230V~50Hz,1400W
Radna snaga ............................................................................................................................... 900W
.............................................................................................................................. 1200W
Konvekcija ................................................................................................................................. 1350W
Radna frekvencija: ................................................................................................................. 2450MHz
Vanjske dimenzije: ...................................................................... mm(V) X 382mm(G)
Dimenzije otv ............................. X 330mm(G)
..................................................................................................................... 25 litara
..................................................................................................7,5 kg
Razina buke: ................................................................................................................... Lc < 58 dB (A)
Prije nego pozovete servisera
a)
1.
b) Postavite radio prijamnik, TV prijamnik itd.
a) ravno
c) Za radio prijamnik, TV prijamnik itd.
te nakon 10 sekundi ponovno ga
Postavljanje
b)
1.
Ukoliko na osigur
2. e
2.
- vrata koja vise,
odaje mikrovalnu energiju:
-
a) Provjerite, da li je programski sat
-
pravilno postavljen.
(prozoru) vrata ili na ekranu,
b)
-
tijesno zatvorena i sigurnosna brava
Ukoliko opazite bilo koje od gore
na
UPOTREBLJAVAJTE. Mikrovalovna
Ukoliko uz gore navedene upute niste
kg; postavite je na
uspjeli otkloniti neprilike, obratite se
3.
Napomena:
temperature ili pare.
u
4.
5. Kako bi osigurali kvalitetno provjetravanje,
koristite samo u zatvorenom prostoru.
a nad njom 10 cm.
6. NE skidajte vodilice okretnog pladnja.
Radijske smetnje
7.
ga
(interferencija)
upotrebljavaju dijeca.
UPOZORENJE: OVAJ UREĐAJ MORA
BITI UZEMLJEN.
prija

11
8.
8 cm prostora, sa strane
bar 10 10 cm. Ne
9. Za djelovanje
1,5
prekrivajt
posavjetujete sa serviserom ili
POZOR:
nadzirite proces zagrijavanja radi sigurnosti,
e
zapali.
plamen.
Zeleno- uzemljenje
Plava: neutralna
struja
zbog toga u t
Da bi izbjegli opekline, prije uporebe
- -
slovom E ili simbolom za uzemljenjem.
-
ljusci ili cijela tvrdokuhana jaja, jer
N ili je
crne boje.
-
L ili je
crvene boje.
tkaninom.
i odstranjujte
UPOZORENJE:
kombiniranom n
temperature, koja se razvija, dijeca smije
UPOZORENJE: Ukoliko su vrata ili brtva
ju
sve dok ga ne poprav
osoba.
UPOZORENJE: Svaki popravak ili servis,
servisera, a pri kojem je potrebno odstraniti
isijavanja, je opasno i nesigurno.
uporabu
UPOZORENJE: e
zagrijavajte u zatvorenim odnosno
kod ostalih ur
lagano eksplodirati.
UPOZORENJE:
1.
dijete lagano, a sigurno koristio p
svom mjestu.
bi razumjelo opasnosti od neispravnog
2.
svrhu osim za priprem

12
njoj tkanine, papir ili druge predmete i ne
upotrebljavajte ju za sterilizaciju.
3.
4.
temperatura ravnomjerno razdijelila.
npr. papir, knjige o kuhanju itd.
13.
5.
npr. j
probodete vilicom.
6. Ne stavljajte nikakve predmete u otvore s
7. ce, npr.
14. Pri pripremanju hrane budite oprezni, da se
nogice, zasun, vijke td.
8. Ne kuhajte hranu neposredno na staklenom
marmelada ili mljeveno meso, zagriju
postolju. Prije nego hranu postavite u
veoma brzo. Kada zagrijavate ili kuhate
Kuhinjska pomagala, koje ne
15. Pomagala, koje koristite kod pripremanja
- Ne upotrebljavajte
-
okvirom.
- Ne upotrebljavajte papirom prekrivenu
kuhanje.
16. Da bi
-
a) pazite, da hranu ne kuhate predugo.
m
Pozorno nadzirite proces zagrijavanja,
toga usporava zagrijavanje/kuhanje
od papira, plastike ili drugih lako
-
gorivih materijala.
b) icu,
s
c)
-
jer bi se za vrijeme grijanja mogla
raspuknuti.
-
termometre za meso ili slatstice.
koji
9.
upotrebljavajte u skladu s uputama njihovog
10.
11.
grije sam
12. Prije uporabe stvarno provjerite

13
1. 10 minuta
2. 1 minuta
3. 10 sekund
4. Ekran
5. Auto meni
6. Sat/ Programski sat
7.
8. Gumb za otvaranje
1. Sigurnosni sustav za zatvaranje vrata
2.
3. li ventilator za
4.
5. Stakleni pladanj
6.
7.

14
Uputstva za upravljanje
1. ZAGRIJAVANJE S PRITISKOM NA
JEDAN GUMB
priru
a)
vrtljivi pladanj te zatvorite vrata.
b) Pritisnite tipku "Start/Reset" i
minutu sa 100% snage.
c)
2. KUHANJE S MIKROVALNOM
ENERGIJOM
1.
a) Brzo kuhanje s mikrovalnom energijom
(100% snage)
Primjer: Kuhanje sa 100% snage 5 minuta.
b) Postavite vrijeme na "5:00".
1. Pritisnite " Start/Reset ".
2. Kuhanje s mikrovalnom energijom s
3. Pritisnite tipku "Micro",
izberite stupanj snage 70%;
Postavite vrijeme na "10:00".
Pritisnite " Start/Reset ".
vrijeme djelovanja je 60 minuta.
Broj pritisaka
na tipku
"Micro"
Snaga
mikrovalne
energije
Ispis na
ekranu
1
100%
P100
2
70%
P70
3
50%
P50
4
30%
P30
5
10%
P10
manja od 2 kg.
4.
jednostavno izaberete pritiskom na tipku
"Micro" (najdulje vrijeme
kuhanja kuhanja je 60 minuta).
Način 1: ekranu je
ispisano G-1
Način 2:
ispisano G-2.
Primjer:
minuta.
a) Pritisnite tipku "Micro", da
-1".
b) Postavite vrijeme kuhanja na "20:00".
c) Pritisnite tipku "Start/Reset".
p
vrijeme, da komad hrane, koji
okrenete hranu, ponovno zatvorite
"Start/Reset"i program pripremanja
samostalno nastaviti nakon jedne
minute.
5. Kombinirano djelovanje
: Kombinirano djelovanje
(50% mikrovalna energija + 200 ºC
-
1".
Kombinirano djelovanje
ºC konvekcija). Na ekranu
3. SAMOSTALNO ODMRZAVANJE
-2".
OVISNO O MASI
Pogodno za pripremu hrskavih jela, i sl.
Kombinirano djelovanje
Vam pom
(50% mikrovaln
te vremena grijanja.
"C-2".
.
Primjer: Otapanje 0,5 kg zamrznutog
Primjer:
mesa.
15 minuta.
a) S pritiskom na tipku "Micro
a) Tipku "Micro" pritisnite
menu" izaberite "0,1".
toliko puta, da se na ekranu Led pojavi
b) S pritiskom na tipku "1min" (1 kg) te
natpis "C-2".
c) Pritisnite tipku " Start/Reset ".

15
b) Postavite vrijeme djelovanja na
"15:00".
c) Pritisnite tipku "Start/Reset".
6. SAMOSTALNI meni
Primjer: Samostalno kuhanje 0,4 kg ribe.
a) Pritisnite tipku "Microenu"
toliko puta, da je na ekranu ispisano
"A-5".
b)
min"(1 kg) i "10 sec" (0,1 kg), dok se
c) Pritisnite tipku "Start".
Br.
Pritisaka
na tipku
"1min"
Masa, Meni
A-1
Zagrijavanje
A-2
Krumpir
A-3
Pica
1
0,1
0,2
0,1
2
0,15
0,3
0,2
3
0,2
0,4
0,25
4
0,25
0,5
0,30
5
0,3
0,6
0,35
6
0,35
0,7
0,40
7
0,4
0,9
0,45
8
0,45
1,1
0,50
9
0,5
1,3
0,55
10
0,6
1,5
0,60
Br.
Pritisaka
na tipku
"1min"
Masa, Meni
A-4
Meso
A-5
Riba
A-6
Piletina
1
0,1
0,2
0,2
2
0,2
0,3
0,4
3
0,3
0,4
0,6
4
0,4
0,5
0,8
5
0,5
0,6
1,0
6
0,6
0,8
7
0,8
1,0
8
1,0
djelovanje aparata se zaustavi. S dva
signala Vas upozori da stavite
Primjer:
1. Pritisnite tipku
2. Podesite vrijeme kuhanja na 20
minuta.
3. Pritisnite tipku "Start/Reset".
8. SAT
-satni digitalni sat. Za unos
a) Pritisnite tipku "Clock/Timer". Natpis na
s tipkama "1 min" i "10 sec".
b) Ponovno pritisnite tipku "Clock/Timer" i
postavite minute s tipkama "1 min" i
"10 sec".
c) Ponovno pritisnite tipku "Clock/Timer"
stavljeno.
d)
vrijeme, ponovite gornji postupak.
9. Programski SAT
pripremanja hrane.
Prije nego upotrijebite ovu funkciju, sat na
mora biti pravilno postavljen.
Primjer: Trenutno vrijeme je 16:30, a s
i to sa snagom 70 %, 10 minuta.
a) Pritisnite tipku ""Clock/Timer" i s
tipkama "1 min" i "10 sec"postavite
vrijeme na 18:15 (jednak postupak kao
kod postavljanja vremena).
7. KONVEKCIJSKO KUHANJE
b) S pritiskom na tipku "Micro
menu" izberite snagu 70%.
c) Postavite vrijeme kuhanja na 10
prethodno
minuta.
d) Pritisnite tipku "Start/Reset".
Ukoliko ne odredite snagu i vrijeme
kuhanja i neposredno nakon
odre
djelovanja pritisnete tipku
Primjer: elite zagrijati na 200
a)
b) Pritisnite tipku "Start/Reset".

16
10. ZATVARANJE ZA DIJECU
8.
posudu, prikladnu za uporabu u mikrovalnoj
zatvoreno za dijecu, istovremeno pritisnite
jednog limuna. Zatuim posudu stavite u
funkciju, postupite jednako.
11.
PONOVNO POSTAVLJANJE")
9. Ukoliko je
a)
pritisnete tipku "Start/Reset",
osposobljenim serviserom.
b) Ukoliko ste prethodno postavili
Okolina
Simbol na proizvodu ili na njegovoj
programirano djelovanje biti otkazano.
proizvodom ne smije postupiti kao s
otpadom i
1. ucite
2.
gli ugroziti
proizvoda. Za detaljnije informacije o recikliranju
abrazivnih sredstava za
3.
proizvod.
Garancija i servis
4.
5.
trgovcu Gorenja, ili odjelu Gorenja za male
mekanom krpom. Ova je pojava mogu
Nije za profesionalnu uporabu!
6. Povremeno izvadite i stakleni pladanj te ga
7.
no operite u vodi s malo
uporabom nakupi se vlaga, koja izlazi iz
mikrovalovima i grilom, te korisne savjete,
http://microwave.gorenje.com

17
UPUTSTVO ZA UPOTREBU SRB, MNE
Pažljivo pročitajte uputstva i sačuvajte ih.
Specifikacije
............................................................................................. 230V~50Hz,1400W
Izlazna snaga: ............................................................................................................................. 900W
............................................................................................................................ 1200W
Konvekcija: ................................................................................................................................ 1350W
Radna frekvencija: ................................................................................................................. 2450MHz
Dimenzije: ................................................................................... X 382mm(G)
.................................. X 330mm(G)
.................................................................................................................... 25 litara
....................................................................................................
.................................................................................................................. Lc < 58 dB (A)
Radio-smetnje (interferencije)
servisera
-prijemnika, TV
1.
pr
ugasi:
a) avilno
a)
b) Stavite radio-
c) Za radio-prijemnik, TV prijemnik itd. koristite
b)
prekinut dovod struje na glavnom
Postavljanje
1.
aparatom.
2.
2.
emituje mikrotalasnu energiju:
a) Proverite da li je tajmer za
na primer:
programiranje starta i rada pravilno
- iskrivljena vrata,
-
b)
-
zatvorena i sigurnosne brave
vratima, kao i na ekranu,
-
Ako primetite bilo koje od gore
oristiti
3. kg; postavite
Napomena:
4.
temperature i pare.
u, i to za pripremu namirnica u
5.
6. Da biste obezbedili dovoljnu ventilaciju,
elektromagnetne energije. Aparat koristite
samo u zatvorenim prostorijama.
10cm.

18
7. NEMOJTE skidati pogonsku osovinu
zaptivenim posudama ili zaptivenoj
rotacionog tanjira.
8. Kao kod svih drugih aparata, i ovde je
UPOZORENJE: Deca mogu koristiti aparat
bez nadzora odraslih samo ako im date
deca.
UPOZORENJE: ZA OVAJ APARAT JE
POTREBNO UZEMLJENJE.
opasnosti neadekvatne upotrebe.
9.
editi dovoljnu
8
10. kVA ulazne snage.
cm prostora, sa strane bar 10 cm, a iznad
10
ventilaciju.
Koristite samo pomagala adekvatna za
nadgledajte proces pripreme zbog
posuda na zapali.
Zeleno- vod za uzemljenje
ite
Plava: neutralni vod
Braon:
plamen.
ne
odgovaraju oznakama u boji na terminalima
- -
E ili
simbolom za uzemljenje.
pro
-
bebe ili teglica sa hranom za bebe i
N ili je crne
boje.
-
jaja u ljusci ili cela tvrdo kuvana jaja, jer
L ili je
crvene boje.
o.
upotrebu
UPOZORENJE: Kada aparat deluje u
kombinovanom modu, zbog veoma visokih
eventualne ostatke hrane.
temperatura koje nastaju, deca smeju
nadzorom odraslih (samo za aparate sa
UPOZORENJE: Ako su vrata ili zaptivci na
upotrebe.
ni serviser ili drugo
UPOZORENJE: Svaka popravka ili servis
UPOZORENJE:
nemojte pripremati u zatvorenim odnosno

19
9.
uputstva za bezbednu
samo u skladu sa uputstvima njihovog
upotrebu
10.
U daljem tekstu nabrojana su neka pravila i neke
11.
aparata i koje treba uzimati u obzir radi
samo t
1.
uvek na svom mestu.
da sam poklopac posude nije vreo.
2.
12. Pre upotrebe, uvek proverite temperaturu
svrhe osim za pripremu hrane, nemojte
namirnica, posebno ako hranu dajete deci.
i
nemojte je koristiti za sterilizaciju.
3.
4.
13. ,
5. Nemojte kuvati hranu sa opnom, npr.
npr. osnova za supu, treba da posle
6. Nemojte stavljati nikakve predmete u otvore
7.
14. U pripremi namirnica, imajte na umu da se
zavrtnje itd.
marmelada ili mleveno meso veoma brzo
8. Nemojte kuvati hranu neposredno na
pripremaju. Kada grejete ili kuvate
15. u hrane u
zagrejati jer hrana emituje toplotu. To
- Nemojte koristiti metalno
pokriveni plastikom. Kada hvatate takve
- Nemojte koristiti posude sa metalnom
ivicom.
rukavice.
- Nemojte koristiti papirom prekrivene
16.
u
kesica.
- Nemojte koristiti posude od melamina,
a) Pazite da hranu ne kuvate predugo.
m
prouzrokovati da se posuda raspukne ili
drugih lako zapaljivih materijala.
oprlji, a pored toga usporava grejanje /
b)
kuvanje.
- Nemojte koristiti posudu bez
c)
-
-
samo termometre koji su namenjeni upravo

20
1. 10 minuta
2. 1 minuta
3. 10 sekund
4. Ekran
5. oncekcija/Auto meni
6. Sat/Programski sat
7.
8. Dugme za otvaranje
1. Sigurnosni sistem za zatvaranje vrata
2.
3. Ventilacioni otvori ili ventilator za
provetravanje
4. Rotacioni tanjir
5. Stakleni tanjir
6. Kontrolna tabla
7. R








