Gorenje GMO-20 DGS: instruction
Class: Household, kitchen appliances, electronics and equipment
Type:
Manual for Gorenje GMO-20 DGS
Table of contents
Navodila za uporabo
Upute za uporabu
Uputstvo za upotrebu
Упатства за употреба
Instruction manual
Gebrauchsanweisung
Notice d'utilisation
Használati utasítás
Instrukcja obsługi
Návod na obsluhu
Návod na použití
Инструкции за употреба
I
Инструкция по эксплуатации
Brugsanvisning
Bruksanvisning
Bruksanvisning
Käyttöohje
Manual de utilizare
нцтрукція з експлуатації
Lietotaja rokasgramata
Naudojimo instrukcija
Kasutusjuhend
Instruçőes de utilizçăo
DK
SE
NO
FI
LV
LT
EE
SI
BIH HR
BIH SRB MNE
MK
GB
D
F
H
PL
RO
PT
SK
CZ
BG
UA
RUS
Mikrovalovna pečica
Mikrovalovna pećnica
Mikrotalasna rerna
Микробрановата печка
Microwave oven
Mikrowellengerät
Micro-ondes
Mikrohullámú sütő
Kuchenka mikrofalowa
Microunde
Mikrovlnná rúra
Mikrovlnná trouba
Микровълновата фурна
Мікрохвильова піч
Микроволновая печь
Mikrobølgeovn
Mikrobølgeoven
Mikrovågsugnen
Microondas
Mikroaaltouuni
Mikrovilnu krasnij
Mikrobangu krosnele
Mikrolaineahi
GMO 20 DGW
GMO 20 DGS
2
SL
Navodila za uporabo ...................................................3 HR
Upute za uporabu .....................................................10
SRB MNE Uputstvo za upotrebu ..............................................16
MK Упатства за употреба ............................................22
EN
Instruction manual ...................................................29
DE
Gebrauchsanweisung ..............................................35
FR
Notice d'utilisation ...................................................42
HU
Használati utasítás ...................................................49
PL
Instrukcja obsługi ....................................................56
RO
Manual de utilizare .................................................... 63 PT Instruções de utilizção ............................................. 69 SK
Návod na obsluhu .................................................... 75 CZ Návod na pouņití ....................................................... 81
BG
Инструкции за употреба .......................................87
UK
Iнструкція з експлуатації ........................................ 94 RU Инструкция по зксплуатации .............................. 100 DK
Brugsanvisning ...................................................... 107 SE
Bruksanvisning ..................................................... 113
NO Bruksanvisning ...................................................... 119
FI Käyttöopas .............................................................. 125 LV Lietońanas pamācības rokasgrāmata .................. 131 LT Naudojimo instrukcija ............... ........................... 137 EE Kasutusjuhend ........................... ........................... 143
3
NAVODILA ZA UPORABO SI
Pozorno preberite navodila in jih shranite!
Specifikacije
Poraba el. Energije
…………………………………………………230V~50Hz,1280W
Izhodna moĉ ................................................................................................... 800W
Grelnik za ţar ................................................................................................ 1100W
Delovna frekvenca: ................................................................................... 2450MHz
Zunanje mere: ...............................................
470mm(Š) X 397mm(G) X 282mm(V)
Mere komore (notra
njosti) peĉice: ................ 315mm(Š) X 330mm(G) X 195mm(V)
Prostornina peĉice: ...................................................................................... 20 litrov
Masa brez embalaţe:..................................................................... Pribliţno 11,5 kg
Raven hrupa:: .................................................................................... Lc < 58 dB (A)
Ta oprema je oznaţena v skladu z evropsko smernico 2002/96/EG o odpadni elektriţni in
elektronski opremi (waste electrical and electronic equipment - WEEE). Smernica opredeljuje
zahteve za zbiranje in ravnanje z odpadno elektriţno in elektronsko opremo, ki veljajo v celotni
Evropski Uniji.
Preden pokliţete serviserja
1.
Ĉe peĉica sploh ne deluje, ĉe se na ekranu ne pojavi niĉ ali ĉe se ekran ugasne:
a)
Preverite, ĉe je peĉica pravilno prikljuĉena na elektriĉno omreţje. Ĉe ni, odstranite vtikaĉ iz vtiĉnice,
poĉakajte 10 sekund in ga ponovno vkljuĉite.
b)
Preverite, ĉe je na elektriĉni napeljavi pregorela varovalka ali ĉe je tok prekinjen na glavni varovalki.
Ĉe je na varovalkah ni videti napake, preskusite vtiĉnico z nekim drugim aparatom.
2.
Ĉe mikrovalovna peĉica ne greje, t.j. ne oddaja mikrovalovne energije:
a)
Preverite, ĉe je programska ura pravilno nastavljena.
b)
Preverite, ĉe so vrata trdno zaprta in varnostne kljuĉavnice zaklenjene. Ĉe niso, se mikrovalovna
energija ne bo sprošĉala.
Ţe s pomoţjo zgornjih napotkov niste uspeli odpraviti teņav, se obrnite na najbliņjega
pooblańţenega serviserja.
Opomba:
Radijske motnje (interference)
Mikrovalovna peĉica lahko povzroĉa motnje sprejema pri Vašem radijskem sprejemniku, TV sprejemniku in
podobnih napravah. Ĉe pride do motenj (interference), je te moţno odpraviti ali zmanjšati z naslednjimi
ukrepi:
a)
Oĉistite vrata in površine tesnil na peĉici.
b)
Postavite radijski sprejemnik, TV sprejemnik itd. ĉim dlje od mikrovalovne peĉice.
c)
Za radijski sprejemnik, TV sprejemnik itd. uporabite ustrezno namešĉeno anteno, ki bo omogoĉala
moĉan sprejem signala.
Aparat je namenjen izkljuţno uporabi v gospodinjstvu, in sicer za segrevanje hrane in pijaţe s
pomoţjo elektromagnetne energije. Aparat uporabljajte le v zaprtih prostorih.
4
Namestitev
1.
Preverite, ĉe ste iz notranjosti vrat odstranili ves embalaţni material.
2.
Ko odstranite embalaţo, preglejte peĉico, ĉe je prišlo do vidnih poškodb, kot na primer:
- nagnjena vrata,
-
poškodovana vrata,
- udrtine ali luknje v steklu (oknu) na vratih ter na zaslonu,
-
udrtin v notranjosti peĉice.
Ĉe opazite kakšno izmed zgornjih poškodb, Ne uporabljajte peĉice.
3.
Mikrovalovna peĉica tehta okoli 15,5 kg; postavite jo na vodoravno površino, ki je dovolj trdna, da bo
zdrţala teţo peĉice.
4.
Peĉico postavite proĉ od virov visoke temperature in pare.
5.
Ne postavljajte niĉesar na peĉico.
6.
Da bi zagotovili zadostno zraĉenje, naj bo ob straneh peĉice vsaj 8 cm prostora, nad njo pa 10cm.
7. NE odstranjujte pogonske gredi vrtljivega podstavka.
8. Kot pri vseh drugih aparatih je tudi pri tem potreben skrben nadzor, ko ga uporabljajo otroci.
OPOZORILO:
TA APARAT JE POTREBNO OZEMLJITI.
9.
Vtiĉnica, na katero je prikljuĉen aparat, naj bo lahko dosegljiva za prikljuĉni kabel.
10.
Peĉica potrebuje 1,3 kVA vhodne moĉi. Priporoĉamo, da se ob namestitvi peĉice posvetujete s
serviserjem oz. ustreznim strokovnjakom.
POZOR:
Peĉica ima lastno zašĉito, in sicer varovalko 250V, 10A.
POMEMBNO
Barve ţic v prikljuĉnem kablu imajo naslednji pomen:
Zeleno-rumena: ozemljitveni vod
Modra:
nevtralni vod
Rjava:
fazni vod
Ker barve ţic v prikljuĉnem kablu morda ne odgovarjajo barvnim oznakam na terminalih vtikaĉa, upoštevajte
tudi naslednje:
-
Ţico zeleno-rumene barve prikljuĉite na terminal v vtikaĉu, ki je oznaĉen s ĉrko
E
ali s simbolom za
ozemljitev.
-
Ţico modre barve prikljuĉite na terminal v vtikaĉu, ki je oznaĉen s ĉrko
N
ali je ĉrne barve.
-
Ţico rjave barve prikljuĉite na terminal v vtikaĉu, ki je oznaĉen s ĉrko
L
ali je rdeĉe barve.
Pomembna varnostna navodila
OPOZORILO:
Ko aparat deluje v kombiniranem naĉinu, smejo otroci zaradi zelo visokih temperatur, ki
nastajajo, uporabljati aparat le pod skrbnim nadzorom odraslih (le za aparate s funkcijo ţara).
OPOZORILO:
Ĉe so vrata ali tesnila vrat poškodovana, aparata ne smete uporabljati, dokler ga ne popravi
za to poklicana oseba.
OPOZORILO:
Vsako popravilo ali servis, ki se ga loti kdorkoli razen pooblašĉenega serviserja, in pri
katerem je potrebno odstraniti pokrov za zašĉito pred mikrovalovnimi ţarki, je nevarno in tvegano.
OPOZORILO:
tekoĉine in druge hrane ne segrevajte v zaprtih oz. zatesnjenih posodah ali zatesnjeni
embalaţi, saj lahko ta eksplodira.
OPOZORILO:
Aparat ni namenjen, da bi ga uporabljali otroci in osebe z zmanjšanimi fiziĉnimi ali
psihiĉnimi sposobnostmi in tudi ne osebe s pomanjkljivimi izkušnjami in znanjem, razen ĉe jih pri uporabi
nadzoruje ali jim svetuje oseba, ki je odgovorna za njihovo varnost. Otroci naj se ne igrajo z aparatom.
Okoli peĉice je potrebno zagotoviti zadostno kroţenje zraka. Za peĉico naj bo vsaj 10cm prostora, ob
straneh vsaj 15cm, nad peĉico pa 30cm. Ne odstranjujte noţic peĉice in ne prekrivajte prezraĉevalnih reţ.
Uporabljajte le pripomoĉke, ustrezne za uporabo v mikrovalovni peĉici.
Ko segrevate hrano plastiĉnih ali papirnati embalaţi oz. posodi, nadzorujte proces segrevanja zaradi
nevarnosti, da se takšna embalaţa oz. posoda vname.
Ĉe opazite dim, izklopite aparat ali ga izkljuĉite iz elektriĉnega omreţja, vrata pa pustite zaprta, da zadušite
morebiten ogenj.
Ko v mikrovalovni peĉici segrevate pijaĉo, lahko ĉez nekaj ĉasa pijaĉa zavre in prekipi, zato v tem primeru
ravnajte posebej previdno.
Da ne bi prišlo do opeklin, pred uporabo premešajte ali pretresite vsebino stekleniĉk za dojenĉke ali
steklenk s hrano z
a dojenĉke ter preverite temperaturo vsebine.
V mikrovalovni peĉici ne segrevajte jajc v lupini ali celih trdo kuhanih jajc, saj lahko eksplodirajo, tudi
potem, ko je segrevanje v peĉici ţe konĉano.
5
Ko ĉistite površino vrat, tesnila, notranjosti peĉice, uporabite le blaga in neţna (ne abrazivna) ĉistilna
sredstva, nanesite pa jih z gobo ali mehko krpo.
Redno ĉistite peĉico in odstranjujte morebitne ostanke hrane.
Ĉe redno ne vzdrţujete in ĉistite peĉice, lahko pride do obrabe površin, kar negativno vpliva za ţivljenjsko
dobo aparata in poveĉuje tveganje nevarnosti pri njegovi uporabi.
Ĉe je prikljuĉni kabel poškodovan, ga sme v izogib nevarnosti zamenjati le proizvajalec, pooblašĉen
serviser ali drug ustrezno usposobljen strokovnjak.
Varnostna navodila za splońno uporabo
V nadaljevanju so našteta nekatera pravila in nekateri varnostni ukrepi, ki jih, podobno kot pri uporabi drugih
aparatov, velja upoštevati, da bi zagotovili varno in kar najbolj uĉinkovito delovanje peĉice:
1.
Med delovanjem peĉice naj bodo stekleni pladenj, roĉice valja, spojnica ter utor za valj vedno na svojem
mestu.
2.
Peĉice ne uporabljajte v noben drug namen razen za pripravo hrane; ne sušite v njej obleke, papirja ali
drugih predmetov in je ne uporabljajte za sterilizacijo.
3. Nikoli
ne vklopite peĉice, ĉe je ta prazna, saj jo lahko tako poškodujete.
4.
V notranjosti peĉice ne shranjujte niĉesar, npr. papirja, kuharskih knjig ipd.
5.
Ne kuhajte hrane, ki je obdana z membrano, npr. jajĉnih rumenjakov, krompirja, pišĉanĉjih jeter itd., ne
da bi pred tem membrano na veĉ koncih prebodli z vilicami.
6.
Ne vstavljajte nobenih predmetov v odprtine na zunanji strani peĉice.
7.
Nikoli ne odstranjujte delov peĉice, npr. noţic, zapaha, vijakov Itd.
8. Ne kuhajte hrane neposredno na steklenem p
odstavku. Preden hrano postavite v peĉico, jo postavite v
ustrezno posodo ali podoben pripomoĉek.
POMEMBNO:
Kuhinjski pripomoĉki, ki jih ne smete uporabljati v mikrovalovni peĉici:
-
Ne uporabljajte kovinskih ponev ali posod s kovinskimi roĉaji.
- Ne uporabljajte posode s kovinsko obrobo.
-
Ne uporabljajte s papirjem prekritih kovinskih ţiĉk za zapiranje plastiĉnih vreĉk.
- Ne uporabljajte posode iz melamina, saj vsebujejo material, ki vsrkava mikrovalovno energijo. To
lahko povzroĉi, da posoda razpoka ali se oţge, poleg tega pa upoĉasni segrevanje / kuhanje.
-
Ne uporabljajte posode brez ustreznega premaza za uporabo v mikrovalovni peĉici. Prav tako ne
uporabljajte zaprtih skodelic z roĉajem.
-
Ne pripravljajte hrane oz. pijaĉe v posodi, ki ima zoţeno odprtino, npr. v steklenici, saj lahko ta med
segrevanjem poĉi.
-
Ne uporabljajte obiĉajnih termometrov za meso ali slašĉice. Uporabljati smete le termometre, ki so
namenjeni prav uporabi v mikrovalovnih peĉicah.
9.
Pripomoĉke za mikrovalovno peĉico uporabljajte le v skladu z navodili njihovega proizvajalca.
10.
Ne poskušajte cvreti hrane v mikrovalovni peĉici.
11.
Bodite pozorni, da se v mikrovalovni peĉici segreje le tekoĉina, ne pa tudi posoda, v kateri se ta nahaja.
Zato je moţno, da potem, ko odstranite pokrov, tekoĉina v posodi oddaja paro ali iz nje škropijo kapljice,
tudi ĉe sam pokrov posode ni vroĉ.
12.
Pred uporabo vedno preverite temperaturo hrane, še posebej, ĉe jo boste dajali otrokom. Priporoĉamo,
da nikoli ne uţijete hrane/pijaĉe neposredno iz peĉice, temveĉ jo pustite nekaj minut in po moţnosti
premešate, da se temperatura enakomerno porazdeli.
13.
Hrana, ki vsebuje mešanico masti in vode, npr. jušna osnova, naj po izklopu peĉice ostane v njej še
pribliţno 30 do 60 sekund. Tako boste omogoĉili, da se mešanica ustali in prepreĉili uhajanje mehurĉkov,
ko boste v tekoĉino segli z ţlico ali vanjo vrgli jušno kocko.
14.
Pri pripravi hrane bodite pozorni, da se nekatere vrste hrane, npr. boţiĉni puding, marmelada ali mleto
meso, segrejejo zelo hitro. Ko segrevate ali kuhate hrano z visoko vsebnostjo masti ali sladkorja, ne
uporabljajte plastiĉne posode.
15.
Pripomoĉki, ki jih uporabljate pri pripravi hrane v mikrovalovni peĉici, se lahko moĉno segrejejo, saj
hrana oddaja toploto. To velja še posebej, ĉe so vrh posode in roĉaji prekriti s plastiĉnim pokrovom ali s
plastiĉno prevleko. Pri prijemanju te posode boste morda potrebovali kuhinjske rokavice.
16.
Da bi zmanjšali tveganje poţara v notranjosti peĉice:
a) pazite, da hrane ne kuhate pre
dolgo. Skrbno nadzorujte potek segrevanja, kadar so v peĉici prisotni
pripomoĉki iz papirja, plastike ali drugih lahko vnetljivih oz. gorljivih materialov.
b)
Preden postavite vreĉko v peĉico, odstranite ţiĉke za zapiranje vreĉke.
c)
Ĉe se predmet v peĉici vname, pustite vrata peĉice zaprta, izklopite peĉico z elektriĉnega omreţja ali
izklopite glavno varovalko na plošĉi z varovalkami.
6
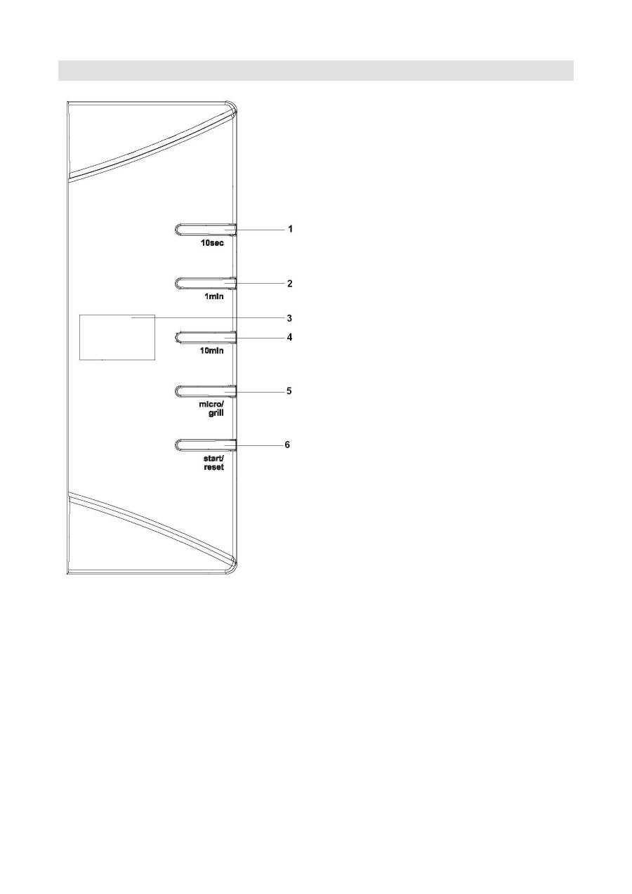
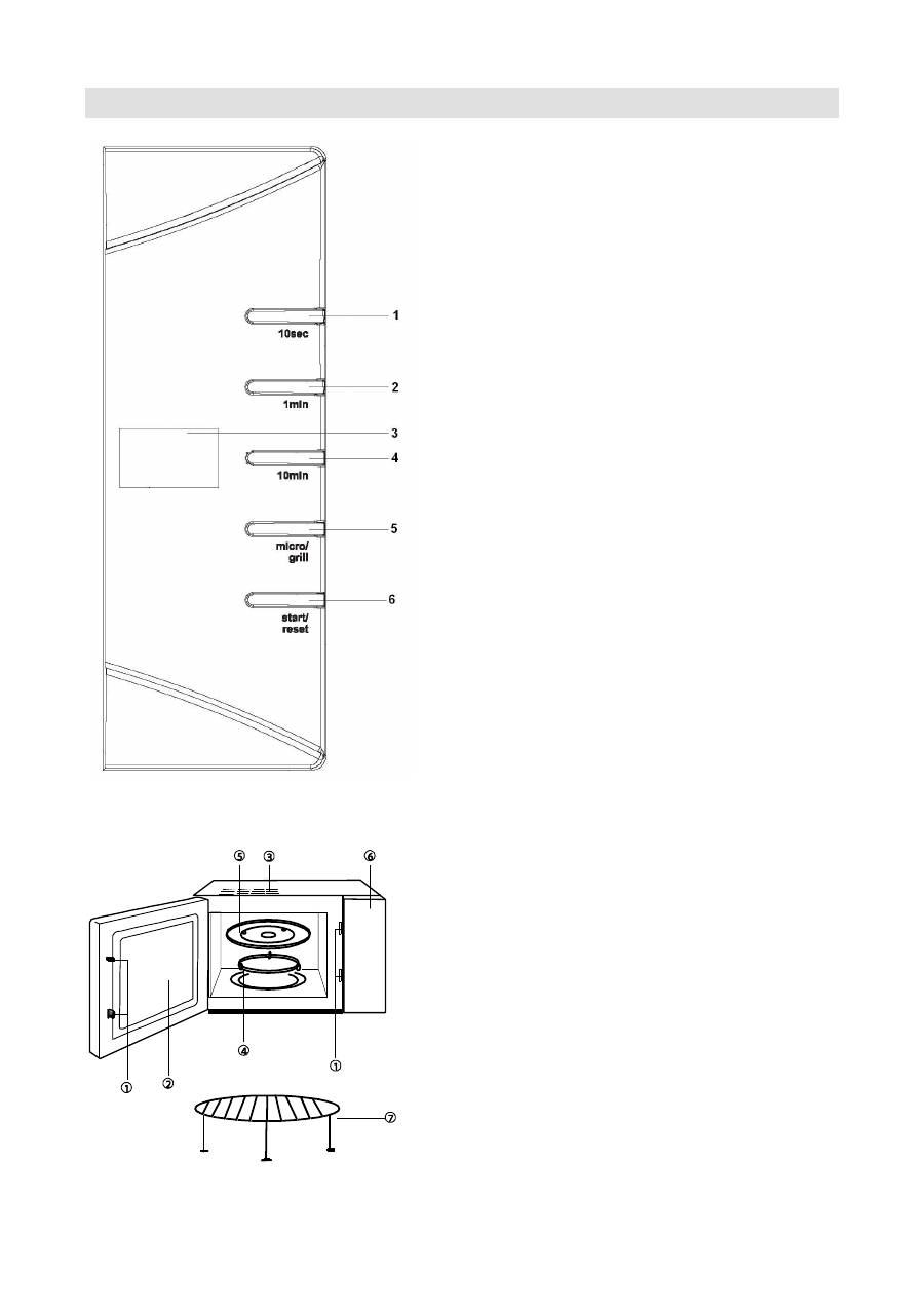
1 -
Gumb
za izbiro ĉasa s korakom 10 sek
2 -
Gumb za iz
biro ĉasa s korakom 1 min
3 -
Prikazovalnik
4 -
Gumb
za izbiro ĉasa s korakom 10 min
5 -
Gumb za izbir
o naĉina kuhanja ali peĉenja
6 -
Gumb
za priĉetek in preklic delovanja
Diagram peţice
7
Navodila za upravljanje
1. Segrevanje z enim pritiskom na gumb
Z enim samim pritiskom na gumb l
ahko zaĉnete s preprostim kuhanjem. Funkcija je zelo priroĉna in
omogoĉa, da zelo hitro segrejete kozarec vode itd.
Primer: Segrevanje kozarca mleka
a)
Kozarec mleka postavite na stekleni vrtljivi pladenj ter zaprite vrata peĉice.
b) Pritisnite gumb "START/RESET
" in mikrovalovna peĉica bo delovala 1 minuto s 100% moĉjo.
c)
Ko je segrevanje konĉano, boste zaslišali pet piskov.
2.
Segrevanje z mikrovalovnimi ņarki
Ta funkcija ima dve moţnosti:
a)
Hitro segrevanje z mikrovalovnimi ţarki (100% moĉ)
Primer:
Kuhanje s 100% moĉjo 5 minut.
1.
Nastavite ĉas na "5:00".
2. Pritisnite "START/RESET".
b)
Segrevanje z mikrovalovnimi ţarki z roĉnim nadzorom
1. Pritisnite gumb "MICRO/GRILL"
in izberite stopnjo moĉi 70%.
2.
Nastavite ĉas na "10:00".
3. Pritisnite "START/RESET" gumb.
Nastavite lahko 5 ravni moţi segrevanja, najdaljńi ţas delovanja pa je 59 minut in 50 sekund.
Ńtevilo pritiskov
na tipko
Moţ mikrovalovnih ņarkov
Izpis na ekranu
1
100%
P10
2
70%
P7
3
50%
P5
4
30%
P3
5
10%
P1
1
- Zapiralo vrat
2
-
Okno peĉice
3
-
Prezraĉevalne reţe ali
ventilator za prezraĉevanje
4
-
Obroĉ pladnja
5
- Stekleni pladenj
6
-
Nadzorna plošĉa
7
-
Rešetka za ţar
8
3. Samodejno odtajevanje glede na maso
Primer: Odtajanje 0,5 kg zamrznjenega mesa.
a) S pritiskom na gumb "MICRO/GRILL" izberite "DEF".
b) S pritiskom na gumba "1Min" (1 kg) ter "10Sec" (0,1 kg) vnesite maso.
c) Pritisnite gumb "START/RESET".
Masa zamrznjene hrane mora biti man
jńa od 2 kg.
4.
Ņar/Kombinirano upravljanje
Ta funkcija ima štiri stopnje; ţeleno stopnjo izberite s gumbom "MICRO/GRILL", tako da gumb pritisnete
7 krat.
Najdaljši moţen ĉas kuhanja oz. peke je 59 minut in 50 sekund. V spodnji tabeli so opisani razliĉni
koraki kuhanja s
samim ţarom oz v kombinaciji ţara in mikrovalov.
Stopnja
Moţ mikrovalovnih ņarkov
Moţ ņara
Ekran
1
/
85%
G
– 1
2
/
50%
G
– 2
3
55%
45%
C
– 1
4
30%
70%
C
– 2
Ko izberete ustrezno kombinacijo, nastavite ĉas kuhanja/peĉenja ter pritisnete gumb »START/RESET«.
Opomba:
Med kuhanjem oz. peko (ne velja za kombinirano kuhanje / peko) bo na polovici nastavljenega
ĉasa peĉica samodejno zaĉasno prekinila delovanje in oddala dva piska; s tem Vas opominja, da obrnite
hrano. Ko to storite, zaprite
vrata peĉice in pritisnite gumb "START/RESET" za nadaljevanje kuhanja oz.
peke. Ĉe v ĉasu ene minute od zvoĉnega signala hrane ne obrnete, se bo kuhanje avtomatsko
nadaljevalo.
5. "Start/Reset" gumb
a)
Ĉe med delovanjem aparata pritisnete gumb "START/RESET", bo delovanje peĉice prekinjeno.
b)
Ĉe ste predhodno nastavili programiran vklop, bo po pritisku na gumb "START/RESET"
programirano delovanje preklicano.
6. Zaklepanje pred otroci
Ĉe ţelite aktivirati funkcijo zaklepanja pred otroki, hkrati pritisnite gumba "1 Min" in "10 Sec" ter ju drţite
dve sekundi. Ĉe ţelite izklopiti to funkcijo, storite enako.
9
Skrb za mikrovalovno peţico – nega in vzdrņevanje
1.
Pred ĉišĉenjem izklopite peĉico in izvlecite vtikaĉ iz vtiĉnice.
2.
Notranjost peĉice naj bo vedno ĉista. Ko se delci hrane, tekoĉina, ki škropi iz nje, ali razlita tekoĉina,
zasuši na stene peĉice, le-te obrišite z vlaţno krpo. Uporaba grobih detergentov ali abrazivnih ĉistilnih
sredstev ni priporoĉljiva.
3.
Zunanjo površina peĉice oĉistite z vlaţno krpo. Da prepreĉite poškodbe delov v notranjosti peĉice pazite,
da se voda ne razlije v reţe za prezraĉevanje.
4.
Ne dopustite, da se nadzorna plošĉa zmoĉi. Oĉistite jo z mehko, vlaţno krpo. Za ĉišĉenje nadzorne
plošĉe ne uporabljajte detergentov, grobih (abrazivnih) sredstev ali ĉistil v razpršilu.
5.
Ĉe se v notranjosti ali okoli zunanjih ploskev ohišja nabere para, jo obrišite z mehko krpo. Do tega lahko
pride, ko mikrovalovno peĉico uporabljate v zelo vlaţnih prostorih in nikakor ne pomeni napako pri
delovanju peĉice.
6.
Obĉasno je potrebno odstraniti tudi steklen pladenj in ga oĉistiti. Pladenj pomijte v topli vodi z nekaj
detergenta ali v pomivalnem stroju.
7.
Leţajni obroĉ ter dno (spodnja ploskev) notranjosti peĉice je potrebno redno ĉistiti, saj lahko sicer med
delovanjem peĉica oddaja hrup. Preprosto obrišite dno notranjosti peĉice z blagim detergentom, vodo ali
sredstvom za ĉišĉenje stekla ter posušite. Leţajni obroĉ lahko pomijete v topli vodi z nekaj detergenta ali
v pomivalnem stroju. po
daljši uporabi se lahko na kolesih leţajnega obroĉa naberejo hlapi od kuhanja,
vendar to ne vpliva na njegovo delovanje. Ko odstranjujete leţajni obroĉ iz utora na dnu komore
(notranjosti peĉice), pazite, da ga boste pravilno ponovno namestili.
8. Morebi
ten neprijeten vonj iz peĉice lahko odstranite tako, da v globoko posodo za pripravo hrane v
mikrovalovni peĉici vlijete skodelico vode ter nareţete lupino ene limone. Posodo nato za pet minut
postavite v mikrovalovno peĉico in le-to vklopite. Po koncu delovanja temeljito posušite notranjost peĉice
in jo obrišite z mehko krpo.
9.
Ĉe je potrebno zamenjati ţarnico v peĉici, se, prosimo, obrnite na prodajalca.
OKOLJE
Aparata po preteku ţivljenjske dobe ne zavrzite skupaj z obiĉajnimi gospodinjskimi odpadki, temveĉ ga
odloţite na uradnem zbirnem mestu za recikliranje. Tako pripomorete k ohranitvi okolja.
GARANCIJA IN SERVIS
Za informacije ali v primeru teţav se obrnite na Gorenjev center za pomoĉ uporabnikom v vaši drţavi
(telefonsko številko najdete v mednarodnem garancijskem listu). Ĉe v vaši drţavi takšnega centra ni, se
obrnite na lokalnega Gorenjevega prodajalca ali Gorenjev oddelek za male gospodinjske aparate.
Samo za osebno uporabo!
Pridrņujemo si pravico do sprememb! VELIKO UŅITKA OB UPORABI VAŃE MIKROVALOVNE PEŢICE VAM ŅELI Za dodatna priporoĉila za peĉenje z mikrovalovi in ţarom ter koristnimi nasveti najdete na spletni strani: http://microwave.gorenje.com
10
UPUTE ZA UPORABU HR
Pozorno proučite upute, te ih sačuvajte.
Specifikacija
Potrošnja el. energije ................................................................ 230V~50Hz,1280W
Radna snaga .................................................................................................. 800W
Grijaĉ za ţar .................................................................................................. 1100W
Radna frekvencija: .................................................................................... 2450MHz
Vanjske dimenzije: ........................................
470mm(Š) X 397mm(G) X 282mm(V)
Dimenzije otvora (unutrašnjosti) pećnice:……315
mm
(Š) X 330
mm
(G) X 195
mm
(V)
Volumen pećnice: ........................................................................................ 20 litara
T
eţina bez ambalaţe: ................................................................... Pribliţno 11,5 kg
Razina buke: ..................................................................................... Lc < 58 dB (A)
Prije nego pozovete servisera
1.
Ukoliko pećnica stvarno ne radi, ukoliko se na ekranu ništa ne pojavi ili se ekran ugasi:
a)
Provjerite, da li je pećnica ispravno prikljuĉena na elektriĉnu mreţu. Ukoliko nije, izvucite utikaĉ iz
utićnice, te nakon 10 sekundi ponovno ga ukljuĉite.
b) Provjerite, da l
i je na elektriĉnim instalacijama pregorio osiguraĉ, ili je tok iskljuĉen na glavnom
osiguraĉu. Ukoliko na osiguraĉu nema vidljivog oštećenja, isprobajte utićnicu s nekim drugim
ureĊajem.
2.
Ukoliko mikrovalna pećnica ne grije, t.j. ne odaje mikrovalnu energiju:
a) Provjerite, da li je programski sat pravilno postavljen.
b)
Provjerite, da li su vrata pećnice tijesno zatvorena i sigurnosna brava zakljuĉana. Ukoliko nisu,
mikrovalna energija neće funkcionirati.
Ukoliko uz gore navedene upute niste uspjeli
otkloniti neprilike, obratite se najbliņem ovlańtenom
serviseru.
Napomena :
Radijske smetnje (interferencija)
Moguće je da mikrovalna pećnica prouzroĉi smetnje kod prijema na Vašem radio ureĊaju, TV prijamniku i
sliĉnim ureĊajima. Ukoliko doĊe do smetnji (interferencije), moguće ih je otkloniti ili smanjiti na jedan od
slijedećih naĉina:
a)
Oĉistite vrata i brtvene površine.
b)
Postavite radio prijamnik, TV prijamnik itd. što dalje od mikrovalne pećnice.
c) Za radio prijamnik, TV prijamnik itd. Upotri
jebite ispravno namještenu antenu, koja će omogućiti prijem
snaţnog signala.
Postavljanje
1.
Provjerite, da li ste iz unutrašnosti pećnice uklonili svu ambalaţu.
2.
Nakon što odstranite ambalaţu, pregledajte pećnicu, i ukoliko ste primjetili vidljiva oštećenja, kao na
primjer:
- vrata koja vise,
UreŤaj je namijenjen za uporabu jedino u domašinstvu, te za zagrijavanje hrane i piša uz pomoš
elektromagnetske energije. UreŤaj koristite samo u zatvorenom prostoru.
11
-
oštećena vrata,
-
ogrebotine ili ulegnuće na staklu (prozoru) vrata ili na ekranu,
-
ogrebotina u unutrašnjosti pećnice.
Ukoliko opazite bilo koje od gore navedenih oštećenja, pećnicu NE UPOTREBLJAVAJTE.
M
ikrovalovna pećnica je teška 15,5 kg; postavite je na vodoravnu površinu, koja je dovoljno ĉvrsta, da
bi izdrţala teţinu pećnice.
3.
Pećnicu odmaknite od izvora visoke temperature ili pare.
4.
Ne odlaţite nikakve predmete na pećnicu.
5. Kako bi osigurali
kvalitetno provjetravanje, neka bude sa strane pećnice 8 cm prostora, a nad njom 10
cm.
6. NE skidajte vodilice okretnog pladnja.
7.
Kao i kod svih drugih ureĊaja, i kod ovog je nuţan briţan nadzor, ukoliko ga upotrebljavaju dijeca.
UPOZORENJE:
OVAJ URE
ĈAJ MORA BITI UZEMLJEN.
8.
Utićnica, na koju je prikljuĉen ureĊaj, neka bude lako dostupna za prikljuĉni kabel.
9.
Za djelovanje pećnice potrebna je snaga od 1,3 kVA. Preporuĉamo, da se pred prikljuĉenjem na
elektriĉnu mreţu posavjetujete sa serviserom ili odgovarajućim struĉnjakom.
POZOR:
Pećnica ima svoju zaštitu,i to osiguraĉ 250V, 10A.
VAŅNO
Boje vodiĉa u prikljuĉnom kabelu imaju slijedeće znaĉenje:
Zeleno-
ņuta: uzemljenje
Plava:
neutralna
SmeŤa:
struja
Ukoliko boja vodiĉa ne odgovara bojama, kojima su oznaĉeni terminali na Vašoj utićnici. U tom sluĉaju
postupite kako slijedi:
-
Ţicu zeleno-ţute boje prikljuĉite na terminal na utikaĉu, koji je oznaĉen slovom
E
ili simbolom za
uzemljenjem.
-
Ţicu plave boje prikljuĉite na terminal na utikaĉu, koji je oznaĉen slovom
N
ili je crne boje.
-
Ţico smeĊe boje prikljuĉite na terminal na utikaĉu, koji je oznaĉen slovom
L
ili je crvene boje.
Vaņne sigurnosne upute
UPOZORENJE:
Ukoliko ureĊaj djeluje u kombiniranom naĉinu, radi veoma visoke temperature, koja se
ra
zvija, dijeca smije koristiti ureĊaj samo pod nadzorom odraslih osoba (i za ureĊaje s funkcijom ţara).
UPOZORENJE:
Ukoliko su vrata ili brtva vrata oštećeni, ureĊaj ne smijete koristiti, sve dok ga ne popravi
za to ovlaštena osoba.
UPOZORENJE:
Svaki popr
avak ili servis, koji bi izvršila osoba osim ovaštenoh servisera, a pri kojem je
potrebno odstraniti poklopac za zaštitu od mikrovalnog isijavanja, je opasno i nesigurno.
UPOZORENJE:
tekućinu i ostalu hranu ne zagrijavajte u zatvorenim odnosno zadihtanim posudama ili
ambalaţi, jer će lagano eksplodirati.
UPOZORENJE:
Ovaj aparat nije namijenjen osobama (ukljuĉujući djecu) sa smanjenim fiziĉkim ili
mentalnim sposobnostima niti osobama koje nemaju dovoljno iskustva i znanja, osim ako im je osoba
odgovorna za
njihovu sigurnost dala dopuštenje ili ih uputila u korištenje aparata. Malu djecu potrebno je
nadzirati kako se ne bi igrala s aparatom.
Oko pećnice je potrebno osigurati zadovoljavajuće kruţenje zraka. Neka za pećnicu bude bar 10 cm
prostora, sa strane ba
r 15cm, iznad pećnice 30cm. Ne odstranjujte nogice pećnice i ne prekrivajteotvor za
prozraĉivanje.
Koristite pomagala, prikladne za korištenje mikrovalne pećnice.
Ukoliko zagrijavate hranu u plastiĉnoj ili papirnatoj ambalaţi, odnosno posudi, nadzirite proces zagrijavanja
radi sigurnosti, da se takva ambalaţa, odnosno posuda ne zapali.
Ukoliko primjetite dim, iskljuĉite ureĊaj ili ga iskljuĉite iz elektriĉne mreţe, vrata ostavite zatvorenim, kako bi
zagušili mogući plamen.
Ako u mikrovalnoj pećnici zagrijavate piće, u kratkom vremenu piće će provreti i iskipiti, zbog toga u tom
sluĉaju paţljivo rukujte.
Da bi izbjegli opekline, prije uporebe protresite staklenku za dojenĉad ili staklenku za hranu za dojenĉad,
provjerite temperaturu sadrţaja.
U mikroval
noj pećnici ne zagrijavajte jaja u ljusci ili cijela tvrdokuhana jaja, jer će eksplodirati, ĉak i kada je
sagrijavanje u pećnici završeno.
Kada ĉistite površinu vrata, brtve, unutrašnjost pećnice, koristite blaga i njeţna (ne abrazivna) sredstva za
ĉišćenje, nanesite ih sa spuţvom ili mekanom tkaninom.
12
Redovito ĉistite pećnicu i odstranjujte moguće ostatke hrane.
Ukoliko redovito ne ĉistite i ne odrţavate pećnicupovršina će se lagano oštetiti, što ima negativan utjecaj
na ţivotnu dom ureĊaja i povećanje nesigurne uporabe samog ureĊaja.
Ukoliko je prikljuĉni kabel oštećen, u cilju sigurnosti zamijeniti ga treba proizvoĊaĉ, ovlašteni serviser ili
drugi za to prikladno osposobljen struĉnjak.
SIGURNOSNE UPUTE ZA OPŠENITU UPORABU
U nastavku su navedena odreĊena pravila i odreĊeni sigurnosni savjeti, koje, jednako kao i kod ostalih
ureĊaja, treba poštivati, da bi omogućili sigurno i najuĉinkovitije djelovanje pećnice:
1.
Dok pećnica radi neka stakleni pladanj, ruĉice valja, sklopka i utor za valj budu na svom mjestu.
2.
Pećnicu ne upotrebljavajte niti u koju drugu svrhu osim za pripremu hrane; ne sušite u njoj tkanine, papir
ili druge predmete i ne upotrebljavajte ju za sterilizaciju.
3.
Nikada ne ukljuĉite pećnicu, ukoliko je prazna, jer će te ju tako oštetiti.
4.
Ništa ne odlaţite u unutrašnjost pećnice, npr. papir, knjige o kuhanju itd.
5.
Ne kuhajte hranu, koja je okruţena membranom, npr. ţumanjak, krumpir, pileća jetrica itd., prije nego
membranu više puta probodete vilicom.
6. Ne stavljajte nikakve predmet
e u otvore s vanjske strane pećnice.
7.
Ne odstranjujte dijelove iz pećnice, npr. nogice, zasun, vijke td.
8.
Ne kuhajte hranu neposredno na staklenom postolju. Prije nego hranu postavite u pećnicu, odloţite ju u
prikladnu posudu.
9.
VAŅNO:
Kuhinjska poma
gala, koje ne smijete koristiti u mikrovalnoj pećnici:
-
Ne upotrebljavajte metalno posuĊe ili posuĊe s metalnim ruĉkama.
-
Ne upotrebljavajte posuĊe s metalnim okvirom.
-
Ne upotrebljavajte papirom prekrivenu ţicu za zatvaranje plastiĉnih vrećica.
-
Ne upotrebljavajte posuĊe od melamina, koje sadrţe materijal, koje upijaju mikrovalnu energiju. Moglo
bi prouzroĉiti da posuĊe pougljeni ili se zapali, pored toga usporava zagrijavanje/kuhanje
-
Ne upotrebljavajte posuĊe bez odgovarajućeg premaza za uporabu u mikrovalovnoj pećnici. Jednako
teko ne upotrebljavajte zatvorene šalice s ruĉkom.
-
Ne pripremajte hranu odn. piĉe u posudi, koja ima suţeni otvor, npr. u staklenki, jer bi se za vrijeme
grijanja mogla raspuknuti.
-
Ne upotrebljavajte uobiĉajene termometre za meso ili slatstice. Upotreijebiti moţete samo termometre,
koji su namijenjeni baš za uporabu u mikrovalnoj pećnici.
10.
Pomagala za mikrovalnu pećnicu upotrebljavajte u skladu s uputama njihovog proizvoĊaĉa.
11.
Ne pokušavajte prţiti hranu u mikrovalnoj pećnici.
12.
Budite oprezni, da seu mikrovalnoj pećnici grije samo tekućina, a ne i posuda,u kojoj se nalazi. Moguće
je, da nakon, što odstranite poklopac, tekućina u posudi otpušta paru ili iz nje škrope kapljice, iako sam
poklopac posude nij
e vruĉ.
13.
Prije uporabe stvarno provjerite temperaturu hrane, naroĉito, ukoliko ĉete ju dati dijeci. Preporuĉamo, da
nikada ne konzumirate hranu/piće neposredno iz pećnice, već ju ostavite koju minutu i po mogućnosti
promiješajte, kako bi se temperatura ravnomjerno razdijelila.
14.
Hrana koja sadrţi mješavinu masti i vode, npr. jušna osnova, neka po iskljuĉenju pećnice ostane u njoj
još pribliţno 30 do 60 sekundi. Tako ĉete omogućiti, da se mješavina umiri te ĉete sprijećiti izlazak
mjehurića (pjenjenje), kada ĉete u tekućinu staviti ţlicu ili u nju ubacili kocku.
15.
Pri pripremanju hrane budite oprezni, da se naka vrsta hrane hrane, npr. boţiĉni puding, marmelada ili
mljeveno meso, zagriju veoma brzo. Kada zagrijavate ili kuhate hranu s visokim sadrţajem masti ili
šeĉera, ne koristite plastiĉne posude.
16.
Pomagala, koje koristite kod pripremanja hrane u mikrovalnoj pećnici, se jako zagriju, tako da hrana
otpušta toplinu. Naroĉito, ako su vrh posudei ruĉke prekriveni plastikom ili plastiĉnom prevlakom. Kod
primanja takve posude, poţeljno je koristiti rukavce za kuhanje.
17.
Da bi smanjili rizik poţara u unutrašnjosti pećnice:
a)
pazite, da hranu ne kuhate predugo. Pozorno nadzirite proces zagrijavanja, kada su u pećnici prisutna
pomagala od papira, plastike ili drugih lako gorivih materijala.
b)
Prije nego postavite vreĉicu u pećnicu, odstranite ţicu za zatvaranje vrećice.
c)
Ukoliko se predmet u pećnici zapali, ostavite vrata pećnice zatvorenim, iskljuĉite pećnicu iz elektriĉne
mreţe ili iskljuĉite glavni osiguraĉ na ploĉi s osiguraĉima.
13
Diagram pešnice
1
-
tipka za ĉas dodaj (+) 10 sek
2
-
tipka za ĉas dodaj (+) 1 min
3
- ekran
4
-
tipka za ĉas dodaj (+) 10 min
5 -
tipka za ukljuĉenje mikrovalovne
energije, odmrzavanja, roštilja ili
kombiniranog kuhanja
6
- t
ipka za ukljuĉenje / prekid
1
- Sigurnosni sustav za zatvaranje vrata
2
-
Prozor pećnice
3
-
Otvor za prozraĉivanje ili ventilator za prozraĉivanje
4
-
Leţajni obruĉ
5
- Stakleni pladanj
6
-
Nadzorna ploĉa
7
-
Rešetka za ţar
14
Uputstva za upravljanje
1. ZAGRIJAVANJE S PRITISKOM NA JEDAN GUMB
Sa samo jednim pritiskom na gumb zapoĉet ĉete jednostavno kuhanje. Funkcija je jako priruĉna i
omogućuje, da npr jako brzo zagrijete šalicu vode ipd.
Primjer: Zagrijavanje šalice mlijeka
a)
Šalicu mlijeka postavite na stakleni vrtljivi pladanj te zatvorite vrata.
b) Pritisnite tipku "START/RESET
" i mikrovalovna pećnica će raditi 1 minutu sa 100% snage.
c) Kada kuhanje
završi, ćuti ĉete pet zvuĉnih signala.
2. KUHANJE S MIKROVALNOM ENERGIJOM
Ova funkcija ima dvije mogućnosti.
a) Brzo kuhanje s mikrovalnom energijom (100% snage)
Primjer: Kuhanje sa 100% snage 5 minuta.
1. Postavite vrijeme na "5:00".
2. Pritisnite "START/RESET".
b)
Kuhanje s mikrovalnom energijom s ruĉnim nadzorom
1. Pritisnite tipku "MICRO/GRILL" i izberite stupanj snage 70%;
2. Postavite vrijeme na "10:00".
3. Pritisnite " START/RESET ".
Postavite 5 naĉina snage kuhanja,najdulje vrijeme djelovanja je 59 minuta i 50 sekunda.
Broj pritisaka na tipku
Snaga mikrovalne energije
Ispis na ekranu
1
100%
P10
2
70%
P7
3
50%
P5
4
30%
P3
5
10%
P1
3. SAMOSTALNO ODMRZAVANJE OVISNO O MASI
Primjer: Otapanje 0,5 kg zamrznutog mesa.
a) S pritiskom na tipku "MICRO/GRILL" izaberite "DEF".
b)
S pritiskom na tipku "1Min" (1 kg) te "10Sec" (0,1 kg) unesite teţinu.
c) Pritisnite tipku " START/RESET ".
Masa (teņina) zamrznute hrane mora biti manja od 2 kg.
4. Gril/kombinirano upravljanje
Ova funkcija ima ĉetiri stupnja; ţeljeni stupanj birate tipkom "MICRO/GRILL" tako da tipku pritisnete 7 puta.
(Najdulje moguće vrijeme kuhanja odnosno peĉenja je 59 minuta i 50 sekunda). U donjoj tabeli opisani su
razliĉiti koraci kuhanja sa samim grilom odnosno u kombinaciji grila i mikrovalova.
Stupanj
Snaga mikrovalnog zraţenja
Jaţina rońtilja
Ekran
1
/
85%
G
– 1
2
/
50%
G
– 2
3
55%
45%
C
– 1
4
30%
70%
C
– 2
Kada izaberete odgovarajušu kombinaciju, namjestite vrijeme kuhanja/peţenja i pritisnite tipku
»START/RESET«.
Napomena:
Tijekom kuhanja, odnosno peĉenja (ne vaţi za kombinirano kuhanje/peĉenje), pećnica će na
polovini odabranog vremena automatski privremeno prekinuti djelovanje i emitirati dva signala. Time Vas
upozorava da okrenete hranu. Kad ovo uĉinite, zatvorite vrata pećnice i pritisnite tipku Start za nastavak
kuhanja, odnosno peĉenja. Ako u razdoblju jedne minute od zvuĉnog signala hranu ne okrenete, kuhanje će
se nastaviti.
15
5. "Start/Reset"
1.
Ukoliko za vrijeme djelovanja ureĊaja pritisnete tipku "START/RESET", djelovanje pećnice će se
zaustaviti.
2.
Ukoliko ste prethodno postavili programirano ukljuĉenje, nakon pritiska tipke "START/RESET" će
programirano djelovanje biti otkazano.
6. ZATVARANJE ZA DIJECU
Ukoliko ţelite aktivirati ovu funkciju – zatvoreno za dijecu, istovremeno pritisnite tipke "1 min" i "10 sec"
te ih drţite dvije sekunde. Ukoliko ţelite iskljuĉiti ovu funkciju, postupite jednako.
Njega mikrovalovne pešnice
1.
Prije ĉišćenja iskljuĉite pećnicu i izvucite utikaĉ iz utićnice.
2. Unutr
ašnjost pećnice neka bude vidljivo ĉista. Ako se ostaci hrane, tekućine, koja curi iz nje, ili razlita
tekućina, zasuši na stijenama pećnice, obrišite s vlaţnom krpom. Uporaba grubih deterĊenata ili
abrazivnih sredstava za ĉišćenje nije preporuĉljiva.
3.
Vanjsku površinu pećnice oĉistite s vlaţnom krpom. Da bi sprijeĉili oštećenje dijelova u unutrašnjosti
pećnice, pripazite da se voda ne razlije kroz otvor za prozraĉivanje.
4.
Ne dopustite, da se nadzorna ploĉa smoći. Oĉistite ju s mekanom, vlaţnom krpom. Za ĉišĉenje nadzorne
ploĉe ne koristite deterĊente, gruba (abrazivna) sredstva ili sprejeve za ĉišćenje.
5.
Ako se na unutrašnjoj ili vanjskoj strani vrata pećnice nakupi para, obrišite je mekanom krpom. Ova je
pojava moguća, ako mikrovalna pećnica djeluje u vlaţnom okruţenju i ne predstavlja nikakvu grešku u
djelovanju pećnice.
6.
Povremeno izvadite i stakleni pladanj te ga oĉistite. Pladanj operite u toploj vodi s malo deterĊenta ili u
stroju za pranje posuĊa.
7.
Leţajni obruĉ i pod komore (unutrašnjost kuĉišta) pećnice potrebno je redovito ĉistiti.Time izbjegavate
prekomjernu buku prilikom djelovanja. Operite površinu poda kuĉišta blagim deterĊentom, ili sredstvom
za ĉišćenje stakla te posušite. Leţajnio obruĉ jednostavno operite u vodi s malo deterĊenta ili u suĊerici.
Redovitom uporabom nakupi se vlaga, koja izlazi iz hrane, no to ne utjeĉe na površinu unutrašnjosti ili na
leţajni obruĉ.
8.
Eventualan neprijatan vonj u pećnici moţete odstraniti tako, da u duboku posudu, prikladnu za uporabu u
mikrova
lnoj pećnici,ulijete šalicu vode te nareţete koru jednog limuna. Zatuim posudu stavite u
mikrovalnu pećnicu te je ukljuĉite. Poslije rada, temeljito posušite unutrašnjost pećnice te ju obrišite
mekanom krpom.
9. Ukoliko je potrebno promijeniti ţaruljicu u pećnici, molimo Vas posavjetujte se s prodavateljem, odnosno
odgovarajuće osposobljenim serviserom.
Okolina
Simbol na proizvodu ili na njegovoj ambalaţi oznaĉuje, da se s tim proizvodom ne smije postupiti kao
s otpadom iz domaćinstva. Umjesto toga treba biti uruĉen prikladnim sabirnim toĉkama za recikliranje
elektroniĉkih i elektriĉkih aparata. Ispravnim odvoţenjem ovog proizvoda sprijeĉit ćete potencijalne negativne
posljedice na okoliš i zdravlje ljudi, koje bi inaĉe mogli ugroziti neodgovarajućim rukovanjem otpada ovog
proizvoda. Za detaljnije informacije o recikliranju ovog proizvoda molimo Vas da kontaktirate Vaš lokalni
gradski ured, uslugu za odvoţenje otpada iz domaćinstva ili trgovinu u kojoj ste kupili proizvod.
Garancija i servis
Za informaci
je ili u sluĉaju problema obratite se Centru Gorenja za pomoć korisnicima u vašoj drţavi
(telefonski broj naći ćete u meĊunarodnom garancijskom listu). Ako u vašoj drţavi nema takvog centra,
obratite se lokalnom trgovcu Gorenja, ili odjelu Gorenja za male
kućanske aparate.
Nije za profesionalnu uporabu!
Pridrņavamo pravo do promjena! MNOŃTVO UŅITAKA PRI UPORABI VAŃE MIKROVALNE PEŠNICE VAM ŅELI
16
UPUTSTVO ZA UPOTREBU SRB MNE
Pažljivo pročitajte uputstva i sačuvajte ih.
Specifikacije
Potrošnja el. energije: ............................................................... 230V~50Hz,1280W
Izlazna snaga: ................................................................................................. 800W
Grejaĉ roštilja: ............................................................................................... 1100W
Radna frekvencija: .................................................................................... 2450MHz
Dimenzije: .....................................................
470mm(Š) X 397mm(G) X 282mm(V)
Dimenzije komore (unutrašnjosti) pećnice: ........
315mm(Š) X 330mm(G) X 195mm(V)
Kapacitet pećnice: ....................................................................................... 20 litara
Masa bez ambalaţe: ..................................................................... Pribliţno 11,5 kg
Jaĉina buke: ..................................................................................... Lc < 58 dB (A)
Pre nego ńto pozovete servisera
1.
Ako pećnica uopšte ne radi, ako se na ekranu ništa ne pojavljuje ili ako se ekran ugasi:
a)
Proverite da li je pećnica pravilno prikljuĉena na elektriĉnu mreţu. Ako nije, izvadite utikaĉ iz utiĉnice,
priĉekajte 10 sekundi i ponovo ga ukljuĉite.
b)
Proverite da li je na elektriĉnoj instalaciji pregoreo osiguraĉ ili je prekinut dovod struje na glavnom
osiguraĉu. Ako su osiguraĉi ispravni, isprobajte utiĉnicu sa nekim drugim aparatom.
2.
Ako mikrotalasna pećnica ne greje, tj. ne emituje mikrotalasnu energiju:
a)
Proverite da li je tajmer za programiranje starta i rada pravilno podešen.
b)
Proverite da li su vrata ĉvrsto zatvorena i sigurnosne brave zakljuĉane. Ako nisu, mikrotalasna
energija se neće oslobaĊati.
Ako uz pomoš gornjih uputstava niste uspeli da reńite probleme, obratite se najbliņem
ovlańšenom serviseru.
Napomena:
Radio-smetnje (interferencije)
Mikrotalasna pećnica moţe prouzrokovati smetnje u prijemu Vašeg radio-prijemnika, TV prijemnika i sliĉnih
ureĊaja. Ako doĊe do smetnji (interferencije), to se moţe otkloniti ili smanjiti sledećim merama:
a)
Oĉistite vrata i površine zaptivki na pećnici.
b) Stavite radio-prijemnik, TV prijemnik itd
. što dalje od mikrotalasne pećnice.
c) Za radio-
prijemnik, TV prijemnik itd. koristite adekvatno podešenu antenu koja omogućava jak prijem
signala.
Postavljanje
1.
Proverite da li ste iz unutrašnjosti vrata uklonili sav ambalaţni materijal.
2. Kada uk
lonite ambalaţu, proverite da li je na pećnici došlo do vidnih oštećenja, kao na primer:
- iskrivljena vrata,
-
oštećena vrata,
-
ulegnuća ili rupa na staklu (prozoru) na vratima, kao i na ekranu,
-
ulegnuća u unutrašnjosti pećnice.
Ako primetite bil
o koje od gore navedenih oštećenja, nemojte koristiti pećnicu.
Aparat je namenjen iskljuĉivo upotrebi u domaćinstvu, i to za pripremu namirnica u ĉvrstom i teĉnom
stanju pomoću elektromagnetne energije. Aparat koristite samo u zatvorenim prostorijama.
17
3.
Mikrotalasna pećnica teţi 15,5 kg; postavite je na vodoravnu površinu koja je dovoljno ĉvrsta da izdrţi
teţinu pećnice.
4.
Pećnicu postavite dalje od izvora visoke temperature i pare.
5. Ne
stavljajte ništa na pećnicu.
6.
Da biste obezbedili dovoljnu ventilaciju, neka pećnica bude udaljena od drugih površina sa strane bar 8
cm, a iznad nje 10cm.
7.
NEMOJTE
skidati pogonsku osovinu rotacionog tanjira.
8. Kao kod svih drugih aparata, i ovde j
e potreban briţljiv nadzor kada ga koriste deca.
UPOZORENJE:
ZA OVAJ APARAT JE POTREBNO UZEMLJENJE.
9.
Prikljuĉni kabl mora da ima lak pristup utiĉnici.
10.
Pećnici je potrebno 1,3 kVA ulazne snage. Preporuĉujemo da se u vezi sa postavljanjem pećnice
pos
avetujete sa serviserom odnosno odgovarajućim struĉnim licem.
PAŅNJA:
Pećnica ima vlastitu zaštitu, i to osiguraĉ od 250V, 10A.
VAŅNO
Boje ţica u prikljuĉnom kablu imaju sledeće znaĉenje:
Zeleno-
ņuta: vod za uzemljenje
Plava:
neutralni vod
Braon:
ņivi vod
Pošto boje ţica u prikljuĉnom kablu moţda ne odgovaraju oznakama u boji na terminalima utikaĉa, uzmite
u obzir i sledeće:
-
Ţicu zeleno-ţute boje prikljuĉite na terminal u utikaĉu koji je oznaĉen slovom
E
ili simbolom za
uzemljenje.
-
Ţicu plave boje prikljuĉite na terminal u utikaĉu koji je oznaĉen slovom
N
ili je crne boje.
-
Ţicu braon boje prikljuĉite na terminal u utikaĉu koji je oznaĉen slovom
L
ili je crvene boje.
Vaņna uputstva za bezbednu upotrebu
UPOZORENJE:
Kada aparat deluje u kombinovanom modu, zbog veoma visokih temperatura koje
nastaju, deca smeju koristiti aparat samo pod briţljivim nadzorom odraslih (samo za aparate sa funkcijom
roštilja).
UPOZORENJE:
Ako su vrata ili zaptivci na vratima oštećeni, aparat ne smete da koristite dok ga ne
p
opravi ovlašćeno struĉno lice.
UPOZORENJE:
Svaka popravka ili servis od strane neovlašćenog struĉnog lica, kada treba skidati
zaštitni poklopac od mikrotalasnih zraka, opasna je i riziĉna.
UPOZORENJE:
Teĉnost i druge namirnice nemojte pripremati u zatvorenim odnosno zaptivenim
posudama ili zaptivenoj amabalaţi jer mogu da eksplodiraju.
UPOZORENJE:
Ovaj aparat nije namenjen za upotrebu od strane osoba (ukljuĉujući i decu) sa smanjenim
fiziĉkim, senzornim ili mentalnim sposobnostima, ili nedostatkom iskustva i znanja, osim pod nadzorom ili
na osnovu instrukcija za upotrebu aparata datih od strane osobe koja odgovara za njihovu bezbednost.
Deca moraju da budu pod nadzorom da se ne bi igrala sa aparatom.
Oko pećnice treba obezbediti dovoljnu ventilaciju. Za pećnicu treba da bude bar 10cm prostora, sa strane
bar 15cm, a iznad pećnice 30cm. Nemojte skidati noţice pećnice i nemojte pokrivati otvore za ventilaciju.
Koristite samo pomagala adekvatna za korišćenje u mikrotalasnoj pećnici.
Kada pripremate hranu u p
lastiĉnoj ili papirnatoj ambalaţi odnosno posudi, nadgledajte proces pripreme
zbog opasnosti da se takva ambalaţa odnosno posuda na zapali.
Ako primetite dim, iskljuĉite aparat ili izvadite kabl iz utiĉnice, a vrata ostavite zatvorena da biste ugušili
eventualan plamen.
Kada u mikrotalasnoj pećnici pripremate teĉnost, posle nekog vremena teĉnost moţe provreti i prekipeti,
zato u takvim sluĉajevima postupajte posebno paţljivo.
Da ne bi došlo do opekotina, pre upotrebe promešajte i protresite sadrţaj flašica za bebe ili teglica sa
hranom za bebe i proverite temperaturu sadrţaja.
U mikrotalasnoj pećnici nemojte pripremati jaja u ljusci ili cela tvrdo kuvana jaja, jer mogu eksplodirati i
pošto se kuvanje u pećnici već završilo.
Kada ĉistite površinu vrata, za zaptivke i unutrašnjost pećnice koristite samo blaga i neţna (ne abrazivna)
sredstva za ĉišćenje a nanosite ih sunĊerom ili mekom krpom.
Redovno ĉistite pećnicu i uklanjajte eventualne ostatke hrane.
Ako redovno ne odrţavate i ĉistite pećnicu, moţe doći do oštećenja površina, što negativno utiĉe na vek
trajanja aparata i povećava rizik opasnosti prilikom njegove upotrebe.
18
Ako je prikljuĉni kabl oštećen, da bi se izbegla opasnost, moţe ga zameniti samo proizvoĊaĉ, ovlašćeni
serviser ili drugo adekvatno os
posobljeno struĉno lice.
Opńta uputstva za bezbednu upotrebu
U daljem tekstu nabrojana su neka pravila i neke bezbednosne mere koje vaţe i kod drugih aparata i koje
treba uzimati u obzir radi bezbednog i što efikasnijeg rada pećnice:
1.
U toku rada pećnice, stakleni tanjir, ruĉice valjka, spojnica i ţljeb za valjak treba da su uvek na svom
mestu.
2.
Pećnicu nemojte nikada koristiti u druge svrhe osim za pripremu hrane, nemojte sušiti u njoj odeću, papir
ili druge predmete i nemojte je koristiti za sterilizaciju.
3.
Nemojte nikada ukljuĉiti pećnicu ako je prazna jer je tako moţete oštetiti.
4.
U unutrašnjosti pećnice nemojte ĉuvati ništa, npr. papir, knjige o kuvanju i sl.
5.
Nemojte kuvati hranu sa opnom, npr. ţumanca, krompir, pileću dţigericu itd., a da pre toga ne probušite
opnu na više mesta viljuškom.
6.
Nemojte stavljati nikakve predmete u otvore na spoljnoj strani pećnice.
7.
Nemojte nikada skidati delove pećnice, npr. noţice, sigurnosni deo za zatvaranje, zavrtnje itd.
8. Nemojte kuvati hranu nepo
sredno na staklenom tanjiru. Pre nego što hranu stavite u pećnicu, neka to
bude u adekvatnoj posudi ili sliĉnom posuĊu.
VAŅNO:
Kuhinjsko posuĊe koja ne smete koristiti u mikrotalasnoj pećnici:
-
Nemojte koristiti metalno posuĊe ili posuĊe sa metalnim ruĉkama.
- Nemojte koristiti posude sa metalnom ivicom.
-
Nemojte koristiti papirom prekrivene metalne ţiĉice za zatvaranje plastiĉnih kesica.
-
Nemojte koristiti posude od melamina, jer sadrţe materijal koji apsorbuje mikrotalasnu energiju. To
moţe prouzrokovati da se posuda raspukne ili oprlji, a pored toga usporava grejanje / kuvanje.
-
Nemojte koristiti posudu bez odgovarajućeg premaza za korišćenje u mikrotalasnoj pećnici. Isto tako,
nemojte koristiti zatvorene šolje sa ruĉkom.
- Nemojte priprema
ti hranu odnosno piće u posudi koja ima suţen otvor, npr. na flaši, jer moţe pući u
toku zagrevanja.
-
Nemojte koristiti obiĉne termometre za pripremu mesa ili slatkiša. Moţete koristiti samo termometre
koji su namenjeni upravo upotrebi u mikrotalasnoj p
ećnici.
9.
PosuĊe za mikrotalasne pećnice koristite samo u skladu sa uputstvima njihovog proizvoĊaĉa.
10.
Nemojte pokušavati da prţite hranu u mikrotalasnoj pećnici.
11.
Pazite da se u mikrotalasnoj pećnici zagreje samo teĉnost, a ne i posuda u kojoj se ona nalazi. Ako se to
desi, moguće je da kad skinete poklopac, teĉnost u posudi emituje paru ili da iz nje prskaju kapljice i u
sluĉaju da sam poklopac posude nije vreo.
12. Pre upotrebe, uvek proverite temperaturu namirnica, posebno ako hranu dajete deci.
Preporuĉujemo da
nikada ne jedete/pijete hranu/piće koje ste tek izvadili iz pećnice, već ih ostavite nekoliko minuta i po
mogućstvu promešajte da bi se temperatura izjednaĉila.
13.
Hrana koja sadrţi mešavinu masti i vode, npr. osnova za supu, treba da posle iskljuĉivanja pećnice u njoj
ostane još pribliţno 30 do 60 sekundi. Tako ćete omogućiti da se mešavina slegne i spreĉi prskanje
mehurića kada u teĉnost stavite kašiku ili ubacite kocku za supu.
14. U pripremi namirnica, imajte na umu da se neke vrste h
rane, npr. boţićni puding, marmelada ili mleveno
meso veoma brzo pripremaju. Kada grejete ili kuvate namirnice sa visokim sadrţajem masti ili šećera,
nemojte koristiti plastiĉne posude.
15.
PosuĊe koje koristite za pripremu hrane u mikrotalasnoj pećnici moţe se mnogo zagrejati jer hrana
emituje toplotu. To posebno vaţi ako su vrh posude i ruĉke pokriveni plastikom. Kada hvatate takve
posude, moţda ćete morati da koristite rukavice.
16.
Da biste smanjili rizik od poţara u unutrašnjosti pećnice:
a) Pazite da
hranu ne kuvate predugo. Paţljivo pratite tok pripreme kada su u pećnici posude od papira,
plastike ili drugih lako zapaljivih materijala.
b)
Pre nego što stavite kesicu u pećnicu, skinite ţiĉicu za zatvaranje kesice.
c)
Ako se predmet u pećnici zapali, drţite zatvorena vrata od pećnice, iskljuĉite pećnicu iz struje ili
iskljuĉite glavni osiguraĉ na tabli sa osiguraĉima.
19
Crteņ pešnice
1
-
tipka za ĉas dodaj (+) 10 sek
2
-
tipka za ĉas dodaj (+) 1 min
3
- ekran
4
-
tipka za ĉas dodaj (+) 10 min
5 -
tipka za ukljuĉenje mikrovalovne
energije, odmrzavanja, roštilja ili
kombinovanog kuvanja
6
- t
ipka za ukljuĉenje / prekid
1 -
Sigurnosni sistem za zatvaranje vrata
2 -
Prozor pećnice
3 -
Ventilacioni otvori ili ventilator za provetravanje
4 -
Rotacioni tanjir
5 -
Stakleni tanjir
6 -
Kontrolna tabla
7 -
R
ešetka roštilja
20
Uputstva za rukovanje
1. Priprema namirnica jednim pritiskom na dugme
Samo jednim pritiskom na dugme moţete zapoĉeti sa jednostavnim kuvanjem. Funkcija je veoma
pogodna i omogućava da veoma brzo zagrejete ĉašu vode i sl.
Primer: Grejanje ĉaše mleka
a)
Ĉašu mleka stavite na stakleni rotacioni tanjir i zatvorite vrata pećnice.
b) Pritisnite dugme "START/RESET" i
mikrotalasna pećnica će raditi 1 minut 100% snagom.
c)
Kada se grejanje završi, ĉućete pet pisaka.
2. Priprema namirnica mikrotalasnim zracima
Ova funkcija ima dve mogućnosti.
a) Brzo grejanje mikrotalasnim zracima (100% snaga)
Primer: Kuvanje 100% snagom 5 minuta.
1. Podesite vreme na "5:00".
2. Pritisnite "START/RESET".
b)
Grejanje mikrotalasnim zracima sa ruĉnim nadzorom
1. Pritisnite dugme "MICRO/GRILL", odaberite 70% nivo snage;
2. Podesite vreme na "10:00".
3. Pritisnite "START/RESET".
Moņete podesiti 5 nivoa snage zagrevanja, a najduņe vreme delovanja je 59 minuta i 50 sekunda.
Broj pritisaka na dugme
Snaga mikrotalasnih zraka
Ispis na ekranu
1
100%
P10
2
70%
P7
3
50%
P5
4
30%
P3
5
10%
P1
3.
Automatsko odleŤivanje s obzirom na masu
S obzirom na odabranu masu zamrznute hrane, pećnica će Vam pomoći u izboru adekvatne snage i
vremena zagrevanja.
Primer: OdleĊivanje 0,5 kg zamrznutog mesa.
a) Pritiskom na dugme "MICRO/GRILL" odaberite "DEF".
b) Pritiskom na dugmad "1min" (1 kg) i "10sec
" (0,1 kg) stavite masu u pećnicu.
c) Pritisnite dugme "START/RESET".
Masa zamrznute hrane mora biti manja od 2 kg.
4.
Rońtilj/Kombinovano upravljanje
Ova funkcija obuhvata ĉetiri kombinacije; ţeljenu kombinaciju odaberite dugmetom "MICRO/GRILL" tako što
ćete dugme pritisnuti 7 puta. (Najduţe moguće vreme kuvanja odnosno peĉenja je 59 minuta i 50 sekunda).
Na donjoj tabeli su opisane razliĉite faze u pripremi namirnica samo na roštilju odnosno u kombinaciji roštilja
i mikrotalasa.
Stupanj
Snaga mikrovaln
og zraţenja
Jaţina rońtilja
Ekran
1
/
85%
G
– 1
2
/
50%
G
– 2
3
55%
45%
C
– 1
4
30%
70%
C
– 2
Kada odaberete odgovarajuću kombinaciju, podesite vreme kuvanja/peĉenja i pritisnite dugme
»START/RESET«.
Napomena:
U toku kuvanja, odnosno peĉenja (ne vaţi za kombinovano kuvanje-peĉenje), na polovini
regulisanog vremena rerna automatski prekine delovanje i emituje dva zvuĉna signala. Ovim Vas
upozorava da okrenete hranu. Kad to uradite, zatvorite vrata rerne i pritisnite dugme "START/RESET" za








