Gorenje GMO-23 A – page 2
Manual for Gorenje GMO-23 A
Table of contents
- SPECIFICATIONS Before you call for service Radio interference Installation
- IMPORTANT Important safety instructions Safety instructions for general use Always have the glass tray, roller arms, coupling and roller track in place when operating the oven.
- 16. To reduce the risk of fire in the oven cavity:
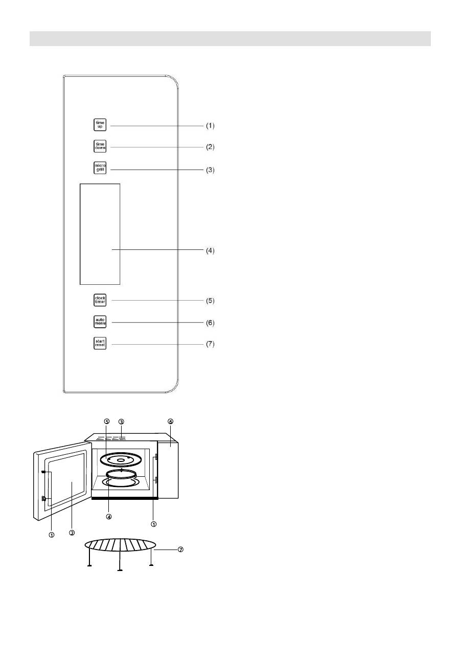
- Computer control panel Feature diagram
- Operation Instruction 1. Single Button Heating 2. Microwave Heating 3. Auto weight defrost 4. Grill 5. Combination Cooking 6. Auto-Menu
- 7. Clock 8. Timer 9. Child-safety-lock 10. Start/Reset
- Care of your microwave oven Environment Guarantee & service
21
Uputstva za rukovanje
1. Priprema namirnica jednim
pritiskom na dugme
Samo
jednim pritiskom na dugme moņete
zapoĉeti sa jednostavnim kuvanjem.
Funkcija je veoma pogodna
i omogućava
da veoma brzo zagrejete ĉańu vode i sl.
Primer:
Grejanje ĉańe mleka
a)
Ĉańu mleka stavite na stakleni
rotacioni tanjir i zatvorite vrata pećnice.
b)
Pritisnite dugme "Start/Reset" i
mikrotalasna pećnica će raditi 1 minut
100% snagom.
c)
Kada se grejanje zavrńi, ĉućete pet
pisaka.
2. Priprema namirnica mikrotalasnim
zracima
Ova funkcija ima dve mogućnosti.
a)
Brzo grejanje mikrotalasnim zracima
(100% snaga)
Primer:
Kuvanje 100% snagom 5
minuta.
1.
Podesite vreme na "5:00".
2.
Pritisnite " Start/Reset ".
b)
Grejanje mikrotalasnim zracima sa
ruĉnim nadzorom
1.
Pritisnite dugme "Micro
…Auto menu"
,odaberite 70% nivo snage;
2.
Podesite vreme na "10:00".
3.
Pritisnite " Start/Reset ".
Moņete podesiti 5 nivoa snage zagrevanja, a
najduņe vreme delovanja je 60 minuta.
Broj pritisaka
na dugme
"Micro"
Snaga
mikrotalasnih
zraka
Ispis na
ekranu
1
100%
P100
2
70%
P70
3
50%
P50
4
30%
P30
5
10%
P10
3. Auto
matsko odleĊivanje s obzirom
na masu
S obzirom na odabranu masu zamrznute
hrane,
pećnica će Vam pomoći u izboru
adekvatne snage i vremena zagrevanja.
Primer:
OdleĊivanje 0,5 kg zamrznutog
mesa.
a)
Pritiskom na dugme "Micro
…Auto
menu" odaberite "0,1".
b)
Pritiskom na dugmad "1min" (1 kg) i
"10sec" (0,1 kg) stavite masu u
pećnicu.
c)
Pritisnite dugme "Start/Reset".
Masa zamrznute hrane mora biti
manja od 2 kg.
4. R
ońtilj
Ova funkcija ima dva moda
; ņeljenu funkciju
moņete odabrati pritiskom na dugme
"Micro
…Auto menu" (najduņe vreme
kuvanja je 60 minuta).
Mod 1:
85% snaga
rońtilja, na ekranu je
ispisano G-1
Mod 2:
50% snaga
rońtilja, na ekranu je
ispisano G-2.
Primer:
Priprema hrane na rońtilju, 20
minuta.
a)
Pritiskajte dugme "Micro
…Auto menu"
sve dok se na ekranu LED
ne ispińe
"G-1".
b)
Podesite vreme kuvanja na "20:00".
c)
Pritisnite dugme "Start/Reset".
Kada pripremate hranu na rońtilju, ne
greju mikrotalasni zraci, već toplotu
emituje metalni
grejaĉ na vrhu
pećnice. Kada rońtilj radi, priprema
(odnosno peĉenje) moņe se podesiti
na dva stepena; posle prve polovine
pripreme, program će se automatski
pr
ekinuti, a dva piska će oznaĉiti da je
vreme da namirnicu koji pripremate na
rońtilju okrenete. Kada okrenete
namirnicu, ponovo zatvorite vrata
pećnice i pritisnite dugme "Start/Reset"
i program pripreme namirnica će se
nastaviti. Ako ne ņelite da okrenete
namirnicu, program će automatski
nastaviti sa radom posle jednog
minuta.
5. Kombinovano delovanje
Pećnica omogućava i dva moda
kombinovane pripreme hrane.
Mogućnost 1: Kombinovano delovanje
(55% mikrotalasni zraci + 45%
rońtilj). Na
ekranu će pisati "C-1".
Mogućnost 2: Kombinovano delovanje
(30% mikrotalasni zraci + 70%
rońtilj). Na
ekranu će pisati "C-2".
Primer:
Priprema namirnice sa
mogućnońću 2, 15 minuta.
a)
Dugme "Micro
…Auto menu" pritiskajte
sve dok se na ekranu LED ne pojavi
"C-2".
b)
Podesite vreme na "15:00".
c)
Pritisnite dugme "Start/Reset".
22
6. Auto meni
Morate odabrati samo vrstu hrane i masu, a
pe
ćnica će Vam pomoći u podeńavanju
snage i vremena delovanja.
Primer:
Automatsko kuvanje 0,4 kg ribe.
a)
Pritiskajte dugme "Micro
…Auto menu"
sve
dok se na ekranu ne ispińe "A-5".
b)
Unesite teņinu pritiskom na tipke »time
up«(1 kg) i »time down« (0,1 kg), dok
se na ekranu ne ispińe "0,4".
c)
Pritisnite dugme " Start/Reset ".
Br.
Pritisaka
na tipku
"1min"
Masa (Kg), Meni
A-1
Pirinaĉ
A-2
Povrće
A-3
Rezanci
1
0,1
0,1
1
2
0,2
0,2
2
3
0,3
0,3
4
0,4
0,4
5
0,5
0,5
6
0,6
Br.
Pritisaka
na tipku
"1min"
Masa
(Kg), Meni
A-4
Meso
A-5
Riba
A-6
Piletina
1
0,2
0,2
0,2
2
0,3
0,3
0,4
3
0,4
0,4
0,6
4
0,5
0,5
0,8
5
0,6
0,6
1,0
6
0,8
0,8
7
1,0
1,0
7. Sat
Pećnica ima i 24-ĉasovni digitalni sat. Za
unońenje vremena, npr. 16:30, uĉinite
sledeće:
1.
Pritisnite dugme "Clock/Timer". Natpis
n
a ekranu poĉeće da trepće. Podesite
sat pomoću dugmadi »time up« i »time
down«.
2.
Ponovo pritisnite dugme "Clock/Timer"
i podesite minute dugmadima
»time
up« i »time down«.
3.
Ponovo pritisnite dugme "Clock/Timer"
i novo vreme će biti podeńeno.
4.
Ako ņelite da promenite vreme,
ponovite gornji postupak.
8. Tajmer
Tajmer omogućava da unapred podesite
vreme poĉetka i kraja pripreme namirnica.
Pre primene ove funkcije, sat na pećnici
mora biti adekvatno podeńen.
Primer: Trenutno vreme je 16:30,
a ņelite da
kuvanje
poĉne u 18:15, i to sa 70% snage,
10 minuta.
a)
Pritisnite dugme "Clock/Timer" i
dugmadima
»time up« i »time down«
podesite vreme na 18:00 (isti postupak
kao kod podeńavanja sata).
b)
Pritiskom na dugme "Micro
…Auto
menu" odaberite 70% snagu.
c)
Podesite vreme kuvanja na 10 minuta.
d)
Pritisnite dugme "Start/Reset".
Ako ne podesite vreme kuvanja i ako
neposredno po podeńavanju poĉetka
delovanja pritisnete dugme
"Start/Reset", aparat će funkcionisati
samo kao sat (budilnik). U 18:15
ĉućete 10 pisaka a aparat će se
iskljuĉiti.
9.
Zakljuĉavanje pred decom
Ako ņelite da aktivirati funkciju
zakljuĉavanja pred decom, istovremeno
pritisnite dugmad " Izbor vremena +" i "
Izbor vremena -
" i drņite ih dve sekunde.
Ako ņelite da iskljuĉite ovu funkciju,
ponovite postupak.
10.
Start / Reset ("poĉetak / ponovno
podeńavanje")
1.
Ako u toku delovanja aparata pritisnete
dugme "Start/Reset", rad
pećnice će
se prekinuti.
2.
Ako ste prethodno podesili
programirano ukljuĉivanje, pritiskom
na du
gme "Start/Reset" opozvaćete
programirano delovanje.
23
Odrņavanje mikrotalasne rerne
1.
Pre ĉińćenja, iskljuĉite rernu i izvucite utikaĉ
iz utiĉnice.
2.
Unutrańnjost rerne treba da je uvek ĉista.
Kada se delići hrane i teĉnost koja prska ili
se prolije osuńe na zidovima rerne, obrińite
ih vlaņnom krpom. Upotreba grubih
deterdņenata ili abrazivnih sredstava za
ĉińćenje nije preporuĉljiva.
3.
Spoljnu povrńinu rerne oĉistite vlaņnom
krpom. Da biste spreĉili ońtećenje delova u
unutrańnjosti rerni, pazite da voda ne dospe
u ventilacione otvore.
4.
Nemojte dopustiti da se kontrolna tabla
pokvasi. Oĉistite je mekom, vlaņnom krpom.
Za ĉińćenje kontrolne table nemojte koristiti
deterdņente, abrazivna sredstva za ĉińćenje
ili sredstva za ĉińćenje u spreju.
5.
Ako se u unutrańnjosti ili oko spoljnih
povrńina kućińta skuplja para, obrińite je
mekom krpom. Do toga moņe doći kada
mikrotalasnu rernu koristite u veoma
vlaņnim prostorijama i uopńte ne znaĉi kvar
rerne.
6.
Povremeno treba izvaditi i stakleni tanjir i
oĉistiti ga. Tanjir operite u toploj vodi sa
malo deterdņenta ili u mańini za pranje
sudova.
7.
Rotacioni tanjir i dno (donju povrńinu)
unutrańnjosti pećnice treba redovno ĉistiti,
jer inaĉe pećnica u toku rada moņe
emitovati buku. Samo o
brińite dno
unutrańnjosti pećnice blagim deterdņentom,
vodom ili sredstvom za ĉińćenje stakla i
osuńite. Rotacioni tanjir moņete oprati u
toploj vodi sa malo deterdņenta ili u mańini
za pranje sudova. Posle duņe upotrebe, na
toĉkićima rotacionog tanjira mogu se
nakupiti isparenja od kuvanja, ali to ne utiĉe
na njegovo delovanje. Kada vadite rotacioni
tanjir iz ņleba na dnu komore (unutrańnjosti
rerne), pazite da ga pravilno vratite.
8.
Eventualan neprijatan miris iz pećnice
moņete odstranite tako ńto ćete u duboku
posudu za pripremu namirnica u
mikrotalasnoj rerni sipati ńolju vode i dodati
iseckanu koru jednog limuna. Posudu zatim
ostavite pet minuta u ukljuĉenoj
mikrotalasnoj rerni. Na kraju, dobro osuńite
unutrańnjost rerni i obrińite je mekom
krpom.
9.
Ako treba zameniti sijalicu u rerni, molimo
Vas da se obratite servisu.
Zańĉita okoline
Simbol na proizvodu ili na njegovoj ambalaņi
oznaĉava, da se sa tim proizvodom ne sme
postupati kao sa otpadom iz domaćinstva.
Umesto toga, proizvod treba predati
od
govarajućim sabirnim centrima za reciklaņu
elektronskih I elektriĉnih aparata. Ispravnim
odvoņenjem ovog proizvoda spreĉićete
potencijalne negativne posledice na ņivotnu
sredine I zdravlje ljudi, koji bi inaĉe mogli biti
ugroņeni neodgovarajućim rukovanjem otpadom
ovog proizvoda. Za dobijanje detaljnih
informacija o tretmanu, odbacivanju I ponovnom
korińćenju ovog proizvoda, stupite u kontakt sa
prikladnim lokalnim ustanovama, sluņbom za
sakupljanje kućnog otpada ili sa prodavnicom u
kojoj ste kupili ovaj proizvod.
Garancija i servis
Za informacije ili u sluĉaju problema obratite se
Centru Gorenja za pomoć korisnicima u vańoj
drņavi (telefonski broj naći ćete u
meĊunarodnom garantnom listu). Ako u vańoj
drņavi nema takvog centra, obratite se lokalnom
prodavcu Gorenja, ili odelu Gorenja za male
kućanske aparate.
Nije za komercialnu upotrebu!
Pridrņavamo pravo do promena!
MNOGO UŅITAKA U KORIŃĆENJU
VAŃE MIKROVALNE RERNE ŅELI
VAM
Za dodatne preporuke
za peĉenje sa
mikrotalasima ili grilom naći ĉe te u korisnim
savetima na internet strani:
http://microwave.gorenje.com
24
УПАТСТВА ЗА УПОТРЕБА МК
Внимателно прочитајте ги упатствата и чувајте ги.
Спецификации
Потрошувачка на ел. енергија: ............................................................................. 230V~50Hz,1280W
Излезна моќ:: .............................................................................................................................. 900W
Грејач за жар: ........................................................................................................................... 1200W
Работна фреквенцијa: .......................................................................................................... 2450MHz
Надворешни димензии: ............................................................ 510mm(Ń) X 303mm(V) X 382mm(G)
Димензии на комората
(внатрешност) на печката: ........................................................ 330mm(Ń) X 212mm(V) X 330mm(G)
Димензии на печката ............................................................................................................ 23 литри
Маса без амбалажа: ............................................................................................ Приближнo 14,5 kg
Ниво на бучава: ............................................................................................................. Lc<58 dB (A)
Пред да повикате сервис
1.
Ако печката воопшто не работи, ако на
екранот ништо не се појавува или, пак,
ако екранот се изгасне:
a)
Проверете дали печката е правилно
вклучена на електричната мрежа.
Ако не е, исклучете го кабелот од
штекерот, почекајте 10 секунди и
потоа повторно вклучете го.
б) Проверете дали осигурувачот за
штекерот е прегорен или, пак, дали
струјното коло е прекинато на
главниот осигурувач. Ако
осигурувачите се исправни ,
тестирајте го штекерот со некој друг
апарат.
2.
Ако микробрановата печка не грее, т.е.
не емитува микробранова енергија:
a)
Проверете дали е правилно
наместен часовникот за
програмирање.
б) Проверете дали е цврсто затворена
вратата, а сигурносните брави
заклучени. Ако не се,
микробрановата енергија нема да се
ослободува.
Ако со помош на горниве упатства не
успеавте да го отстраните проблемот,
обратете се до најблискиот овластен
сервисер.
Радиски пречки (итерференции)
Микробрановата печка може да предизвика
пречки во приемот на вашиот радиоприемник,
ТВ-приемник и слични уреди. Ако дојде до
пречки (интерференции), истите можете да ги
отстраните или да ги намалите со преземање
на следниве мерки:
a)
Исчистете ја вратата и површините за
дихтување.
б) Ставете го радиоприемникот, ТВ-
приемникот и друго што подалеку од
микробрановата печка.
ц) Зад радискиот, ТВ-приемникот итн.
употребете соодветно наместена антена
што ќе овозможува јак прием на
сигналот.
Напомена:
Апартот е наменет само за користење во
домаќинство и тоа за загревање на храна и
пијалаци со помош на електромагнетна
енергија. Употребувајте го апаратот само во
затворени простории.
Инсталација
1.
Проверете дали од внатрешноста на
вратата го извадивте целокупниот
амбалажен материјал.
2.
Кога ќе ја отстраните амбалажата,
прегледајте ја печката за да утврдите
дали има видливи оштетувања, како на
пример:
-
искривена врата,
-
оштетена врата,
Овој апарат е означен според
европскиот пропис 2002/96/ЕЗ за
електро и електронски апарати (waste
electrical and electronic equipment -
WEEE).
Прописот ја дава рамката за враќање и
искористување на старите апарати,
важечко ширум Европа.
25
-
набиеници или дупки на стаклото
(прозорецот) на вратата или пак на
екранот
-
набиеници во внатрешноста на
печката.
3.
Ако забележите некое од
горенаведените оштетувања, не
употребувајте ја печката.
4.
Микробрановата печка тежи околу
14,5
kg, поставете ја на рамна површина
што е доволно тврда за да ја издржи
тежината на печката.
5.
Печката поставете ја подалеку од извори
на висока температура и пареа.
6.
Не ставајте ништо на печката.
7.
За да обезбедите доволно зрачење,
околу страните на печката треба да има
барем 10 cm простор, а над неа 15 cm.
8.
Не отстранувајте ги погонските оски на
ротационото лежиште.
9.
Како и кај сите други апарати така и кај
овој е потеребен грижлив надзор кога го
употребуваат децата.
ПРЕДУПРЕУВАЊЕ:
ОВОЈ АПАРАТ Е
ПОТРЕБНО ДА СЕ ЗАЗЕМЈИ.
10.
Штекерот на кој е приклучен апаратот
треба да биде лесно достапен за
приклучниот кабел.
11.
На печката и е потребна влезна моќ од
1,3
kVA. Препорачуваме при инсталација
на печката да се посоветувате со
сервисер, односно со копметентен
стручњак.
ВНИМАНИЕ:
Печката има сопствена
заштита и тоа осигурувач 250V, 10A.
ВАЖНО
Боите на жиците во приклучниот кабел го
имаат следново значење:
Зелено- жолта: заземјување
Сина: нулта
Кафена:
фаза
Бидејќи боите на жиците можеби не
одговараат на обоените ознаки на
терминалите во приклучниот кабел, имајте го
предвид и следново:
-
Жицата со зелено-жолта боја приклучете ја
на терминалот во прикличниот кабел што е
означен со буквата
E
или со симболот за
заземјување.
-
Жицата со сина боја приклучете ја на
терминалот во приклучниот кабел што е
означен со буквата
N
или е со црна боја.
-
Жицата со кафена боја приклучете ја на
терминалот во приклучниот кабел што е
означен со буквата
L
или е со црвена боја.
Важни безбедносни упатства
ПРЕДУПРЕДУВАЊЕ:
Кога апаратот
работи во комбиниран начин, а поради
многу високите температури што тогаш
настануваат, децата смеат да го
употребуваат апаратот само под грижлив
надзор на возрасните (само за апарати
со функцијата жар)
ПРЕДУПРЕДУВАЊЕ:
Ако вратата или
дихтувачите за вратата се оштетени,
апаратот не смеете да го употребувате,
додека не го поправи стручно лице.
ПРЕДУПРЕДУВАЊЕ:
Секоја поправка
или сервис изведена од кој било друг
освен од овластен сервисер и при која е
потребно да се отстрани покривот за
заштита од микробрановите зраци е
опасна и ризична.
ПРЕДУПРЕДУВАЊЕ:
Течностите и
другата храна не загревајте ги во
затворени, односно во покриени садови
или, пак, во затворена амбалажа, бидејќи
истите може да експлодираат.
ПРЕДУПРЕДУВАЊЕ:
Този уред не е
предназначен за ползване от хора
(включително деца) с намалени
физически усещания или умствени
недъзи или без опит и познания, ако са
оставени без наблюдение и не са
инструктирани от страна на отговарящо
за тяхната безопасност лице относно
начина на използване на уреда.
Наглеждайте децата, за да не си играят с
уреда.
Околу печката е потребно да се
обезбеди доволно кружење на воздух.
Зад печката треба да има најмалку 8 cm
простор, од страните барем 10 cm, над
печката 10 cm.. не отстранувајте ги
нозете на печката и не покривајте ги
отворите за венталиција.
Употребувајте ги помагалата (помошните
средатва), соодветно за употреба во
микробанова печка.
Кога загревате храна во пластична или
во хартиена амбалажа, односно чинија,
надгледувајте го процесот на загревање
поради опасноста таквата амбалажа, т.е.
сад, да се запали.
Ако забележите чад, апаратот исклучете
го од електричната мрежа, а вратата
оставете ја затворена, за да го изгаснете
можниот оган.
Кога во микробрановата печка загревате
пијалак, по некое време може пијалокот
26
да зоврие и да претече, па затоа во
таков случај однесувајте се особено
внимателно.
За да не дојде до изгореници, пред
употребата промешајте ја или
протресете ја содржината на шишенцето
за доенчиња или шишенцата со храна за
доенчиња и проверете ја температурата
на содржината.
Во микробрановата печка не загревајте
јајца со лушпа или тврдо варени јајца
бидејќи може да експлодираат, дури и
откако загревањето во печката е веќе
завршено.
Кога ја чистите површината на вратата,
дихтувачката површина, внатрешноста
на печката, употребувајте само благи и
нежни (не абразивни) средства за
чистење, нанесете ги со сунѓер или со
мека крпа.
Редовно чистете ја печката и
отстранувајте ги можните остатоци од
храна.
Ако редовно не ја одржувате и чистите
печката, може да дојде до нагризување
на површината, што негативно влијае на
животниот век на апаратот и го
зголемува ризикот од опасност при
неговата употреба.
Ако приклучниот кабел е оштетен, за да
се избегне опасност, истиот може да го
замени само производителот,
овластениот сервисер или друг
соодветно оспособен стручњак.
Безбедносни упатства за општа употреба
Во продолжение се наброени некои правила и
безбедносни мерки што слично како при
користење на други апарати, треба да ги
почитувате за да обезбедите безбедно и
најефикасно функционирање на печката:
1.
Додека работи печката, стаклената
основа, рачките на валјакот, склопката и
жлебот за валјакот секогаш треба да
бидат на своето место.
2.
Печката не користитете ја за никаква
друга намена освен за подготвување
храна; не сушете во неа облека, хартија
или други предмети и не употребувајте ја
за стерилизација.
3.
Никогаш не вклучувајте ја печката ако
таа е празна, бидејќи можете да ја
оштетите.
4.
Во внатрешноста на печката не чувајте
ништо, на пр. хартија, готварски книги
итн.
5.
Не гответе храна што е покриена со
мембрана, на пр., жолчки од јајца,
компир, пилешки џигер итн. пред да ја
прободете мембраната со виљушка на
повеќе места.
6.
Не ставајте никакви предмети во
отворите на надворешната страна од
печката.
7.
Никогаш не отстранувајте ги деловите на
печката, на пр.: нозете,
резето(внатрешен затворач), шрафовите
итн.
8.
Не гответе ја храната непосредно на
стаклената основа. Пред да ја ставите
храната во печката, ставете ја во
соодветен сад или во слично помагало.
ВАЖНО:
Кујнски помагала што не
смеете да ги употербувате во
микробранова печка:
-
Не употребувајте метални тави или
садови со метални рачки.
-
Не употребувајте садови со метални
рабови.
-
Не употребувајте метални жици
прекриени со хартија за затворање на
пластични кеси.
-
Не употребувајте садови од меламим
бидејќи содржат материјал што ја
вшмукува микробрановата енергија.
Тоа може да предизвика чинијата да
напукне или да се усвити, а покрај тоа
и да го забави загревањето /
готвењето.
-
Не употребувајте ги садовите без
соодветното премачкување за
употреба во микробранова печка.
Исто така не употребувајте затворени
шолји со рачки.
-
Не подготвувајте храна, т.е. пијалаци
во сад што има стеснет отвор, на пр.
во шише, бидејќи истото може да
пукне при загревање.
-
Не употребувајте обични термометри
за месо или за слатки. Можете да
употребувате само термометри што
се наменети за употреба во
микробранови печки.
9.
Помагалата за микробрановата печка
употребувајте ги само согласно со
упатствата од нивниот производител.
10.
Не обидувајте се да потпечувате храна
во микробрановата печка.
11.
Бидете претпазливи, во микробрановата
печка треба да се загрее само течноста,
а не и садот во кој истата се наоѓа.Затоа
е можно, откако ќе го отстраните капакот,
течноста во садот да испарува или од
27
неа да претекуваат капки иако капакот на
садот не е жежок.
12.
Пред користење секогаш проверете ја
температурата на храната, а особено ако
им ја давате на деца. Препорачуваме
храната/пијалакот никогаш да не ги
консумирате непосредно по вадењето од
печката, туку да почеката неколку минути
и по можност да ја промешате за
температурата еднакво да се
распредели.
13.
Храната што содржи мешавина од вода и
маст, на пр. основа за супа, по
исклучувањето на печката треба да
остане во неа приближно 30 до 60
секунди. Така ќе овозможите смесата да
се изедначи и ќе спречите навлегување
на меурчиња кога во течноста ќе ставите
лажица или коцка за супа.
14.
При подготовка на храна бидете
внимателни бидејќи некои видови, на пр.
божиќен пудинг, мармалад или мелено
месо се загреваат многу брзо. Кога
загревате или подготвувате храна со
висока содржина на масти или шеќер, не
употребувајте пластични садови.
15.
Помагалата што ги употребувате при
подготовка на храна во микробранова
печка можат силно да се загреат бидејќи
храната оддава топлина. Ова важи
посебно ако врвот на садот и рачките се
прекриени со пластична обвивка или со
пластична наметка. При вадење на таков
сад може да ви бидат потребни кујнски
ракавици.
16.
За да го намалите ризикот од пожар во
внатрешноста на печката:
a)
внимавајте предолго да не ја
готвите храната. Грижливо
надгледувајте го процесот на
загревање кога во печката се
присутни помагала од хартија,
пластика или други лесно
запалливи, т.е. горечки материјали.
б) Пред да го ставите ќесето во
печката, отстранете ја жицата за
затворање на ќесето.
ц) Ако предметот во печката се запали,
оставете ја вратата на печката
затворена, исклучете ја истата од
електрична мрежа или исклучете го
главниот осигурувач од разводната
табла.
28
Дијаграм на печката
1.
Избирање време +
2.
Избирање време -
3.
Избирање начин на приготвување храна
(
микробранови, одмрзнување, жар и
комбинација)
4.
Покажувач
5.
Дотерување време и програмски
часовник
6.
Избирање мени
7.
Задвижување и прекинување на
работењето
1.
Затворач на вратата
2.
Прозорец на печката
3.
Отвори за вентилација вентилатор за
проветрување
4.
Обрач на основата
5.
Стаклена основа
6.
Контролна плоча
7.
Решетка за жар
29
Упатства за употреба
1.
Подготовка на храна со едно
притискање на копче
Со само едно притискање на копче
можете да почнете со едноставна
подготовка на храна. Функцијата е многу
погодна и овозможува многу брзо да
загреете чаша вода и сл.
Пример
:
Греење на чаша млеко
а) Чашата со млеко ставете ја на
стаклениот ротационен танир и
затворете ја вратата.
б) Притиснете го копчето "Start/Reset"
и микробрановата печка ќе работи 1
минута со 100% јачина.
ц) Кога ќе заврши загревањето, ќе
слушнете пет звучни сигнали
(писоци).
2.
Подготовка на храна со
микробранови зраци
Оваа функција има две можности:
а) Брзо греење со микробранови зраци
(100% јачина)
Пример:
Подготовка со 100% јачина
5 минути.
1.
Наместете го времето на "5:00".
2.
Притиснете "Start/Reset".
б) Греење со микробранови зраци со
рачен надзор
1.
Притиснете го копчето "Micro…Auto
menu"
, одберете 70% јачина.
2.
Наместете го времето на "10:00".
3.
Притиснете го копчето "Start/Reset".
Можете да одберете помеѓу 5 различни
нивоа на моќност на греење, а најдолг
период на работа е 60 минути.
Број на
притискања
на копчето
"Micro"
Јачина на
микробрановит
е зраци
Изпис на
екранот
1
100%
P100
2
70%
P70
3
50%
P50
4
30%
P30
5
10%
P10
3.
Автоматско одмрзнување
Во зависност од тежината на
замрзнатата храна, печката ќе Ви
помогне во изборот на соодветна јачина
и време на загревање.
Пример:
Одмрзнување на 0,5 кг.
замрзнато месо.
а) Со притискање на копчето
"Micro
…Auto menu" одберете "DEF".
б) Со притискање на копчето "1Min"
(1кг) и "10Sec" (0,1 кг) ставете месо.
ц) Притиснете "Start/Reset".
Тежината на замрзнатата храна мора да
биде помала од 2 кг.
4.
Скара
Оваа функција има два мода; саканата
функција можете да ја изберете со
притискање на копчето "Micro…Auto
menu" (
најдолго време за готвење е 60
минути).
Мод 1: 85% моќ на скарата, на екранот е
напишано G-1
Мод 2: 50% моќ на скарата, на екранот е
напишано G-2.
Пример: Подготовка на храната на скара,
20
минути.
a)
Притиснете го копчето "Micro…Auto
menu" се додека на LED екранот не
се напише "G-1".
б) Наместете го времето за готвење на
"20:00".
ц) Притиснете го копчето "Start/Reset".
Кога подготвувате храна на скара,
микробрановите зраци не греат, туку
топлината ја емитува металниот
грејач на врвот (горниот дел) на
печката.
Кога работи скарата, подготовката
(односно печењето) може да се
намести на два степена; по првата
половина на подготовката,
програмата автоматски ќе престане,
а два пискави звуци ќе означат дека
е време храната што ја
подготвувате на скара
да ја
завртите. Кога ќе ја завртите,
повторно затворете ја вратата од
рерната и притиснете го копчето
"Start/Reset"
и програмата за
подготовка на храната ќе продолжи.
Ако не сакате да ја завртите
храната, програмата автоматски ќе
продолжи со работа по една минута.
5.
Комбинирано работење
Со овој апарат можете да изберете
помеѓу две опции на комбинирано
готвење.
1 можност:
Комбинирано дејство (55%
микробранови зраци + 45% скара). На
екранот ќе пишува "C-1".
2 можност:
Комбинирано дејство (30%
микробранови зраци + 70% скара). На
екранот ќе пишува "C-2".
30
Пример:
Подготовка на намирници со
можноста 2, 15 минути.
a)
Копчето "Micro…Auto menu"
притискајте го се додека на LED
екранот не се појави "C-2".
б) Наместете го времето на "15:00".
ц) Притиснете го копчето "Start/Reset".
4.
Автоматско мени
Изберете го само видот и количината на
храната, а рерната ќе ви помогне во
подесување на моќта и времето на
дејствување.
Пример: Автоматско готвење 0,4 кг риба.
a)
Притиснете го копчето "Micro…Auto
menu"
се додека на екранот не се
нaпише "A-5".
б) Внесете ја тежината со притискање
на копчето »time up«(1 kg) и »time
down« (0,1 kg), додека не екранот не
се напише "0,4".
ц) Притиснете го копчето "Start/Reset ".
Бр.
Притисоци
на копчето
"1min"
Количина (Kg), Мени
A-1
Ориз
A-2
Зеленчук
A-3
Тестен
ини
1
0,1
0,1
1
2
0,2
0,2
2
3
0,3
0,3
4
0,4
0,4
5
0,5
0,5
6
0,6
Бр.
Притисоци
на копчето
"1min"
Количина (Kg), Мени
A-4
Месо
A-5
Риба
A-6
Пилешко
1
0,2
0,2
0,2
2
0,3
0,3
0,4
3
0,4
0,4
0,6
4
0,5
0,5
0,8
5
0,6
0,6
1,0
6
0,8
0,8
7
1,0
1,0
7.
Часовник
Печката има и 24-часовен дигитален
часовник. За внесување на времето, на
пр. 16:30, направете го следното:
1.
Притиснете го копчето "Clock/Timer".
Натписот на екранот ќе почне да
трепка. Наместете го часот со помош
на копчињата »time up« и »time down«.
2.
Повторно притиснете го копчето
"Clock/Timer"
и наместете ги минутите
со копчињата »time up« и »time down«.
3.
Повторно притиснете го копчето
"Clock/Timer"
и новото време ќе биде
наместено.
4.
Ако сакате да го промените времето,
повторете ја горната постапка.
8.
Тајмер
Тајмерот овозможува однапред да го
наместите времето за почеток и крај на
подготовката на намирниците.
Пред примената на оваа функција,
времето на рерната мора да биде
адекватно наместено.
Пример: Моменталното време е 16:30, а
сакате готвењето да почне во 18:15,и тоа
со 70% моќ, 10 минути.
a)
Притиснете го копчето "Clock/Timer"
и копчињата »time up« и »time down«
наместете го времето на 18:00 (иста
постапка како при местење на
времето).
б) Со притискање на копчето
"Micro…Auto menu" одберете 70%
моќ.
ц) Наместете го времето за готвење на
10 минути.
д) Притиснете го копчето "Start/Reset".
Ако не го наместите времето за
готвење и ако непосредно по
местењето на почетокот на
делувањето го притиснете копчето
"Start/Reset", апаратот ќе
функционира само како часовник
(будилник). Во 18:15 ќе слушнете 10
пискави звуци, а апаратот ќе се
исклучи.
9.
Заштита (заклучување) за деца
Ако сакате да ја активирате функцијата
заштита за деца, истовремено
притиснете ги копчињата
"
Избирање време +" и
"
Избирање време -" и држете ги две
секунди. Ако сакате да ја исклучите оваа
функција, повторете ја постапката.
10. Start / Reset ("
почеток / повторно
местење")
1.
Ако во тек на работењето на
апаратот го притиснете копчето
"Start/Reset",
работата на рерната ќе
престане.
2.
Ако претходно сте наместиле
програмирано вклучување, со
притискање на копчето "Start/Reset"
ќе го откажете.
31
Грижа за микробрановата печка - нега и одржување
1.
Пред чистењето исклучете ја печката и
исклучете го кабелот од штекерот.
2.
Внатрешноста на печката треба секогаш
да биде чиста. Кога делови од храна,
течност што прска од неа или истурена
течност ќе се засуши на ѕидовите на
печката, само пребришете ги со влажна
крпа. Користењето на груби детергенти
или на абразивни средства за чистење
не е препорачливо.
3.
Надворешната површина на печката
исчистете ја со влажна крпа. За да го
спречите оштетувањето на деловите во
внатрешноста на печката, внимавајте да
не ви се истури вода во отворите за
вентилација.
4.
Не дозволувајте контролната табла да се
намокри. Исчистете ја со мека и влажна
крпа. За чистење на контролната табла
не употребувајте детергенти, груби
(абразивни) средства или распрскувачки
средства за чистење.
5.
Ако во внатрешноста или околу
надворешнитата обвивка на куќишето се
насобере пареа, избрижете ја со мека
крпа. Ова се случува кога
микробрановата печка ја употребувате
во многу влажни простории и во никој
случај не укажува на грешка во
работењето на печката.
6.
Понекогаш е потребно да ја отстраните
и стаклената основа и да ја исчистите.
Стаклената основа измијте ја во топла
вода со малку детергент или, пак, во
машина за миење садови
7.
Лежечкиот обрач, како и дното (долната
површина) на внатреноста на печката
треба редовно да се чистат, бидејќи,
додека работи печката, може да создава
бучава. Едноставно пребришете го дното
на внатрешноста на печката со благ
детергент, вода или со средство за
чистење стакло и исушете je. Лежечкиот
обрач можете да го измиете во топла
вода со малку детергент или во машина
за миење садови, по подолга употреба
на тркалата на лежечкиот обрач може да
се наталожат остаоци од испарувањето
на храната, сепак, тоа не влијае врз
неговата работа. Кога го отстранувате
лежечкиот обрач од жлебот на дното на
комората (во внатрешноста на печката)
внимавајте повторно да го наместите
правилно.
8.
Можниот непријатен мирис од печката ќе
го отсраните на тој начин што во длабок
сад за подготовка на храна во
микробранова печка ќе налеете една
шолја вода, а во водата ќе ставите кора
од еден лимон. Потоа садот оставете го
во микробрановата печка пет минути. На
крај, темелно исушете ја внатрешноста
на печката и избришете ја со мека крпа.
9.
Ако треба да ја замените светилката во
печката, ве молиме,да се обратите кај
продавачот.
ЖИВОТНА СРЕДИНА
Не го фрлајте на апаратот во нормален
домашен отпад,туку во официјална колекција
наменета за рециклирање. Со ова, вие
помагате да се зачува животната средина.
ГАРАНЦИЈА И СЕРВИС
Ако ви требаат информации, или ако имате
проблем, Ве молиме контактирајте го Gorenje
центарот за грижа на корисници во вашата
земја (види телефонски број во
меѓународната гаранција). Ако вашата земја
нема таков центар, контактирајте го вашиот
локален дилер или Gorenje, Gorenje делот за
мали апарати за домаќинство.
Не е за комерцијална употреба!
Го задржуваме правото на
промени!
ГОЛЕМО УЖИВАЊЕ ПРИ
КОРИСТЕЊЕТО НА
МИКРОБРАНОВАТА ПЕЧКА ВИ
ПОСАКУВА
Корисни совети како и дополнителни
упатства за печење со микробранови и
грил можете да најдете на нашата web
страна:
http://microwave.gorenje.com
32
OWNERS INSTRUCTION MANUAL EN
Read the Instructions carefully and Keep for Future Reference.
SPECIFICATIONS
Power consumption: ............................................................................................... 230V~50Hz,1280W
Output: ......................................................................................................................................... 900W
Grill Heater: ............................................................................................................................... 1200W
Operating Frequency: ............................................................................................................ 2450MHz
Outside Dimensions: .................................................................. 510mm(W) X 303mm(H) X 382mm(D)
Oven Cavity Dimensions: ........................................................... 330mm(W) X 212mm(H) X 330mm(D)
Oven Capacity: ......................................................................................................................... 23 litres
Uncrated Weight: .......................................................................................................... Approx. 14,5 kg
Noise level: ..................................................................................................................... Lc < 58 dB(A)
Before you call for service
1.
If the oven will not perform at all, the display
does not appear or the display disappeared:
a)
Check to ensure that the oven is
plugged in securely. If it is not, remove
the plug from the outlet, wait 10
seconds and plug it in again securely.
b)
Check the premises for a blown circuit
fuse or a tripped main circuit breaker.
If these seem to be operating properly,
test the outlet with another appliance.
2.
If the microwave power will not function:
a)
Check to see whether the timer is set.
b)
Check to make sure that the door is
securely closed to engage the safety
interlocks. Otherwise, the microwave
energy will not flow into the oven.
If none of the above rectify the situation,
then contact the nearest authorized
service agent.
The appliance for household use for heating
food and beverages using electromagnetic
energy, for indoor use only.
Radio interference
Microwave oven may cause interference to your
radio, TV, or similar equipment. When
interference occurs, it may be eliminated or
reduced by the following procedures.
a)
Clean the door and sealing surface of the
oven.
b)
Place the radio, TV, etc. as far away from
your microwave oven as possible.
c)
Use a properly installed antenna for your
radio, TV, etc. to get a strong signal
reception.
Installation
1.
Make sure all the packing materials are
removed from the inside of the door.
2.
Inspect the oven after unpacking for any
visual damage such as:
- Misaligned Door
- Damaged Door
- Dents or Holes in Door Window and
Screen
- Dents in Cavity
If any of the above are visible,
DO NOT
use the oven.
3.
This Microwave Oven weighs 14,5 kg and
must be placed on a horizontal surface
strong enough to support this weight.
4.
The oven must be placed away from high
temperature and steam.
5.
DO NOT
place anything on top of the oven.
6.
Keep the oven at least 8 cm away from both
sidewalls and 10 cm away from rear wall to
ensure the correct ventilation.
7.
DO NOT
remove the turn -table drive shaft.
8.
As with any appliance, close supervision is
necessary when used by children.
WARNING
-THIS APPLIANCE MUST BE
EARTHED.
This appliance is marked according to the
European directive 2002/96/EC on Waste
Electrical and Electronic Equipment
(WEEE).
This guideline is the frame of a European-
wide validity of return and recycling on
Waste Electrical and Electronic
Equipment.
33
9.
The plug socket should be within easy
reach of the power cord
10. This oven requires 1.3 KVA for its input
consultation with service engineer is
suggested when installing the oven.
CAUTION:
This oven is protected internally
by a 250V,10 Amp Fuse.
IMPORTANT
The wires in this mains lead are coloured in
accordance with the following code:
Green-and-yellow:
Earth
Blue:
Neutral
Brown:
Live
As the colours of the wires in the mains leads
of the appliance may not correspond with the
coloured markings indentifying the terminals
in your plug, proceed as follows:
- The wire which is coloured green-and-
yellow must be connected to the terminal in
the plug which is marked with the letter
E
or
by the earth symbol coloured green of
green-and-yellow.
- The wire which is coloured blue must be
connected to the terminal which is marked
with the letter
N
or coloured black.
- The wire which is coloured brown must be
connected to the terminal which is marked
with the letter
L
or coloured red.
Important safety instructions
WARNING:
When the appliance is
operated in the combination mode, children
should only use the oven under adult
supervision due to the temperatures
generated; (Only for the model with grill
function)
WARNING:
If the door or door seals are
damaged, the oven must not be operated
until it has been repaired by a competent
person;
WARNING:
It is hazardous for anyone
other than a competent person to carry out
any service or repair operation that involves
the removal of a cover which gives
protection against exposure to microwave
energy;
WARNING:
liquids and other foods must
not be heated in sealed containers since
they are liable to explode.
WARNING:
This appliance is not intended
for use by persons (including children) with
reduced physical, sensory or mental
capabilities, or lack of experience and
knowledge, unless they have been given
supervision or instruction concerning use of
the appliance by a person responsible for
their safety. Children should be supervised
to ensure that they do not play with the
appliance.
The oven must have sufficient air flow.
Keep 8 cm space at back; 10 cm at both
sides and 10 cms from top of the oven.
Don't remove oven's feet, do not block air
events of the oven.
Only use utensils that are suitable for use in
microwave ovens.
When heating food in plastic or paper
containers, keep an eye on the oven due to
the possibility of ignition;
If smoke is observed, switch off or unplug
the appliance and keep the door closed in
order to stifle any flames;
Microwave heating of beverages can result
in delayed eruptive boiling, therefore care
must be taken when handling the container;
The contents of feeding bottles and baby
food jars shall be stirred or shaken and the
temperature checked before consumption,
in order to avoid burns;
Eggs in their shell and whole hard-boiled
eggs should not be heated in microwave
ovens since they may explode, even after
microwave heating has ended;
When cleaning surfaces of door, door seal,
cavity of the oven, use only mild,
nonabrasive soaps, or detergents applied
with a sponge or soft cloth.
The oven should be cleaned regularly and
any food deposits removed;
Failure to maintain the oven in a clean
condition could lead to deterioration of the
surface that could adversely affect the life of
the appliance and possibly result in a
hazardous situation;
If the supply cord is damaged, it must be
replaced by the manufacturer, its service
agent or similarly qualified persons in order
to avoid a hazard.
Safety instructions for general use
Listed below are, as with all appliances,
certain rules to follow and safeguards to
assure top performance from this oven:
1.
Always have the glass tray, roller arms,
coupling and roller track in place when
operating the oven.
2.
Do not use the oven for any reason other
than food preparation, such as for drying
clothes, paper, or any other nonfood items,
or for sterilizing purposes.
34
3.
Do not operate the oven when empty. This
could damage the oven.
4.
Do not use the oven cavity for any type of
storage, such a papers, cookbooks, etc.
5.
Do not cook any food surrounded by a
membrane,such as egg yolks, potatoes,
chicken livers, etc without first being pierced
several times with a fork.
6.
Do not insert any object into the openings
on the outer case.
7.
Do not at any time remove parts from the
oven such as the feet, coupling, screws,
etc.
8.
Do not cook food directly on the glass tray.
Place food in/on proper cooking utensil
before placing in the oven.
IMPORTANT
-COOKWARE NOT TO USE
IN YOUR MICROWAVE OVEN
- Do not use metal pans or dishes with
metal handles.
- Do not use anything with metal trim.
- Do not use paper covered wire twist-ties
on plastic bags.
- Do not use melamine dishes as they
contain a material which will absorb
microwave energy. This may cause the
dishes to crack or char and will slow
down the cooking speed.
- Do not use Centura Tableware. The
glaze is not suitable for microwave use.
Corelle Livingware closed handle cups
should not be used.
- Do not cook in a container with a
restricted opening, such as a pop bottle
or salaed oil bottle, as they may explode
if heated in a microwave oven.
- Do not use conventional meat or candy
thermometers.
- There are the thermometers available
specifically for microwave cooking.
These may be used.
9.
Microwave utensils should be used only in
accordance with manufacturer's
instructions.
10. Do not attempt to deep-fry foods in this
oven.
11. Please remember that a microwave oven
only heats the liquid in a container rather
than the container itself.Therefore, even
though the lid of a container is not hot to the
touch when removed from the oven, please
remember that the food/liquid inside will be
releasing the same amount of steam and/or
spitting when the lid is removed as in
conventional cooking.
12 Always test the temperature of cooked food
yourself especially if you are heating or
cooking food/liquid for babies. It is
advisable never to consume food/liquid
straight from the oven but allow it to stand
for a few minutes and stir food/liquid to
distribute heat evenly.
13. Food containing a mixture of fat and water,
e.g.stock,should stand for 30-60 seconds in
the oven after it has been turned off. This is
to allow the mixture to settle and to prevent
bubbling when a spoon is placed in the
food/liquid or a stock cube is added.
14. When preparing/cooking food/liquid and
remember that there are certain foods, e.g.
Christmas puddings, jam and mincemeat,
which heat up very quickly. When heating
or cooking foods with a high fat or sugar
content do not use plastic containers.
15. Cooking utensil may become hot because
of heat transferred from the heated food.
This is especially true if plastic wrap has
been covering the top and handles of the
utensil. Potholders may be needed to
handle the utensil.
16. To reduce the risk of fire in the oven cavity:
a)
Do not overcook food. Carefully attend
microwave oven if paper, plastic, or
other combustible materials are placed
inside the oven to facilitate cooking.
b)
Remove wire twist-ties from bags
before placing bag in oven.
c)
If materials inside the oven should
ignite, keep oven door closed, turn the
oven off at the wall switch, or shut off
power at the fuse or circuit breaker
panel.
35
Computer control panel
1.
TIME UP
2.
TIME DOWN
3.
Micro/defrost/Grill/Double Grill/Comb
4.
Display Window
5.
Clock / Timers
6.
AUTO / MENU
7.
START / RESET
Feature diagram
1.
Door Safety Lock System
2.
Oven Window
3.
Oven Air Vent
4.
Roller Ring
5.
Glass Tray
6.
Control Panel
7.
Grill rack
36
Operation Instruction
1. Single Button Heating
Only with a single press of a button, you
can start simple cooking, it is very
convenient and quick to heat a glass of
water etc.
Example:
To heat a glass of milk
a)
Put a glass of milk onto the glass
turntable and close the door.
b)
Press the button »Start/Reset«, the
microwave oven will work on 100%
power for 1 minutes.
c)
You will hear 5 beeps when cooking is
completed.
2. Microwave Heating
This function has two options.
a)
Quick microwave heating (100%
power)
Example:
To heat food on 100% power for
5 minutes
1.
Set time to »5:00«
2.
Press »Start/Reset«
b)
Manual-operation microwave heating
Example:
To heat food on 70% power for
10 minutes
1.
Press "Micro
…Auto menu" button,
select »70%« power;
2.
Set time to »10:00«
3.
Press »Start/Reset«
There are 5 power levels and the longest
microwave cooking time is 60 minutes.
Touching times
"Micro"
Microwave power
Display
1
100%
P100
2
70%
P70
3
50%
P50
4
30%
P30
5
10%
P10
3. Auto weight defrost
Select the weight of the frozen food, it will
automatically help you to adjust the power
level and time.
Example:
defrost 0.5 kg of frozen meat.
a)
Press "Micro
…Auto menu" to select
"0,1".
b)
Imput weight by pressing "1min" (1kg)
and
»time down« (0.1kg) button.
c)
Press "Start/Reset".
Weight of frozen food must be less than
2 kg.
4. Grill
This function has two options. You may
select between the two by pressing the
"Micro
…Auto menu" button (the longest
cooking time is 60 minutes):
Option 1:
85% grill power, display G-1
Option 2:
50% grill power, display G-2
Example:
Cooking food using the grill for
20 minutes
a)
Press "Micro
…Auto menu" until LED
displayed "G-1".
b)
Set cooking time "20:00"
c)
Press "Start/Reset"
When grilling, food is not heated by
microwaves. Heat is rediated from the metal
heater at the top of the oven.
When grill is working, the cooking time is
devided into 2 stages. after the 1st stage,
program will automatically pause and sound
2 beeps, indicating you to open the oven
and turn over the food. Close the door after
turning the food. Press "Start/Reset" button
and the cooking will continue for the 2nd
stage. If you do not want to turn over the
food, the oven will re-start automatically
after 1 min pause.
5. Combination Cooking
With this appliance you can select between
two options of combination cooking.
Option 1:
Combination cooking (55%
microwave + 45% grill)
LED will display "C-1"
Option 2:
Combination cooking (30%
microwave + 70% grill)
LED will display "C-2".
Example:
Cooking food using option 2 for
15 minutes.
a)
Press "Micro
…Auto menu" untl the
LED displays "C-2"
b)
Set cooking time for "15:00"
c)
Press "Start/Reset"
6. Auto-Menu
You only need to select food type and
weight, it will help you to automatically
adjust power and time.
Example:
Auto cooking 0.4 kg fish
a)
Press "Micro
…Auto menu" button until
"A-5" displayed.
b)
Input the weight by pressing the button
»time up« (1 kg) and the button »time
down« (0.1 kg).
c)
Press "Start/Reset".
37
Touching
Times
"1min"
Menu, Weight (kg)
A-1
Rice
A-2
Vegetable
A-3
Noodle
s
1
0,1
0,1
1
2
0,2
0,2
2
3
0,3
0,3
4
0,4
0,4
5
0,5
0,5
6
0,6
Touching
Times
"1min"
Menu, Weight (kg)
A-4
Meat
A-5
Fish
A-6
Chicken
1
0,2
0,2
0,2
2
0,3
0,3
0,4
3
0,4
0,4
0,6
4
0,5
0,5
0,8
5
0,6
0,6
1,0
6
0,8
0,8
7
1,0
1,0
7. Clock
The oven has a 24-hour digital clock,
To set the time for example to 4:30pm:
a)
Press the "Clock/Timer" button.
Display will start flashing, adjust the
hour with
»time up« and »time down«
buttons.
b)
Press "Clock/Timer" again, adjust the
minutes with buttons "1Min" and
»time
down«.
c)
Press "Clock/Timer" again and the
clock will be set.
d)
If you want to change the time, repeat
the procedure above.
8. Timer
This allows you to set the microwave oven
to start and finish cooking at pre-set time.
The clock must be set before you use this
feature.
Example:
The current time is 16:30 and
you want to start cooking at 18:15 on 70%
power for 10minutes:
a)
Press "Clock/Timer", set the time to
"18:15" by pressing "1Min" and
»time
down« buttons, (same procedure as
setting clock)
b)
Press "Micro
…Auto menu" to select
70% power.
c)
Set cooking time to 10 minutes.
d)
Press "Start/Reset"
If you do not set the power and cooking
time and directly press the start button once
you have programmed the time, the
appliance will only work as a clock.
At 18:15 there will be 10 bleeps and the
appliance will switch off.
9. Child-safety-lock
To activate the child safety lock, press
"Time up" and "Time down" at the same
time for 2 seconds.
Press press "Time up" and "Time down" at
the same time for 2 seconds again, it will
unlock the machine.
10. Start/Reset
a)
In the course of operation, press
"Start/Reset" button will stop operation.
b)
If any program was set before pressing
start, press this button will cancel all
the set program.
38
Care of your microwave oven
1.
Turn the oven off and remove the power
plug from the wall socket before cleaning.
2.
Keep the inside of the oven clean. When
food splatters of spilled liquids adhere to
oven walls,wipe with a damp cloth. The use
of harsh detergent or abrasives is not
recommended.
3.
The outside oven surface should be
cleaned with a damp colth. To prevent
damage to the operating parts inside the
oven, water should not be allowed to seep
into the ventilation openings.
4.
Do not allow the Control Panel to become
wet. Clean with a soft, damp cloth, Do not
use detergents, abrasives or spray-on
cleaners on the control Panel.
5.
If steam accumulates inside or around the
outside of the oven door, wipe with a soft
cloth.This may occur when the microwave
oven is operated under high humidity
conditions and in no way indicates
malfunction of the unit.
6.
It is occasionally necessary to remove the
glass tray for cleaning. Wash the tray in
warm sudsy water or in a dishwasher.
7.
The roller ring and oven cavity floor should
be cleaned regularly to avoid excessive
noise. Simply wipe the bottom surface of
the oven with mild detergent, water or
window cleaner and dry. The roller ring may
be washed in mild sudsy water or sish
washer. Cooking vapours collect during
repeated use but in no way affect the
bottom surface or roller ring wheels.
When removing the roller ring from cavity
floor for cleaning, be sure to replace it in the
proper position.
8.
Remove odors from your oven by
combining a cup of water with the juice and
skin of one lemon in a deep microwaveable
bowl. Microwave for 5 minutes, wipe
thoroughly and dry with a soft cloth.
9.
When it becomes necessary to replace the
oven light, please consult a dealer to have it
replaced.
Environment
Do not throw away the appliance with the normal
household waste at the end of its life, but hand it
in at an official collection point for recycling. By
doing this, you help to preserve the environment.
Guarantee & service
If you need information or if you have a problem,
please contact the Gorenje Customer Care
Centre in your country (you find its phone
number in the worldwide guarantee leaflet). If
there is no Customer Care Centre in your
country, go to your local Gorenje dealer or
contact the Service department of Gorenje
domestic appliances.
For personal use only!
We reserve the right to any
modifications!
WISHES YOU A LOT OF
PLEASURE
WHILE USING YOUR APPLIANCE
Additional recommendations for cooking with
microwave, grill and useful advices can be
found on web side:
http://microwave.gorenje.com
39
GEBRAUCHSANWEISUNG DE
Lesen Sie die Gebrauchsanweisung bitte sorgfältig durch und bewahren Sie sie zum späteren
Gebrauch auf.
Technische Daten
Stromaufnahme ...................................................................................................... 230V~50Hz,1280W
Ausgangsleistung ........................................................................................................................ 900W
Grillheizkörper ........................................................................................................................... 1200W
Betriebsfrequenz: ................................................................................................................... 2450MHz
Außenmaße: ............................................................................. 510mm (B) X 303mm (H) X 382mm (T)
Maße des Garraums: ................................................................ 330mm (B) X 212mm (H) X 330mm (T)
Volumen: ......................................................................................................................................... 23 l
Masse ohne Verpackungsmaterial: ...................................................................................... ca. 14,5 kg
Schallpegel
– niveau: ...................................................................................................... Lc < 58 dB (A)
Bevor Sie den Kundendienst anrufen
1.
Wenn der Mikrowellenherd überhaupt nicht
funktioniert, wenn auf dem Display kein
Text sichtbar sind oder wenn das Display
erlischt:
a)
Überprüfen Sie, ob der
Mikrowellenherd fachgerecht an das
elektrische Versorgungsnetz
angeschlossen ist. Wenn nicht, ziehen
Sie den Stecker aus der Steckdose,
warten Sie 10 Sekunden und stecken
Sie den Stecker wieder in die
Steckdose.
b)
Überprüfen Sie, ob die Sicherung
durchgebrannt bzw. ob der Stromkreis
an der Hauptsicherung unterbrochen
ist. Wenn an den Sicherungen keine
Störungen sichtbar sind, testen Sie die
Steckdose mit einem anderen
elektrischen Gerät. 2. Wenn der
Mikrowellenherd nicht heizt, d.h. wenn
er keine Mikrowellenenergie abgibt:
a)
Überprüfen Sie, ob die Zeitschaltuhr
richtig eingestellt ist.
b)
Überprüfen Sie, ob die Gerätetür fest
geschlossen und die
Sicherheitsverriegelung eingeschnappt
ist. Wenn das nicht der Fall ist, wird
die Mikrowellenenergie nicht
freigesetzt.
Wenn Sie die Störung mit Hilfe der oben
genannten Tips nicht beseitigen konnten,
wenden Sie sich bitte an den
nahegelegenen autorisierten Kundendienst.
Funkstörungen (Interferenzen)
Der Mikrowellenherd kann Empfangsstörungen
bei Rundfunk-, Fernseh-
und anderen Geräten
verursachen. Wenn es zu Störungen kommen
sollte (Interferenzen)
, können Sie diese mit
folgenden Maßnahmen beseitigen oder
vermindern:
a)
Reinigen Sie die Gerätetür und die
Dichtungen am Mikrowellenherd.
b)
Stellen Sie Ihr Rundfunk- oder
Fernsehgerät so weit wie möglich vom
Mikrowellenherd auf.
c)
Verwenden Sie für Ihr Rundfunk- bzw.
Fernsehgerät eine entsprechend montierte
Antenne, die den bestmöglichen Empfang
gewährleistet.
Bemerkung:
Das Gerät ist ausschließlich zum Gebrauch
im Haushalt bestimmt und zwar zum Erhitzen
von Speisen und Getränken mit
elektromagnetischer Energie. Verwenden Sie
das Gerät nur in geschlossenen Räumen.
Aufstellung
1.
Überprüfen Sie, ob das komplette
Verpackungsmaterial aus dem
Geräteinneren entfernt wurde.
2.
Überprüfen Sie beim Entfernen der
Verpackung, ob es am Mikrowellengerät zu
sicht
baren Beschädigungen gekommen ist,
wie z.B.:
Dieses Gerät ist entsprechend der
europäischen Richtlinie 2002/96/EG über
Elektro-
und Elektronikaltgeräte (waste
electrical and electronic equipment -
WEEE) gekennzeichnet. Die Richtlinie
gibt den Rahmen für eine EU-weit gültige
Rücknahme und Verwertung der
Altgeräte vor.
40
-
schief hängende Gerätetür,
-
beschädigte Gerätetür,
-
Dellen oder Löcher im Glas
(Sichtfenster), an der Gerätetür oder am
Display,
-
Dellen im Geräteinneren.
Wenn Sie irgendeinen der oben genannten
Schäden bemerken, dürfen Sie den
Mikrowellenherd
nicht
benutzen.
3.
Der Mikrowellenherd wiegt 14,5 kg; stellen
Sie ihn auf eine waagrechte Unterlage, die
genügend stabil ist, um sein Gewicht
auszuhalten.
4.
Den Mikrowellenherd in ausreichender
Entfernung von W
ärmequellen und
Wasserdampf aufstellen.
5.
Keine Gegenstände auf dem
Mikrowellenherd aufbewahren.
6.
Um eine ausreichende Belüftung zu
gewährleisten, sollte an den Seiten des
Mikrowellenherdes mindestens 8 cm und
über dem Gerät 10 cm freier Raum zur
Verfügung stehen.
7.
Die Antriebswelle des Drehgestells
NICHT
entfernen.
8.
Kinder dürfen den Mikrowellenherd nur
unter Aufsicht Erwachsener benutzen.
HINWEIS:
DIESES GERÄT MUSS
GEERDET WERDEN!
9.
Die Steckdose, an welche der
Mikrowellenherd angeschlossen i
st, muß
leicht zugänglich sein.
10.
Der Mikrowellenherd benötigt 1,3 kVA
Eingangsleistung. Wir empfehlen Ihnen,
sich über die Aufstellung des
Mikrowellenherdes mit einem
Kundendienst-Fachmann oder einem
entsprechendem anderen Fachmann zu
beraten.
ACHTUNG:
Der Mikrowellenherd verfügt
über eine eigene Schutzeinrichtung und
zwar über eine Sicherung 250V, 10A.
WICHTIG
Die Farben der Leiter im Anschlußkabel
haben folgende Bedeutung:
Grün-gelb:
Erdungsleiter
Blau:
Neutralleiter
Braun:
Stromführender
Leiter
Da
die Farben der Leiter des Anschlußkabels
eventuell nicht ganz den Kennzeichnungen
der Anschlußklemmen der Steckdose
entsprechen, beachten Sie bitte Folgendes:
-
Schließen Sie den grün-gelben Leiter an
die Anschlußklemme im Stecker, welche
mit dem Buchstaben
E
oder dem
Erdungssymbol gekennzeichnet ist.
-
Schließen Sie den blauen Leiter an die mit
dem Buchstaben
N
oder mit schwarzer
Farbe gekennzeichnete Anschlußklemme
an;
-
Schließen Sie den braunen Leiter an die
mit dem Buchstaben
L
oder mit roter Farbe
gek
ennzeichnete Anschlußklemme an;
Wichtige Sicherheitshinweise
HINWEIS:
Wenn das Gerät in der
Betriebsart Kombi arbeitet, dürfen Kinder
das Gerät wegen der sehr hohen
Temperaturen nur unter sorgfältiger
Aufsicht erwachsener Personen
gebrauchen (gilt nur für Geräte mit
Grillfunktion).
HINWEIS:
Bei Beschädigung der Gerätetür
oder der Türdichtungen darf das
Mikrowellengerät so lange nicht benutzt
werden, bis es von einem autorisierten
Kundendienstfachmann instandgesetzt
worden ist.
HINWEIS:
Jegliche Reparatur- oder
Kundendienstarbeiten, bei welchen die
Abdeckung des Geräts entfernt werden
muß und die von nicht autorisierten
Personen durchgeführt werden, ist
gefährlich und riskant.
HINWEIS:
Keine Flüssigkeiten oder
Nahrungsmittel in dicht verschlossenen
Gefäßen oder Verpackungen erhitzen, da
diese bersten können.
HINWEIS:
Dieses Gerät ist für Benutzer
(einschl. Kinder) mit eingeschränkten
physischen, sensorischen oder psychischen
Fähigkeiten bzw. Ohne jegliche Erfahrung
oder Vorwissen nur dann geeignet, wenn
eine angemessene Aufsicht oder
ausführliche Anleitung zur Benutzung des.
Geräts durch eine verantwortliche Person
sichergestellt ist. Achten Sie darauf, dass
Kinder nicht mit dem Gerät spielen.
Für ausreichenden freien Raum für die
Luftzirkulation um den Mikrowellenherd
sorgen. Hinter dem Gerät mindestens 8 cm,
an den Seiten mindestens 10 cm und
oberhalb des Geräts mindestens 10 cm
freien Raum lassen. Die Gerätefüße nicht
entfernen und die Lüftungsöffnungen nicht
bedecken.
Verwenden Sie ausschließlich
mikrowellentaugliches Geschirr und
Zubehör.
Beim Erhitzen von Speisen in Kunststoff-
oder Papierverpackung bzw. Behältern, den
Vorgang wegen Brandgefahr
beaufsichtigen.






