Nikon AF-S DX NIKKOR 18-300mm f-3.5-5.6G ED VR – page 5
Manual for Nikon AF-S DX NIKKOR 18-300mm f-3.5-5.6G ED VR
Table of contents
- For Your Safety
- ■ Parts of the Lens
- ■ Zoom and Depth of Field ■ Aperture
- ■ Focus ■ Vibration Reduction (VRII)
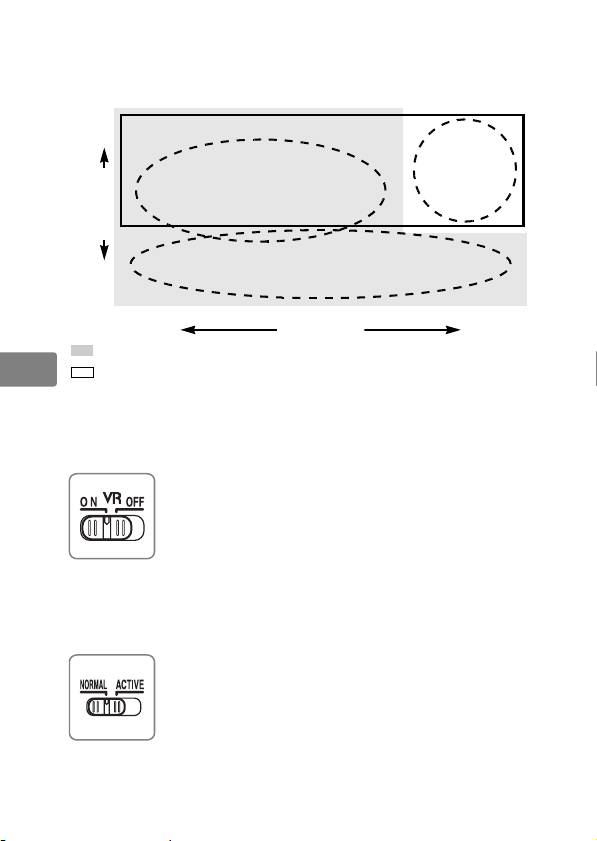
- Using the Vibration Reduction ON/OFF Switch Using the Vibration Reduction Mode Switch
- Using Vibration Reduction: Notes
- ■ The Lens Hood ■ Built-in Flash Units
- ■ Lens Care ■ Supplied Accessories ■ Compatible Accessories
- ■ Specifications
- ■ A Note on Wide- and Super Wide-Angle Lenses

Jp
■ Onderhoud objectief
• Pak of houd het objectief of de camera niet alleen met behulp van
En
de zonnekap vast.
• Houd de CPU-contacten schoon.
De
•
Mocht de rubberen afdichting voor objectiefbevestiging beschadigt zijn,
staak onmiddellijk het gebruik en breng het objectief voor reparatie naar
een Nikon geautoriseerd servicecenter.
Fr
• Gebruik een blaasbalgje om stof en pluizen van de
objectiefoppervlakken te verwijderen. Voor het verwijderen van
Es
vlekken en vingerafdrukken moet u een kleine hoeveelheid ethanol of
objectiefreiniger op een zachte, schone katoenen doek of objectief
Sv
reinigingsdoekje aanbrengen en reinig met een draaiende beweging
vanuit het midden naar buiten toe. Zorg dat er geen vegen
Ru
achterblijven en raak het glas niet met uw vingers aan.
• Gebruik voor het reinigen van het objectief nooit organische
Nl
oplosmiddelen zoals verfthinner of benzeen.
• De zonnekap of NC filters kunnen worden gebruikt ter bescherming
van het voorste objectiefelement.
Pt
• Bevestig de voor- en achterlensdoppen voordat u het objectief in
het flexibele tasje plaatst.
Pb
• Als het objectief voor langere tijd niet wordt gebruikt, moet u het op
een koele en droge plaats bewaren. Zo voorkomt u schimmel en
It
roest. Bewaar niet in direct zonlicht of in combinatie met
mottenballen van nafta of kamfer.
Cz
• Zorg dat het objectief droog blijft. Het roesten van het interne
mechanisme kan onherstelbare schade veroorzaken.
Sk
• Het objectief achterlaten op extreem hete locaties kan schade
veroorzaken of onderdelen gemaakt van versterkt plastic kunnen
kromtrekken.
Ro
■ Meegeleverde accessoires
Ua
• 77 mm makkelijk te bevestigen voorste objectiefdop LC-77
• Achterste objectiefdop LF-4
Ck
•Bajonetkap HB-58
• Flexibel objectiefetui CL-1120
Ch
■ Compatibele accessoires
• 77 mm vastschroefbare filters
Kr
Id
81

Jp
■ Specificaties
Type Type G AF-S DX-objectief met ingebouwde CPU- en
En
F-vatting
Brandpuntsafstand
De
18–300 mm
Maximale diafragma
f/3.5–5.6
Fr
Objectiefconstructie 19 elementen in 14 groepen (inclusief 3 asferische
objectiefelementen en 3 ED-objectiefelementen)
Es
Weergavehoek
76 ° –5 ° 20 ′
Schaal
Sv
Gegradeerd in millimeters (18, 28, 50, 105, 200, 300)
brandpuntsafstand
Afstandsinformatie Uitvoer naar camera
Ru
Zoom
Handmatige zoom met behulp van zoomring
Nl
Scherpstellen
Nikon Internal Focusing (IF) System met autofocus
aangestuurd door Silent Wave Motor en afzonderlijke
Pt
scherpstelring voor handmatige scherpstelling
Vibratiereductie
Lens-shift met behulp van voice coil motors (VCMs)
Pb
Aanduiding voor
0,45 m tot oneindig (∞)
scherpstelafstand
It
Kortste scherpstelafstand
300 mm brandpuntsafstand: 0,45 m vanaf filmvlak
Diafragmabladen 9 (ronde diafragmaopeningen)
Cz
Diafragma Volledig automatisch
Diafragmabereik
• 18 mm brandpuntsafstand: f/3.5 tot f/22
Sk
• 300 mm brandpuntsafstand: f/5.6 tot f/32
Ro
Lichtmeting Volledig diafragma
Maat voor filters/
77 mm (P=0,75 mm)
Ua
voorzetlenzen
Afmetingen Ca. 83 mm diameter × 120 mm (afstand vanaf
Ck
objectiefbevestigingsvlak van de camera)
Gewicht Ca. 830 g
Ch
Nikon behoudt zich het recht de specificaties van de hardware, zoals beschreven in
deze handleiding, te allen tijde zonder voorafgaande kennisgeving te wijzigen.
Kr
Id
82

Jp
■ Een opmerking over groothoek- en
supergroothoekobjectieven
En
In de volgende situaties kan autofocus mogelijk niet de gewenste
resultaten met groothoek- en supergroothoekobjectieven
De
verschaffen:
Voorbeeld 1: Een afgelegen
Fr
portretonderwerp op enige afstand
van de achtergrond Voorbeeld 2: Een veld met bloemen
Es
Sv
Ru
Nl
1 Het onderwerp vult niet het gebied dat is omsloten door de scherpstelhaakjes.
Pt
Als het scherpstelpunt zowel voorgrond- als
achtergrondvoorwerpen bevat, stelt de camera mogelijk scherp op
de achtergrond en wordt het onderwerp mogelijk onscherp.
Pb
2 Het onderwerp bevat veel fijne details.
It
De camera heeft mogelijk problemen met het scherpstellen op
onderwerpen die veel fijne details of te weinig contrast bevatten.
Cz
Gebruik in deze gevallen handmatige scherpstelling, of gebruik
scherpstelvergrendeling om een ander onderwerp op dezelfde
Sk
afstand scherp te stellen en stel een nieuwe compositie van de foto
samen. Zie voor meer informatie “Goede resultaten verkrijgen met
autofocus” in de camerahandleiding.
Ro
Ua
Ck
Ch
Kr
Id
83

Jp
Para sua segurança
En
CUIDADOS
• Não desmonte. Tocar nas peças internas da câmara ou da objectiva pode
De
resultar em lesão. Caso ocorra um problema, o produto deve apenas ser
reparado por um técnico qualificado. Se o produto se abrir como resultado
de uma queda ou outro acidente, remova a bateria da câmara e/ou desligue
Fr
o adaptador CA, levando depois o produto a um centro de assistência
autorizado da Nikon.
Es
• Caso ocorra um problema desligue a câmara de imediato. Se notar fumo ou um
cheiro pouco comum a sair do equipamento, desligue imediatamente o
Sv
adaptador CA e remova a bateria da câmara, tendo cuidado para evitar
queimaduras. O funcionamento contínuo apesar disso pode resultar em
Ru
incêndio ou lesão. Depois de remover a bateria, leve o equipamento a um
centro de assistência autorizado da Nikon para inspecção.
Nl
• Não utilize na presença de um gás inflamável. Trabalhar com equipamento
electrónico na presença de um gás inflamável pode resultar numa explosão
ou incêndio.
Pt
• Não olhe para o sol através da objectiva ou do visor da câmara. Olhar para o sol ou
outra fonte de iluminação forte através da objectiva ou do visor pode
Pb
resultar em danos visuais permanentes.
• Mantenha longe do alcance de crianças. A não observância desta precaução pode
It
resultar em lesão.
• Tenha em atenção as seguintes precauções quando manipular a objectiva e a câmara:
Cz
- Mantenha a objectiva e a câmara secas. Não o fazer pode resultar em
incêndio ou choque eléctrico.
Sk
- Não manuseie a objectiva ou a câmara com as mãos molhadas. Fazê-lo
pode resultar em choque eléctrico.
- Mantenha o sol bem fora do enquadramento quando fotografar
Ro
indivíduos em contraluz. A luz do sol focada na câmara quando o sol está
dentro ou perto do enquadramento pode causar um incêndio.
Ua
- Se não pretender usar a objectiva por um longo período de tempo, monte
as tampas frontal e traseira da objectiva e guarde a mesma longe de luz
Ck
solar directa. Se a deixar sob luz solar directa, a objectiva pode focar os
raios de sol em objectos inflamáveis, causando um incêndio.
Ch
• Não transporte tripés com uma objectiva ou a câmara montadas. Pode tropeçar ou
acertar acidentalmente noutros, resultando em ferimentos.
Kr
• Não deixe a objectiva onde esteja exposta a temperaturas extremamente altas, como
num automóvel fechado ou sob luz solar directa. Fazê-lo pode afectar
adversamente as partes internas da objectiva, causando um incêndio.
Id
84

Jp
Obrigado por ter comprado uma objectiva AF-S DX NIKKOR
18-300mm f/3.5-5.6G ED VR. Antes de utilizar este produto, leia
En
cuidadosamente estas instruções e o manual da câmara.
Nota: As objectivas DX são apenas para uso com câmaras digitais reflex de
De
objectiva simples com formato DX, tais como as das séries D300 ou
D7000. O ângulo de visão de uma objectiva numa câmara de formato DX
Fr
é equivalente ao de uma objectiva com uma distância focal de cerca de
1,5 × maior montada numa câmara de formato de 35 mm.
Es
■ Partes da objectiva
q
we r ty ou!0i!1 !2 !3
Sv
Ru
Nl
Pt
Pb
!4
It
!7
!5
Cz
!6
Sk
q Pára-sol da objectiva....................90
!0 Anel de focagem...........................87
w Marca de alinhamento do pára-
!1
Marca de montagem da objectiva
Ro
sol da objectiva .........................90
!2 Junta de borracha da
e Marca de bloqueio do pára-sol
montagem da objectiva .....91
Ua
da objectiva.................................90
!3 Contactos CPU................................91
r Marca de montagem do pára-
Ck
!4 Interruptor do modo de
sol da objectiva .........................90
focagem ........................................ 87
t Anel de zoom...................................86
Ch
!5 Interruptor ON/OFF da redução
y Escala de distâncias focais........86
da vibração.................................. 88
Kr
u Marca de distâncias focais
!6 Interruptor do modo de
redução da vibração.............. 88
i
Indicador da distância de focagem
Id
!7 Bloqueio do zoom........................86
o Marca da distância de focagem
85

Jp
■ Zoom e profundidade do campo
Antes de focar, rode o anel de zoom para ajustar a distância focal e
En
enquadrar a fotografia. Se a câmara permitir a pré-visualização da
profundidade de campo (stop down, baixar abertura), a profundidade
De
de campo pode ser pré-visualizada no visor.
Nota: A distância focal aumenta à medida que a distância de foco diminui.
Fr
Note que o indicador da distância de focagem é apenas um guia e pode
não mostrar de forma precisa a distância ao sujeito podendo, devido à
Es
profundidade de campo ou outros factores, não mostrar ∞ quando a
câmara foca uma objecto distante.
Sv
Para bloquear o anel de zoom, rode-o para a posição de 18 mm e
deslize o bloqueio do zoom para LOCK. Isto evita que a objectiva se
Ru
estenda sob o próprio peso enquanto a câmara está a ser
transportada.
Nl
■ Abertura
A abertura é ajustada usando os controlos da câmara.
Pt
Zoom e abertura máxima
Pb
1
Alterações ao zoom podem mudar a abertura máxima até 1
/
EV.
3
Todavia a câmara toma isto automaticamente em conta quando
It
definir a exposição, e não são necessárias modificações às definições
da câmara depois dos ajustes ao zoom.
Cz
Sk
Ro
Ua
Ck
Ch
Kr
Id
86

Jp
■ Focagem
Os modos de focagem suportados são apresentados na seguinte
En
tabela (para informações sobre os modos de focagem da câmara,
consulte o manual da câmara; para informações sobre como obter bons
De
resultados com a focagem automática, consulte "Uma nota
relativamente a Objectivas de Grande e Super Grande Angular" na
página 93).
Fr
Modo de focagem da objectiva
Modo de focagem
Es
da câmara
M/A M
Focagem automática com
Focagem manual com o
Sv
AF
sobreposição manual
telémetro electrónico
Ru
MF Focagem manual com o telémetro electrónico
M/A (Focagem automática com sobreposição
Nl
manual)
Pt
Para focar usando a focagem automática com sobreposição manual
(M/A):
Pb
Deslizar o interruptor do modo de focagem para M/A.
z
It
Focar.
x
Se pretendido, a focagem automática pode ser anulada rodando
Cz
o anel de focagem da objectiva enquanto o botão de disparo do
obturador está ligeiramente premido (ou se a câmara estiver
Sk
equipada com um botão AF-ON, enquanto esse mesmo está
premido). Para focar de novo utilizando a focagem automática,
prima o botão de disparo do obturador ligeiramente ou prima de
Ro
novo o botão AF-ON.
Ua
■ Redução da vibração (VRII)
A redução da vibração (VRII) diminui o efeito tremido causado
Ck
quando a câmara treme, permitindo velocidades de obturador até
quatro pontos mais inferiores do que seria doutra forma (medidas
Ch
Nikon; os efeitos variam com o fotógrafo e com as condições de
disparo). Isto aumenta o alcance das velocidades de obturador
disponíveis e permite a fotografia portátil, sem tripés, numa grande
Kr
variedade de situações.
Id
87

Jp
Escolha entre a redução de vibração NORMAL e ACTIVE de acordo
com a frequência e amplitude da vibração.
En
Grande Frequência Pequena
De
Forte tremor
da câmara
Fr
(p.ex., veiculo em
Tremor da câmara
movimento)
Es
Sv
Disparar enquanto muda de orientação
Ru
Pequena Amplitude Grande
Nl
: Adequado à redução de vibração NORMAL.
Pt
: Adequado à redução de vibração ACTIVE.
• Tremor da câmara: Escolha NORMAL ou ACTIVE.
Pb
• Disparar enquanto muda de orientação: Escolha NORMAL.
• Forte tremor da câmara: Escolha ACTIVE.
It
Utilizar o interruptor ON/OFF da redução da vibração
Seleccionar ON para activar a redução de vibração. A redução
Cz
de vibração é activada quando o botão de disparo do
obturador é premido ligeiramente, reduzindo os
Sk
efeitos do tremor da câmara para melhorar o
enquadramento e a focagem.
Ro
Seleccionar OFF para desligar a redução de vibração.
Utilizar o interruptor de modo da redução da vibração
Ua
O interruptor do modo de redução da vibração é utilizado para
seleccionar o respectivo modo quando a redução de vibração está ligada.
Ck
Seleccione NORMAL para reduzir a vibração causada
pelo tremor da câmara ou quando mudar a câmara de
Ch
orientação.
Seleccione ACTIVE para reduzir a vibração causada pelo
Kr
tremor da câmara ou enquanto dispara a partir de um
carro em movimento, de um barco ou de outra
Id
plataforma instável. Os movimentos de mudança de
orientação não são detectados.
88

Jp
Utilizar a redução da vibração: Notas
• Quando utilizar a redução da vibração, prima ligeiramente o botão
En
de disparo do obturador e espere que a imagem no visor estabilize
antes de premir o resto do botão de disparo do obturador.
• Quando a redução da vibração está activa, a imagem no visor pode
De
ficar tremida depois do obturador ter sido libertado. Isto não indica
uma avaria.
Fr
• Deslize o interruptor do modo de redução da vibração para
NORMAL para disparos com mudança de orientação. Quando a
Es
câmara muda de orientação, a redução da vibração aplica-se apenas
ao movimento que não faz parte dessa mudança (se a câmara for
Sv
virada horizontalmente, por exemplo, a redução de vibração será
apenas aplicada ao tremor vertical), tornando muito mais simples
Ru
virar a câmara de forma suave num arco longo.
• Não desligue a câmara ou remova a objectiva enquanto a redução
de vibração está em efeito. Se a alimentação da objectiva sofrer um
Nl
corte enquanto a redução da vibração está activa, a objectiva pode
fazer barulho quando abanada. Isto não é uma avaria e pode ser
Pt
corrigido se se montar de novo a objectiva e ligar a câmara.
• Se a câmara estiver equipada com um flash incorporado, a redução
Pb
da vibração será desactivada enquanto o flash carrega.
• Se a câmara estiver equipada com um botão AF-ON, premir esse
It
botão não irá activar a redução da vibração.
• Desligue a redução da vibração quando a câmara for montada de
Cz
forma segura num tripé mas deixe-a ligada se a cabeça do tripé não
estiver segura ou quando usar um monopé.
Sk
Ro
Ua
Ck
Ch
Kr
Id
89

Jp
■ Pára-sol da objectiva
O pára-sol da objectiva protege a objectiva e bloqueia a difusão de luz
En
que doutra forma causaria reflexos ou efeito fantasma.
De
Alinhe a marca de bloqueio do pára-sol
da objectiva (—
{) com a marca de
montagem do pára-sol da objectiva (●)
Fr
na objectiva (e).
Es
Quando montar ou remover o pára-sol, segure-o perto do símbolo
Sv
, na sua base, e evite prendê-lo demasiado. Pode ocorrer
vinhetagem se o pára-sol não estiver correctamente montado.
Ru
O pára-sol pode ser revertido e montado na objectiva quando não
estiver a ser utilizado. Quando o pára-sol está revertido pode montar-
Nl
se e remover-se rodando-o enquanto se segura perto da marca de
bloqueio (
—{).
Pt
■ Unidades de flash incorporadas
Quando usar o flash incorporado em câmaras equipadas com
Pb
unidades de flash incorporadas, dispare a alcances de 0,6 m ou mais e
remova o pára-sol da objectiva para evitar a vinhetagem (sombras
It
criadas onde a extremidade da objectiva tapa o flash incorporado).
Câmara Distância focal Use a alcances de
Cz
18 mm 3,0 m ou mais
Séries D800 (formato DX)
28 mm 1,0 m ou mais
Sk
50 mm ou mais Sem restrições
18 mm 3,0 m ou mais
Ro
D700 (formato DX)
28 mm ou mais Sem restrições
28 mm 1,0 m ou mais
Ua
D7000/Séries D300/D200
50 mm ou mais Sem restrições
Ck
28 mm 1,5 m ou mais
D100
50 mm ou mais Sem restrições
Ch
28 mm 2,5 m ou mais
D90/D80/Séries D70
50 mm ou mais 1,0 m ou mais
Kr
D5100/D5000/D3100/D3000/D60/Séries D40
50 mm ou mais 1,0 m ou mais
28 mm 2,0 m ou mais
D50
Id
50 mm ou mais 1,0 m ou mais
90

Jp
■ Cuidados com a objectiva
• Não pegue ou segure na objectiva ou câmara usando apenas o pára-
En
sol da objectiva.
• Mantenha os contactos CPU limpos.
De
• Se a junta de borracha da montagem da objectiva for danificada,
pare imediatamente a utilização e leve a objectiva a um centro de
assistência autorizado da Nikon para reparação.
Fr
• Utilize uma pêra de ar para remover a poeira e sujidade entre as
superfícies da objectiva. Para remover borrões e dedadas, aplique
Es
uma pequena quantidade de etanol ou produto de limpeza de
objectivas num pano de algodão, suave e macio, ou num tecido de
Sv
limpeza de objectivas, e limpe do centro para fora, num movimento
circular, e tendo cuidado para não deixar nódoas ou tocar no vidro
Ru
com os dedos.
• Nunca utilize solventes orgânicos, como diluentes ou benzeno, para
Nl
limpar a objectiva.
• O pára-sol da objectiva ou os filtros NC podem ser usados para
proteger o elemento frontal da objectiva.
Pt
• Monte as tampas frontal e traseira antes de colocar a objectiva na
respectiva bolsa flexível.
Pb
• Se a objectiva não for utilizada por um longo período de tempo,
guarde-a num local fresco e seco para evitar bolor e ferrugem. Não
It
guarde num local com luz solar directa ou com bolas de nafta ou
cânfora.
Cz
• Mantenha a objectiva seca. Ferrugem no mecanismo interno pode
implicar danos irreparáveis.
Sk
• Deixar a objectiva em locais extremamente quentes pode danificar
ou deformar as peças feitas de plástico reforçado.
Ro
■ Acessórios fornecidos
• Tampa de encaixe dianteira da objectiva de 77 mm LC-77
Ua
• Tampa traseira da objectiva LF-4
• Protecção de baioneta HB-58
Ck
• Bolsa flexível CL-1120 para a objectiva
■ Acessórios compatíveis
Ch
• Filtros de aparafusar de 77 mm
Kr
Id
91

Jp
■ Especificações
En
Tipo
Objectiva do tipo G AF-S DX com CPU e montagem
F incorporados
De
Distância focal
18–300 mm
Abertura máxima
f/3.5–5.6
Fr
Construção da objectiva
19 elementos em 14 grupos (incluindo 3 elementos de
objectiva asférica e 3 elementos de objectiva ED)
Es
Ângulo de visão
76° –5° 20 ′
Escala de distâncias focais
Graduada em milímetros (18, 28, 50, 105, 200, 300)
Sv
Informação de distância
Saída para a câmara
Ru
Zoom
Zoom manual utilizando um anel de zoom
independente
Nl
Focagem
Sistema Nikon de Focagem Interna (IF) com focagem
automática controlada por um motor silencioso e
anel de focagem separado para a focagem manual
Pt
Redução da vibração
Deslocação da objectiva usando motores de bobina
Pb
de voz (VCMs)
Indicador da distância de
0,45 m a infinito (∞)
It
focagem
Distância mínima de
300 mm de distância focal: 0,45 m desde o plano focal
Cz
focagem
Lâminas do diafragma
9 (abertura de diafragma circular)
Sk
Diafragma
Totalmente automático
Alcance da abertura • 18 mm de distância focal: f/3.5 a f/22
Ro
• 300 mm de distância focal: f/5.6 a f/32
Medição
Abertura total
Ua
Tamanho do anexo ao
77 mm (P=0,75 mm)
Ck
filtro
Dimensões
Aprox. 83 mm de diâmetro × 120 mm (distância do
Ch
rebordo de montagem da objectiva)
Peso
Aprox. 830 g
Kr
A Nikon reserva-se o direito de alterar as especificações do hardware descrito
neste manual a qualquer altura e sem aviso prévio.
Id
92

Jp
■ Uma nota relativamente a Objectivas de Grande
e Super Grande Angular
En
A focagem automática não pode dar os resultados desejados com
objectivas grandes e super grandes nas seguintes situações:
De
Exemplo 1: Um motivo de retrato
Fr
longínquo a alguma distância do
fundo Exemplo 2: Um campo de flores
Es
Sv
Ru
Nl
1 O motivo não enche a área delimitada pelos limites de focagem.
Se o ponto de focagem tiver objectos tanto à frente como no fundo,
Pt
a câmara pode focar o fundo e o sujeito pode ficar desfocado.
2 O motivo tem muitos detalhes.
Pb
A câmara pode ter dificuldade em focar motivos que contenham
muitos detalhes ou que estejam com pouco contraste.
It
Nestes casos, utilize a focagem manual ou o bloqueio de focagem
para focar outro motivo à mesma distância e depois recomponha a
Cz
fotografia. Para mais informação, consulte “Obter bons resultados
com a focagem automática” no manual da câmara.
Sk
Ro
Ua
Ck
Ch
Kr
Id
93

Jp
Para sua segurança
En
CUIDADOS
• Não desmonte. Tocar nas peças internas da câmera ou da lente pode resultar
De
em lesão. Caso ocorra um problema, o produto deve ser apenas reparado
por um técnico qualificado. Se o produto se abrir como resultado de uma
queda ou outro acidente, remova a bateria da câmera e/ou desligue o
Fr
adaptador AC, depois leve o produto a uma assistência técnica autorizada
Nikon para inspeção.
Es
• Caso ocorra um problema, desligue a câmera imediatamente. Se você notar fumaça
ou um cheiro incomum saindo do equipamento, desligue imediatamente o
Sv
adaptador AC e remova a bateria da câmera, tendo cuidado para evitar
queimaduras. A contínua utilização poderá resultar em incêndio ou lesão.
Ru
Depois de remover a bateria, leve o equipamento a uma assistência técnica
autorizada Nikon para inspeção.
Nl
• Não utilize na presença de gás inflamável. Trabalhar com equipamento eletrônico
na presença de gás inflamável pode resultar em explosão ou incêndio.
• Não olhe para o sol através da lente ou do visor da câmera. Olhar para o sol ou outra
Pt
fonte de iluminação forte através da lente ou do visor pode resultar em
danos visuais permanentes.
Pb
• Mantenha longe do alcance de crianças. Fazê-lo pode resultar em lesão.
• Observe as seguintes precauções quando manipular a lente e a câmera:
It
- Mantenha a lente e a câmera secas. Não o fazer pode resultar em incêndio
ou choque elétrico.
Cz
- Não manuseie a lente ou a câmera com as mãos molhadas. Fazê-lo pode
resultar em choque elétrico.
Sk
- Mantenha o sol fora do enquadramento quando fotografar temas em
contraluz. A luz do sol focada na câmera quando o sol está dentro ou perto
do enquadramento pode causar um incêndio.
Ro
- Se você não pretende usar a lente por um longo período de tempo,
coloque as tampas frontal e traseira da lente e guarde a mesma longe da
Ua
luz solar direta. Se a deixar sob luz solar direta, a lente poderá focar os raios
de sol em objetos inflamáveis, causando um incêndio.
Ck
• Não transporte tripés com uma lente ou a câmera montada. Você poderá tropeçar
ou acertar acidentalmente outras pessoas, resultando em ferimentos.
Ch
• Não deixe a lente exposta a temperaturas extremamente altas, como em um automóvel
fechado ou na luz solar direta. Fazê-lo pode afetar adversamente as partes
Kr
internas da lente, causando um incêndio.
Id
94

Jp
Obrigado por ter adquirido uma lente AF-S DX NIKKOR 18-300 mm
f/3.5-5.6G ED VR. Antes de utilizar este produto, leia cuidadosamente
En
estas instruções e o manual da câmera.
Nota: As lentes DX destinam-se a ser utilizadas apenas com câmeras reflex
De
de lente única de formato DX, tais como as séries D300 ou D7000. O
ângulo de visão de uma lente em uma câmera de formato DX é
Fr
equivalente ao de uma lente com uma distância focal com cerca de 1,5 ×
mais longa montada em uma câmera de formato de 35 mm.
Es
■ Partes da Lente
q
we r ty ou!0i!1 !2 !3
Sv
Ru
Nl
Pt
Pb
!4
It
!7
!5
Cz
!6
Sk
q Para-sol da lente..........................100
!0 Anel de foco.....................................97
w Marca de alinhamento do para-
!1 Marca de montagem da lente
Ro
sol da lente................................100
!2 Gaxeta de borracha de fixação
e Marca de trava do para-sol da
da lente....................................... 101
Ua
lente...............................................100
!3 Contatos CPU................................ 101
r Marca de fixação do para-sol da
Ck
!4 Chave do modo de foco........... 97
lente...............................................100
!5 Chave ON/OFF de redução da
t Anel de zoom...................................96
Ch
vibração.........................................98
y Escala da distância focal ............96
!6 Chave do modo de redução de
Kr
u Marca da distância focal
vibração.........................................98
i Indicador de distância de foco
!7 Trava do zoom................................. 96
Id
o Marca de distância de foco
95

Jp
■ Zoom e profundidade de campo
Antes de focar, gire o anel de zoom para ajustar a distância focal e
En
enquadrar a fotografia. Se a câmera permitir a previsão da
profundidade de campo (stop down, baixar abertura), a profundidade
De
de campo também poderá ser prevista no visor.
Nota: A distância focal diminui à medida que a distância do foco reduz.
Fr
Note que o indicador da distância de foco é apenas um guia e pode não
mostrar de forma exata a distância até o tema podendo, devido à
Es
profundidade de campo ou a outros fatores, não mostrar ∞ quando a
câmera focar um objeto distante.
Sv
Para bloquear o anel de zoom, gire-o para a posição de 18 mm e
deslize o trava do zoom para LOCK. Isto evita que a lente se estenda
Ru
sob o próprio peso enquanto a câmera está sendo transportada de
um lado para outro.
Nl
■ Abertura
A abertura é ajustada utilizando os controles da câmera.
Pt
Zoom e abertura máxima
Pb
1
Alterações no zoom podem mudar a abertura máxima em até 1
/
EV.
3
Todavia, a câmera leva isto automaticamente em conta ao definir a
It
exposição e não são necessárias modificações nas definições da
câmera depois dos ajustes no zoom.
Cz
Sk
Ro
Ua
Ck
Ch
Kr
Id
96

Jp
■ Foco
Os modos de foco suportados são apresentados na seguinte tabela
En
(para obter informações sobre os modos de foco da câmera, consulte o
manual da câmera; para obter informação sobre como ter bons
De
resultados com o foco automático, consulte "Nota sobre as Lentes de
Grande e Supergrande Angular" na página 103).
Fr
Modo de foco da lente
Modo de foco da
câmera
M/A M
Es
Foco automático com
Foco manual com
AF
preferência para ajuste
Sv
telemetria eletrônica
manual
Ru
MF Foco manual com telemetria eletrônica
M/A (Foco automático com preferência para ajuste
Nl
manual)
Pt
Para focar usando o foco automático com preferência para ajuste
manual (M/A):
Pb
Deslizar a chave do modo de foco da lente para M/A.
z
It
Focar.
x
Se pretendido, o foco automático pode ser anulado girando o
Cz
anel de foco da lente enquanto o botão de liberação do
obturador está pressionado até a metade (ou se a câmera estiver
Sk
equipada com um botão AF-ON, enquanto esse mesmo está
pressionado). Para focar de novo utilizando o foco automático,
pressione o botão de liberação do obturador ligeiramente ou
Ro
pressione novamente o botão AF-ON.
Ua
■ Redução da vibração (VRII)
A redução da vibração (VRII) diminui o desfoque causado quando a
Ck
câmera treme, permitindo velocidades do obturador até quatro
pontos mais devagar do que seria possível de outra forma (medidas
Ch
da Nikon; os efeitos variam de acordo com o fotógrafo e as condições
de exposição). Isto aumenta o alcance das velocidades do obturador
disponíveis e permite uma fotografia portátil, sem tripés numa
Kr
grande variedade de situações.
Id
97

Jp
Escolha entre a redução de vibração NORMAL e ACTIVE de acordo
com a frequência e a amplitude da vibração.
En
Alta Frequência Baixa
Forte tremor
De
da câmera
(p.ex., veículo em
Fr
Tremor da câmera
movimento)
Es
Disparar enquanto faz panorâmicas
Sv
Ru
Baixa Amplitude Alta
: Adequado à redução de vibração NORMAL.
Nl
: Adequado à redução de vibração ACTIVE.
Pt
• Trepidação da câmera: Escolha NORMAL ou ACTIVE.
• Disparar enquanto faz panorâmicas: Escolha NORMAL.
• Forte Trepidação da câmera: Escolha ACTIVE.
Pb
Utilizar a chave ON/OFF de redução da vibração
It
Selecione ON para ativar a redução da vibração. A redução da
vibração é ativada quando o botão de liberação do
Cz
obturador é pressionado até a metade, reduzindo os
efeitos de trepidação da câmera para melhorar o
enquadramento e o foco.
Sk
Selecione OFF para desligar a redução da vibração.
Ro
Utilizar a chave do modo de redução da vibração
A chave do modo de redução da vibração é utilizado para selecionar o
Ua
modo quando a redução da vibração está ligada.
Selecione NORMAL para reduzir a vibração causada pela
Ck
trepidação da câmera ou quando fizer panorâmicas
com a câmera.
Ch
Selecione ACTIVE para reduzir a vibração causada pela
trepidação da câmera ou enquanto dispara a partir de
Kr
um carro em movimento, barco ou outra plataforma
instável. Os movimentos da panorâmica não são
Id
detectados.
98

Jp
Utilizar a redução da vibração: Notas
• Ao utilizar a redução da vibração, pressione ligeiramente o botão de
En
liberação do obturador e espere que a imagem no visor estabilize
antes de pressionar o resto do botão de liberação do obturador.
• Quando a redução da vibração está ativa, a imagem no visor pode
De
ficar desfocada depois do obturador ter sido liberado. Isto não
indica um mau funcionamento.
Fr
• Deslize a chave do modo de redução da vibração para NORMAL
para os disparos com a panorâmica. Quando a câmera faz
Es
panorâmicas, a redução da vibração aplica-se apenas ao movimento
que não faz parte dessa mudança (se a câmera for movida
Sv
horizontalmente, por exemplo, a redução da vibração será apenas
aplicada ao tremor vertical), tornando muito mais simples mover a
Ru
câmera de forma suave num arco longo.
• Não desligue a câmera ou remova a lente enquanto a redução da
vibração está em vigor. Se a alimentação da lente sofrer um corte
Nl
enquanto a redução da vibração está ativa, a lente poderá fazer
barulho quando sacudida. Isto não é um mau funcionamento e
Pt
pode ser corrigido montando de novo a lente e ligando a câmera.
• Se a câmera estiver equipada com um flash embutido, a redução da
Pb
vibração será desativada enquanto o flash carrega.
• Se a câmera estiver equipada com um botão AF-ON, pressionar esse
It
botão não ativará a redução da vibração.
• Desligue a redução da vibração quando a câmera estiver montada
Cz
de forma segura num tripé, mas deixe-a ligada se a cabeça do tripé
não estiver segura ou quando usar um pé apenas.
Sk
Ro
Ua
Ck
Ch
Kr
Id
99

Jp
■ Para-sol da Lente
O para-sol da lente protege a lente e bloqueia a difusão de luz que de
En
outra forma causaria refração ou fantasmas.
De
Alinhe a marca de trava do para-sol da
lente (—
{) com a marca de fixação do
Fr
para-sol da lente (●) na lente (e).
Es
Quando montar ou remover o para-sol, segure-o perto do símbolo
Sv
na sua base e evite prendê-lo demasiadamente. Poderá ocorrer
vinheta se o para-sol não estiver corretamente montado.
Ru
O para-sol pode ser revertido e montado na lente quando não estiver
sendo utilizado. Quando o para-sol está revertido, pode ser montado e
Nl
removido girando-o enquanto se segura perto da marca de trava (
—
{
).
■ Unidades de Flash Embutido
Pt
Ao utilizar o flash embutido em câmeras equipadas com uma unidade
de flash embutido, dispare em alcances de 0,6 m ou mais e remova o
Pb
para-sol da lente para evitar a vinheta (as sombras criadas onde a
extremidade da lente tapa o flash embutido).
It
Câmera Distância focal Use em alcances de
18 mm 3,0 m ou mais
Cz
Séries D800 (Formato DX)
28 mm 1,0 m ou mais
Sk
50 mm ou mais Sem restrições
18 mm 3,0 m ou mais
D700 (Formato DX)
Ro
28 mm ou mais Sem restrições
28 mm 1,0 m ou mais
Ua
D7000/Séries D300/D200
50 mm ou mais Sem restrições
28 mm 1,5 m ou mais
Ck
D100
50 mm ou mais Sem restrições
Ch
28 mm 2,5 m ou mais
D90/D80/Séries D70
50 mm ou mais 1,0 m ou mais
Kr
D5100/D5000/D3100/D3000/D60/Séries D40
50 mm ou mais 1,0 m ou mais
28 mm 2,0 m ou mais
Id
D50
50 mm ou mais 1,0 m ou mais
100

