Nikon 50mm-f-14G-AF-S-Nikkor – page 4
Manual for Nikon 50mm-f-14G-AF-S-Nikkor
Table of contents
- Notes on Safety Operations
- Nomenclature
- Major features Usable cameras and available functions
- Focusing (Fig. A) Depth of field Setting the aperture
- The built-in flash and vignetting Recommended focusing screens Using the lens hood
- Lens care Standard accessories Optional accessory
- Specifications

Scherpstellen (Fig. A)
Scherptediepte
Stel de scherpstelfunctieschakelaar van de camera
•
De scherptediepte kan bij benadering worden
in overeenkomstig de volgende tabel.
bepaald met behulp van de scherptediepteschaal.
Autofocus handmatige aanpassing (M/A-stand)
•
Indien uw camera beschikt over een
a
Stel de scherpstelmodusschakelaar
!
in op M/A.
voorbeeldknop of –hendel (stop-beneden), kunt
b
Autofocus is ingeschakeld, maar u kunt dit
u de scherptediepte zien door de zoeker van de
opheffen door de aparte scherpstelring 5 te
camera.
draaien terwijl u de ontspanknop half ingedrukt
• Zie p. 98 voor meer informatie.
houdt of door te drukken op de AF-ON-knop
op fototoestellen die hiermee zijn uitgerust.
c
Druk de ontspanknop of de AF-ON-knop opnieuw
half in om de handmatige scherpstelling te
annuleren en autofocus te hernemen.
Scherptediepte-indicatoren Afstands-indexlijn
De diafragma instellen
Gebruik het fototoestel om de instellingen van de
diafragma aan te passen.
Nl
Camera’s
Scherpstelstand van objectief
Camera’s
scherpstelling
M/A M
stand
D3, D700, D2-Series, D1-Series, D300, D200, D100, D90,
Autofocus handmatige
Handmatige scherpstelling
AF (C/S)
D80, D70-Series, D60, D50, D40-Series, F6, F5, F4-Series,
aanpassing
(hulpverlichting is beschikbaar.)
F100, F90X, F90-Series, F80-Series, F75-Series, F70-Series,
Handmatige scherpstelling
MF
F65-Series, Pronea 600i, Pronea S
(hulpverlichting is beschikbaar.)
F60-Series, F55-Series, F50-Series, F-801s, F-801, F-601
M,
AF (C/S)
Handmatige scherpstelling
F-401x, F-401s, F-401
MF
(hulpverlichting is beschikbaar, behalve bij de F-601
M.)
61

De ingebouwde flitser en vignettering
De zonnekap losmaken
Houdt de zonnekap vast bij de basis (bij het
• De ingebouwde flitser kan niet worden gebruikt
verbindingsstuk van de zonnekap) en draai
op afstanden van minder dan 0,6 m.
rechtsom, gezien vanuit het standpunt wanneer u
• Gebruik ter voorkoming van vignettering geen
de camera vasthoudt met het objectief weg van u
zonnekap.
gericht, om los te maken.
* Vignetteren is het verduisteren van de hoeken
rond een beeld, wat voorkomt wanneer het licht
Aanbevolen matglazen
dat door de flitser wordt weergegeven, wordt
Er zijn diverse uitwisselbare matglazen beschikbaar
belemmerd door de zonnekap of door het
voor bepaalde Nikon SLR-camera’s voor elke
objectiefvat afhankelijk van de opname-afstand.
fotogelegenheid. De volgende worden voor dit
Gebruik van de zonnekap
objectief aangeraden:
De zonnekap bevestigen
Matglazen
Lijn de bevestigings-index voor zonnekap ( , een
EC-B
ABCE
G1
G2 G3 G4
J
L
MU
van beide indexen)
2
op de kap uit met de
Camera
EC-E
montage-index voor zonnekap
4
op het objectief
F6
en draai de kap tegen de klok in (wanneer u het
F5+DP-30
objectief van het fototoestel van u wegricht) tot hij
F5+DA-30
vastklikt (fig. B).
Nl
• Zorg ervoor dat de montage-index voor zon-
: Uitstekende scherpstelling
nekap wordt uitgelijnd met de instel-index voor
Ⴟ
: Redelijke scherpstelling
zonnekap ( ) 3.
Ⴜ
Lichte vignettering of moiré treedt op in de
• Als de zonnekap niet correct is bevestigd, kan er
zoeker maar niet op de foto.
vignettering voorkomen.
—
: Niet beschikbaar
• Om het vastmaken of verwijderen van de
Een leeg vakje betekent ‘niet van toepassing’. Aangezien
zonnekap te vergemakkelijken, neemt u deze
aan de basis vast (bij het verbindingsstuk van de
een M-type matglas zowel kan worden gebruikt voor
zonnekap) in plaats van aan de buitenste rand.
macrofotografie met een vergrotingsfactor van 1:1 of
• Om de zonnekap op te bergen, bevestigt u deze
hoger als voor microfotografie, heeft dit matglas andere
omgekeerd op het objectief.
toepassingen dan de andere matglazen.
62

Belangrijk
•
Wanneer het objectief is geïnstalleerd op een
• Bij gebruik van B-type en E-type matglazen in
fototoestel, mag u het fototoestel en het objectief
andere camera´s dan de hierboven vermelde,
niet optillen of vasthouden aan de zonnekap.
•
Bewaar het objectief op een koele, droge plaats
raadpleegt u de kolommen voor de B-type en
wanneer u deze gedurende een lange periode niet
E-type matglazen.
gebruikt om schimmel- en roestvorming te
voorkomen. Berg het objectief ook op om deze te
Onderhoud van het objectief
beschermen tegen rechtstreeks zonlicht of
• Zorg ervoor dat de CPU-contactpunten 0 niet
chemicaliën zoals kamfer en naftaleen.
vuil of beschadigd worden.
•
Laat geen water op het objectief komen en laat het
•
Als de rubberen pakking van de objectiefvatting
9
objectief niet in water vallen. Hierdoor zal het
is beschadigd, moet u het objectief voor reparatie
objectief roesten en slecht functioneren.
naar de dichtstbijzijnde door Nikon erkende
•
Bepaalde onderdelen van het objectief zijn
servicedienst brengen.
vervaardigd uit versterkt plastic. Zet het objectief
•
Reinig het objectief met een blaasbalgje. Om vuil en
nooit in een overmatig hete ruimte om schade te
vlekken te verwijderen, gebruikt u een zachte, zuivere
voorkomen.
katoenen doek of een objectiefdoekje met ethanol
(alcohol) of objectiefreiniger. Maak ronddraaiende
Standaardaccessoires
bewegingen van het midden naar de buitenkant en
• 58mm makkelijk te bevestigen voorste
let erop dat u geen strepen maakt of andere
Nl
objectiefdop LC-58
onderdelen van het objectief aanraakt.
• Achterste objectiefdop LF-1
•
Gebruik nooit organische oplosmiddelen zoals thinner
of benzeen om het objectief te reinigen.
• Bajonetkap HB-47
•
NC-filters zijn beschikbaar om het voorste
• Flexibel objectiefetui CL-1013
objectiefelement te beschermen. De zonnekap helpt
Optioneel accessoire
ook om de voorkant van het objectief te beschermen.
•
Wanneer u het objectief in het flexibele objectiefetui
• 58mm vastschroefbare filters
opbergt, maakt u zowel de voorste als de achterste
objectiefdoppen vast.
63

Specificaties
Belichtingsmeting:
Door middel van de volledige
diafragma-methode
Type objectief:
G-type AF-S NIKKOR-objectief met
ingebouwde CPU en Nikon-bajonetvatting
Montage-
58mm (P = 0,75 mm)
afmeting:
Brandpuntsafstand:
50mm
Afmetingen: Circa 73,5 mm (diameter) x 54 mm
Maximaal
f/1,4
diafragma:
(
afstand van de objectiefvatting
op de camera
)
Objectiefconstructie:
8 elementen in 7 groepen
Gewicht: Circa 280 g
Beeldhoek: 46° bij 35mm (135) formaat Nikon
film-SLR camera’s en Nikon FX-
Wijzigingen in ontwerp en technische gegevens
formaat digitale SLR-camera’s
voorbehouden zonder voorafgaande kennisgeving of
verplichting vanwege de fabrikant.
31°30´ bij Nikon DX-formaat digitale
SLR-camera’s
38° bij camera’s met IX240-systeem
Afstandsinformatie:
Doorgeven aan camerabody
Scherpstelling: Autofocus met Silent Wave-motor;
Nl
handmatig scherpstellen met aparte
scherpstelring
Schaal
In meters en feet van 0,45 m tot
opnameafstand:
oneindig (
)
Kortste
0,45 m
scherpstelafstand:
Aantal
9 stuks (afgerond)
diafragmalamellen:
Diafragma: Volledig automatisch
Diafragmaschaal: f/1,4 tot f/16
64

Nl
65

Note sulle operazioni di sicurezza
ATTENZIONE
Non smontare
Non guardare il sole in modo diretto
Toccando le parti interne della fotocamera o dell’obiettivo si
attraverso l’obiettivo o il mirino
potrebbero causare dei guasti. Le riparazioni devono essere
Guardando in modo diretto il sole o qualsiasi altra fonte intensa
eseguite solamente da tecnici qualificati. Qualora, in caso di
di luce, si è soggetti al rischio di indebolimento permanente della
caduta o di qualsiasi altro incidente, la fotocamera o l’obiettivo
vista.
dovessero rompersi, portare il prodotto presso un punto di
assistenza Nikon autorizzato per l’ispezione, dopo averlo
Tenere lontano dalla portata dei bambini
disinserito dalla presa e/o rimosso la batteria.
Fare molta attenzione che i bambini non ingeriscano le batterie
o altre piccole parti.
In caso di malfunzionamento, disattivare
immediatamente la fotocamera
Nell’utilizzo della fotocamera e
Qualora dalla fotocamera o dall’obiettivo dovesse uscire del
dell’obiettivo, osservare le seguenti
fumo o un odore insolito, rimuovere immediatamente la
precauzioni
batteria, facendo attenzione a non ustionarsi. Continuando a
•
Mantenere la fotocamera e l’obiettivo asciutti. In caso
utilizzare la fotocamera, sussiste il rischio di lesioni.
contrario si potrebbe verificare un incendio o scosse elettriche.
Dopo aver rimosso o scollegato la fonte di alimentazione,
•
Non maneggiare né toccare la fotocamera o l’obiettivo con le
portare il prodotto presso un punto di assistenza Nikon
mani bagnate. In caso contrario, si potrebbero verificare
autorizzato per l’ispezione.
scosse elettriche.
It
•
Durante le riprese controluce, non puntare l’obiettivo verso il
Non usare la fotocamera o l’obiettivo in
sole ed evitare che la luce solare passi direttamente attraverso
presenza di gas infiammabili
di esso, poiché la fotocamera potrebbe surriscaldarsi ed
L’utilizzo di apparecchiature elettroniche in presenza di gas
eventualmente provocare un incendio.
infiammabili può causare esplosioni o incendi.
•
Se si prevede di non utilizzare l’obiettivo per un periodo
prolungato di tempo, montare entrambi i tappi di protezione
e riporlo lontano dalla luce diretta del sole. Il mancato rispetto
di questa istruzione può causare incendi, poiché l’obiettivo
potrebbe concentrare la luce del sole su un oggetto
infiammabile.
66

Denominazione
1
Paraluce (p.70)
2
Indice di collegamento del paraluce (p.70)
3
Indice di regolazione del paraluce (p.70)
4
Indice di montaggio del paraluce (p.70)
5
Anello di messa a fuoco (p.69)
6
Scala delle distanze (p.69)
7
Contrassegno distanza (p.69)
8
Indice di montaggio
9
Guarnizione in gomma della montatura
dell’obiettivo (p.71)
0
Contatti CPU (p.71)
!
Interruttore del modo di messa a fuoco
(p.69)
( ): Pagina di riferimento
It
67

Grazie per aver acquistato l’obiettivo AF-S NIKKOR 50mm f/1,4G. Prima di utilizzare
l’obiettivo, leggere queste istruzioni e consultare il
Manuale d’uso
della fotocamera.
Caratteristiche principali
Fotocamere utilizzabili e funzioni
• Questo obiettivo si avvale di un motore Silent
disponibili
Wave che aziona il meccanismo di messa a
Potrebbero esserci delle restrizioni o delle
fuoco, pertanto la messa a fuoco automatica
limitazioni nell’utilizzo delle funzioni disponibili.
risulta agevole, silenziosa e quasi immediata.
Per informazioni dettagliate, fare riferimento al
L’interruttore del modo di messa a fuoco !
manuale d’uso della fotocamera.
consente di selezionare facilmente la messa a
Modo di esposizione
fuoco automatica (A) o manuale (M).
Fotocamere
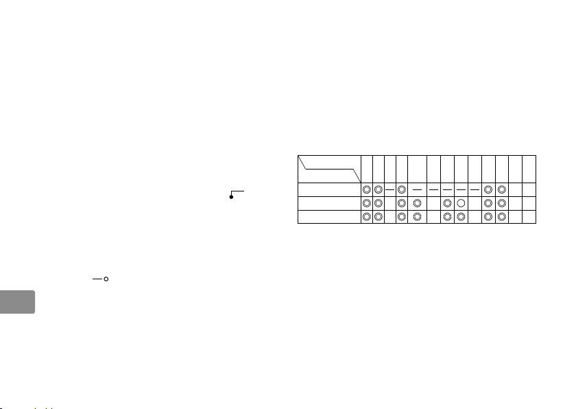
Autofocus
*1
P
6$0
• Montando l’obiettivo su una fotocamera Nikon
D3, D700, serie D2, serie D1,
in grado di eseguire la misurazione Color matrix
D300, D200, D100, D90,
33333
3D, è possibile controllare l’esposizione con
D80, serie D70, D60, D50, serie D40
maggiore precisione, in quanto le informazioni
F6, F5, F100, serie F80, serie F75, serie F65,
relative alla distanza dal soggetto vengono
2
3 3333
Pronea 600i, Pronea S*
trasferite dall’obiettivo alla fotocamera.
• L’apertura arrotondata del diaframma consente
Serie F4, F90X, serie F90, serie F70
333
——
di ottenere un effetto mosso più morbido e
Serie F60, serie F55, serie F50, F-401x,
—
3333
piacevole nelle zone sfuocate dell’immagine.
F-401s, F-401
It
• Si garantisce la distanza di messa a fuoco
F-801s, F-801, F-601M
—
33
——
minima di 0,45 m.
F3AF, F-601, F-501
—————
Importante!
Nikon MF fotocamere (tranne F-601M)
•
Qualora installato su fotocamere reflex digitali Nikon
3: Possibile
—
: Impossibile
(formato DX), quali le D300 e D90, l’angolo di campo
*1 : P include AUTO e il sistema Vari-Program.
dell’obiettivo diviene 31°30’ e la sua lunghezza focale
*2 : Manuale (M) non è disponibile.
equivalente a quella di un 35mm risulta di circa 75 mm.
68

Messa a fuoco (Fig. A)
Profondità di campo
Impostare il selettore di modo di messa a fuoco della
• È possibile determinare la profondità di campo
fotocamera in conformità alla seguente tabella.
approssimativa controllando la scala della
Messa a fuoco automatica con esclusione per
profondità di campo.
il funzionamento in manuale (modalità M/A)
• Se la fotocamera è dotata di pulsante o leva di
a
Impostare l’interruttore del modo di messa a
anteprima della profondità di campo (stop-down),
fuoco
!
dell’obiettivo su M/A.
è possibile verificare l'effettiva profondità di campo
b
L’autofocus è attivo, ma è possibile escluderlo
nel mirino della fotocamera.
ruotando l’anello di messa a fuoco
5
separato e
• Per ulteriori informazioni, vedere pag. 98.
premendo contemporaneamente il pulsante di
scatto a metà corsa, oppure premendo il pulsante
AF-ON sul corpo macchina, se la fotocamera ne è
dotata.
c
Per disattivare la messa a fuoco manuale e
Contrassegno
Scala profondità
riattivare l’autofocus, premere il pulsante di scatto
distanza
di campo
a metà corsa, oppure premere nuovamente il
pulsante AF-ON.
Impostazione dell’apertura
Regolare l’apertura utilizzando la fotocamera.
Modo di messa a fuoco
Modo di messa a fuoco dell’obiettivo
Fotocamere
It
della fotocamera
M/A M
Messa a fuoco automatica
D3, D700, serie D2, serie D1, D300, D200, D100, D90, D80,
Messa a fuoco manuale (Aiuto per
AF (C/S)
con esclusione per il
serie D70, D60, D50, serie D40, F6, F5, serie F4,
la messa fuoco dispobibile)
funzionamento in manuale
F100, F90X, serie F90, serie F80, serie F75, serie F70,
Messa a fuoco manuale
serie F65, Pronea 600i, Pronea S
MF
(Aiuto per la messa fuoco dispobibile)
Messa a fuoco manuale
Serie F60, serie F55, serie F50, F-801s,
AF (C/S)
(disponibile la funzione di messa a fuoco assistita, ad
F-801, F-601
M, F-401x, F-401s, F-401
MF
eccezione del modello F-601
M).
69

Flash incorporato e vignettatura
Smontaggio del paraluce
• Il flash incorporato non può essere utilizzato a
Per smontare il paraluce, impugnarlo per la base (vicino
distanze inferiori a 0,6 m.
al riferimento di fissaggio paraluce) e ruotare in senso
•
Per evitare la vignettatura (riduzione della luminosità
orario (impugnando la fotocamera con l’obiettivo
ai margini dell’immagine), non usare un paraluce.
rivolto in direzione opposta a sé).
※La vignettatura è la riduzione della luminosità ai
Schermi di messa a fuoco consigliati
margini dell’immagine che si verifica quando la
luce emessa dal flash è ostacolata dal paraluce o
Per alcune fotocamere SLR Nikon sono disponibili
dal barilotto, in base alla distanza di ripresa.
vari schermi di messa a fuoco intercambiabili adatti
a ogni situazione di ripresa. Gli schermi consigliati
Utilizzo del paraluce
per l’uso con questo obiettivo sono elencati sotto.
Collegamento del paraluce
Schermo
Allineare l’indice di collegamento del paraluce ( ,
EC-B
ABCE
G1
G2 G3 G4
J
L
MU
uno dei due riferimenti)
2
sul paraluce con l’indice
Fotocamera
EC-E
di montaggio del paraluce
4
sull'obiettivo, quindi
F6
ruotare il paraluce in senso antiorario (guardato
F5+DP-30
impugnando la fotocamera con l'obiettivo rivolto in
F5+DA-30
direzione opposta a sé) fino a quando non scatterà
in posizione (Fig. B).
: Messa a fuoco eccellente
Ⴟ
• Assicurarsi che l’indice di montaggio del paraluce
: Messa a fuoco accettabile
Ⴜ
sia allineato con l’indice di regolazione del
It
L’immagine sullo schermo presenta una riduzione
paraluce
( )
3
.
di luminosità o tracce di fenomeno del moiré.
• Se il paraluce non è fissato correttamente, si può
Questo però non lascia tracce sulla pellicola.
verificare la vignettatura.
—
: Non disponibile
•
Per facilitare il fissaggio e la rimozione del paraluce,
impugnarlo per la base (vicino al riferimento di
fissaggio paraluce) anziché verso il bordo esterno.
•
Riporre il paraluce innestandolo in posizione invertita.
70

Il quadrato vuoto non è applicabile. Siccome lo
• Prima di riporre l’obiettivo nella relativa custodia
schermo di tipo M può essere utilizzato per
flessibile, montare entrambi i coperchi anteriore e
macrofotografia con rapporto di ingrandimento di
posteriore.
•
Quando l’obiettivo è montato sulla fotocamera, non
1:1 o superiore e fotomicrografia, esso presenta
afferrare o reggere la fotocamera e l’obiettivo dal
differenti applicazioni rispetto agli altri schermi.
paraluce.
Importante!
•
Se si prevede di non utilizzare l’obiettivo per periodi
• Impiegando gli schermi B e E con fotocamere
prolungati, riporlo in un ambiente fresco e asciutto per
diverse da quelle elencate sopra, fate riferimento
prevenire la formazione di muffe e ruggine. Tenerlo
alle rispettive colonne delle versioni B e E.
inoltre lontano dal sole o da agenti chimici come canfora
o naftalina.
Cura e manutenzione dell’obiettivo
•
Non bagnarlo e fare attenzione che non cada in acqua.
•
Fare attenzione a non sporcare o danneggiare i
La formazione di ruggine potrebbe danneggiarlo in modo
contatti CPU
0
.
irreparabile.
•
Nel caso in cui la guarnizione in gomma della
•
Alcune parti della montatura sono realizzate in materiale
montatura dell’obiettivo
9
sia danneggiata,
plastico rinforzato. Per evitare danni non lasciare mai
provvedere alla relativa riparazione presso il punto
l’obiettivo in un luogo eccessivamente caldo.
assistenza Nikon autorizzato più vicino.
•
Pulire la superficie delle lenti con un pennello a pompetta.
Accessori in dotazione
Per rimuovere impronte e macchie, fare uso di un
•
Copriobiettivo anteriore snap-on da 58mm LC-58
fazzoletto di cotone, soffice e pulito, o di una cartina
• Copriobiettivo posteriore LF-1
ottica leggermente imbevuti con alcool o con un liquido
• Paraluce a baionetta HB-47
It
detergente specifico per obiettivi. Strofinare
• Custodia morbida per obiettivo CL-1013
delicatamente con movimento circolare dal centro verso
l’esterno, facendo attenzione a non lasciare tracce o
Accessori opzionale
toccare altre parti.
• Filtri a vite da 58mm
•
Non utilizzare solventi organici o benzene per pulire
l’obiettivo.
•
Per la protezione dell’elemento anteriore dell’obiettivo
sono disponibili appositi filtri NC. Anche il paraluce può
essere utilizzato per proteggere la parte anteriore
dell’obiettivo.
71

Caratteristiche tecniche
Nr. delle lamelle
9 pz. (arrotondati)
diaframma:
Tipo di obiettivo:
Obiettivo AF-S NIKKOR tipo G
con CPU incorporata e attacco a
Diaframma: Completamente automatico
baionetta Nikon.
Gamma di
f/1,4 a f/16
Lunghezza focale: 50mm
apertura:
Apertura massima:
f/1,4
Misurazione
Con metodo a tutta apertura
dell’esposizione:
Costruzione
8 elementi in 7 gruppi
obiettivo:
Misura
58mm (P = 0,75 mm)
dell’accessorio:
Angolo di campo: 46° con fotocamere Reflex a pellicola
Nikon formato 35mm (135) e
Dimensioni: Ca. 73,5 mm diam. x 54 mm
fotocamere Reflex digitali Nikon
(
estensione della flangia)
formato FX;
Peso: Circa 280 g
31°30’ con fotocamere Reflex digitali
Le specifiche e i disegni sono soggetti a modifica senza
Nikon formato DX;
preavviso od obblighi da parte del produttore.
38° con fotocamere sistema IX240
Dati distanze: Misurati sul riferimento del piano
focale fotocamera
Messa a fuoco:
Autofous con motore Silengt Wave;
It
manuale mediante anello di messa a
fuoco separato
Scala delle
Graduata in metri e piedi da 0,45 m
distanze di
all’infinito (
)
ripresa:
Distanza minima
0,45 m
per la messa fuoco:
72

It
73

安全操作注意事项
警告
勿自行拆卸
请勿在儿童伸手可及之处保管本产品
触动相机或镜头的内部零件可能会导致受伤。修理只能
请特别注意避免婴幼儿将电池或其它小部件放入口中。
由有资格的维修技师进行。如果由于掉落或其它事故导
致相机或镜头开裂,在切断产品电源和(或)取出电池
使用相机和镜头时应注意以下事项
后,请将产品送至尼康授权的维修服务中心进行检查。
• 保持相机和镜头干燥。否则可能导致火灾或导致触
电。
发生故障时立刻关闭电源
• 请勿以湿手操作或触摸相机或镜头。否则可能会导致
如果您发现相机或镜头冒烟或发出异味时,请立刻取出
触电。
电池,注意勿被灼伤。若继续使用可能导致受伤。
• 逆光拍摄时,切勿将镜头对着太阳或者让阳光直接穿
取出电池或切断电源后,请将产品送到尼康授权的维修
过镜头,否则会造成相机过热并可能导致火灾。
服务中心进行检查。
• 当镜头长时间不用时,请盖上镜头的前盖和后盖,并
且存放镜头时应避免阳光直射。否则可能会导致火
勿在易燃气体环境中使用相机或镜头
灾,因为镜头可能会使阳光聚焦于易燃物。
在易燃气体中使用电子设备可能会导致爆炸或火灾。
勿通过镜头或取景器观看太阳
通过镜头或取景器观看太阳或其它强光,可能会导致永
Ck
久性的视觉损伤。
74

名称
1 镜头遮光罩 (p.78)
2 镜头遮光罩上对齐标志 (p.78)
3 遮光罩上锁定位置标志 (p.78)
4 镜头上对齐标志 (p.78)
5 对焦环 (p.77)
6 距离刻度 (p.77)
7 距离标线 (p77)
8 镜头上安装标志
9 镜头安装橡皮垫圈 (p.79)
0 CPU接口 (p.79)
! 对焦模式选择器 (p.77)
( ): 参考页
Ck
75

感谢您购买AF-S 尼克尔 50mm f/1.4G镜头。使用本镜头之前,请先阅读这些说明并参阅相机
的
用户手册
。
主要特色
适用的相机及可用的功能
• 本镜头采用宁静波动马达以驱动对焦装置,使
有些功能可能受到限制。详情请参阅您的相机用
自动对焦变得顺畅、宁静和快捷。对焦模式选
户手册。
择器 ! 可以方便地选择自动对焦(A)或手动
曝光模式
相机
自动对焦
1
P*
6$0
对焦(M)操作。
D3、D700、D2系列、D1系列、
• 当本镜头安装到具有3D彩色矩阵测光功能的尼
D300、D200、D100、D90、D80、
33333
康相机时,由于拍摄对象距离信息会从镜头传
D70系列、D60、D50、D40系列
F6、F5、F100、F80系列、F75系列、
送到相机,可以实现更为精确的曝光控制。
33333
2
F65系列、Pronea 600i、Pronea S*
• 圆形光圈可以在照片成像的焦外部分产生柔和
F4系列、F90X、F90系列、F70系列
333
——
美妙的朦胧感。
F60系列、F55系列、F50系列、F-401x、
—
3333
• 可以使用的最近对焦距离为0.45m。
F-401s、F-401
F-801s、F-801、F-601M
—
33
——
注意事项
F3AF、F-601、F-501、
• 本镜头装在尼康数码单反(尼康DX格式)相
—————
Nikon MF 相机 (除了F-601M外)
机,如D300和D90上时,镜头画角变成31°30′,
3:可能
—
:不可能
Ck
与35mm格式相当的焦距约为75mm。
*1 : P包括AUTO及数字可变程序系统。
*2 : 无手动模式(M)可用。
76

对焦(图A)
景深
按下表设定相机对焦模式切换开关。
• 通过检查景深刻度可大致判断景深的大小。
手动优先自动对焦(M/A模式)
• 如果相机具有景深预览(收缩光圈)按钮或控
a
将镜头对焦模式选择器
!
设定在M/A。
制杆,则可以通过相机取景器预览景深。
b
可以使用自动对焦,但通过半按住快门释放按
• 有关更多的内容,请参阅p. 98。
钮,同时转动独立对焦环
5
,或者在配备
AF-ON按钮的相机上按此按钮,则可以使自动
对焦操作无效。
c
再半按一次快门释放按钮或再按一次AF-ON按
景深指示 距离标线
钮即可取消手动对焦并恢复自动对焦。
光圈设定
用相机调整光圈设定。
相机
镜头对焦模式选择器
相机
对焦模式
M/A M
D3、D700、D2系列、D1系列、D300、D200、D100、D90、D80、
手动优先自动
手动对焦
AF (C/S)
D70系列、D60、D50、D40系列、F6、F5、F4系列、F100、F90X、
对焦
(有辅助对焦功能)
Ck
F90系列、F80系列、F75系列、F70系列、F65系列、Pronea 600i、
手动对焦
MF
Pronea S
(有辅助对焦功能)
F60系列、F55系列、F50系列、F-801s、
AF (C/S)
手动对焦
F-801、F-601M、F-401x、F-401s、F-401
(除了F-601M外,都有辅助对焦功能)
MF
77

内置闪光灯和暗角
拆除镜头遮光罩
• 对于距离不到0.6m的情况,无法使用内置闪光
请握住镜头遮光罩底部(镜头遮光罩上对齐标志
灯。
附近)并顺时针(此时的视角为握持相机时镜头
• 为避免暗角,请勿使用镜头遮光罩。
背向使用者)转动,将其拆下。
※暗角是指闪光灯发出的灯光因拍摄距离的差异
建议使用的对焦屏
被镜头遮光罩或镜筒遮住时,图像的周边出现
各种对焦屏可用于尼康单反相机,适合各种摄影场
的变黑现象。
景。下面所列为建议配合本镜头使用的对焦屏:
使用镜头遮光罩
對对焦屏
EC-B
ABCE
G1
G2 G3 G4
J
L
MU
相机
EC-E
安装镜头遮光罩
F6
将遮光罩上的镜头遮光罩上对齐标志( ,两个
F5+DP-30
标记中的任何一个标记)
2
对准镜头上对齐标志
F5+DA-30
4
,然后逆时针方向转动遮光罩(如镜头朝外握住
: 对焦效果良好
相机),直至遮光罩卡入位置(图B)。
Ⴟ
: 对焦效果一般
• 必须确保
镜头上对齐标志
与遮光罩上锁定位置标
Ⴜ
取景窗内有轻微晕映或波纹图形,但胶片上不
志对准( )3。
会有。
• 如果镜头遮光罩安装不当,则可能产生暗角。
Ck
—
: 不可用
• 为了方便安装或拆下遮光罩,请握住底部(镜
空白栏意为不宜使用。因为M型对焦屏可同时使用
头遮光罩上对齐标志附近),请勿握住外缘。
1:1或以上放大倍率进行宏观摄影和显微摄影,因
• 存放镜头遮光罩时,要反方向装在相机上。
此,不在此限。
78

注意事项
•
当镜头长时间不用时,请将其保存在凉爽干燥
• 当配合其他未列出的相机使用B和E对焦屏时,
的地方以防生霉和生锈。请勿放在阳光直射或
请参阅B和E的对焦屏一栏。
樟脑球/卫生丸等化学品附近。
•
注意不要溅水于镜头上或使其落到水中,因为
镜头的维护保养
这会使镜头生锈而发生故障。
•
注意不要让CPU接口
0
变脏或受损。
•
镜头的一部分部件采用了强化塑料。不要把镜头放
• 如果镜头安装橡皮垫圈
9
损坏时,请务必让就
置在高温的地方,以免损坏。
近的尼康授权的维修服务中心修理。
• 使用吹风刷清扫镜头表面。如想清除镜头上的
标准配件
污垢时,请用柔软干净的棉布或镜头清洁纸沾
• 58mm LC-58搭扣式前镜头盖
酒精或镜头清洁液擦拭。在擦拭镜头时,请绕
• LF-1镜头后盖
着圆圈自中心向周围擦拭,注意不要在镜片上
• HB-47 卡口式镜头遮光罩
留下痕迹或碰撞外部的部件。
• CL-1013半软镜头袋
•
切勿使用稀释剂或苯等有机溶剂清洁镜头。
选购附件
•
中性色
滤镜可以保护镜头前面的组件。镜头遮光
• 58mm旋入式滤色镜
罩也有助于保护镜头的正面。
•
当把镜头保存在半软镜头袋中时,请盖好前镜
Ck
头盖和后镜头盖。
•
当镜头安装在相机上时,切勿通过镜头遮光罩
拎起或握持相机和镜头。
79

规 格
光圈范围: f/1.4至f/16
镜头类型: G型AF-S尼克尔镜头,具有内
曝光测量: 采用全光圈方式
置CPU(中央处理器)和尼康
安装尺寸:
58mm (P = 0.75mm)
卡口座。
尺寸: 直径约73.5mm,镜头长约
焦距: 50mm
54mm(自相机的镜头安装边缘
最大光圈: f/1.4
算起)
重量: 约280g
镜头构造: 7组8片
设计和规格若有变更,制造商恕无义务另行通知。
画角:
使用35mm(135)格式的尼康
胶卷单镜反光照相机和尼康
FX格式数码单镜反光照相机时
为46°;
使用尼康DX格式数码单镜反光
照相机时为31°30′;
使用IX240系统照相机时为
38°
距离信息: 输入机身
对焦:
采用宁静波动马达自动对焦;
Ck
手动则采用独立对焦环
拍摄距离刻度: 刻度自0.45m 至无限远 (∞)
最近对焦距离: 约为0.45m
光圈叶片数: 9片(圆形)
光圈: 全自动
80

