Thrustmaster Ferrari F1 RS – страница 16
Инструкция к Устройству ввода Thrustmaster Ferrari F1 RS

12/18
ステアリングホイールのベース部をコックピットに取り付ける
1. ステアリングホイールのベース部を、コックピットの上に置きます。
2. 2 本の M6 ねじ (付属していません) をコックピットに通し、ステアリングホイール底面
の 2 つの小さなねじ穴に差し込みます。
重要:使用する 2 本 の M6 ねじの長さが、コックピットの厚さ +12 mm を超えないよ
うにしてください。それよりも長いねじを使用すると、ステアリングホイールの内部部
品が破損する恐れがあります。
3. 必要であれば、大きなねじ穴に締め付けねじを差し込んで、標準アタッチメントシステ
ムを取り付けてください。
ペダルセットをコックピットに取り付ける
1. ペダルセットを、底面の小さなねじ山を使って取り付けます。
2. 2 本の M6 ねじ (付属していません) をコックピットに通し、ペダルセット底面の 2 つ
の小さなねじ穴に差し込みます。
重要:使用する 2 本 の M6 ねじの長さが、コックピットの厚さ +12 mm を超えないよ
うにしてください。それよりも長いねじを使用すると、ペダルセットの内部部品が破損
する恐れがあります。
(ステアリングホイールのベース部およびペダルセットのセッティングの際に使用する) コ
ックピットのレイアウト図を参照するには、http://ts.thrustmaster.com にアクセスし、
[Updates and downloads] から [PlayStation / Wheels / T300RS] をクリックし、
[
Manual/Help file] を選択してください。
PlayStation®3 および PlayStation®4 用コントロールレイアウト

13/18
ステアリングホイールを PlayStation®3 または PlayStation®4 用にセット
アップする
1. ペダルセットを、ステアリングホイールのベース部背面にあるコネクター
(17)
に接続します。
2. 電源ケーブルを、ステアリングホイールのベース部背面にあるコネクター
(14)
に接続します。
3. 電源ケーブルを正しい電圧のコンセントに差し込みます。
詳しくは本マニュアル 3 ページの「ステアリングホイールを電源コンセントに接続す
る前に」の項をご参照ください。
4. ステアリングホイールのベース部にある USB セレクタスイッチ
(5)
を、使用しているゲーム機
TM
本体およびプレイしているゲームに応じて PS3®または PS4
のポジションにセットします。
5. ステアリングホイールの USB コネクター
(15)
を、ゲーム機本体のいずれかの USB ポートに接
続します。
6. ゲーム機の電源をオンにすると、ステアリングホイールは自動調整を実行します。
TM
7. PlayStation®4 (USB セレクタスイッチを PS4
にセット時): ステアリングホイールを使用するに
は、ステアリングホイールの PS ボタン
(8)
を押してから、ゲーマープロフィールにログインして
ください。
これでプレイの準備が整いました!
重要な注意:
- ステアリングホイールのベース部にある USB セレクタスイッチ
(5)
は、ステアリングホイールの
TM
USB ケーブルをゲーム機に接続する前に、必ず正しいポジション (PS3®または PS4
) にセッ
トする必要があります。セレクタスイッチのポジションを変更する際は、USB ケーブルをゲーム
機から取り外し、スイッチを変更してから再び USB ケーブルを接続し直します。
- On PlayStation®3 使用時には、USB セレクタスイッチ
(5)
は常に “PS3®” にセットしておく必要
があります。
* このステアリングホイールは、多くのゲームで T500RS として認識されます。
* ステアリングホイールは、互換性のあるゲームおよびゲーム機のメニューで使用できます。
* “PS” ボタンが使用可能です。
- PlayStation®4 使用時に USB セレクタスイッチ
(5) を
“PS3®” にセットした場合:
* このステアリングホイールは、多くのゲームで T500RS として認識されます。
* ステアリングホイールは、互換性のあるゲームで使用できますが、ゲーム機のメニューでは使
用できません。
* “SHARE” および “PS” ボタンは使用できません。
TM
- PlayStation®4 使用時に USB セレクタスイッチ
(5) を
“PS4
” にセットした場合:
* ステアリングホイールの PS ボタン
(8)
を押さないと、ステアリングホイールを使用できません。
* このステアリングホイールは、多くのゲームで T500 RS として認識されます。
* ステアリングホイールは、互換性のあるゲームおよびゲーム機のメニューで使用できます。
* “SHARE” および “PS” ボタンが使用可能です。
- T300RS と互換性のある PlayStation®3 および PlayStation®4 用ゲームの一覧 (および各ゲームで必
要な USB セレクタスイッチのポジション設定) は、以下の URL でご確認いただけます:
http://ts.thrustmaster.com ([Updates and downloads] で
[PlayStation / Wheels / T300RS] をクリックしてください。
この一覧は定期的に更新されます。

14/18
レーシングコントローラーを PC 用にセットアップする
重要な注意事項::
PC での使用時には、レーシングコントローラーのベース部にある USB スライドスイッチ (5)
は常に「PS3™」のポジションにセットしておく必要があります。
1. http://ts.thrustmaster.com にアクセスして、PC 用のドライバーと Force Feedback ソフト
ウェアをダウンロードします。[Updates and downloads] から [PC / Wheels / T300 RS] をクリ
ックし、[Drivers] を選択してください。
2. ダウンロードが完了したらインストールを開始し、画面上の指示にしたがってレーシングコ
ントローラーの USB コネクターをコンピュータに接続してください。これでインストールは終了
です。
3. インストールが終了したら、[終了] をクリックしてコンピュータを再起動します。
4. [スタート] > [すべてのプログラム] > [Thrustmaster] > [FFB Racing Wheel] > [Control
Panel] を選択し、[ゲーム コントローラ] ダイアログを開きます。
[ゲーム コントローラ] ダイアログが開き、レーシングコントローラーの名前「T300 RS Racing
Wheel」とステータス「OK」が表示されます。
5. [プロパティ] をクリックし、 T300 RS コントロールパネルでレーシングコントローラーの設定
を行います。
• [テスト入力] タブ: アクションボタン、方向ボタン、ステアリングホイール、およびペダル軸の
テストおよび表示や、PC ゲームにおけるステアリングホイールの回転角度などを調節できま
す。
• [フォーステスト] タブ: 12 種類のフォースフィードバック エフェクトをテストできます。
• [ゲイン設定] タブ: PC ゲームにおけるフォースフィードバック エフェクトの強さを調節できま
す。
これでプレイの準備が整いました!
一般的な注意事項:
- ゲームを起動する前に、PC 上で [ゲーム コントローラ] ダイアログを閉じてください。
- PC 上の [ゲーム コントローラ] ダイアログで行った調節は、コンピュータにのみ保存されま
す (したがって PlayStation®3 および PlayStation®4 に対しては反映されません)。
- レーシングコントローラーのファームウェアのバージョンは、T300 RS コントロールパネルの
タブの右上隅に表示されます。

15/18
PC 用コントロールレイアウト
多方向パッド

16/18
ステアリングホイールとペダルセットの自動調整
ステアリングホイールを電源コンセントにつなげて、ステアリングホイールの USB コネクターをゲー
ム機に接続すると、ステアリングホイールの自動調整が実行されます。
自動調整では、ステアリングホイールが左右方向に合計 900° すばやく回転し、最後にセンター
で停止します。
警告:
自動調整が行われている間は、絶対にステアリングホイールに触れないでください。
(調整が正しく行われなかったり、ケガをしたりする恐れがあります。)
ペダルセットの自動調整
ステアリングホイールがゲーム機に接続されている状態、もしくはゲームプレイ中は、絶対にペダ
ルセットをステアリングホイールのベース部に接続 (またはベース部から取り外したり) しないでくだ
さい。調整が正しく行われない場合があります。
ペダルセットは必ず、ステアリングホイールをゲーム機に接続する前に、ステアリングホイールに接
続してください。
ステアリングホイールの調整が完了してゲームが起動した後、ペダルを数回踏むとペダルは自動
的に調整されます。
警告:
ステアリングホイールの自動調整が行われている間、およびゲームのローディング中は絶対にペダ
ルを踏まないでください!
(調整が正しく行われない可能性があります)
ステアリングホイールやペダルセットが正しく動作しない、あるいは調整が正しくないと思わ
れる場合:
ゲーム機の電源を切り、ステアリングホイールのすべてのケーブル (電源アダプターとペダルセッ
ト) を抜いてから、ゲームをもう一度起動してみてください。
内部温度センサー
ハンドルの冷却システムはヒートシンクとファンで構成されています。
• サーモスタットがステアリングホイールの内部温度をモニターします。
• ゲームでステアリングホイールを使用時には:
- ハンドルが一定の温度に達すると冷却ファンが始動します。(使用するフォースフィードバッ
ク効果がどれほど強いかによりますが、通常はゲーム開始の 2、3 分後)。
- フォースフィードバックの効果は、ハンドルの温度がかなり高くなると直ちに自動的に小さく
なります (モーターを保護するため)。温度が若干低くなると、フォースフィードバック効果は
再び強くなります。
• ゲーム終了後も、モーターの余熱のため、温度がファンの始動温度に下がるまで冷却ファンは
運転を続けます。ハンドルは冷却を助け、モーターを保護するためにこのように設計されていま
す。 (ゲームでハンドル使用中に達した温度によって 5 分から 45 分ほどかかります)

17/18
MODE ボタンおよびインジケータランプ
(6)
ペダルセット用 MODE ボタン
T300RS に付属するペダルセットは、2 個のペダルで構成されています。
ペダルセット使用時には、インジケータの色が常に赤であることを確認してください。そうで
ない場合、アクセルペダルが正しく動作しません。
T300RS は、ペダル 3 個で構成された Thrustmaster ペダルセットとも互換性があります (
別売
)。使用時には、アクセルペダルとクラッチペダルを電子的にスワップ (切り替え) する
ことができます。
スワップを行う場合は、MODE ボタン
(6)
を 2 秒間押し続けます。
ペダルのスワップ状態は、ステアリングホイールの内蔵メモリに保存されます。
アクセルとクラッチペダル
MODE インジケータ
(6)
の色
通常
赤
スワップ
緑
MODE ボタンについての追加ヒント
MODE ボタンおよびインジケータランプについてさらに詳 しく知 るには、
http://ts.thrustmaster.com をご覧ください。[Updates and downloads] から [PlayStation /
Wheels / T300RS] をクリックし、[Driver / Firmware] を選択してから、[Manual/Help file]
を選択してください。
他の THRUSTMASTER 製品との互換性
T300RS は、以下の Thrustmaster 製各種オプションと組み合わせ、操作の幅やリアリティ
を広げることができます。:
• 以下の脱着式 Thrustmaster ステアリングホイール: “Ferrari F1 Wheel Add-on*”、“
Ferrari GTE Wheel Add-on*”、“ T300RS PS Wheel”、“ T500RS GT Wheel*”。
• “Base Fixed Paddle Shifters*” キット (ベース部に固定パドルシフトを設置できます)。
• 以下の Thrustmaster ペダルセット: “T3PA*” (Thrustmaster 3 Pedals Add-on) および
T500RS ステアリングホイールのペダルセット。
• 以下の Thrustmaster シフトレバー(ギヤボックス): “TH8A*” および “TH8RS*”。
* 別売 (詳しくは次の URL をご参照ください
http://www.thrustmaster.com/products/t300rs)。
対応ゲームソフト
*本製品が対応しておりますゲームソフトは以下の HP に記載されております。
(http://www.thrustmaster.com/jp_JP/products/t300rs)

18/18
ヘルプ ファイルとよくある質問 (本マニュアルには記載されていません)
http://ts.thrustmaster.com にアクセスし、[Updates and downloads] から [PlayStation /
Wheels / T300RS] をクリックし、[Driver / Firmware] を選択してください。
著作権
© 2014 Guillemot Corporation S.A. All rights reserved. Thrustmaster® は、Guillemot
Corporation S.A. の登録商標です。"
"、"PlayStation"および"PS3"は株式会社ソニ
ー・コンピュータエンタテインメントの登録商標です。また、"PS4"および"PSN"は同社の
商標です。その他、本書に記載の登録商標およびブランド名は、それぞれの所有権者
に帰属します。本書に含まれるイラストには法的拘束力はありません。 本書に含まれる
内容、設計および仕様は、事前の通告なしに変更される場合があり、また、各国で異な
る場合があります。Made in China.
TouchSense® テクノロジーは、Immersion Corporation からライセンスを許諾されていま
す。以下の 1 つまたは複数の米国特許、およびその他の申請中の特許によって保護さ
れています。詳細は www.immersion.com/patent-marking.html にてご覧いただけます。
環境保護推奨
国内の電気電子機器のリサイクル法を遵守してください。
リサイクルのための廃機器の収集地点や廃棄方法についての詳細は、お住まいの地域の自
治体までお問い合わせください。
この情報は大切に保管してください。色や形状は実際の製品と異なる場合があります。
本製品をご使用になる前に、プラスチック留め具や粘着テープなどはすべて取り除いてくださ
い。
www.thrustmaster.com
Made in China.

1/16
P
LAYSTATION®3 – PLAYSTATION®4 용
사용설명서
경고
:
PlayStation®3 또는 PlayStation®4 용 게임에서 T300 RS 레이싱 핸들의
기능이 올바로 발휘되도록 하려면, 게임의 자동 업데이트를
설치해야 할 수도 있습니다
(
콘솔이
인터넷에
연결되면
자동
업데이트
기능을
사용할
수
있습니다
) .

2/16
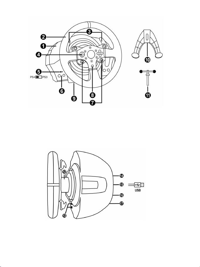
기술적 특징:
1 T300 RS 베이스
7 SELECT/START (선택/시작) 버튼 - PS3™ 및
2 PS 핸들
SHARE/OPTIONS (공유/옵션) 버튼 - PS4™
3 2 개의 시퀀셜 기어 패들 시프터 (위 및 아래)
8 PS 버튼
4 방향 버튼
9 대형 나사 구멍 (부착 시스템 및 나사 조임에
5 PS4™ 또는 PS3™ USB 슬라이딩 스위치
사용)
6 MODE (모드) 버튼 + 적색/녹색 표시등
10 부착 시스템
11
금속
조임나사
12 Thrustmaster (트러스트마스터) 퀵 릴리즈
13 L3/R3 버튼
14 전원공급장치 커넥터 (A 형 또는 B 형)
(
나라마다
다름
15 레이싱 핸들 USB 케이블 및 커넥터
16 시프터 (변속기) 커넥터
(
별도
판매
)
)
17
페달
세트
커넥터

3/16
레이싱 핸들을 전기 콘센트에 연결하기: 연결하기 전에 읽어 주십시오!
레이싱 핸들의 전원공급장치는 기기를 구매한 국가별로 다릅니다.
한국의 경우 전원공급장치:
내부
:
*
전원공급장치
(C
형
커넥터
)
가
레이싱
핸들
베이스
내부에
위치
.
*
220-240 V
전원
공급
케이블
.
= 220
-240 V
전원만
사용
가능
.
220-240 V
케이블을
절대로
100-130 V
전원
콘센트에
연결하지
마십시오
!!!
이
케이블을
절대로
전원
어댑터에
연결하지
마십시오
!!!

4/16
경고
이 제품을 사용하기 전에 이 설명서를 주의 깊게 읽고 나중에 참고할 수 있도록 잘 보관하시기
바랍니다.
경고 – 감전
* 본 제품은 건조한 곳에 보관해야 하며, 먼지나 태양광선에 노출시키지 마십시오.
* 커넥터 및 케이블을 비틀거나 잡아 당기지 마십시오.
* 본 제품이나 제품의 커넥터에 액체를 흘리지 마십시오.
* 제품을 단락 (합선) 시키지 마십시오.
* 제품을 절대 분해하지 마십시오. 불 속에 제품을 던지지 마십시오. 제품을 고온에 노출시키지
마십시오.
* 레이싱 핸들과 함께 제공된 전원 공급 케이블이 아닌 다른 케이블을 사용하지 마십시오.
* 전원 공급 케이블 또는 커넥터가 손상되거나, 갈라지거나 파손된 경우 케이블을 사용하지 마십시오.
* 전원 공급 케이블이 전원 콘센트에 올바로 끼워져 있고, 레이싱 핸들 베이스 뒷면의 커넥터에
올바르게 연결되어 있는지 확인하십시오.
* 레이싱 핸들을 열지 마십시오. 핸들 내부에는 사용자가 수리할 수 있는 부품이 없습니다. 모든 수리는
제조사, 제조사가 승인한 대리점 또는 자격을 갖춘 기술자기 수행해야 합니다.
* 제조사가 지정한 부착 시스템/부속품만 사용하십시오.
* 핸들이 비정상적으로 작동하면 (비정상적인 소리, 열, 또는 냄새가 나는 경우) , 즉시 사용을 중단하고
콘센트에서 전원 케이블을 뽑고, 다른 케이블들의 연결을 해제하십시오.
* 레이싱 핸들을 장시간 동안 사용하지 않을 경우에는 콘센트에서 전원 공급 케이블을 뽑으십시오.
공기 환기구
레이싱 핸들 베이스에 있는 어떠한 공기 환기구도 막지 마십시오. 최적의 환기를 위해 다음 사항을
준수하십시오.
* 핸들 베이스와 모든 벽면 사이에는 최소 10cm의 간격을 두십시오.
* 좁은 공간에 베이스를 두지 마십시오.
* 베이스를 덮지 마십시오.
* 공기 환기구에 먼지가 쌓이지 않게 하십시오.
안전한
사용을
위해
페달
세트를
절대
맨발
또는
양말만
신은
상태에서
조작하지
마십시오
.
®
THRUSTMASTER
는
신발
없이
페달
세트를
조작함으로써
발생하는
부상에
대해
어떠한
책임도
지지
않습니다
.

5/16
경고 – 포스 피드백 (충격 또는 진동 체감) 및 반복적인 움직임으로 인한 부상 위험
포스 피드백 (게임 기기에서 충격 또는 진동을 실제로 체감하는 기능) 레이싱 핸들을 이용해서
게임하는 경우 근육이나 관절의 통증을 가져올 수 있습니다. 이러한 문제를 예방하려면 다음 사항을
준수하십시오.
* 장시간 동안 게임하지 마십시오.
* 게임 중 한 시간 당 10 ~ 15 분 정도 휴식을 취하십시오.
* 손, 손목, 팔, 발, 다리가 피로하거나 통증이 있는 경우 게임을 중지한 후 두 세 시간 쉬었다가 다시
게임을 진행하십시오.
* 게임을 다시 시작할 때 위에 설명한 증상이나 통증이 계속되는 경우에는 게임을 중단한 후 의사와
상담하십시오.
* 어린이가 접근하지 못하게 하십시오.
* 게임 중에는 반드시 양손으로 올바르게 핸들을 잡되, 핸들에서 양손을 모두 놓으면 안 됩니다.
* 게임 중에는 양손이나 손가락을 절대 페달 밑에 두거나 페달 세트 근처에 두면 안 됩니다.
* 보정 작업 중이나 게임 중에 레이싱 핸들의 구멍 속에 손이나 팔을 넣으면 절대로 안 됩니다.
* 레이싱 핸들 베이스는 이 사용설명서의 지시대로 제대로 고정시켜야 합니다.
본 제품은 만 16세 이상의 사용자만 조작해야
합니다
중량
제품
본 제품을 본인이나 다른 사람에게
떨어뜨리지 않도록 주의하십시오!
반드시
준수
절대
금지
절대
금지

6/16
경고 – 게임 중 페달 세트에 끼일 위험
* 페달 세트에 어린이가 접근하지 못하게 하십시오.
* 게임 중에 절대로 페달 위 또는 근처에 손가락을 놓지 마십시오.
* 게임 중에 절대로 페달의 뒷면 베이스 위 또는 근처에 손가락을 놓지 마십시오.
* 게임 중에 절대로 페달의 앞면 베이스 위 또는 근처에 손가락을 놓지 마십시오.
절대
금지
절대
금지
절대
금지
경고 – 게임하지 않을 때 페달 세트에 끼일 위험
* 페달 세트는 항상 어린이의 손이 닿지 않는 안전한 장소에 보관하십시오.
레이싱 핸들 펌웨어 업데이트
레이싱 핸들 베이스에 포함된 펌웨어는 제품을 개선시킨 최신 버전으로 업데이트할 수 있습니다.
레이싱 핸들이 현재 사용 중인 펌웨어 버전을 표시하고 필요한 경우 버전을 업데이트 하려면 PC에서
다음 사이트에 연결합니다. http://ts.thrustmaster.com. Updates and Downloads (업데이트 및
다운로드) 부분에서 PlayStation/Wheels/T300 RS (PlayStation/핸들/T300 RS) 을 클릭한
후Driver/Firmware (드라이버/펌웨어) 를 선택하고 다운로드 및 설정 절차를 설명하는 지시사항을
따르십시오.

7/16
레이싱 핸들을 핸들 베이스에 설치하기
화살표들을 이용해서 커넥터 위치를 맞춥니다.
베이스 (1) 커넥터: 위쪽을 가리키는 화살표
레이싱 핸들 (2) 커넥터: 위쪽을 가리키는 화살표
커넥터들을 올바른 위치에 놓은 후 레이싱 핸들 (2) 을 제 위치에 고정시킨 상태에서 Thrustmaster
(트러스트마스터) 퀵 릴리즈 (12) 장치의 링을 시계 반대 방향으로 돌리면 됩니다.
그 다음에 링을 최대한 조입니다. 링을 최대한 조이려면 링을 제 위치에 고정시킨 상태에서 레이싱
핸들을 시계 방향으로 돌립니다.
레이싱 핸들을 장착한 후에는 Thrustmaster 퀵 릴리즈 장치 (12) 의 링에 있는 소형 부착 나사에 손이
닿을 수 있도록 핸들을 180° 회전시키십시오 (핸들을 마주봤을 때 PlayStation로고의 위아래가 뒤집힌
상태이어야 합니다) . 대형 십자 드라이버로 소형 부착 나사를 시계 방향으로 돌려 조입니다 (무리한
힘을 가하지 마십시오) .
(
십자
드라이버를
이용해서
)
소형
부착
나사를
조일
때
무리한
힘을
가하지
마십시오
!
무언가
닿은
느낌이
있으면
즉시
나사
돌리기를
멈추십시오
.

8/16
페달 높이 및 간격 조정
십자 드라이버 (제품에 포함되지 않음) 를 이용해서 페달 헤드를 페달암에 고정시키고 있는 2개의
부착 나사를 빼냅니다.
그 다음에 페달 헤드의 높이와 간격을 다음과 같이 원하는 드라이브 스타일에 맞도록 조정합니다.
- 가속 페달에는 6개의 서로 다른 위치를 사용할 수 있습니다.
- 브레이크 페달에도 6개의 서로 다른 위치를 사용할 수 있습니다.
원하는 높이와 간격으로 조정한 후에는 2개의 부착 나사를 조여서 페달 헤드를 페달암에
고정시킵니다.
레이싱 핸들 부착하기
테이블이나 책상에 레이싱 핸들 부착하기
1. 레이싱 핸들을 테이블 또는 수평 상태의 평평하고 안정된 표면 위에 놓습니다.
2. 조임 나사 (11) 를 부착 시스템 (10) 에 삽입한 후, 나사를 시계 반대 방향으로 돌려서 기기를
조입니다. 이때, 레이싱 핸들 밑에 있는 대형 나사 구멍 (9) 에 나사를 끼워서 기기가 완전히
고정될 때까지 삽입합니다.
반드시
준수
절대
금지
경고
:
부착
시스템
없이
절대로
나사만
조이지
마십시오
!
(
나사만
조이면
레이싱
핸들이
파손될
수
있습니다
.)

9/16
부착
/
제거
방향
조이기
:
나사를
시계
반대
방향으로
돌립니다
풀기
:
나사를
시계
방향으로
돌립니다

10/16
레이싱 핸들 베이스를 조종석에 부착하기
1. 레이싱 핸들 베이스를 조종석 선반에 놓습니다.
2. 조종석 선반을 통해 2 개의 M6 나사 (제품에 포함되지 않음) 를 밀어넣은 후, 레이싱 핸들 밑에
있는 2 개의 소형 나사산 속에 삽입합니다.
중요
:
두
개의
M6
나사의
길이가
‘
선반
두께
+ 12mm’
를
초과하면
레이싱
핸들
베이스에
장착된
내부
부품을
파손시킬
수
있으므로
나사의
길이는
‘
선반
두께
+ 12mm’
를
초과하면
안
됩니다
.
3. 필요한 경우 조임 나사를 대형 나사 구멍에 끼워서 표준형 부착 시스템을 조이십시오.
페달 세트를 조종석에 부착하기
1. 페달 세트 밑에 있는 소형 나사 구멍을 이용해서 페달 세트를 부착합니다.
2. 조종석 선반을 통해 2 개의 M6 나사 (제품에 포함되지 않음) 를 밀어넣은 후, 페달 세트 밑에
있는 2 개의 소형 나사산 속에 삽입합니다.
중요
:
두
개의
나사
길이가
‘
선반
두께
+ 10 mm’
를
초과하면
페달
세트에
장착된
내부
부품을
파손시킬
수
있으므로
나사의
길이는
‘
선반
두께
+ 10mm’
를
초과하면
안
됩니다
.
조종석
배치도
(
레이싱
핸들
및
/
또는
페달
세트
위치
결정용
)
는
http://ts.thrustmaster.com
에서
구할
수
있습니다
. Updates and Downloads (
업데이트
및
다운로드
)
부분에서
PlayStation/Wheels/T300
RS (PlayStation/
핸들
/T300 RS)
을
클릭한
후
Manual/Help (
사용설명서
/
도움말
)
파일을
선택하십시오
.
PLAYSTATION®3 및 PLAYSTATION®4 매핑

11/16
PLAYSTATION®3 또는 PLAYSTATION®4 용 레이싱 핸들 설정
1. 페달 세트를 레이싱 핸들 베이스에 있는 커넥터 (17) 에 연결합니다.
2. 전원 공급 케이블을 레이싱 핸들 베이스에 있는 커넥터 (14) 에 연결합니다.
3. 전원 공급 케이블을 동일한 전압을 공급하는 전원 콘센트에 연결합니다.
이에
대한
자세한
내용은
이
사용설명서
3
페이지의
레이싱
핸들을
전기
콘센트에
연결하기
부분을
참조하십시오
.
4. 사용 중인 콘솔이나 게임에 맞게 레이싱 핸들의 베이스에 있는 슬라이딩 스위치 (5) 를 PS3™
또는 PS4™로 설정합니다.
5. 레이싱 핸들의 USB 커넥터 (15) 를 USB 포트의 콘솔 중 하나에 연결합니다.
6. 콘솔의 전원이 켜지면 레이싱 핸들이 자동으로 보정됩니다.
7. PlayStation4 의 경우 (USB 슬라이딩 스위치가 PS4™ 위치로 설정된 경우) : 핸들을 사용하려면,
레이싱 핸들의 PS 버튼 (8) 을 누른 다음 Sony Entertainment Network (Sony 엔터테인먼트 네트워크)
계정에 로그인합니다.
이제
레이싱
준비가
되었습니다
!
중요 참고:
- 핸들의 USB 케이블을 콘솔에 연결하기 전에 반드시 레이싱 핸들의 베이스에 있는 USB 슬라이딩 스위치
(5) 를 올바른 위치 (PS3™ 또는 PS4™) 로 설정해야 합니다. 슬라이딩 스위치의 위치를 변경하려면
콘솔에서 USB 케이블을 뺀 후 스위치의 위치를 변경한 후 USB 케이블을 콘솔에 다시 연결합니다.
- PlayStation3 의 경우, 즉 USB 슬라이딩 스위치 (5) 가 PS3™ 위치로 설정된 경우:
* 대부분의 게임에서 핸들을 T500RS 핸들로 인식합니다.
* 호환되는 게임과 콘솔 메뉴에서 핸들이 기능을 발휘합니다.
* 핸들에서 “PS” 기능이 작동합니다.
- PlayStation4 에서 USB 슬라이딩 스위치 (5) 가 PS3™ 위치로 설정된 경우:
* 대부분의 게임에서 핸들을 T500RS 핸들로 인식합니다.
* 핸들이 호환되는 게임에서는 기능을 발휘하지만, 콘솔 메뉴에서는 기능을 발휘하지 않습니다.
* 핸들에서 “SHARE” (공유) 및 “PS” 기능이 작동하지 않습니다.
- On PlayStation4 에서 USB 슬라이딩 스위치 (5) 가 PS4™ 위치로 설정된 경우:
* 핸들을 사용하려면, 레이싱 핸들의 PS 버튼 (8) 을 반드시 눌러야 합니다.
* 대부분의 게임에서 핸들이 T300 RS 핸들로 인식됩니다.
* 호환되는 게임과 콘솔 메뉴에서 핸들이 기능을 발휘합니다.
* 핸들에서 “SHARE” (공유) 및 “PS” 기능이 작동합니다.
T300 RS
와
호환되는
PlayStation3
및
PlayStation4
게임의
목록
(
및
실행
중인
게임에
따라
슬라이딩
스위치
(5)
에
필요한
위치에
관한
내용
)
은
다음
웹사이트에서
확인할
수
있습니다
.
http://ts.thrustmaster.com
(Updates and Downloads (
업데이트
및
다운로드
)
부분에서
PlayStation/Wheels/T300 RS
(PlayStation/
핸들
/T300 RS)
을
클릭하십시오)
.
이
목록은
정기적으로
업데이트됩니다
.

12/16
PC 용 레이싱 핸들 설정
중요 참고:
PC 의 경우, 레이싱 핸들 베이스에 있는 USB 슬라이딩 스위치 (5) 는 반드시 PS3™ 위치로 설정되어
있어야 합니다.
1. PC 용 드라이버와 포드 피드백 소프웨어를 다운로드 하려면 http://ts.thrustmaster.com 으로
이동하십시오. Updates and Downloads (업데이트 및 다운로드) 부분에서 PC/Wheels/T300 RS
(PC/핸들/T300 RS) 을 클릭하십시오.
2. 다운로드가 완료되면, 설치를 시작하고, 화면의 지시에 따라 핸들의 USB 플러그를 컴퓨터에
연결하여 설치를 완료합니다.
3. 설치가 완료되면 Finish (종료) 를 클릭하고 컴퓨터를 다시 시작합니다.
4. Start/All Programs/Thrustmaster/FFB Racing Wheel/Control Panel (시작/모든
프로그램/Thrustmaster/FFB 레이싱 핸들/제어판) 을 선택해서 게임 컨트롤러 창을 여십시오.
게임 컨트롤러 창에는 상태 OK (확인) 과 함께 레이싱 핸들의 이름인 T300 RS Racing Wheel 이
표시됩니다.
5. T300 RS 제어판에서 핸들을 구성하려면 속성을 클릭합니다.
입력 테스트 탭: 동작 버튼, 방향 버튼, 핸들 및 페달 축 테스트 및 보기를 할 수 있으며, PC 게임에서
핸들의 회전 각도를 조정할 수 있습니다.
포스 테스트 탭: 12 가지 포스 피드백 효과를 테스트할 수 있습니다.
게인 설정 탭: PC 게임에서의 포스 피드백의 파워를 조정할 수 있습니다.
이제
레이싱
준비가
되었습니다
!
일반 참고:
- PC 에서, OK (확인) 을 눌러 게임을 시작하기 전에 게임 컨트롤러 창을 닫으십시오.
- PC 에서, 게임 컨트롤러 창에서 수행한 조정 작업은 컴퓨터에만 저장됩니다 (따라서 PlayStation3
또는 PlayStation4 에는 아무런 영향도 미치지 않습니다) .
- 핸들의 펌웨어 버전은 T300 RS 제어판 탭의 오른쪽 상단 모서리에 표시됩니다.

13/16
PC 매핑

