Enerpac P-Series: Folha de Instruções
Folha de Instruções: Enerpac P-Series

Folha de Instruções
Bombas Hidráulicas Manuais
Folhas de Instrução para este produto estão
disponíveis no Site de Enerpac - www.enerpac.com,
ou no Centro de Serviço Autorizado mais próximo,
ou com o Escritório de Vendas Enerpac.
1.0 INSTRUÇÕES IMPORTANTES NO
RECEBIMENTO
Inspecione visualmente todos os componentes
verificando se houve avarias durante o transporte.
Avarias no transporte não são cobertas pela garantia.
Caso haja avarias no transporte, avise o
transportador imediatamente. O transportador é
responsável por todos os custos de consertos e
ADVERTÊNCIA: Mantenha distância de
substituições decorrentes de avarias ocorridas no
cargas apoiadas por cilindros hidráulicos.
transporte.
Um cilindro, quando utilizado como
dispositivo de levantamento, jamais deve
SEGURANÇA EM PRIMEIRO LUGAR
ser usado como dispositivo de sustentação de carga.
Depois de haver sido levantada ou baixada, a carga
2.0 ASSUNTOS DE SEGURANÇA
deve sempre ser bloqueada mecanicamente
Leia cuidadosamente todas as
ADVERTÊNCIA: USE SOMENTE PEÇAS
instruções, advertências e avisos
RÍGIDAS PARA APOIAR AS CARGAS.
sobre precaução. Siga todas as
Selecione cuidadosamente blocos de
recomendações de segurança para evitar lesões
madeira ou ferro que sejam capazes de
pessoais ou danos à propriedade durante a operação
sustentar a carga. Nunca use um cilindro hidráulico
do sistema. Enerpac não pode ser responsável por
como um calço ou espaçador em qualquer aplicação
danos ou lesões pessoais resultantes do uso
de levantamento ou prensagem.
indevido do produto, falta de manutenção ou
PERIGO: Para evitar lesões
operação inadequada do produto e/ou sistema. Entre
pessoais mantenha mãos e pés
em contato com Enerpac quando houver dúvidas
longe do cilindro e da área de
sobre as recomendações de segurança e operações.
trabalho durante a operação.
Se você nunca recebeu treinamento em segurança
na hidráulica de alta pressão, consulte o seu
ADVERTÊNCIA: Não exceda a capacidade
distribuidor ou centro de serviço sobre um curso de
do equipamento. Nunca tente levantar uma
segurança hidráulica Enerpac.
carga mais pesada que a capacidade do
Falhas no cumprimento das advertências e avisos de
cilindro. Excesso de carga pode causar
precaução podem causar lesões pessoais e avarias
falhas no equipamento e possíveis lesões pessoais. Os
ao equipamento.
cilindros são projetados para uma pressão máxima de
700 bar [10.000 psi]. Não faça a ligação entre um
PRECAUÇÃO é usada para indicar a operação
macaco ou um cilindro com uma bomba com
correta ou os procedimentos e métodos de
capacidade maior de pressão.
manutenção para prevenir o dano, a destruição do
equipamento ou outras propriedades.
PERIGO: Nunca ajuste uma válvula de
alívio com pressão maior que a
ADVERTÊNCIA indica um perigo potencial que exige
capacidade de pressão máxima da
procedimentos ou métodos corretivos para evitar
bomba. Ajustes maiores podem resultar
lesões pessoais.
em danos ao equipamento e/ou lesões pessoais. Não
PERIGO é usado somente quando a ação ou a falta
remova a válvula de alívio.
da mesma podem causar lesões sérias ou mesmo a
ADVERTÊNCIA: A pressão de operação
morte.
do sistema não deve exceder a
ADVERTÊNCIA: Use equipamentos
capacidade de pressão do componente
individuais de proteção quando acionar
de menor capacidade no sistema. Instale
equipamentos hidráulicos.
manômetros de pressão no sistema para monitorar a
pressão de operação. É a sua janela para o que está
acontecendo no sistema.
45
POWERFUL SOLUTIONS. GLOBAL FORCE.
L1763 Rev I 03/09

PRECAUÇÃO: Evite danificar mangueiras
ADVERTÊNCIA: Use somente cilindros
hidráulicas. Evite curvas ou dobras
hidráulicos num sistema acoplado. Nunca
pronunciadas quando direcionar as
use um cilindro com engates não
mangueiras hidráulicas. O uso de uma
conectados. Caso o cilindro se torne
mangueira curvada ou dobrada causará aumento na
extremamente sobrecarregado, os componentes
pressão de retorno. Curvas ou dobras pronunciadas
podem falhar catastroficamente, causando severas
danificarão a mangueira internamente, levando a um
lesões pessoais.
desgaste prematuro.
ADVERTÊNCIA: ESTEJA CERTO QUE A
Não derrube objetos pesados na
MONTAGEM É ESTÁVEL ANTES DE
mangueira. Um forte impacto pode
LEVANTAR A CARGA. Os cilindros devem
causar danos à trama interna de aço da
ser colocados em superfícies planas que
mangueira. A aplicação de pressão em
podem apoiar a carga. Quando aplicável, use uma
uma mangueira danificada pode causar a sua ruptura.
base de cilindro Enerpac para aumentar a
estabilidade. Não faça soldas ou, de qualquer forma,
IMPORTANTE: Não levante o
modifique o cilindro para acrescentar uma base ou
equipamento hidráulico pela mangueira ou
outro apoio.
pelos engates. Use manoplas ou outros
meios mais seguros para o transporte.
Evite situações em que as cargas não
estão centradas na haste do cilindro.
PRECAUÇÃO: Mantenha o
Cargas fora de centro podem causar
equipamento hidráulico longe do calor e
deformações consideráveis nas hastes e
das chamas. O calor excessivo amolece
nos cilindros. Além disto, a carga pode escorregar ou
vedações e selos, resultando em
cair, causando resultados potencialmente perigosos.
vazamento de fluídos. O calor também enfraquece o
material das mangueiras e das juntas. Para um
Distribua a carga uniformemente em toda a
desempenho otimizado não exponha o equipamento a
superfície do assento. Use sempre um
temperatura maiores que 65 °C [150 °F]. Proteja
assento para proteger a haste.
mangueiras e cilindros dos respingos de solda.
PERIGO: Não manuseie mangueiras
IMPORTANTE: Somente técnicos em
pressurizadas. O escape do óleo sob
hidráulica, devidamente qualificados,
pressão pode penetrar na pele, causando
devem fazer a manutenção de
lesões sérias. Se o óleo penetrar na pele, procure um
equipamentos hidráulicos. Para serviços
médico imediatamente.
de manutenção, entre em contato com o Centro de
Serviço Autorizado Enerpac em sua área. Para
proteger sua garantia, use somente óleo Enerpac.
ESPECIFICAÇÕES – Use esta folha de instrução para os seguintes modelos de bomba
Especificações das Bombas Manuais
Modelo Tipo Pressão Máxima Volume de óleo por Capacidade utilizável de
(velocidade) Nominal bar [psi] {mPa} bombada cm
3
[pol.
3
] óleo cm
3
[pol.
3
]
EHF-65 1 6,500 [440] {44} .16 [2.62] 22 [360]
P-18 1 2,850 [200] {20} .16 [2.62] 22 [360]
P-25 1 2,500 [170] {17} .58 [9.51] 231 [3786]
P-39, 1003 1 10,000 [700] {70} .16 [2.62] 43 [705]
P-50 1 5,000 [340] {34} .29 [4.75] 231 [3786]
P-51 1 3,000 [210] {21} .25 [4.09] 50 [820]
P-141, 1001 1 10,000 [700] {70} .055 [.90] 20 [328]
P-391, 1004 1 10,000 [700] {70} .151 [2.47] 55 [900]
Primeiro Segundo Primeiro Segundo
Estágio Estágio Estágio Estágio
P-80, 1006 2 350 [25] {2,5} 10,000 [700] {70} .99 [16.23] .15 [2.46] 140 [2295]
P-84 2 350 [25] {2,5} 10,000 [700] {70} .99 [16.23] .15 [2.46] 140 [2295]
P-142, 1002 2 200 [14] {1,4} 10,000 [700] {70} .221 [3.62] .055 [.90] 20 [328]
P-142AL 2 200 [14] {1,4} 10,000 [700] {70} .221 [3.62] .055 [.90] 9.0 [148]
P-202 2 200 [14] {1,4} 10,000 [700] {70} .221 [3.62] .055 [.90] 55 [900]
P-77 2 200 [14] {1,4} 10,000 [700] {70} .63 [16.0] .094 [2.41] 47 [769]
P-392, 1005 2 200 [14] {1,4} 10,000 [700] {70} .687 [11.26] .151 [2.47] 55 [900]
P-392AL 2 200 [14] {1,4} 10,000 [700] {70} .687 [11.26] .151 [2.47] 55 [900]
P-462 2 200 [14] {1,4} 10,000 [700] {70} 7.69 [126.00] .29 [4.75] 462 [7572]
P-464 2 200 [14] {1,4} 10,000 [700] {70} 7.69 [126.00] .29 [4.75] 462 [7572]
P-801 2 350 [25] {2,5} 10,000 [700] {70} .99 [16.23] .15 [2.46] 250 [4095]
P-802 2 400 [28] {2,8} 10,000 [700] {70} 2.40 [39.34] .15 [2.46] 155 [2540]
P-842 2 400 [28] {2,8} 10,000 [700] {70} 2.40 [39.34] .15 [2.46] 155 [2540]
46

ADVERTÊNCIA: Substitua imediatamente
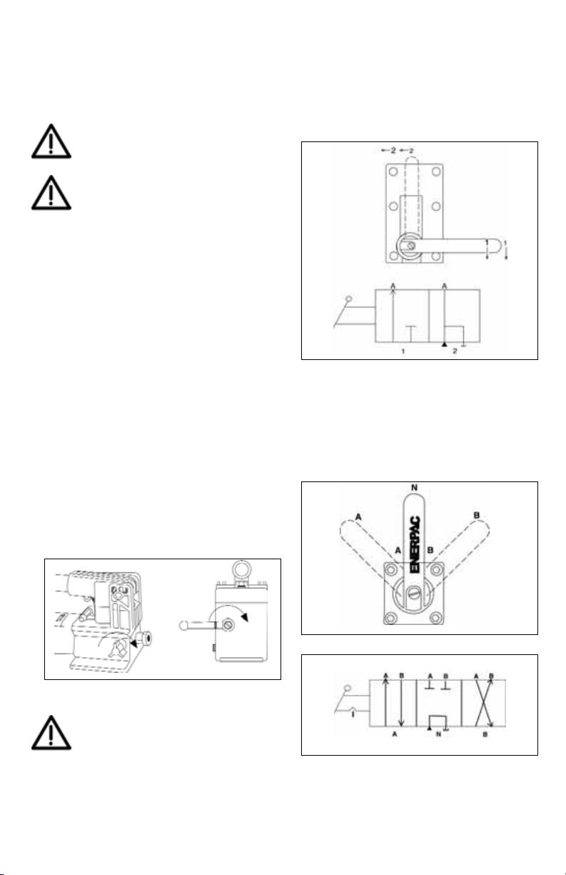
3.2 Modelos P-18/P-39, 1003/P-80, 1006/P-
peças gastas ou danificadas por peças
84/P-801, P-77
genuínas Enerpac. Peças não genuínas podem
Figura 2 e a tabela correspondente mostram os
quebrar, causando lesões pessoais ou danos à
principais componentes destas bombas manuais. A
propriedade. As peças Enerpac são projetadas para se
bomba P-84 é equipada com válvula de 4-vias, 3-
encaixar adequadamente e sustentar cargas pesadas.
posições para uso com cilindro de dupla ação. Para
PRECAUÇÃ0: Use sempre a alavanca para
transformar as bombas P-18 ou P-39 em modelos de
carregar a bomba. Carregar a bomba pela
acionamento por pedal, adquira o Kit Pc-10.
mangueira pode danificar a mangueira e/ou
a bomba.
3.0 DESCRIÇÃO
3.1 Modelos P-141, 1001; P-142, 1002; P-202;
P-391, 1004; P-392, 1005; P-802; P-842
A figura 1 e a tabela correspondente mostram os
principais componentes das bombas manuais P-141,
P-142, P-202, P-391, P-392, P-802, e P-842. A
função dupla da tampa de respiro/abastecimento
atua como uma válvula de alívio de pressão no caso
de pressurização acidental do reservatório. Para ter
acesso à saída posterior do reservatório para as
válvulas de montagem à distância, use o conjunto
retorno para reservatório. Consulte a Tabela 1 para
os modelos dos conjuntos.
Figure 2
AVISO: Estas bombas são acionadas
com um reservatório sem respiro. Se o
reservatório for submetido à alta
pressão, poderá ocorrer ruptura,
causando lesões pessoais e/ou danos ao
equipamento. NUNCA tente fazer retornar mais
óleo para o reservatório do que a capacidade do
equipamento.
Figura 1
A
B
A
DB
B
C
A
A
B
BE
P842
C
B
D
Tabela 1
Fig. 1 P-141, 1001 P-142, 1002 P-202 P-391, 1004 P-392, 1005 P-802 P-842
A Válvula Válvula Válvula Válvulae Válvula Válvula Válvula
de alivio de alivio de alivio de alivio de alivio de alivio de 4 vias
B 1/4 NPTF Saída 1/4 NPTF Saída 1/4 NPTF Saída 3/8 NPTF Saída 3/8 NPTF Saída 3/8 NPTF Saída 3/8 NPTF Saída
de Pressão de Pressão de Pressão de Pressão de Pressão de Pressão de Pressão
C
Tampa de Respiro/ Tampa de Respiro/ Tampa de Respiro/ Tampa de Respiro/ Tampa de Respiro/ Tampa de Respiro/ Tampa de Respiro/
abastecimento
abastecimento abastecimento abastecimento abastecimento abastecimento abastecimento
D Montagem Furo — — — Furo Furo
alongado alongado alongado
E — — — — —
Conjunto de retorno —
reservatório
Conjunto de
PC-20 PC-20 PC-25 PC-25 PC-25 — —
-retorno ao
reservatório
Tabela 2
Fig. 2 P-18 P-39, 1003 P-77 P-80, 1006 P-84 P-801
A Válvula Válvula Válvula Válvula Válvula Válvula
de alivio de alivio de alivio de alivio de alivio de alivio
B 3/8 NPTF Saída 3/8 NPTF Saída 3/8 NPTF Saída 3/8 NPTF Saída 3/8 NPTF Saída 3/8 NPTF Saída
de Pressão de Pressão de Pressão de Pressão de Pressão de Pressão
C Bujão de Bujão de Bujão de Bujão de Bujão de Bujão de
abastecimento abastecimento abastecimento abastecimento abastecimento abastecimento
D — — — 1/4 NPTF
Conjunto de
—
1/4 NPTF
Conjunto de
retorno
reservatório retorno reservatório
47

3.3 Modelos P-462 and P-464
4.0 INSTALAÇÃO
Figura 3 e a tabela correspondente mostram as
4.1 Conectando a Bomba
principais características da bomba manual P462
para uso com cilindro de simples ação, e da bomba
1. Rosqueie a mangueira na saída da bomba. Use
P-464, para uso com cilindro de dupla ação.
uma ou duas voltas de fita Teflon, (ou selante
apropriado para rosca) na conexão da mangueira,
deixando o primeiro filete completamente livre
para garantir que pedaços de fita não entrem no
sistema hidráulico, causando danos. Corte as
pontas soltas.
2. Instale o manômetro na linha da bomba para
maior segurança e melhor controle.
3. Conecte a mangueira(s) no cilindro ou ferramenta.
NOTA: Para cilindros de simples ação, conecte
uma mangueira entre a bomba e o cilindro. Para
cilindros de dupla ação, conecte duas mangueiras.
Conecte uma mangueira entre a conexão de
pressão da bomba e a conexão avanço do.
Figure 3, Modelos P-462, P-464
4.2 Sangria de ar da Bomba
Tabela 3
Consulte a tabela abaixo para determinar se a bomba
Fig. 3 P-462 P-464
pode ou não ser acionada com um reservatório com
A Válvula de 2-posições e 3-vias Válvula de 3-posições e 4-vias
respiro. Bombas com respiro apresentam um melhor
B Saída de pressão 3/8 NPTF Saída de pressão 3/8 NPTF
C Bujão de respiro/abastecimento Bujão de respiro/abastecimento
desempenho. Para bombas com reservatório de
D Grampo da alavanca Grampo da alavanca
plástico, gire o bujão de respiro/abastecimento em _
de volta no sentido horário para sangria. Para outras
bombas, consulte a etiqueta colada na bomba. Feche
3.4 Modelos P-25, P-50, and P-51
o respiro antes de transportar a bomba para evitar
Figura 4 mostra as bombas manuais P-25 e P-50,
vazamento de óleo. P-80, P-801 e P-84 são ventiladas,
ambas equipadas com alavanca que trabalha nos
girando-se a válvula de alívio no sentido anti-horário.
dois sentidos. Figura 5 mostra a bomba manual P-
Para fechar o respiro, gire a válvula no sentido horário.
51. Os principais componentes destas bombas são
listados na tabela abaixo.
OPCÕES DE RESPIRO
EHF-65. . . . . . . . . Sem respiro
P-202 . . . . . . . . . . . . . . ambos
P-18 . . . . . . . . . . . Sem respiro
P-391, 1004 . . . . . . . . . ambos
P-25 . . . . . . . . . . . . . . . ambos
P-77 . . . . . . . . . . . . . . . respiro
P-39, 1003 . . . . . . Sem respiro
P-392, 1005. . . . . . . . . ambos
P-50 . . . . . . . . . . . . . . . ambos
P-392AL . . . . . . . . . . . . respiro
P-51 . . . . . . . . . . . . . . . respiro
P-462 . . . . . . . . . . . . . . respiro
P-80, 1006 . . . . . . . . . . ambos
P-464 . . . . . . . . . . . . . . respiro
P-84 . . . . . . . . . . . . . . . ambos
P-801 . . . . . . . . . . Sem respiro
P-141, 1001 . . . . . . . . . ambos
P-802 . . . . . . . . . . . . . . ambos
P-142, 1002 . . . . . . . . . ambos
P-842 . . . . . . . . . . . . . . ambos
P-142AL. . . . . . . . Sem respiro
4.3 Posicionamento da Bomba
Consulte a tabela abaixo para determinar o
Figure 4, Bombas P-25, P-50 e P-51
posicionamento horizontal ou vertical de sua bomba
P-80, P-801 e P-84 não podem ser ventiladas,
quando acionadas verticalmente.
POSICIONAMENTO DE
OPERAÇÃO
EHF-65 . . . . . . . . . . . . . ambos
P-18 . . . . . . . . . . . . . . . ambos
P-202 . . . . . . . . . . . . . . ambos
P-25 . . . . . Somente Horizontal
P-391, 1004 . . . . . . . . . ambos
P-39, 1003 . . . . . . . . . . ambos
P-77 . . . . . . . . . . . . . . . ambos
P-50 . . . . . Somente Horizontal
P-392, 1005 . . . . . . . . . ambos
P-51 . . . . . Somente Horizontal
P-392AL . . . . . . . . . . . . ambos
P-80, 1006 . . . . . . . . . . ambos
P-462. . . . Somente Horizontal
P-84 . . . . . . . . . . . . . . . ambos
P-464 . . . . Somente Horizontal
Figura 5, Bomba P-51
P-141, 1001 . . . . . . . . . ambos
P-801 . . . . . . . . . . . . . ambos
P-142, 1002 . . . . . . . . . ambos
P-802 . . . . . . . . . . . . . . ambos
Tabelas 4 e 5
P-142AL . . . . . . . . . . . . ambos
P-842 . . . . . . . . . . . . . . ambos
Fig. 4 e 5 P-25, P-50, P-51
A Válvula de alívio
B 1/4 NPTF Saída de pressão
NOTA: Quando a bomba estiver funcionando na
C Bujão de respiro/abastecimento
posição vertical, a ponta na qual a mangueira está
conectada, deve estar virada para baixo, ou haverá sucção
de ar, e a bomba não atingirá a pressão adequada.
48

5.0 OPERAÇÃO
2. Acione a alavanca para liberar força hidráulica no
sistema. A pressão será mantida até que a válvula
de alívio seja aberta.
5.1 Antes de Usar a Bomba
3. Abra a válvula de alívio (gire sentido anti-horário)
1. Verifique todas as conexões para garantir que elas
para liberar a pressão, permitindo que o óleo
estão apertadas e sem vazamento.
retorne para o reservatório.
2. Verifique o nível de óleo do reservatório antes de
acionar a bomba. Consulte "adicionando óleo na
5.4 Aplicações de Simples Ação com Válvula
bomba" na página 7.
Manual de 3 vias e 2 posições
PRECAUÇÃO: NUNCA acrescente
1. Mude a alavanca da válvula para a posição 1 como
extensões na alavanca da bomba.
mostrado na Figura 7.
Extensões podem causar instabilidade
2. Acione a alavanca para liberar força hidráulica no
no funcionamento da bomba.
sistema. A pressão será mantida até que seja
ADVERTÊNCIA: Em certas situações a
mudada a posição da válvula.
alavanca da bomba pode "retornar
3. Para permitir que o óleo retorne para o reservatório,
inesperadamente". Mantenha sempre
mude a alavanca da válvula para a posição 2.
seu corpo ao lado da bomba, longe da
linha de movimento da alavanca.
NOTA: Para reduzir o esforço da alavanca em alta
pressão, acione com bombadas curtas. A ação máxima
da alavanca é obtida nos últimos 5° do curso.
5.2 Usando Bombas de Duas Velocidades
Estas bombas fornecem dois estágios de fluxo.
Quando não há carga, a bomba funciona no primeiro
estágio de alta vazão para um avanço rápido. Quando
a carga é atingida, a bomba automaticamente passa
para o segundo estágio para atingir a pressão. Nas
bombas P-462 ou P464, quando a pressão na bomba
atinge aproximadamente 14 bar [200 psi] você deve,
momentaneamente, parar o bombeamento e levantar
a alavanca, mudando para o estágio de alta pressão.
Figura 7
Nas bombas P-802 ou P842, quando a pressão
5.5 Aplicações de Dupla Ação com Válvula
atingir aproximadamente 28 bar [400 psi], você deve,
momentaneamente, parar o bombeamento e levantar
Manual de 4 vias e 3 posições
a alavanca, mudando para o estágio de alta pressão.
Bombas com válvula de controle de 4-vias são
Após a mudança de estágio de pressão, o
projetadas para acionar cilindros de ação dupla.
bombeamento requer menos esforço.
Consulte Figura 8 para posições da válvula.
NOTA: Para melhor desempenho, acione a alavanca
da bomba em velocidade moderada no estágio de alta
vazão. Movimentos rápidos da alavanca no primeiro
estágio evitam a liberação de todo o volume de óleo.
5.3 Aplicações de Simples Ação com
Válvula de alívio
1. Feche a válvula de alívio girando-a no sentido
horário como mostrado na Figura 6.
Figura 8a
Figura 6
PRECAUÇÃO: Feche a válvula de alívio
SOMENTE com aperto dos dedos. Uso de
Figura 8b
ferramentas na válvula de alívio pode danificá-
la e causar mau funcionamento na bomba.
49

1. Posicione a alavanca da válvula de 4 vias para
4. Acione a bomba para distender completamente o
selecionar as funções conforme abaixo:
cilindro (faça-o retornar, ao usar cilindro de atracação).
(A) Fluxo da saída "A"; saída "B" o fluxo retorna
5. 5Abra a válvula de alívio para que o cilindro retorne
para o reservatório
(faça-o distender, ao usar cilindro de atracação). Isto
forçará o movimento do ar preso para o reservatório
(N) Neutro, saídas "A" e "B" estão bloqueadas
da bomba.
(B) Fluxo para a saída "B"; saída "A" retorna o
6. Repita os passos acima tantas vezes quanto for
fluxo para o reservatório
necessário.
7. Adicione óleo caso haja necessidade. Veja página 7.
8. Retorne o bujão de respiro/abastecimento para a
posição de acionamento.
6.2 Bomba com cilindro de Dupla Ação (B)
1. Abra o respiro do reservatório da bomba
(somente para bombas com respiro).
2. Coloque a bomba em posição mais alta que o
cilindro.
3. Coloque o cilindro em posição horizontal com as
saídas voltadas para cima. Consulte Figura 9.
Figure 8c
4. Faça o cilindro avançar e retornar por 2 a 3 vezes.
2. Acione a bomba para executar o trabalho.
5. Repita os passos acima tantas vezes quanto for
3. Mude as posições da válvula conforme necessário.
necessário.
ADVERTÊNCIA: Acione o cilindro de
6. Adicione óleo caso haja necessidade. Consulte
dupla ação somente quando ambas as
§7.1.
mangueiras estiverem conectadas na
bomba. Se um engate não estiver
7. Retorne o bujão de respiro/abastecimento para a
conectado, haverá aumento de alta pressão por
posição de acionamento.
trás do mesmo, o que pode causar lesões
7.0 MANUTENÇÃO
pessoais e/ou danos no equipamento.
Use somente óleo Enerpac com estas bombas para
5.6 Ajuste da válvula de Alívio
assegurar uma vida longa e proteção da garantia.
Vedações de Viton e EPR estão disponíveis para
Todas as bombas são fornecidas com a válvula de
algumas bombas manuais. Contate o representante
alívio pré-ajustada de fábrica para evitar excesso de
Enerpac para maiores informações sobre produtos e
pressão no sistema. Ajustes menores de pressão
suas aplicações.
podem ser obtidos. Entre em contato com o Centro
de Serviço Enerpac Autorizado.
7.1 Adicionando óleo na bomba
6.0 SANGRANDO O AR
Verifique regularmente o nível de óleo.
A remoção do ar do sistema hidráulico ajuda nas
ADVERTÊNCIA: Sempre adicione óleo
operações de avanço e retorno do cilindro (Consulte
com o cilindro totalmente retraído
Figura 9).
(distendido no caso do cilindro de
atracação) ou o sistema terá mais óleo
6.1 Bomba com Cilindro de Simples Ação (A)
que a capacidade do reservatório.
1. Abra o respiro do reservatório da bomba (somente
1. Remova o bujão de respiro/abastecimento do
para bombas com respiro) e feche a válvula de alívio.
reservatório.
2. Coloque a bomba em posição mais alta que o cilindro.
2. Encha o reservatório somente até o nível indicado
3. Coloque o cilindro com a haste virada para baixo
na bomba.
(virada para cima no caso de cilindro de atracação).
3. Remova o ar do sistema, se necessário. Consulte
Consulte Figura 9 abaixo.
página 6. Verifique novamente o nível de óleo
após a remoção do ar.
ar
ar
Figure 9
50

4. Retorne o bujão de respiro/abastecimento à
2. Remova o bujão de respiro/abastecimento do
posição apropriada.
reservatório.
NOTA: Bombas manuais sem respiro necessitam
3. Incline a bomba para drenar o óleo antigo.
de ar no reservatório para funcionar
4. Encha o reservatório somente até o nível indicado
adequadamente. Se o reservatório estiver
na bomba.
completamente cheio, haverá formação de vácuo
5. Reponha o bujão de respiro/abastecimento.
evitando que o óleo saia da bomba.
6. Disponha, adequadamente, do óleo usado.
7.2 Mantenha as Linhas de Óleo Limpas
Quando as duas metades dos engates estiverem
8.0 SOLUÇÕES DE PROBLEMAS
desconectadas, utilize sempre a tampa guarda-pó
contra sujeira e poeira. Use todos os cuidados
A seguinte informação deve ajudar na determinação
necessários para evitar a entrada de sujeira, uma vez
de um problema, caso ele exista. Para serviços de
que elementos externos podem causar falhas na
manutenção, entre em contato com o Centro de
bomba, no cilindro ou na válvula.
Serviço Enerpac Autorizado de sua região.
7.3 Lubrificando a Bomba
Para prolongar a vida e melhorar o desempenho da
bomba, lubrifique os pinos (A) e (B) e a cabeça do
pistão (C) regularmente, usando graxa apropriada
para rolamentos. Consulte Figura 10.
Figura 10
7.4 Trocando o óleo
1. Drene todo o óleo e encha com óleo Enerpac
limpo a cada 12 meses. Se a bomba é utilizada
em um ambiente sujo, troque o óleo com mais
freqüência.
SOLUÇÕES DOS PROBLEMAS
Problema Causa Possível Solução
Cilindro não avança, avança
1. O nível de óleo no reservatório
1. Adicione óleo conforme as instruções de manutenção na página 50.
vagarosamente, ou avança
da bomba está muito baixo.
2. Feche a válvula de alívio
aos trancos
2. Válvula de alívio está aberta.
3. Verifique se todos os engates estão totalmente apertados.
3. Conexão hidráulica está solta.
4. Não tente levantar carga maior que a capacidade nominal do
4. Carga está acima da capacidade
cilindro
nominal do cilindro
5. Sangre o ar conforme as instruções na página 50.
5. Existe ar preso no sistema
6. Verifique se há avarias no cilindro. Faça com que o cilindro seja
6. Atrito na haste do cilindro
consertado por um técnico qualificado em hidráulica.
Cilindro avança, mas não
1. Conexão com vazamento
1. Verifique se todos as conexões estão apertadas e sem vazamento.
sustenta a pressão.
2. Vedações com vazamento
2. Localize o vazamento(s) e faça com que o equipamento seja
3. Bomba com vazamento interno
consertado por um técnico qualificado em hidráulica
3. Faça com que a bomba seja consertada por um técnico qualificado
em hidráulica
Cilindro não retorna, retorna
1. Válvula de alívio fechada
1. Abra a válvula de alívio
parcialmente ou retorna mais
2. Reservatório da bomba está
2. Drene o nível de óleo até a marca "full" (cheio). Consulte as
lentamente que o normal.
cheio demais
instruções na página 51 para acrescentar óleo.
3. Engate hidráulico está solto.
3. Verifique se todos os engates estão totalmente apertados.
4. Existe ar preso no sistema
4. Remova o ar conforme as instruções na página 50.
5. Diâmetro interno da mangueira
5. Use mangueiras hidráulicas com diâmetro maior
muito estreito
6. Faça com que o cilindro seja consertado por um técnico qualificado
6. Mola de retorno quebrada no
em hidráulica.
cilindro de retração ou outra
avaria no cilindro
51

L1763 Rev I 03/09
52
POWERFUL SOLUTIONS. GLOBAL FORCE.

EHF-65 1 6,500 [440] .16 [2.62] 22 [360]
P-18 1 2,850 [200] .16 [2.62] 22 [360]
P-25 1 2,500 [170] .58 [9.51] 231 [3786]
P-39, 1003 1 10,000 [700] .16 [2.62] 43 [705]
P-50 1 5,000 [340] .29 [4.75] 231 [3786]
P-51 1 3,000 [210] .25 [4.09] 50 [820]
P-141, 1001 1 10,000 [700] .055 [.90] 20 [328]
P-391, 1004 1 10,000 [700] .151 [2.47] 55 [900]
P-80, 1006 2 350 [25] 10,000 [700] .99 [16.23] .15 [2.46] 140 [2295]
P-84 2 350 [25] 10,000 [700] .99 [16.23] .15 [2.46] 140 [2295]
P-142, 1002 2 200 [14] 10,000 [700] .221 [3.62] .055 [.90] 20 [328]
P-142AL 2 200 [14] 10,000 [700] .221 [3.62] .055 [.90] 9.0 [148]
P-202 2 200 [14] 10,000 [700] .221 [3.62] .055 [.90] 55 [900]
P-77 2 200 [14] 10,000 [700] .63 [16.0] .094 [2.41] 47 [769]
P-392, 1005 2 200 [14] 10,000 [700] .687 [11.26] .151 [2.47] 55 [900]
P-392AL 2 200 [14] 10,000 [700] .687 [11.26] .151 [2.47] 55 [900]
P-462 2 200 [14] 10,000 [700] 7.69 [126.00] .29 [4.75] 462 [7572]
P-464 2 200 [14] 10,000 [700] 7.69 [126.00] .29 [4.75] 462 [7572]
P-801 2 350 [25] 10,000 [700] .99 [16.23] .15 [2.46] 250 [4095]
P-802 2 400 [28] 10,000 [700] 2.40 [39.34] .15 [2.46] 155 [2540]
P-842 2 400 [28] 10,000 [700] 2.40 [39.34] .15 [2.46] 155 [2540]
53

54
A
B
A
A
A
B
DB
BE
B
P842
C
C
B
D

55

56

57

58

POWERFUL SOLUTIONS. GLOBAL FORCE.
L1763 Rev I 03/09
59

60
A
B
A
A
A
B
DB
BE
B
P842
C
C
B
D

61

62

63

64

POWERFUL SOLUTIONS. GLOBAL FORCE.
Instruktionsblad - Svenska
Hydrauliska handpumpar
L1763 Svenska Rev I 03/09
Reservdelar till den här produkten finns tillgängliga på
Enerpacs webbsida på adressen www.enerpac.com, eller hos
din närmaste auktoriserade återförsäljare för Enerpac eller på
Enerpacs försäljningskontor.
1.0 VIKTIGA INSTRUKTIONER FÖRE ANVÄNDNING
Gör en visuell undersökning av alla komponenter för att se
eventuella transportskador. Transportskador täcks inte av
garantin. Om du upptäcker en transportskada skall du
omedelbart informera leverantören. Leverantören ansvarar för
alla kostnader för reparationer och byten som uppstår på
grund av transportskada.
SÄKERHET
FARA: Håll händer och fötter på behörigt
avstånd från cylinder och arbetsstycke för att
2.0 SÄKERHETSFRÅGOR
undvika personskada vid användningen.
Läs samtliga instruktioner, varningar
och meddelanden noggrant. Följ
VARNING: Överskrid inte utrustningens
samtliga säkerhetsföreskrifter för att
märkningsuppgifter. Försök aldrig lyfta en last
undvika personskada eller skada på egendom under
som väger mer än cylindern klarar.
användningen. Enerpac ansvarar inte för skador som uppstår
Överbelastning orsakar skada på utrustningen
på grund av oaktsam användning, brist på underhåll eller
och möjlig personskada. Cylindrarna är utformade för ett
felaktig användning och/eller systemhantering. Kontakta
maximalt tryck på 700 bar [10 000 psi]. Anslut inte ett uttag
Enerpac om du är osäker på något som gäller
eller en cylinder till en pump med högre tryckmärkning.
säkerhetsanvisningarna och hanteringen. Kontakta
återförsäljaren för att få en säkerhetsutbildning kostnadsfritt för
FARA: Ställ aldrig in en tryckbegräns ningsventil
Enerpacs hydraulik, om du aldrig tidigare har fått utbildning i
till ett högre tryck än det maximala tryck som
hydraulisk säkerhet för högtryckslösningar.
anges för pumpen. Högre inställningar kan leda
Om du underlåter att följa anvisningarna och varningarna kan
till skada på utrustningen och/eller personskada.
det leda till skada på utrustningen eller personskada.
Avlägsna inte tryckbegränsningsventilen.
Ett OBS-meddelande används för att indikera korrekta drifts-
VARNING: Systemets arbetstryck får inte
och underhållsprocedurer för att förhindra skada på
överskrida den komponent som har det lägsta
utrustningen eller egendom.
märktrycket i systemet. Installera tryckmätning i
En VARNING indikerar en potentiell fara som kräver korrekta
systemet för att övervaka arbetstrycket. Detta är
metoder eller övningar för att undvika personskada.
din möjlighet att få inblick i vad som händer i systemet.
FARA används endast om du riskerar allvarlig personskada
eller till och med livet på grund av en åtgärd eller brist på
OBS! Undvik att skada den hydrauliska slangen.
åtgärd.
Undvik skarpa böjar och att slangarna snor sig
VARNING: Använd rätt skyddsutrusning när du
när du drar dem. Om du använder en böjd eller
hanterar hydrauliska utrustningar.
snodd sladd kan det orsaka högt baktryck.
Skarpa böjar och öglor skadar slangen invändigt, vilket leder
till att den går sönder i förväg.
VARNING: Håll dig på avstånd från last som drivs
med hydraulik. En cylinder som används som en
Tappa inte tunga föremål på slangen. Om du
enhet för lyft av last skall aldrig användas som en
gör det kan det leda till invändiga skador på
enhet för hållning av last. Efter att lasten har höjts
slangens linor. Om det anläggs tryck på en skadad
eller sänkts måste den spärras mekaniskt.
slang kan det leda till att slangen går av.
VARNING: ANVÄND ENDAST FASTA DELAR
VIKTIGT: Lyft inte den hydrauliska utrustningen i
FÖR ATT HÅLLA LASTEN. Välj noggrant ut block
slangarna eller kopplingarna. Använd ett handtag
av stål eller trä som klarar av att stödja lasten.
eller något annat transportsätt.
Använd aldrig en hydraulcylinder som mellanlägg i någon lyft-
eller trycktillämpning.
65

OBS! Förvara den hydrauliska utrustningen på
Fördela lasten jämnt över hela sadelns yta.
behörigt avstånd från hög värme. Överdriven
Använd alltid en sadel för att skydda kolven.
värme kan leda till att packningar och tätningar
mjukas upp och att vätska läcker ut. Värmen försvagar även
slangen och packningarna. För optimal prestanda skall
utrustningen inte utsättas för temperaturer på 65 °C [150 °F]
VIKTIGT: Hydraulisk utrustning får endast
eller högre. Skydda slangar och cylindrar från svetsloppor.
underhållas av en hydraulisk fackman. Kontakta
dit närmaste auktoriserade ENERPAC Service
FARA: Hantera inte slangar med tryck. Olja som
Center för reparation och underhåll. Använd
läcker ut under tryck kan penetrera huden, vilket
endast ENERPAC-olja för att skydda garantin.
kan orsaka allvarlig skada. Om oljan skulle
penetrera huden skall du omedelbart uppsöka läkare.
VARNING: Ersätt slitna eller skadade delar
omedelbart med ENERPACS originaldelar. Andra
VARNING: Använd hydraulcylindrar i ett inkopplat
delar kan gå sönder och orsaka personskada eller
system. Använd aldrig en cylinder med oanslutna
skada på egendom. ENERPACS delar är
kopplingar. Om cylindrarna överbelastas kan
utformade för att passa perfekt och stå emot höga
komponenterna gå söner med katastrofalt resultat,
belastningar.
vilket kan orsaka allvarligpersonskada.
OBS! Använd alltid handtaget för att bära
pumpen. Om du bär pumpen i slangen kan det
VARNING: SÄKERSTÄLL ATT
leda till skada på slangen och/eller pumpen.
INSTALLATIONEN ÄR STABIL INNAN NÅGON
LAST LYFTES. Cylindrar bör placeras på en plan
yta som stöder lasten. Använd vid behov en
bottenplatta för extra stabilitet. Utför inga svetsarbeten eller
andra modifieringar för att montera cylindern till en
bottenplatta eller annat stöd.
Undvik situationer där lasten inte är direkt
centrerad mot cylinderkolven. Last som inte är
centrerad orsakar avsevärd belastning på
cylindrar och kolvar. Dessutom kan lasten halka eller ramla av,
vilket kan leda till allvarliga skador.
SPECIFICATIONER – Använd instruktionskortet för följande handpumpmodeller.
Specifikationer för handpumpar
Modell Typ Maximalt tryck Oljevolym per slag Oljevolym
(Hastighet) Märkning psi [bar] in3 [cm3] in3 [cm3]
EHF-65 1 6,500 [440] .16 [2.62] 22 [360]
P-18 1 2,850 [200] .16 [2.62] 22 [360]
P-25 1 2,500 [170] .58 [9.51] 231 [3786]
P-39, 1003 1 10,000 [700] .16 [2.62] 43 [705]
P-50 1 5,000 [340] .29 [4.75] 231 [3786]
P-51 1 3,000 [210] .25 [4.09] 50 [820]
P-141, 1001 1 10,000 [700] .055 [.90] 20 [328]
P-391, 1004 1 10,000 [700] .151 [2.47] 55 [900]
1:a steget 2:a steget 1:a steget 2:a steget
P-80, 1006 2 350 [25] 10,000 [700] .99 [16.23] .15 [2.46] 140 [2295]
P-84 2 350 [25] 10,000 [700] .99 [16.23] .15 [2.46] 140 [2295]
P-142, 1002 2 200 [14] 10,000 [700] .221 [3.62] .055 [.90] 20 [328]
P-142AL 2 200 [14] 10,000 [700] .221 [3.62] .055 [.90] 9.0 [148]
P-202 2 200 [14] 10,000 [700] .221 [3.62] .055 [.90] 55 [900]
P-77 2 200 [14] 10,000 [700] .63 [16.0] .094 [2.41] 47 [769]
P-392, 1005 2 200 [14] 10,000 [700] .687 [11.26] .151 [2.47] 55 [900]
P-392AL 2 200 [14] 10,000 [700] .687 [11.26] .151 [2.47] 55 [900]
P-462 2 200 [14] 10,000 [700] 7.69 [126.00] .29 [4.75] 462 [7572]
P-464 2 200 [14] 10,000 [700] 7.69 [126.00] .29 [4.75] 462 [7572]
P-801 2 350 [25] 10,000 [700] .99 [16.23] .15 [2.46] 250 [4095]
P-802 2 400 [28] 10,000 [700] 2.40 [39.34] .15 [2.46] 155 [2540]
P-842 2 400 [28] 10,000 [700] 2.40 [39.34] .15 [2.46] 155 [2540]
66

3.0 BESKRIVNING
3.2 Modeller P-18/P-39, 1003/P-80, 10
3.1 Modeller P-141, 1001; P-142, 1002;
P-84/P-801, P-77
P-202; P-391, 1004; P-392, 1005; P-802; P-842
Bild 2 och överensstämmande tabell visar
Bild 1 och korresponderande tabell visar
huvudkomponenterna för dessa modeller av handpumpar.
huvudkomponenterna för handpumpmodellerna P-141, P-
Modell P-84 är utrustad med en 4-vägs, 3-positionsventil för
142, P-202, P-391, P-392, P-802 och P-842. Den
användning med dubbelverkande cylindrar. Beställ satsen
dubbelverkande ventilen verkar som tryckbegräns ningsventil
PC-10 för att omvandla modellerna P-18 eller P-39 till
vid tryck i behållaren. Använd en sats för Återgång-till-tank för
fotmanövrerade modeller.
att erbjuda en åtkomstport för ventilerna till den bakre delen
av behållaren. Se tabell 1 för satsernas modellnummer.
Bild 1
Bild 2
VARNING: De här pumparna drivs med en
ventillös behållare. Om behållaren utsätts för
högt tryck kan det leda till bristningar, vilket
kan orsaka personskada och/eller skada på
utrustningen. Försök ALDRIG att fylla på mer olja i
behållaren än den har kapacitet för.
67
A
A
B
BE
P842
C
B
D
A
B
A
DB
B
C
Tabell 1
Fig. 1 P-141, 1001 P-142, 1002 P-202 P-391, 1004 P-392, 1005 P-802 P-842
A Avlastningsventil Avlastningsventil Avlastningsventil Avlastningsventil Avlastningsventil Avlastningsventil 4-vägsventil
B 1 /4 NPTF 1 /4 NPTF 1 /4 NPTF 3/8 NPTF 3/8 NPTF 3/8 NPTF 3/8 NPTF
Utloppsöppning Utloppsöppning Utloppsöppning Utloppsöppning Utloppsöppning Utloppsöppning Utloppsöppning
C Lufthål/Tank- Lufthål/Tank- Lufthål/Tank- Lufthål/Tank- Lufthål/Tank- Lufthål/Tank- Lufthål/Tank-
påfyllning påfyllning påfyllning påfyllning påfyllning påfyllning påfyllning
D Monterings- Monterings- — — — Monterings- Monterings-
skåror skåror skåror skåror
E — — — — — Tankretur —
Tankretur- PC-20 PC-20 PC-25 PC-25 PC-25 — —
Sats
Tabell 2
Fig. 2 P-18 P-39, 1003 P-77 P-80, 1006 P-84 P-801
A Avlastningsventil Avlastningsventil Avlastningsventil Avlastningsventil Avlastningsventil Avlastningsventil
B 3/8 NPTF 3/8 NPTF 3/8 NPTF 3/8 NPTF 3/8 NPTF 3/8 NPTF
Utloppsöppning Utloppsöppning Utloppsöppning Utloppsöppning Utloppsöppning Utloppsöppning
C Fyllnadsplugg Fyllnadsplugg Fyllnadsplugg Fyllnadsplugg Fyllnadsplugg Fyllnadsplugg
D — — — 1/4 NPTF
1/4 NPTF
—
Tankretur Tankretur

3.3 Modeller P-462, P-464
4.0 Installation
Bild 3 och tabellen nedan visar huvudfunktionerna för
4.1 Ansluta pumpen
handpumpmodellerna P-462, för användning med
1. Trä i slangen i pumpens utlopp. Använd ett och ett halvt
enkelverkande cylindrar, och P-464, för användning med
varv tejp i lämpligt material vid monteringen av slangen och
dubbelverkande cylindrar.
låt den första slangfibern vara helt fri från tejp för att
undvika att tejpen kommer i kontakt med hydraulsystemet.
Detta kan annars leda till skador. Klipp lösa delar.
2. Installera en tryckmätning för pumpen för högre säkerhet
och bättre kontroll.
3. Anslut slangen/slangarna till cylindern eller verktyget.
Obs! Anslut en slang från pumpen till cylindern för
enkelverkande cylindrar. Anslut två slangar för
dubbelverkande cylindrar. Anslut en slang från pumpens
tryckport till cylinderns. Anslut en annan slang från
pumpens tillbakagångsport till cylinderns.
4.2 Pumpens ventilsystem
Se tabellen nedan för att avgöra om pumpen ska drivas med
en behållare med eller utan ventilsystem. Ventildrivna pumpar
erbjuder något bättre prestanda. Vrid ventilen/locket en
fjärdedels varv moturs för att öppna den på pumpar med
Bild 3, Modeller P-462, P-464
behållare i nylon. Se pumpdekalen på andra pumpar. Stäng
ventilen före transport för att förhindra oljeläckage.
P-80,
Tabell 3
P-801 och P-84 ventileras genom att vrida ventilen
Fig. 3 P-462 P-464
moturs. För att stänga ventilationen, vrid ventilen
A 3/2-positionsventil 4/3-positionsventil
medurs.
B 3/8 NPTF Utloppsöppning 3/8 NPTF Utloppsöppning
C Lufthål/Tankpåfyllning Lufthål/Tankpåfyllning
D Handtagsklämma Handtagsklämma
VENTILATION
EHF-65 ........Utan ventilation
P-202 .....................Antingen
3.4 Modeller P-25, P-50, P-51
P-18.............Utan ventilation
P-391, 1004 ...........Antingen
Bild 4 visar handpumpmodellerna P-25 och P-50, som båda
P-25 .......................Antingen
P-77 .............Med ventilation
är utrustade med ett handtag som går att manövrera i båda
P-39, 1003...Utan ventilation
P-392, 1005 .......... Antingen
riktningarna. Bild 5 visar handpumpen P-51.
P-50 .......................Antingen
P-392AL.......Med ventilation
P-51 .............Med ventilation
Huvudkomponenterna för dessa pumpar anges i tabellen
P-462 ...........Med ventilation
P-80, 1006 .............Antingen
P-464 ...........Med ventilation
nedan.
P-84 .......................Antingen
P-801...........Utan ventilation
P-141, 1001 ...........Antingen
P-802 .....................Antingen
P-142, 1002 ...........Antingen
P-842 .....................Antingen
P-142AL ......Utan ventilation
4.3 Pumpposition
Se tabellen nedan för att avgöra korrekt arbetsposition för
pumpen (horsontellt eller vertikalt).
P-80 , P-801 och P-84
kan inte ventileras när de används i vertikalt läge.
ARBETSPOSITION
Bild 4, Modeller P-25, P-50
EHF-65. . . . . . . . . Antingen
P-202 . . . . . . . . . Antingen
P-18 . . . . . . . . . . . Antingen
P-391, 1004 . . . . Antingen
P-25 . . . Endast horisontellt
P-77 . . . . . . . . . . Antingen
P-39, 1003 . . . . . . Antingen
P-392, 1005 . . . . . Antingen
P-50 . . . Endast horisontellt
P-392AL . . . . . . . . Antingen
P-51 . . . Endast horisontellt
P-462 . . Endast horisontellt
P-80, 1006 . . . . . Antingen
P-464 . . Endast horisontellt
P-84 . . . . . . . . . . . Antingen
P-801 . . . . . . . . . Antingen
P-141, 1001 . . . . . Antingen
P-802 . . . . . . . . . . Antingen
P-142, 1002 . . . . . Antingen
P-842 . . . . . . . . . . Antingen
P-142AL . . . . . . . Antingen
Bild 5, Model P-51
Obs! Vid användning av pumpen i vertikalt läge måste slangen
peka nedåt, annars kan pumpen ta in luft och då byggs inte
Tabell 4 - 5
trycket upp ordentligt.
Fig. 4 & 5 P-25 P-50 P-51
A
Avlastningsventil Avlastningsventil Avlastningsventil
B 1/4 NPTF 1/4 NPTF 1/4 NPTF
Utloppsöppning Utloppsöppning Utloppsöppning
C Lufthål/Tank- Lufthål/Tank- Lufthål/Tank-
påfyllning påfyllning påfyllning
68

5.0 DRIFT
5.4 Enkelverkande tillämpningar med 3-vägs,
5.1 Innan du använder pumpen
manuell 2-positionsventil
1. Kontrollera att systemets alla kopplingar är täta och
1. Vrid ventilhandtaget till position 1 enligt bil 7.
befriade från läckage.
2. Manövrera pumphandtaget för att leverera hydraulisk kraft till
2. Kontrollera oljenivån i behållaren innan pumpen tas i bruk.
systemet. Trycket bibehålls tills ventilen växlas.
Se "Fylla på olja på pumpen", sidan 7.
3. För att tillåta återflöde till behållaren vrider du ventilhandtaget
till position 2.
OBS! Koppla ALDRIG in några tillägg till
pumphandtaget. Tillägg orsakar instabil drift
för pumpen.
VARNING: I vissa lägen kan det hända att
pumphandtaget "slår tillbaka". Stå alltid med
kroppen på pumpens sida, på avstånd från
handtagets rörelsebana.
Obs! För att minska handtagets kraft vid högt tryck är det
viktigt att dra korta drag. Maximal effekt uppnås vid slagets
sista 5°.
5.2 Använda tvåhastighetspumpar
Dessa pumpar erbjuder ett tvåstegsflöde. Utan belastning
arbetar pumpen i det första stadiet med högt flöde, vilket ger
snabb avancering. När lasten anbringas växlar pumpen
automatiskt till det andra stadiet för att bygga upp trycket. För
modellerna P-462 eller P-464 måste du omedelbart avbryta
pumpningen och höja handtaget för att växla till
Bild 7
högtrycksläget när pumptrycket uppnår 200 psi [14 bar]. För
modellen P-802 eller P-842 måste du omedelbart avbryta
5.5 Dubbelverkande tillämpningar med 4-vägs, manuell 3-
pumpningen och höja handtaget för att växla till
positionsventil
högtrycksläget när pumptrycket uppnår 400 psi [28 bar]. Efter
Pumpar med 4-vägs reglerventiler är utformade för att driva
att pumpen har växlat kräver pumpningen mindre kraft.
dubbelverkande cylindrar. Se bild 8 för ventilpositioner.
Obs! För att uppnå bästa prestanda ska du arbeta med
pumphandtaget under en måttlig hastighet med det första
Bild 8a
stadiet. Hög hastighet i första stadiet förhindrar pumpen från
att leverera full oljevolym.
5.3 Enkelverkande tillämpningar med avlastnings ventil
1. Stäng tryckbegrängninsventilen genom att vrida den
medurs, enligt Bild 6.
Bild 6
OBS: Stäng av avlastningsventil en med finarna.
En för hård åtdragning kan förstøura ventilen.
2. Manövrera pumphandtaget för att leverera hydraulisk
Bild 8b
kraft till systemet. Trycket bibehålls tills
tryckbegränsningsventilen öppnas.
3. Öppna tryckbegränsningsventilen (vrid moturs) för att
släppa på trycket och låta oljan flöda tillbaka in i behållaren.
69

1. Placera spaken på 4-vägsventilen för att välja funktion
5. Öppna tryckbegränsningsventilen (dra tillbaka om du
enligt följande:
använder en dragcylinder). Detta gör att luften som finns i
(A) Flöde till port "A"; port "B" sänder tillbaka flödet till
pumpbehållaren släpps ut.
behållaren
6. Upprepa stegen ovan enligt behov.
(N) Neutral; portarna "A" och "B" är spärrade
7. Tillsätt olja vid behov. Se sidan 7.
(B) Flöde till port "B"; port "A" sänder tillbaka flödet till
8. Återställ ventilen/locket till arbetsläge.
behållaren.
2. Sätt igång pumpen för att starta arbetet.
6.2 Pump med dubbelverkande cylinder (B)
3. Ändra ventilposition enligt behov.
1. Ventilera pumpbehållaren (endast för pumpar med ventil).
2. Placera pumpen högre än cylindern.
3. Ställ cylindern i horisontellt läge med öppna portar. Se
bild 9.
4. Öka och minska cylindern 2 till 3 gånger.
5. Upprepa stegen ovan enligt behov.
6. Tillsätt olja vid behov. Se sidan 7.
7. Återställ ventilen/locket till arbetsläge.
7.0 UNDERHÅLL
Använd endast Enerpacs hydraulolja för dessa pumpar för att
främja lång livslängd och skydda garantin. Viton och EPR
tätningssatser finns tillgängliga för vissa handpumpar.
Bild 8c
Kontakta din återförsäljare för Enerpac för ytterligare
information om produkterna och dess tillämpningsområden.
VARNING: Använd endast den dubbelverkande
cylindern när båda slangarna är anslutna till
7.1 Fylla på olja på pumpen
pumpen. Om kopplaren inte ansluts kan det bli
Kontrollera oljenivån regelbundet
för högt tryck bakom kopplaren, vilket kan
orsaka personskada och/eller skada på utrustningen.
VARNING: Tillsätt alltid oljan när cylindrarna
är helt förminskade (tillbakadragna om det är
5.6 Tryckbegränsningsventil
dragcylindrar). Annars kommer systemet att
Alla pumpar innehåller en fabriksinstallerad
innehålla mer olja än behållaren har kapacitet
tryckbegränsningsventil för att undvika övertryck i systemet.
för.
Det går att erhålla lägre tryckinställningar. Kontakta ditt
auktoriserade Enerpac Service Center.
1. Avlägsna ventilen från behållaren.
2. Fyll endast behållaren till nivåmarkeringen som visas på
6.0 LUFTUTSLÄPP
pumpen.
Att avlägsna luft ur hydraulsystemet hjälper cylindern att öka
3. Avlägsna luft från systemet vid behov. Se sidan 6.
och minska mjukt och smidigt (se bild 9).
Kontrollera oljenivån på nytt efter att du har luftat enheten.
4. Återställ ventilen till arbetsläge.
6.1 Pump med enkelverkande cylinder (A)
1. Ventilera pumpbehållaren (endast för pumpar med ventil)
Obs! Pumpar som inte har ventiler kräver luft i behållaren för
och stäng tryckbegränsningsventilen.
att fungera korrekt. Om behållaren är helt fylld bildas ett
2. Placera pumpen högre än cylindern.
vakuum som förhindrar olja från att flöda ut i pumpen.
3. Placera pumpen med kolvändan nedåt (uppåt om du
använder en dragcylinder) Se bild 9 nedan.
4. Starta pumpen för att dra ut cylindern helt (dra tillbaka om
du använder en dragcylinder)
luft
luft
Bild 9
70

7.2 Hålla oljeledningarna rena
När kopplarens halvor inte är anslutna skall du alltid skruva på
dammkåpor. Vidta alla försiktighetsåtgärder som är möjliga,
eftersom smuts kan orsaka att pumpen, cylindern eller
ventilen slutar fungera.
7.3 Smörja pumpen
För att förlänga livslängden för pumpen och förbättra
prestandan skall du smörja tappen (A), krysstappen (B) och
kolvbotten (C) regelbundet med en roller insmord i lagerfett.
Se bild 10.
Bild 10
7.4 Byta olja
1. Dränera all olja och fyll på ny och ren olja från Enerpac i
12-månadersintervall. Om pumpen används i smutsiga
miljöer är det lämpligt att byta olja oftare.
2. Avlägsna ventilen eller pluggen från behållaren.
3. Luta pumpen för att tömma ut all olja.
4. Fyll endast behållaren till nivåmarkeringen som visas på
pumpen.
5. Avlägsna ventilen eller pluggen.
6. Hantera oljeavfallet på ett korrekt sätt.
8.0 FELSÖKNING
Följande information är avsedd att vara en hjälp för att
fastställa ett existerande problem. Kontakta dit närmaste
auktoriserade ENERPAC Service Center för reparation och
underhåll.
FELSÖKNING
Problem Möjlig orsak Lösning
Cylindern ökar inte i volym,
1. Oljenivån i pumpbehållaren är låg.
1. Fyll på olja enligt instruktionerna under
den ökar långsamt eller den
Underhåll på sidan 6.
ökar ryckvis.
2. Tryckbegränsningsventilen är öppen.
2. Stäng tryckbegränsningsventilen.
3. Lös hydraulisk kopplare.
3. Kontrollera att alla kopplare är helt åtdragna.
4. Lasten är för tung.
4. Försök inte lyfta mer än den kraft som anges.
5. Luft i systemet.
5. Släpp ut luft enligt instruktionerna under på sidan 6.
6. Cylinderkolv kärvar.
6. Kontrollera om cylindern har några skador. Se till att
cylindern underhålls av en kvalificerad hydraultekniker.
Att avlägsna luft ur
1. Läckande anslutning.
1. Kontrollera att alla anslutningar är fria från läckage.
hydraulsystemet hjälper
2. Läckande packningar.
2. Lokalisera läckage och se till att en hydraulisk tekniker
cylindern att öka och
reparerar utrustningen.
minska mjukt och smidigt
3. Internt läckage i pumpen.
3. Se till att pumpen underhålls av en kvalificerad
(se bild 9).
hydraultekniker.
Cylindern minskar inte,
1. Tryckbegränsningsventilen är stängd.
1. Öppna tryckbegränsningsventilen.
minskar delvis eller minskar
2. Pumpens behållare är överfylld.
2. Töm oljenivån till markeringen för fullt. Se sidan 7 för
långsammare än normalt.
instruktioner om hur du fyller på olja.
3. Lös hydraulisk kopplare.
3. Kontrollera att alla kopplare är helt åtdragna.
4. Luft i systemet.
4. Släpp ut luft enligt instruktionerna under på sidan 6.
5. Slang I.D. för trång.
5. Använd en hydraulslang med större diameter.
6. Cylinderåtergångsfjädern är trasig eller
6. Se till att cylindern underhålls av en kvalificerad
det finns en annan cylinderskada.
hydraultekniker.
71

Φύλλο οδηγιών
Υδραυλικές χειραντλίες
POWERFUL SOLUTIONS. GLOBAL FORCE.
L1763 Rev I 03/09
Τα φύλλα ανταλλακτικών εισκευών (REPAIR
PARTS SHEETS) για το ροόν αυτό διατίθενται αό
το διαδικτυακό τόο της ENERPAC στη διεύθυνση
WWW.ENERPAC.COM ή αό το λησιέστερό σας
Εξουσιοδοτηµένο κέντρο σέρβις της ENERPAC ή
γραφείο ωλήσεων ENERPAC.
1.0 ΣΗΜΑΝΤΙΚΕΣ ΟΔΗΓΙΕΣ ΠΑΡΑΛΑΒΗΣ
Ειθεωρήστε οτικά όλα τα δοµικά στοιχεία
για τυχόν ζηµιές αό τη µεταφορά. Οι ζηµιές
αό τη µεταφορά δεν καλύτονται αό την
εγγύηση. Αν βρεθεί ζηµιά αό τη µεταφορά,
ειδοοιήστε αµέσως το µεταφορέα. Ο
ΠΡΟΕΙΔΟΠΟΙΗΣΗ: Φοράτε σωστό
µεταφορέας είναι υεύθυνος για όλες τις
εξολισµό ατοµικής ροστασίας
δαάνες εισκευής και αντικατάστασης ου
όταν χειρίζεστε υδραυλικό
ροκύτουν αό ζηµιές αό τη µεταφορά.
εξολισµό.
Η ΑΣΦΑΛΕΙΑ ΠΡΟΗΓΕΙΤΑΙ
ΠΡΟΕΙΔΟΠΟΙΗΣΗ: Διατηρείτε
αόσταση ασφαλείας αό φορτία
2.0 ΘΕΜΑΤΑ ΑΣΦΑΛΕΙΑΣ
τα οοία υοστηρίζονται αό
υδραυλικό σύστηµα. Ένας κύλινδρος,
Διαβάστε ροσεκτικά
όταν χρησιµοοιείται ως διάταξη ανύψωσης
όλες τις οδηγίες,
φορτίου, δεν θα ρέει οτέ να
ροειδοοιήσεις και
χρησιµοοιείται ως διάταξη συγκράτησης
εισηµάνσεις ροσοχής. Τηρείτε όλα τα
φορτίου. Μετά την ανύψωσή του ή το
ρολητικά µέτρα ασφαλείας για να
χαµήλωµά του, το φορτίο ρέει άντα να
αοφύγετε τραυµατισµό ή υλική ζηµιά κατά τη
ασφαλίζεται µηχανικά.
λειτουργία του συστήµατος. Η Enerpac δεν
µορεί να είναι υεύθυνη για οοιαδήοτε
ΠΡΟΕΙΔΟΠΟΙΗΣΗ: ΧΡΗΣΙΜΟΠΟΙΕΙΤΕ
ζηµία ή τραυµατισµό ροκύψει αό µη
ΜΟΝΟ ΣΤΑΘΕΡΑ ΤΜΗΜΑΤΑ ΓΙΑ ΤΗ
ασφαλή χρήση του ροόντος, έλλειψη
ΣΥΓΚΡΑΤΗΣΗ ΦΟΡΤΙΩΝ. Ειλέγετε
συντήρησης ή λανθασµένο χειρισµό ροόντος
ροσεκτικά χαλύβδινα ή ξύλινα τµήµατα ου
και/ή συστήµατος. Εικοινωνήστε µε την
έχουν την ικανότητα υοστήριξης του
Enerpac σε ερίτωση αµφιβολίας ως ρος τα
φορτίου. Ποτέ µη χρησιµοοιήσετε υδραυλικό
ρολητικά µέτρα ασφαλείας και τους
κύλινδρο ως διάταξη σφήνωσης ή ως
χειρισµούς. Αν δεν έχετε οτέ εκαιδευτεί
αοστάτη σε οοιαδήοτε εφαρµογή
στην ασφάλεια υδραυλικών συστηµάτων
ανύψωσης ή συµίεσης.
υψηλής ίεσης, εικοινωνήστε µε τον τοικό
ΚΙΝΔΥΝΟΣ: Για να αοφύγετε
σας διανοµέα ή το τοικό κέντρο σέρβις για
τραυµατισµό διατηρείτε τα χέρια
δωρεάν σεµινάριο ασφάλειας υδραυλικών
και τα όδια µακριά αό τον
συστηµάτων αό την Enerpac.
κύλινδρο και το τεµάχιο εργασίας
Μη τήρηση των κατωτέρω εισηµάνσεων
κατά τη διάρκεια των χειρισµών.
ροσοχής και ροειδοοιήσεων θα µορούσε
να ροκαλέσει ζηµιά στον εξολισµό και
ΠΡΟΕΙΔΟΠΟΙΗΣΗ: Μην υερβείτε τις
τραυµατισµό ατόµων.
ονοµαστικές τιµές δυναµικότητας του
εξολισµού. Ποτέ µην ροσαθήσετε
Μια εισήµανση µε τη λέξη ΠΡΟΣΟΧΗ
να ανυψώσετε φορτίο το οοίο
χρησιµοοιείται για να δείξει σωστές διαδικασίες
ζυγίζει ερισσότερο αό την ανυψωτική
και ρακτικές χειρισµού ή συντήρησης ώστε να
ικανότητα του κυλίνδρου. Η υερφόρτωση
ροληφθεί ζηµιά ή και καταστροφή του
ροκαλεί βλάβη του εξολισµού και
εξολισµού ή άλλων εριουσιακών στοιχείων.
ενδεχοµένως τραυµατισµό ατόµων. Οι
κύλινδροι είναι σχεδιασµένοι για µέγιστη ίεση
Μια ΠΡΟΕΙΔΟΠΟΙΗΣΗ εισηµαίνει έναν
700 bar [10.000 psi]. Μη συνδέσετε γρύλο ή
ενδεχόµενο κίνδυνο ο οοίος ααιτεί σωστές
κύλινδρο σε αντλία µε υψηλότερη ονοµαστική
διαδικασίες ή ρακτικές για την αοφυγή
τιµή ίεσης.
τραυµατισµού ατόµων.
ΚΙΝΔΥΝΟΣ: Ποτέ µη ρυθµίσετε τη
Μια εισήµανση µε τη λέξη ΚΙΝΔΥΝΟΣ
βαλβίδα ανακούφισης σε ίεση
χρησιµοοιείται µόνον όταν κάοια ενέργειά
υψηλότερη αό τη µέγιστη
σας ή αουσία ενέργειάς σας µορεί να
ονοµαστική ίεση της αντλίας. Οι
ροκαλέσει σοβαρό τραυµατισµό ή και θάνατο.
υψηλότερες ρυθµίσεις µορεί να έχουν ως

αοτέλεσµα ζηµιά στον εξολισµό και/ή
ΣΗΜΑΝΤΙΚΟ: Μην ανυψώνετε
τραυµατισµό ατόµων. Μην αφαιρέσετε τη
υδραυλικό εξολισµό αό τους
βαλβίδα ανακούφισης.
εύκαµτους σωλήνες ή τους
εριστρεφόµενους συζεύκτες.
ΠΡΟΕΙΔΟΠΟΙΗΣΗ: Η ίεση λειτουργίας
Χρησιµοοιείτε τη λαβή µεταφοράς ή άλλα
του συστήµατος δεν ρέει να
µέσα ασφαλούς µεταφοράς.
υερβεί την ονοµαστική τιµή ίεσης
του εξαρτήµατος µε τη µικρότερη
ΠΡΟΣΟΧΗ: Κρατάτε τον υδραυλικό
ονοµαστική τιµή ίεσης στο σύστηµα.
εξολισµό µακριά αό φλόγες και
Τοοθετήστε όργανα ένδειξης ίεσης στο
θερµότητα. Η υερβολική θερµότητα
σύστηµα για να αρακολουθείτε την ίεση
θα µαλακώσει τα αρεµβύσµατα και
λειτουργίας. Αυτά είναι το αράθυρό σας σε
τις στεγανοοιήσεις, µε αοτέλεσµα διαρροές
ότι συµβαίνει µέσα στο σύστηµα.
του υγρού. Η θερµότητα είσης εξασθενεί τα
υλικά των εύκαµτων σωλήνων και τα
ΠΡΟΣΟΧΗ: Αοφεύγετε την ρόκληση
αρεµβύσµατα. Για βέλτιστη αόδοση µην
ζηµιάς σε εύκαµτο υδραυλικό
εκθέσετε τον εξολισµό σε θερµοκρασίες άνω
σωλήνα. Αοφεύγετε αότοµες
αό 65 °C [150 °F]. Προστατεύετε τους
κυρτώσεις και τσακίσµατα κατά τη
εύκαµτους σωλήνες και τους κυλίνδρους αό
δροµολόγηση εύκαµτων υδραυλικών
ιτσιλιές συγκόλλησης.
σωλήνων. Η χρήση αότοµα κυρτωµένου ή
τσακισµένου εύκαµτου σωλήνα θα ροκαλέσει
ΚΙΝΔΥΝΟΣ: Μη χειρίζεστε εύκαµτους
ολύ έντονη ίεση αντίθλιψης. Οι αότοµες
σωλήνες υό ίεση. Λάδι ου τυχόν
κυρτώσεις και τα τσακίσµατα θα ροκαλέσουν
διαφύγει υό ίεση µορεί να
εσωτερική ζηµιά στον εύκαµτο σωλήνα µε
διεισδύσει στο δέρµα, ροκαλώντας σοβαρό
αοτέλεσµα ρόωρη βλάβη του.
τραυµατισµό. Αν εισχωρήσει λάδι κάτω αό το
Μη ρίχνετε βαριά αντικείµενα άνω στον
δέρµα, δείτε άµεσα γιατρό.
εύκαµτο σωλήνα. Ένα αότοµο χτύηµα
µορεί να ροκαλέσει εσωτερική ζηµιά
ΠΡΟΕΙΔΟΠΟΙΗΣΗ: Χρησιµοοιείτε
στους συρµάτινους κλώνους του
υδραυλικούς κυλίνδρους µόνο σε
εύκαµτου σωλήνα. Η εφαρµογή ίεσης σε έναν
συζευγµένο σύστηµα. Ποτέ µη
εύκαµτο σωλήνα ου έχει υοστεί ζηµιά µορεί
χρησιµοοιείτε έναν κύλινδρο µε µη
να ροκαλέσει τη θραύση του.
συνδεδεµένους συζεύκτες. Αν ο κύλινδρος
υερφορτωθεί εξαιρετικά, τα δοµικά του στοιχεία
µορεί να υοστούν καταστροφική βλάβη και να
ροκληθεί σοβαρότατος τραυµατισµός ατόµων.
ΠΡΟΔΙΑΓΡΑΦΕΣ – Χρησιµοοιήστε το αρόν φύλλο οδηγιών για τα ακόλουθα µοντέλα χειραντλίας.
Προδιαγραφές χειραντλίας
Μοντέλο Τύος Μέγιστη ίεση Όγκος λαδιού ανά διαδροµή Ωφέλιµη οσότητα λαδιού
(ταχύτητες)
Ονοµαστική τιµή σε
psi [bar] in
3
[cm
3
]in
3
[cm
3
]
EHF-65 1 6,500 [440] .16 [2.62] 22 [360]
P-18 1 2,850 [200] .16 [2.62] 22 [360]
P-25 1 2,500 [170] .58 [9.51] 231 [3786]
P-39, 1003 1 10,000 [700] .16 [2.62] 43 [705]
P-50 1 5,000 [340] .29 [4.75] 231 [3786]
P-51 1 3,000 [210] .25 [4.09] 50 [820]
P-141, 1001 1 10,000 [700] .055 [.90] 20 [328]
P-391, 1004 1 10,000 [700] .151 [2.47] 55 [900]
Βαθµίδα
1
Βαθµίδα
2
Βαθµίδα
1
Βαθµίδα
2
P-80, 1006 2 350 [25] 10,000 [700] .99 [16.23] .15 [2.46] 140 [2295]
P-84 2 350 [25] 10,000 [700] .99 [16.23] .15 [2.46] 140 [2295]
P-142, 1002 2 200 [14] 10,000 [700] .221 [3.62] .055 [.90] 20 [328]
P-142AL 2 200 [14] 10,000 [700] .221 [3.62] .055 [.90] 9.0 [148]
P-202 2 200 [14] 10,000 [700] .221 [3.62] .055 [.90] 55 [900]
P-77 2 200 [14] 10,000 [700] .63 [16.0] .094 [2.41] 47 [769]
P-392, 1005 2 200 [14] 10,000 [700] .687 [11.26] .151 [2.47] 55 [900]
P-392AL 2 200 [14] 10,000 [700] .687 [11.26] .151 [2.47] 55 [900]
P-462 2 200 [14] 10,000 [700] 7.69 [126.00] .29 [4.75] 462 [7572]
P-464 2 200 [14] 10,000 [700] 7.69 [126.00] .29 [4.75] 462 [7572]
P-801 2 350 [25] 10,000 [700] .99 [16.23] .15 [2.46] 250 [4095]
P-802 2 400 [28] 10,000 [700] 2.40 [39.34] .15 [2.46] 155 [2540]
P-842 2 400 [28] 10,000 [700] 2.40 [39.34] .15 [2.46] 155 [2540]
73

ΠΡΟΕΙΔΟΠΟΙΗΣΗ: ΠΡΙΝ ΤΗΝ ΑΝΥΨΩΣΗ
ΠΡΟΣΟΧΗ: Χρησιµοοιείτε άντα τη λαβή
ΦΟΡΤΙΟΥ ΝΑ ΒΕΒΑΙΩΝΕΣΤΕ ΟΤΙ Η
για να µεταφέρετε την αντλία. Η µεταφορά
ΕΓΚΑΤΑΣΤΑΣΗ ΕΙΝΑΙ ΕΥΣΤΑΘΗΣ. Οι
της αντλίας αό τον εύκαµτο σωλήνα
κύλινδροι θα ρέει να τοοθετηθούν σε
µορεί να ροκαλέσει ζηµιά στον
είεδη ειφάνεια ου µορεί να
εύκαµτο σωλήνα και/ή την αντλία
.
υοστηρίξει το φορτίο. Όου αυτό έχει εφαρµογή,
χρησιµοοιήστε µια βάση κυλίνδρου για ρόσθετη
3.0 ΠΕΡΙΓΡΑΦΗ
σταθερότητα. Μη συγκολλάτε τον κύλινδρο και µην
τον τροοοιείτε µε άλλο τρόο για να
3.1 Μοντέλα P-141, 1001; P-142, 1002;
τοοθετήσετε βάση ή άλλο υοστήριγµα.
P-202; P-391, 1004; P-392, 1005;
Αοφεύγετε καταστάσεις όου τα
P-802; P-842
φορτία δεν είναι α' ευθείας
Η εικόνα 1 και ο αντίστοιχος ίνακας δείχνουν τα
κεντραρισµένα στο έµβολο του
κύρια δοµικά στοιχεία µιας χειραντλίας µοντέλου
κυλίνδρου. Τα εκτός κέντρου φορτία
P-141, P-142, P-202, P-391, P-392, P-802 και P-
ροκαλούν άσκοη καταόνηση στους
842. Το διλής ενέργειας καάκι
κυλίνδρους και τα έµβολα. Ειλέον, το φορτίο
εξαερισµού/λήρωσης λειτουργεί ως βαλβίδα
µορεί να γλιστρήσει ή να έσει, µε ιθανόν
ανακούφισης ίεσης σε ερίτωση µη ηθεληµένης
εικίνδυνες συνέειες.
συµίεσης του ρεζερβουάρ. Για να αρέχεται ένα
Κατανέµετε το φορτίο οµοιόµορφα σε
στόµιο ρόσβασης στο ίσω µέρος του ρεζερβουάρ
όλη την ειφάνεια της έδρας στήριξης
για αοµακρυσµένες βαλβίδες, χρησιµοοιήστε ένα
φορτίου. Πάντα χρησιµοοιείτε έδρα
κιτ ειστροφής στη δεξαµενή. Βλ. τον Πίνακα 1 για
στήριξης φορτίου για την ροστασία
αριθµούς µοντέλων κιτ.
του εµβόλου.
ΣΗΜΑΝΤΙΚΟ: Το σέρβις στον υδραυλικό
εξολισµό ρέει να διενεργείται µόνον
αό εξειδικευµένο τεχνικό υδραυλικών
συστηµάτων. Για υηρεσίες εισκευών,
εικοινωνήστε µε το τοικό σας Εξουσιοδοτηµένο
κέντρο σέρβις της ENERPAC. Για ροστασία της
εγγύησής σας, χρησιµοοιείτε µόνο λάδι ENERPAC.
ΠΡΟΕΙΔΟΠΟΙΗΣΗ: Αντικαθιστάτε άµεσα
µε γνήσια ανταλλακτικά ENERPAC τα
εξαρτήµατα ου έχουν φθαρεί ή
υοστεί ζηµιά. Τα ανταλλακτικά
συνηθισµένης οιότητας του εµορίου θα
σάσουν ροκαλώντας τραυµατισµό ατόµων και
υλικές ζηµιές. Τα ανταλλακτικά ENERPAC έχουν
σχεδιαστεί ώστε να ταιριάζουν σωστά και να
αντέχουν υψηλά φορτία.
Εικόνα 1
A
A
B
BE
P842
C
B
D
Πίνακας 1
Εικόνα 1 P-141, 1001 P-142, 1002 P-202 P-391, 1004 P-392, 1005 P-802 P-842
A
Βαλβίδα αελευθέρωσης Βαλβίδα αελευθέρωσης Βαλβίδα αελευθέρωσης Βαλβίδα αελευθέρωσης Βαλβίδα αελευθέρωσης Βαλβίδα αελευθέρωσης 4-οδη βαλβίδα
B 1 /4 NPTF 1 /4 NPTF 1 /4 NPTF 3/8 NPTF 3/8 NPTF 3/8 NPTF 3/8 NPTF
Στόµιο εξόδου Στόµιο εξόδου Στόµιο εξόδου Στόµιο εξόδου Στόµιο εξόδου Στόµιο εξόδου Στόµιο εξόδου
C
Καάκι Καάκι Καάκι Καάκι Καάκι Καάκι Καάκι
εξαερισµού/λήρωσης εξαερισµού/λήρωσης εξαερισµού/λήρωσης εξαερισµού/λήρωσης εξαερισµού/λήρωσης εξαερισµού/λήρωσης
εξαερισµού/λήρωσης
D Βάση
Υοδοχές
—— —
Υοδοχές Υοδοχές
στερέωσης στερέωσης στερέωσης
E — — — — —
Στόµιο ειστροφής
—
στη δεξαµενή
Κιτ
ειστροφής PC-20 PC-20 PC-25 PC-25 PC-25 — —
στη
δεξαµενή
Πίνακας 2
Εικόνα 2 P-18 P-39, 1003 P-77 P-80, 1006 P-84 P-801
A
Βαλβίδα αελευθέρωσης Βαλβίδα αελευθέρωσης Βαλβίδα αελευθέρωσης Βαλβίδα αελευθέρωσης Βαλβίδα αελευθέρωσης Βαλβίδα αελευθέρωσης
B 3/8 NPTF 3/8 NPTF 3/8 NPTF 3/8 NPTF 3/8 NPTF 3/8 NPTF
Στόµιο εξόδου Στόµιο εξόδου Στόµιο εξόδου Στόµιο εξόδου Στόµιο εξόδου Στόµιο εξόδου
C
Τάα λήρωσης Τάα λήρωσης Τάα λήρωσης Τάα λήρωσης Τάα λήρωσης Τάα λήρωσης
D — — — 1/4 NPTF
—
1/4 NPTF
Στόµιο ειστροφής Στόµιο ειστροφής
στη δεξαµενή στη δεξαµενή
74

3.2 Μοντέλα P-18/P-39, 1003/P-80,
1006/P-84/P-801, P-77
Πίνακας 3
Η εικόνα 2 και ο αντίστοιχος ίνακας ιο κάτω
Εικόνα 3 P-462 P-464
δείχνουν τα κύρια δοµικά στοιχεία αυτών των
A
3-οδη 2 θέσεων βαλβίδα 3-οδη 2 θέσεων βαλβίδα
µοντέλων χειραντλιών. Το µοντέλο P-84 είναι
B 3/8 NPTF
Στόµιο εξόδου
3/8 NPTF
Στόµιο εξόδου
εξολισµένο µε 4-οδη, 3 θέσεων βαλβίδα για χρήση
C
Τάαεξαερισµού/λήρωσης
Τάαεξαερισµού/λήρωσης
µε κυλίνδρους διλής ενέργειας. Για να µετατρέψετε
D Ασφάλεια λαβής Ασφάλεια λαβής
τα µοντέλα P-18 ή P-39 για λειτουργία µε το όδι,
αραγγείλετε το κιτ PC-10.
3.4 Models P-25, P-50, and P-51
Figure 4 shows hand pump models P-25 and P-50,
both of which are equipped with a handle that
operates in both directions. Figure 5 shows the P-51
hand pump. The main components of these pumps
are listed in the table below.
Εικόνα 4, Μοντέλα P-25 / P-50
Εικόνα 2
ΠΡΟΕΙΔΟΠΟΙΗΣΗ: Οι αντλίες αυτές
χρησιµοοιούνται µε ρεζερβουάρ
χωρίς εξαερισµό. Αν ασκηθεί υψηλή
ίεση στο ρεζερβουάρ, το
ερίβληµα µορεί να σάσει, ροκαλώντας
τραυµατισµό ατόµων και/ή ζηµιά σε
εξολισµό. ΠΟΤΕ µην ροσαθήσετε να
ειστρέψετε στο ρεζερβουάρ ερισσότερο
λάδι αό ότι έχει τη δυνατότητα να δεχτεί.
Εικόνα 5, Μοντέλο P-51
3.3 Μοντέλα P-462/P-464
Πίνακας 4 / 5
Η εικόνα 3 και ο ιο κάτω ίνακας δείχνουν τα
Εικόνα 4/5 P-25 P-50 P-51
κύρια χαρακτηριστικά των µοντέλων P-462
Βαλβίδα Βαλβίδα Βαλβίδα
χειραντλιών, για χρήση µε κυλίνδρους µονής
A
αελευθέρωσης
αελευθέρωσης
αελευθέρωσης
B 1/4 NPTF 1/4 NPTF 1/4 NPTF
ενέργειας και P-464, για χρήση µε κυλίνδρους
Στόµιο εξόδου Στόµιο εξόδου
t
Στόµιο εξόδου
διλής ενέργειας.
C
Καάκι Καάκι Καάκι
εξαερισµού/ εξαερισµού/ εξαερισµού/
λήρωσης λήρωσης λήρωσης
4.0 Εγκατάσταση
4.1
Σύνδεση της αντλίας
1. Βιδώστε τον εύκαµτο σωλήνα στην έξοδο
της αντλίας. Χρησιµοοιήστε 1-1/2
τύλιγµα ταινίας Teflon (ή κατάλληλο υλικό
στεγανοοίησης σειρωµάτων) άνω στο
εξάρτηµα σύνδεσης του εύκαµτου
σωλήνα, αφήνοντας ολόκληρη την ρώτη
σείρα χωρίς ταινία για να βεβαιωθείτε
ότι η ταινία δεν θα κοεί µέσα στο
υδραυλικό σύστηµα ροξενώντας ζηµιά.
Εικόνα 3, Μοντέλα P-462, P-464
Κόψτε τα χαλαρά άκρα.
A
B
A
DB
B
C
75

2. Εγκαταστήστε ένα µανόµετρο εν σειρά αό
5.0 ΛΕΙΤΟΥΡΓΙΑ
την αντλία για ρόσθετη ασφάλεια και
καλύτερο έλεγχο.
5.1 Πριν τη χρήση της αντλίας
3. Συνδέστε τον(τους) εύκαµτο(υς) σωλήνα(-
1. λέγξτε όλα τα εξαρτήµατα και τις συνδέσεις
ες) στον κύλινδρο ή το εργαλείο σας.
της αντλίας για να βεβαιωθείτε για
ΣΗΜΕΙΩΣΗ: Για κυλίνδρους µονής ενέργειας,
στεγανότητα και αουσία διαρροών.
συνδέστε έναν εύκαµτο σωλήνα αό την
2. Ελέγξτε τη στάθµη του λαδιού στο
αντλία στον κύλινδρο. Για κυλίνδρους διλής
ρεζερβουάρ ριν θέσετε σε λειτουργία την
ενέργειας, συνδέστε δύο εύκαµτους σωλήνες.
αντλία. Βλ. "Προσθήκη λαδιού στην αντλία"
Συνδέστε έναν εύκαµτο σωλήνα αό το
στη σελίδα 7.
στόµιο ίεσης της αντλίας στο στόµιο ίεσης
ΠΡΟΣΟΧΗ: ΠΟΤΕ µην ροσθέσετε
του κυλίνδρου. Συνδέστε έναν άλλο εύκαµτο
ροεκτάσεις στη λαβή της αντλίας. Οι
σωλήνα αό το στόµιο εαναφοράς της
ροεκτάσεις µορεί να έχουν ως
αντλίας στο στόµιο εαναφοράς του
αοτέλεσµα ασταθή λειτουργία της αντλίας.
κυλίνδρου.
ΠΡΟΕΙΔΟΠΟΙΗΣΗ: Σε ορισµένες καταστάσεις η
4.2 Εξαερισµός αντλίας
λαβή της αντλίας µορεί να "κλωτσήσει".
Δείτε τον αρακάτω ίνακα για να
Πάντα κρατάτε το σώµα σας λευρικά της
ροσδιορίσετε αν η αντλία σας θα ρέει να
αντλίας, εκτός της γραµµή δύναµης της λαβής.
χρησιµοοιηθεί µε ρεζερβουάρ µε ή χωρίς
ΣΗΜΕΙΩΣΗ: Για να µειώσετε την ααιτούµενη
εξαερισµό. Οι αντλίες µε εξαερισµό αρέχουν
ροσάθεια κίνησης της λαβής σε υψηλές
ελαφρά καλύτερες ειδόσεις. Για αντλίες µε
ιέσεις, χρησιµοοιείτε µικρές διαδροµές. Η
νάιλον ρεζερβουάρ, εριστρέψτε το καάκι
µέγιστη µόχλευση ειτυγχάνεται στις
εξαερισµού/λήρωσης 1/4 της στροφής
τελευταίες 5° της διαδροµής.
αριστερόστροφα για να ειτύχετε εξαερισµό.
Για άλλες αντλίες δείτε το αυτοκόλλητο άνω
5.2 Χρήση αντλιών δύο ταχυτήτων
στην αντλία. Κλείστε το άνοιγµα εξαερισµού
ριν τη µεταφορά της αντλίας για την
Οι αντλίες αυτές αρέχουν ροή 2 βαθµίδων.
αοφυγή διαρροής λαδιού.
Χωρίς φορτίο, η αντλία λειτουργεί στην
ρώτη βαθµίδα υψηλής ροής για γρήγορη
Εξαερισµός αντλίας
ροώθηση. Όταν γίνει εαφή µε το φορτίο, η
EHF-65
.....χωρίς εξαερισµό
P-202 ...........
οοιαδήοτε
αντλία µεταβαίνει αυτόµατα στη δεύτερη
P-18.........
χωρίς εξαερισµό
P-391, 1004 .
οοιαδήοτε
βαθµίδα για αύξηση της ίεσης. Για τα
P-25 .............
οοιαδήοτε
P-77..............
µε εξαερισµό
µοντέλα P-462 ή P-464, όταν η ίεση της
P-39, 1003
..
χωρίς εξαερισµό
P-392, 1005
οοιαδήοτε
αντλίας φθάσει ερίου 200 psi [14 bar],
P-50 .............
οοιαδήοτε
P-392AL .......
µε εξαερισµό
P-51..............
µε εξαερισµό
P-462............
µε εξαερισµό
ρέει να σταµατήσετε στιγµιαία την
P-80, 1006 ...
οοιαδήοτε
P-464............
µε εξαερισµό
άντληση και να ανυψώσετε τη λαβή για
P-84 .............
οοιαδήοτε
P-801.......
χωρίς εξαερισµό
µετάβαση στη βαθµίδα υψηλής ίεσης. Για
P-141, 1001 .
οοιαδήοτε
P-802 ...........
οοιαδήοτε
P-142, 1002 .
οοιαδήοτε
P-842 ...........
οοιαδήοτε
µοντέλα P-802 ή
P-142AL ..
χωρίς εξαερισµό
P-842, όταν η ίεση της αντλίας φθάσει
ερίου 400 psi [28 bar], ρέει να
4.3 Θέση αντλίας
σταµατήσετε στιγµιαία την άντληση και να
Δείτε τον ιο κάτω ίνακα για να
ανυψώσετε τη λαβή για µετάβαση στη
ροσδιορίσετε τη σωστή θέση λειτουργίας για
βαθµίδα υψηλής ίεσης. Μετά την αλλαγή
την αντλία σας, οριζόντια ή κατακόρυφη.
βαθµίδας, η άντληση ααιτεί µικρότερη
ροσάθεια.
Θέση αντλίας
ΣΗΜΕΙΩΣΗ: Για καλύτερη αόδοση, χειρίζεστε
EHF-65 . . . .
οιαδήοτε
P-202 . . . . .
οιαδήοτε
τη λαβή της αντλίας µε µέτρια ταχύτητα κατά
P-18 . . . . . . .
οιαδήοτε
P-391, 1004
οιαδήοτε
τη διάρκεια της ρώτης βαθµίδας υψηλής
P-25 . . . . .
µόνο οριζόντια
P-77 . . . . . .
οιαδήοτε
P-39, 1003 . .
οιαδήοτε
P-392, 1005 .
οιαδήοτε
ροής. Η µεγάλη ταχύτητα λαβής στην ρώτη
P-50 . . . . .
µόνο οριζόντια
P-392AL. . . .
οιαδήοτε
βαθµίδα, θα εµοδίσει την αράδοση λήρους
P-51 . . . . .
µόνο οριζόντια
P-462 . . . .
µόνο οριζόντια
όγκου λαδιού αό την αντλία.
P-80, 1006 .
οιαδήοτε
P-464 . . . .
µόνο οριζόντια
P-84 . . . . . . .
οιαδήοτε
P-801 . . . . .
οιαδήοτε
P-141, 1001 .
οιαδήοτε
P-802 . . . . . .
οιαδήοτε
5.3 Εφαρµογές µονής ενέργειας µε βαλβίδα
P-142, 1002 .
οιαδήοτε
P-842 . . . . .
οιαδήοτε
αελευθέρωσης
P-142AL . . .
οιαδήοτε
1. Κλείστε τη βαλβίδα αελευθέρωσης
γυρίζοντάς τη δεξιόστροφα, όως δείχνει η
ΣΗΜΕΙΩΣΗ: Όταν χρησιµοοιείτε την αντλία σε
Εικόνα 6.
κατακόρυφη θέση, το άκρο του εύκαµτου
σωλήνα ρέει να δείχνει ρος τα κάτω,
αλλιώς η αντλία θα συλλέξει αέρα και δεν θα
αυξάνεται αοτελεσµατικά η ίεση.
76

διλής ενέργειας κυλίνδρους. Δείτε την Εικόνα
8 για τις θέσεις της βαλβίδας.
Εικόνα 6
ΠΡΟΣΟΧΗ: Κλείστε τη βαλβίδα
αελευθέρωσης σφίγγοντας µε τα
δάκτυλα ΜΟΝΟ. Η χρήση εργαλείων
Εικόνα 8a
στη βαλβίδα αελευθέρωσης µορεί
να της ροκαλέσει ζηµιά και σαν συνέεια
δυσλειτουργία της αντλίας
2. Χρησιµοοιήστε τη λαβή της αντλίας για να
ροσδώσετε υδραυλική ισχύ στο σύστηµα. Η
ίεση θα διατηρηθεί έως ότου ανοιχτεί η
βαλβίδα αελευθέρωσης.
3. Ανοίξτε τη βαλβίδα αελευθέρωσης
(εριστρέψτε αριστερόστροφα) για να
Εικόνα 8b
αελευθερώσετε την ίεση, ειτρέοντας
στο λάδι να ειστρέψει στο ρεζερβουάρ.
1. Τοοθετήστε το µοχλό της 4-οδης
βαλβίδας για ειλογή λειτουργίας ως εξής:
5.4 Εφαρµογές µονής ενέργειας µε χειροκίνητη
(Α) Ροή στο στόµιο "Α"; το στόµιο "Β"
3-οδη, 2 θέσεων βαλβίδα.
ειστρέφει τη ροή στο ρεζερβουάρ
1. Μετακινήστε τη λαβή της βαλβίδας στη θέση
(Ν) Νεκρά θέση, τα στόµια "Α" και "Β" είναι
1 όως δείχνει η Εικόνα 7.
φραγµένα
2. Χρησιµοοιήστε τη λαβή της αντλίας για να
(Β) Ροή στο στόµιο "Β"; το στόµιο "Α"
ροσδώσετε υδραυλική ισχύ στο σύστηµα. Η
ειστρέφει τη ροή στο ρεζερβουάρ
ίεση θα διατηρηθεί έως ότου αλλάξει θέση
η βαλβίδα.
3.. Για να ειτρέψετε στο λάδι να ειστρέψει
στο ρεζερβουάρ, µετακινήστε τη λαβή της
βαλβίδας στη θέση 2.
Εικόνα 8c
2. Χειριστείτε την αντλία για την εκτέλεση της
εργασίας.
3. Αλλάξτε τις θέσεις της βαλβίδας, όως
ααιτείται.
ΠΡΟΕΙΔΟΠΟΙΗΣΗ: Χρησιµοοιήστε τον
κύλινδρο διλής ενέργειας µόνο όταν και
οι δύο εύκαµτοι σωλήνες είναι
Εικόνα 7
συνδεδεµένοι στην αντλία. Αν ένας
5.5 Εφαρµογές διλής ενέργειας µε
συζεύκτης αραµείνει µη συνδεδεµένος, θα
χειροκίνητη 4-οδη 3 θέσεων βαλβίδα
.
σχηµατιστεί υψηλή ίεση ίσω αό το συζεύκτη, η
Οι αντλίες µε 4-οδες βαλβίδες ελέγχου είναι
οοία θα µορούσε να ροκαλέσει τραυµατισµό
σχεδιασµένες για να χρησιµοοιούνται µε
ατόµων και/ή ζηµιά στον εξολισµό.
77

5.6 Ρύθµιση βαλβίδας ανακούφισης
2. Τοοθετήστε την αντλία σε µεγαλύτερο ύψος
αό τον κύλινδρο.
Όλες οι αντλίες εριλαµβάνουν µια
3. Τοοθετήστε τον κύλινδρο σε οριζόντια θέση
εργοστασιακά ρυθµισµένη βαλβίδα
µε τα στόµια άνω. Βλ. εικόνα 9.
ανακούφισης για ρόληψη υερβολικής αύξηση
4. Προωθήστε και εαναφέρετε λήρως το
της ίεσης στο σύστηµα. Είναι εφικτές
έµβολο του κυλίνδρου 2 έως 3 φορές.
µικρότερες ρυθµίσεις ίεσης. Εικοινωνήστε µε
το τοικό σας Εξουσιοδοτηµένο κέντρο σέρβις
5. Εαναλάβετε τα ροηγούµενα βήµατα όως
ααιτείται.
της Enerpac.
6.
Προσθέστε λάδι αν ααιτείται. Βλέε σελίδα 7.
6.0 Αοµάκρυνση αέρα
7. Εαναφέρετε το καάκι
εξαερισµού/λήρωσης στη θέση
Η αοµάκρυνση του αέρα αό το υδραυλικό
λειτουργίας.
σύστηµα συντελεί στην οµαλή ροώθηση και
εαναφορά του εµβόλου του κυλίνδρου (βλ.
εικόνα 9).
7.0 ΣΥΝΤΗΡΗΣΗ
6.1 Αντλία µε κύλινδρο µονής ενέργειας (Α)
Με τις αντλίες αυτές χρησιµοοιείτε µόνο
υδραυλικό λάδι Enerpac για να ειτύχετε
1. Εξαερώστε το ρεζερβουάρ της αντλίας (µόνο
µεγαλύτερη διάρκεια ζωής της αντλίας και να
για αντλίες µε εξαερισµό) και κλείστε τη
ροστατέψετε την εγγύησή σας. Για ορισµένες
βαλβίδα αελευθέρωσης.
χειραντλίες διατίθενται κιτ στεγανοοιήσεων
2. Τοοθετήστε την αντλία σε µεγαλύτερο ύψος
Viton και EPR. Αευθυνθείτε στον τοικό σας
αό τον κύλινδρο.
αντιρόσωο Enerpac για ερισσότερες
3. Τοοθετήστε τον κύλινδρο µε το άκρο του
ληροφορίες σχετικά µε τα ροόντα αυτά και
εµβόλου ρος τα κάτω (ρος τα άνω αν
τις εφαρµογές τους.
χρησιµοοιείτε κύλινδρο έλξης). Βλ. την
εικόνα 9 ιο κάτω.
7.1 Προσθήκη λαδιού στην αντλία.
4. Χειριστείτε την αντλία για λήρη έκταση του
κυλίνδρου (εαναφορά αν χρησιµοοιείτε
Ελέγχετε τακτικά τη στάθµη του λαδιού.
κύλινδρο έλξης).
ΠΡΟΕΙΔΟΠΟΙΗΣΗ: Πάντα ροσθέτετε
5. Ανοίξτε τη βαλβίδα αελευθέρωσης για
λάδι µε τους κυλίνδρους µε τα
εαναφορά του εµβόλου του κυλίνδρου
έµβολα σε λήρη εαναφορά (σε
(έκταση αν χρησιµοοιείτε κύλινδρο έλξης).
λήρη έκταση αν ρόκειται για
Αυτό θα εξαναγκάσει τον αγιδευµένο αέρα
κυλίνδρους έλξης) αλλιώς το σύστηµα θα
να µετακινηθεί άνω ρος το ρεζερβουάρ
της αντλίας.
εριέχει ερισσότερο λάδι α' όσο µορεί να
χωρέσει το ρεζερβουάρ.
6. Εαναλάβετε τα ροηγούµενα βήµατα όως
ααιτείται.
1. Αφαιρέστε το καάκι εξαερισµού/λήρωσης
7.
Προσθέστε λάδι αν ααιτείται. Βλέε σελίδα 7.
αό το ρεζερβουάρ.
8. Εαναφέρετε το καάκι
2. Γεµίστε το ρεζερβουάρ µόνο ως την ένδειξη
εξαερισµού/λήρωσης στη θέση
στάθµης ου φαίνεται στην αντλία.
λειτουργίας.
3. Αφαιρέστε τον αέρα αό το σύστηµα αν
6.2 Αντλία µε κύλινδρο διλής ενέργειας (Β)
χρειάζεται. Βλέε σελίδα 6. Ελέγξτε άλι τη
στάθµη του λαδιού µετά την αοµάκρυνση
1. Εξαερώστε το ρεζερβουάρ της αντλίας (µόνο
του αέρα.
για αντλίες µε εξαερισµό).
αέρας
αέρας
Εικόνα 9
78

4. Εαναφέρετε το καάκι
8.0 ΟΔΗΓΟΣ ΑΝΙΧΝΕΥΣΗΣ ΒΛΑΒΩΝ
εξαερισµού/λήρωσης στην ροηγούµενη
Οι ληροφορίες ου ακολουθούν αοσκοούν
θέση.
στο να σας βοηθήσουν να ροσδιορίσετε αν
ΣΗΜΕΙΩΣΗ: Οι χειραντλίες χωρίς εξαερισµό
υάρχει κάοιο ρόβληµα. Για υηρεσίες
ααιτούν αέρα στο ρεζερβουάρ για τη
εισκευών, εικοινωνήστε µε το τοικό σας
σωστή τους λειτουργία. Αν το ρεζερβουάρ
Εξουσιοδοτηµένο κέντρο σέρβις της
ENERPAC.
γεµίσει τελείως, θα σχηµατιστεί υοίεση η
οοία εµοδίζει το λάδι να εξέλθει αό την
αντλία.
7.2 Διατήρηση των γραµµών λαδιού καθαρών
Όταν είναι αοσυνδεδεµένα τα τµήµατα των
συζευκτών, άντα βιδώνετε άνω τους
καλύµµατα κατά της σκόνης. Χρησιµοοιήστε
κάθε ααιτούµενο µέτρο ροφύλαξης για
ροστασία της µονάδας αό είσοδο
ακαθαρσιών εειδή οι ξένες ύλες µορεί να
ροκαλέσουν βλάβη της αντλίας, του
κυλίνδρου ή της βαλβίδας.
7.3 Λίανση της αντλίας
Για εέκταση της διάρκειας ζωής της αντλίας
και βελτίωση της αόδοσης, λιάνετε τακτικά
τον είρο της δοκού (Α), τον εγκάρσιο είρο (B)
και την κεφαλή του εµβόλου (C),
χρησιµοοιώντας γράσο για ρουλεµάν. Βλ.
εικόνα 10.
Εικόνα 10
7.4 Αλλαγή του λαδιού
1. Κάθε 12 µήνες αοστραγγίζετε όλο το λάδι
και γεµίζετε άλι µε καθαρό λάδι Enerpac. Αν
η αντλία χρησιµοοιείται σε εριβάλλον µε
σκόνη, αλλάζετε το λάδι ιο συχνά.
2. Αφαιρέστε το καάκι εξαερισµού/λήρωσης
ή την τάα αό το ρεζερβουάρ.
3. Γείρετε την αντλία για να αοστραγγίσετε το
αλιό λάδι.
4. Γεµίστε το ρεζερβουάρ µόνο ως την ένδειξη
στάθµης ου φαίνεται στην αντλία.
5. Τοοθετήστε άλι το καάκι
εξαερισµού/λήρωσης ή την τάα.
6. Αορρίψτε το χρησιµοοιηµένο λάδι µε
κατάλληλο τρόο.
79

ΟΔΗΓΟΣ ΑΝΙΧΝΕΥΣΗΣ ΒΛΑΒΩΝ
Πρόβληµα Πιθανή αιτία Λύση
Το έµβολο του
1. Χαµηλή στάθµη
1. Προσθέστε λάδι σύµφωνα µε τις οδηγίες
κυλίνδρου δεν
λαδιού στο
συντήρησης στη σελίδα 6.
ροωθείται,
ρεζερβουάρ αντλίας.
2. Κλείστε τη βαλβίδα αελευθέρωσης.
ροωθείται αργά ή
2. Ανοικτή βαλβίδα
3. Ελέγξτε ότι όλοι οι συζεύκτες έχουν
κατά ριές.
αελευθέρωσης.
συσφιχτεί λήρως.
3. Χαλαρός υδραυλικός
4. Μην ροσαθείτε να ανυψώσετε φορτίο
συζεύκτης.
µεγαλύτερο της ονοµαστικής ικανότητας.
4. Πολύ βαρύ φορτίο.
5. Αοµακρύνετε τον αέρα σύµφωνα µε τις
5. Παγιδευµένος αέρας
οδηγίες της σελίδας 6.
στο σύστηµα.
6. Ελέγξτε για ζηµιά στον κύλινδρο. Αναθέστε
6. Μαγκώνει το έµβολο
το σέρβις του κυλίνδρου σε εξειδικευµένο
του κυλίνδρου.
τεχνικό υδραυλικών συστηµάτων.
Η αοµάκρυνση του
1. Διαρροή σε σύνδεση.
1. Ελέγξτε ότι όλες οι συνδέσεις είναι
αέρα αό το
σφιγµένες και δεν αρουσιάζουν
2. Διαρροή
υδραυλικό σύστηµα
διαρροές.
στεγανοοιήσεων.
συντελεί στην
2. Εντοίστε τη(τις) διαρροή(-ές) και
3. Εσωτερική διαρροή
οµαλή ροώθηση
αναθέστε το σέρβις σε εξειδικευµένο
στην αντλία.
και εαναφορά του
τεχνικό υδραυλικών συστηµάτων.
εµβόλου του
3. Αναθέστε το σέρβις της αντλίας σε
κυλίνδρου (βλ.
εξειδικευµένο τεχνικό υδραυλικών
εικόνα 9).
συστηµάτων.
Το έµβολο του
1. Κλειστή βαλβίδα
κυλίνδρου δεν
αελευθέρωσης.
1. Ανοίξτε τη βαλβίδα αελευθέρωσης.
εανέρχεται ή
2. Υερλήρωση
2. Αδειάστε λάδι ως την ένδειξη λήρωσης.
εανέρχεται
ρεζερβουάρ αντλίας.
Βλ. οδηγίες σελίδας 7 για ροσθήκη λαδιού.
αργότερα αό το
3. Χαλαρός υδραυλικός
3. Ελέγξτε ότι όλοι οι συζεύκτες έχουν
κανονικό.
συζεύκτης.
συσφιχτεί λήρως.
4. Παγιδευµένος αέρας
4. Αοµακρύνετε τον αέρα σύµφωνα µε τις
στο σύστηµα.
οδηγίες της σελίδας 6.
5. Εσωτ. διάµ.
5. Χρησιµοοιήστε υδραυλικό εύκαµτο
εύκαµτου σωλήνα
σωλήνα µεγαλύτερης διαµέτρου.
ολύ µικρή.
6. Αναθέστε το σέρβις του κυλίνδρου σε
6. Ελατήριο
εξειδικευµένο τεχνικό υδραυλικών
εαναφοράς
συστηµάτων.
εµβόλου κυλίνδρου
σασµένο ή άλλη
ζηµιά στον κύλινδρο.
80

