Gorenje GMO-23 DGB: Computer control panel Feature diagram
Computer control panel Feature diagram: Gorenje GMO-23 DGB
Table of contents
- SPECIFICATIONS Radio interference Before you call for service Installation
- IMPORTANT Important safety instructions Safety instructions for general use 1. Always have the glass tray, roller arms, coupling and roller track in place when operating the oven.
- 16. To reduce the risk of fire in the oven cavity:
- Computer control panel Feature diagram
- 1. Single Button Heating 2. Microwave Heating 4. Grill 5. Combination Cooking 3. Auto weight defrost 6. Auto-Menu
- 9. Child-safety-lock 10. Start/Reset 7. Clock 8. Timer
- Care of your microwave oven Environment Guarantee & service

35
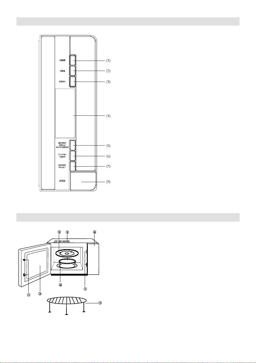
Computer control panel
1. 10 minutes
2. 1 minute
3. 10 second
4. Display
5. Micro/Grill/Auto menu
6. Clock/Timer
7. Start/Reset
8. Open
Feature diagram
1. Door Safety Lock System
2. Oven Window
3. Oven Air Vent
4. Roller Ring
5. Glass Tray
6. Control Panel
7. Grill rack
Top 10 manuals
100.00
NZXT HALE90 1000W99.99
Samsung SM-R38099.97
AEG BSB 18C99.97
Dell 2700W99.97
Smeg KSEC70X99.96
Beurer HDE 4099.96
Pyramida KH 50 v.299.96
MSI CSM-H81M-P3299.96
AEG HR 562799.95
Melissa 640-048





