Gorenje GMO-23 DGB – page 4
Manual for Gorenje GMO-23 DGB
Table of contents
- SPECIFICATIONS Radio interference Before you call for service Installation
- IMPORTANT Important safety instructions Safety instructions for general use 1. Always have the glass tray, roller arms, coupling and roller track in place when operating the oven.
- 16. To reduce the risk of fire in the oven cavity:
- Computer control panel Feature diagram
- 1. Single Button Heating 2. Microwave Heating 4. Grill 5. Combination Cooking 3. Auto weight defrost 6. Auto-Menu
- 9. Child-safety-lock 10. Start/Reset 7. Clock 8. Timer
- Care of your microwave oven Environment Guarantee & service

61
6.
7. -
-
-
-
8.
9.
Krnyezetvdelem
A feleslegess vlt kszlk szelektv
hulladkknt kezelend. Krjk, hivatalos
jrahasznost gyjthelyen adja le, gy
hozzjrul a krnyezet vdelmhez.
A
-
oldalon:
http://microwave.gorenje.com

62
INSTRUKCJA PL
Charakterystyki techniczne
Zasilanie elektryczne .............................................................................................. 230V~50Hz,1280W
............................................................................................................................. 800W
Mo ................................................................................................. 1200W
.......................................................................................................... 2450MHz
rzne: ................................................................. X 303mm(V) X 382mm(G)
Wymiary w ....................................................... 330mm(Sz) X 212mm(V) X 330mm(G)
............................................................................................................... 23
Waga netto: ...................................................................................................................... ,5 kg
................................................................................................................ Lc < 58 dB (A)
radiowych i elewizyjnych
b
a)
uszczelek.
b)
Przed wezwaniem serwisu
jak najdalej od kuchenki mikrofalowej.
1.
c)
a)
kuchenki z gniazdka zasilania
w warunkach gospodarstwa domowego.
elektrycznego i po 10 sekundach
b)
w z
Instalacja
elektryczne.
1.
2.
do emisji energii mikro
a)
drzwiczek.
b)
2.
przeciwnym razie emisja enerii
-
- uszkodzone drzwiczki,
- wgniecenia lub dziury w szkle (oknie) na
problemu, mimo wykonania w/w
- wgniecenia w komorze kuchenki.
autoryzowanego punktu serwisowego.
ktrycznych i
elektronicznych (waste electrical and
electronic equipment - WEEE).

63
3.
14,5
UWAGA: Podczas korzystania z funkcji
mikrofale + grill dochodzi do znacznego
4.
wzrostu temperatury. W tym wypadku
wysokich temperatur i pary.
5.
niczego.
6.
UWAGA: J
ajmniej
UWAGA: Wykonywanie jakichkolwiek
7. podstawy
olwiek
obrotowej talerza.
8.
mikrofalowej przez dzieci powinno
wykwalifikowana.
UWAGA:
9.
10. Kuchenka mikrofalowa wymaga mocy 1,3
UWAGA:
kVA
serwisowego lub wykwalifikowanej osoby.
UWAGA: Kuchenka mikrofalowa jest
poinstruowane na temat korzystania z tego
WANE:
dostateczne
Zieleno- uziemienie
powietrza. Dlatego musimy za
Niebieski: neutralny
8 cm
przestrzeni, po bokach przynajmniej 10 cm
1
zabronione.
- przewodnik koloru zielono-
E
ecjalnie
lub symbolem uziemienia.
przeznaczonych do zastosowania w
-
kuchenkach mikrofalowych.
N
pojemnikach plastykowych lub
-
L
dymu,

64
3.
4.
one podgrzewane.
itp.
5.
6.
7.
8.
na szklanym talerzu.
Do czyszczenia drzwiczek kuchenki,
odpowiedniego naczynia.
w
:
szmatek.
-
metalowymi uchwytami.
-
- klamer drucianych powlekanych
uszkodzenia jej powierzchni, co z kolei
- naczy
W przypadku uszkodzenia przewodu
producent, autoryzowany serwis lub
odpowiednio do tego celu wykwalifikowana
-
osoba.
uchence
-
kuchenki
-
Zapewni to bezpieczne i najskuteczniejsze
kuchenkach mikrofalowych.
9.
1.
10.
umieszczone na swoim miejscu.
s
2.
11.
do susz
gotowaniu. Dlatego p

65
12.
16.
t,
a)
13.
- 60
sekund. Spowoduje to us
lub dodaniu kostki Maggi
b)
14.
c)
z ich tradycyjnym
przygotowywaniem. Do podgrzewania
wtyczki z gniadzka lub przez
tworzyw sztucznych..
tablicy rozdzielczej.
15.
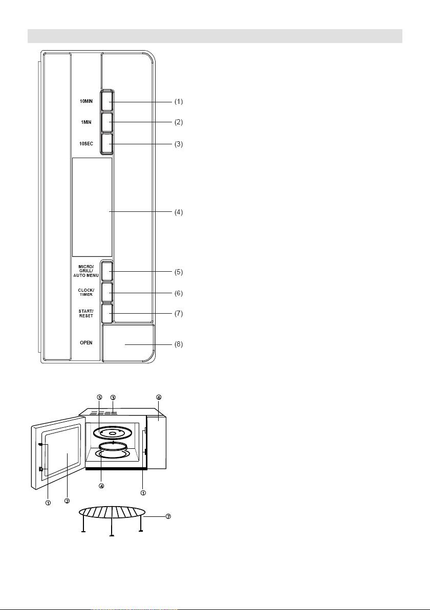
Opis kuchenki
1. 10 minut
2. 1 minuta
3. 10 sekund
4.
5. Mikrofale/Gril/Meni automatycznego
gotowania
6. Zegar/Timer
7. Start/ Reset
8. Przycisk do otwierania

66
ugi
wynosi 60 minut.
1.
jednego przycisku
gotownia. Funkcja ta jest bardzo wygodna i
podgrzanie szklanki wody itp.
Podgrzanie szklanki melka
a)
na szklanym talerzu obrotowym i
b) Start/Reset"
3.
c) program oznajmi 5
2. Podgrzewanie przy pomocy
mikrofali
Przyk
a)
a) Szybkie podgrzewanie mikrofalami
menu".
b)
00%.
1.
przyciski "1min" (1 kg) i "10sec" (0,1
"5:00".
kg).
2. ".
c) Kuchenka zostanie uruchomiona,
b)
naci"Start/Reset".
1.
menu"
mikrofali np. 70%;
4. Grill
2. czas np. na "10:00".
3. Start/Reset".
przycisk
"Micro"
A
sugarak
Felirat a
1
100%
P100
2
70%
P70
3
50%
P50
4
30%
P30
5
10%
P10
1. Ochronny system
2. Okno kuchenki
3. Odwietrznik
4.
5. Szklany talerz
6.
7. Ruszt do grilowania

67
zas gotowania to
6. Menu automatyczne
60 min)
85% mocy grillowania, na
-1
50% mocy grillowania, na
,4kg
-2
ryby
a)
grillu, 20 minut
a) k
-5".
b)
-1".
b)
c)
odpowiedni przycisk,
"0,4".
emanuje
c)
poziomach, po
5. Kombinowane
kombinacji mikrofali i grilla.
55%
mikrofale + 45% grill
zostanie
-2".
nie (30%
mikrofale + 70% grill
zostanie -1".
2, 15 minut
a)
t "C-2".
b)
c)
.
Liczba
na
przycisk
"1min"
A-1
A-2
Warzywa
A-3
Makaron
1
0,1
0,1
1
2
0,2
0,2
2
3
0,3
0,3
4
0,4
0,4
5
0,5
0,5
6
0,6
Liczba
na przycisk
"1min"
A-4
A-5
Ryba
A-6
1
0,2
0,2
0,2
2
0,3
0,3
0,4
3
0,4
0,4
0,6
4
0,5
0,5
0,8
5
0,6
0,6
1,0
6
0,8
0,8
7
1,0
1,0
7. Zegar dygitalny
Kuchenka jest zaopatrzona w zegar
dygitalny. W celu ustawienia czasu
1.
2.
"1 mi
minuty.
3.
Nowo ustawiony czas zostanie
4.

68
8. Timer
mikrofalowej czyszczenie i
konserwacja
1.
W tym momencie jest 16:30. Z
2.
przez 10
minut.
a)
na 18:15 (identyczny proces jak
podczas ustawiania zegara).
3.
b)
c)
minut
d)
4.
O godzinie 18:15
aerosolu.
5. trznych
powierzchniach kuchenki osiada para,
9.
przyciski "1 min" i "10 sec". W celu
jej uszkodzenia.
6.
10. Start / Reset
a)
7.
b) W przypadku ustawienia
kuchenki zastanie zanulowane w chwili
ra
miejsce.

69
8. jemnych
9.
sprzedawcy lub w autoryzowanym
nie nal
Gwarancja i serwis naprawczy
W celu uzyskania informacji lub w razie
cy Gorenja
WIELE SATYSFAKCJI Z
KORZYSTANIA KUCHENKI
ali i grilla
http://microwave.gorenje.com

70
MANUAL DE UTILIZARE RO
CARACTERISTICI
Consum ................................................................................................................. 230V~50Hz, 1280W
Capacitate ................................................................................................................................... 800W
.............................. 1200W
............................................................................................................. 2450MHz
Dimensiuni exterioare .................................................................. 510mm(L) x 303mm(H) x 382mm(W)
Dimensiuni cavitate cuptor ........................................................... 330mm(L) x 212mm(H) x 330mm(W)
Capacitate cuptor ......................................................................................................................... 23 litri
Greutate ....................................................................................................................... Approx. 14,5 kg
Nivel de zgomot: ............................................................................................................. Lc < 58 dB (A)
aparatelor ele
cu radio-ul, televizorul sau alte echipamente
(waste electrical and electronic
iminitate sau
equipment - WEEE).
Directiva prescrie cadrul pentru o
a)
valorificarea aparatelor vechi.
b)
departe de cuptorul cu microunde;
c)
1.
sem
a)
Instalare
1.
-
interiorul aparatului.
-l la loc.
2.
b)
-
-
un alt aparat.
-
2.
a) -ul este setat.
-
b)
-
nu va porni.
3. Acest cuptor are o greutate de 14,5
u a-i suporta
greutatea.
4. -un loc unde
5.
6.
7.
8.

71
ACEST APARAT TREBUIE
a)
plastic sau alte m
Pentru acest cuptor este nevoie de o putere
inflamabile.
de alimentare de 1.3 KVA, de aceea este
b)
c)
Cuptorul este protejat de o
p.
curent
IMPORTANT Cablurile sunt colorate
Albastru Neutru
dvs.
Maro Activ
rebuie conectat la
1. -
terminalul marcat cu litera E sau cu simbolul
aceasta sunt la locul lor.
Cablul albastru trebuie conectat la terminalul
2.
marcat cu litera N
maro trebuie conectat la terminalul marcat cu
litera L sau colorat
produse care nu sunt alimentare, sau
pentru a steriliza anumite lucruri.
importante
3.
deoarece se poate strica.
pentru a reduce riscul de arderi,
4.
etc.
1.
5. rea
a utiliza cuptorul
conservelor, deoarece cuptoarele cu
2.
recipientele sigilate (cum ar fi, de exemplu,
iar alimentele care nu sunt bine conservate
pot exploda, de aceea nu este recomandat
6.
3. Cuptorul trebuie utilizat doar pentru
4.
aproximativ un minut.
fizice, mentale sau senzoriale reduse sau
7.
i,
8.
corpul aparatului.
pentru a nu se juca cu aparatul.
9.
5.
deteriorat.
10. arfuria de
6.

72
IMPORTANT CE VASE NU TREBUIE
MICROUNDE:
-
-
- Nu fol
-
-
pot exploda.
-
termometre speciale pentru cuptoarele cu
microunde.
11. Instrumentele pentru microunde trebuie
12. Cuptor
alimentelor.
13.
-un recipient.
ior sunt
capacul de pe vas.
14.
-
temperatura.
15.
-60 de
-a oprit.
16.
plastic.
17. Vasele s

73
PANOU DE COMENZI
1. 10 minute
2. 1 minut
3. 10 secunde
4. Afisaj
5. Micro/Grill/Auto meniu
6. Ceas/Timer
7. Start/Resetare
8. Deschidere
1. Sistem de blocare a usii
2. Geam
3. Ventilare
4. Inel rotativ
5. Tava
6. Panou de comenzi
7. Grill

74
Greutatea alimentelor congelate nu trebuie
Instructiuni de funtionare
sa depaseasca 2 kg.
1. Incalzire cu un singur buton
4. Grill
Apasati butonul doar o data pentru a porni
Aceasta functie are doua optiuni. Puteti
incalzirea este o modalitate rapida de a
alege intre cele doua apasand pe butonul
incalzi un pahar cu apa etc.
Exemplu: Pentru a incalzi un pahar cu
preparare a mancarii este de 60 de minute):
lapte
Optiunea 1: 85% putere grill, afisaj G-1
a) Puneti paharul de lapte pe tava de
Optiunea 2: 50% putere grill, afisaj G-2
sticla rotativa si inchideti usa.
Exemplu: Prepararea mancarii folosind
b) Start/Reset
grill-ul pentru 20 de minute.
cuptorul cu microunde va functiona la
a)
100% putere timp de un minut.
cand pe se afiseaza pe LED "G-1".
c) La final veti auzi 5 semnale sonore.
b) Setati durata de preparare la "20:00"
c) Apasati "Start/Reset"
2. Incalzire microunde
Atunci cand utilizati grill-ul, mancarea
Aceasta functie are doua optiuni.
nu este incalzita de microunde.
a) Incalzire microunde rapida (100%
Caldura este raspandita de la
putere)
rezistenta de metal din partea
Exemplu: Pentru a incalzi mancarea la
superioara a cuptorului.
100% putere timp de 5 minute
Atunci cand functia grill functioneaza,
1. Setat
durata de preparare este impartita in
2. Start/Reset
doua etape. Dupa prima etapa,
b) Functionare manuala incalzire
programul se va opri automat si se vor
microunde
auzi doua semnale sonore, pentru a va
Exemplu: Pentru a incalzi mancarea la
avertiza ca trebuie sa deschideti usa
70% putere timp de 10 minute
cuptorului si sa intoarceti mancarea.
1. Apasati butonul ,
Inchideti usa, dupa ce ati intors
mancarea. Apasati butonul
2.
"Start/Reset" si procesul de preparare
3. Start/Reset
a mancarii va continua cu cea de-a
doua etapa. Daca nu vreti sa intoarceti
Exista 5 niveluri de putere, iar durata cea mai
mancarea, cuptorul va porni singur
lunga de preparare la microunde este de 60
dupa un minut de pauza.
minute.
5. Gatire combinata
Cu acest produs aveti mai multe variante de
gatire combinata.
Optiunea 1 : Gatire combinata (55%
microunde + 45% grill)
LED-ul va afisa "C-1"
Optiunea 2 : Gatire combinata (30%
microunde + 70% grill)
LED-ul va afisa "C-2".
Exemplu: Prepararea mancarii folosind
3. Auto-dezghetare
optiunea 2 pentru 15 minute.
Selectati greutatea alimentelor congelate,
a)
iar acest lucru va va ajuta sa reglati
cand pe LED apare "C-2"
automat nivelul de putere si timpul.
b) Setati timpul de gatire pentru "15:00"
Exemplu: dezghetare 0.5kg de carne
c) Apasati "Start/Reset"
congelata.
a) Apasati pentru a
6. Auto-Meniu
selecta "DEF".
b) Introduceti greutatea apasand butonul
"1min" (1kg) si butonul "10 sec"
(0.1kg).
c) Apasati " Start/Reset ".
Nr.
Atingeri
"Micro"
Putere
microunde
Afisaj
1
100%
P100
2
70%
P70
3
50%
P50
4
30%
P30
5
10%
P10

75
Exemplu: Auto preparare 0.4 kg peste
a)
pana cand se afiseaza "A-5".
b) Introduceti greutatea apasand pe
butonul "1 min" (1 kg) si pe butonul
"10 sec" (0.1 kg).
c) Apasati "Start/Reset".
Numar
atingeri
"1min"
Menu, Weight (kg)
A-1
Orez
A-2
Legume
A-3
1
0,1
0,1
1
2
0,2
0,2
2
3
0,3
0,3
4
0,4
0,4
5
0,5
0,5
6
0,6
Numar
atingeri
"1min"
Menu, Weight (kg)
A-4
Carne
A-5
Peste
A-6
Pui
1
0,2
0,2
0,2
2
0,3
0,3
0,4
3
0,4
0,4
0,6
4
0,5
0,5
0,8
5
0,6
0,6
1,0
6
0,8
0,8
7
1,0
1,0
d) Apasati "Start/Reset"
Daca nu setati puterea si durata de
gatire si apasati direct butonul start,
dupa ce ati programat ceasul, aparatul
va incepe sa lucreze ca un ceas.
La 18:15 se vor auzi 10 sunete sonore
si aparatul se va opri.
9. Blocare pentru copii
Pentru a activa sistemul de blocare pentru
copii, apasati "1 Min" si "10 Sec" in acelasi
timp, timp de 2 secunde.
Apasati "1 Min" si "10 Sec" in acelasi timp
timp de doua secunde din nou, pentru a
debloca aparatul.
10. Start/Reset
a) In perioada de functionare apasati
butonul "Start/Reset" pentru a opri
functionarea.
b) Daca a fost setat un program inainte
de a apasa start, apasati acest buton
pentru a anula orice setare.
1. -
de a-
2.
7. Ceas
Cuptorul are un ceas digital cu formatul 24
-
de ore,
Pentru a seta timpul de exemplu la 4:30pm:
a) Apasati butonul "Clock/Timer". Afisajul
incepe sa clipeasca, reglati ora cu
puternici sau abrazivi.
butoanele "1 Min" si "10 Sec".
3.
b) Apasati "Clock/Timer" din nou, reglati
e din interior, nu
minutele cu butoanele "1Min" si "10
Sec".
ventilare.
c) Apasati "Clock/Timer" din nou si
4.
ceasul va fi setat.
-
d) Daca schimbati ora, repetati procedura
de mai sus.
sau spayuri pentru panoul de comenzi.
5.
8. Timer
Aceasta va permite sa setati cuptorul cu
microunde sa porneasca si sa se opreasca
-
la un timp dinainte stabilit.
Ceasul trebuie setat inainte de a folosi
aparatului.
aceasta functie.
6.
Exemplu: ora curenta este 16:30, iar dvs.
-o cu
doriti sa inceapa gatitul la ora 18:15 cu 70%
putere, pentru 10 minute:
7.
a) Apasati "Clock/Timer", setati timpul la
"18:15" apasand pe butoanele "1Min"
si "10 Sec" , (ca atunci cand setati ora)
b)
selecta 70% putere.
c) Setati durata de gatit la 10.

76
8.
-
9.
-l la un punct oficial de colectare pentru
varea mediului.
un
-
Departamentul de Service al Aparatelor
Domestice Gorenje
NUMAI PENTRU UZ PERSONAL!
VA DORESTE SA FOLOSITI CU
PLACERE ACEST APARAT
Mai multe informatii privind gatitul la
microunde, grill si sfaturi utile puteti gasi pe
:
:
http://microwave.gorenje.com

77
PT
Leia as instruções e conserve-as para futures consultas
Specifikacije
.......................... 230V~50Hz,1280W
...................................................................................................................................... 800W
Grill ............................................................................................................................................ 1200W
................................................................................................ 2450MHz
: ............................................................... mm(G) X 303mm(V)
: ................................................................. mm(V)
Capacidade do forno:................................................................................................................ 23 litrov
: ........................................................................................................................cca 14,5 kg
Antes de chamar a
1. Retire todos os componentes da
1.
embalagem do interior do microondas
se ilumina ou desapareceu:
2.
a)
como por exemplo:
corrente. Se estiver ligado, desligue-o
- porta desalinhada
-lo.
- porta danificada
b) v
- ou no painel
q
- marcas no interior
use o forno.
mesmo funciona
3. Este forno pesa 15 kgs e deve ser colocado
2.
a) verifique se programou o tempo
para suportar este peso
b) v
4. O forno deve ser instalado longe de fontes
de calor ou de vapor.
a resolver o
5.
.
6. Mantenha o aparelho a pelo menos 8 cm
7.
8. Como qualquer aparelho e
interior, apenas.
AVISO: O aparelho deve ser ligado à
O microoia no seu
terra.
9.
10.
reduzida procedendo da seguinte forma:
instalada de 1,3 KVA
a) Limpe a porta e o isolamento da porta
b)
por um
c) Use uma antena pot
TV, etc.

78
para limpar o interior, a porta e o fecho do
aparelho.
O forno deve ser limpo regularmente e os
removidos.
A falta de limpeza regular pode deteriorar o
e aumenta a possibilidade de avarias.
bom desempenho do seu microondas
1. Tenha sempre o prato de vidro, bem como
todos os acess
2.
AVISOS:
Quando o aparelho funciona no modo
materiais.
3.
4.
Se a porta ou o fecho da porta estiverem
5.
exteriores, como gema de ovo, batatas,
To
6.
exteriores
aparelho, devem ser realizadas por
7.
8. e directamente em cima do
aquecidos em recipientes fechados, pois
podem explodir.
O forno deve estar bem arejado. Mantenha
IMPORTANTE:
8 0 cm
SER USADA NO MICROONDAS
de ambos os lados e 1
- Recipientes com asas de metal
-
-
algumas embalagens
microondas
-
Quando aquecer comida em recipientes de
pel, esteja atento pois pode
-la aumentando o tempo de
cozedura ou aquecimento
Se houver fumo desligue o aparelho da
- Recipientes com aberturas pequenas,
tomada de corrente e mantenha a porta
como garrafas ou frascos, pois podem
fechada para abafar as chamas.
explodir devido a sobreaquecimento.
Aquecer bebidas no microondas pode gerar
-
fervura, por isso, tenha cuidado quando
9.
retirar os rec
fabricante.
Os alimentos em frascos devem ser
10.
mexidos ou agitados, antes de serem
11. Lembre-se que o microondas apenas
colocados no microondas.
estar muito quente os alimentos podem
desligado
estar.
IMPORTANTE:
- verde/amarelo terra
- azul-neutro
- castanho-positivo
- o fio verde/amarelo deve ser ligado ao
terminal marcado com a letra E, ou com o
bolo verde de Terra ou verde/amarelo
- o fio azul deve ser ligado ao terminal
marcado com a letra N ou de cor preta.
- o fio castanho deve ser ligado ao terminal
mercado com a letra L ou vermelho.

79
12. Experimente sempre a temperatura dos
alimentos antes de servir especialmente se
consumir os alimentos logo que sejam
retir-los
repousar uns momentos
13. Cozinhados que contenham liquido e
gordura, devem permanecer dentro do
microondas cerca de 30-
o programa ter terminado. Isto permite que
ou salpicos quando se utilizar uma colher
para servir.
14.
bastante devido ao calor transferido pelos
pegas para manusear os recipientes.
15.
microondas:
a)
b)
dos sacos.
c) Se os alimentos ou os recipientes se
incendiarem dentro do microondas,
desligue-o e mantenha a porta
fechada.

80
Painel de controlo
1. 10 segundos
2. 1 minuto
3. 10 minutos
4. Mostrador
5. Micro/Grill/AutoMenu
6.
7. Start/Stop
8. Abertura
1. Sistem
2. Janela
3.
4.
5. Prato de vidro
6. Painel de controlo
7. Prateleira de arame






