Gorenje GMO-23 DGB – page 7
Manual for Gorenje GMO-23 DGB
Table of contents
- SPECIFICATIONS Radio interference Before you call for service Installation
- IMPORTANT Important safety instructions Safety instructions for general use 1. Always have the glass tray, roller arms, coupling and roller track in place when operating the oven.
- 16. To reduce the risk of fire in the oven cavity:
- Computer control panel Feature diagram
- 1. Single Button Heating 2. Microwave Heating 4. Grill 5. Combination Cooking 3. Auto weight defrost 6. Auto-Menu
- 9. Child-safety-lock 10. Start/Reset 7. Clock 8. Timer
- Care of your microwave oven Environment Guarantee & service

121
5. Der anbringes noget som helst
ADVARSEL: Dette apparat er ikke
beregnet til at blive brugt af personer
6. Der skal m
og venstre side og 10 cm til ovnens bagside
for at sikre korrekt ventilation.
manglende erfaring og viden, medmindre
7. FJERN IKKE drejetallerkenens drejefod.
de er blevet vejledt eller instrueret i
8.
apparatets anvendelse af en person, der er
a
ADVARSEL DETTE APPARAT
sikre, at de ikke kan komme til at lege med
9.
det.
10.
1,3 KVA. Der anbefales, at du konsulterer
ved installationen. 8
cm til ovnens bagside, 10 cm til den
ADVARSEL: Denne ovn beskyttes internt
og venstre side og 10 cm til ovnens
overside.
VIGTIGT
I ovnen skal der kun bruges kogegrej, der
Ledningerne i netledningen er farvet efter
Jord
evarer i diverse beholdere af plast eller
Nul
Brun: Fase
netledningen ikke modsvarer de farvede
markeringer, der identificerer klemmerne i
kan resulte
- Den
tages ud af ovnen.
klemme i stikket, der er markeret med
bogstavet E eller med jordsymbolet, der er
Indholdet i sutteflasker eller glas med
-
stikket, der er markeret med bogstavet N
eller farven sort.
Undg
- Den brune ledning skal tilsluttes den
klemme i stikket, der er markeret med
bogstavet L
Vigtige sikkerhedsanvisninger
ADVARSEL:
og ovnrummet;
ovnens overflader beskadiges, hvilket kan
grillfunktion);
ADVARSEL:
levetid og muligvis lede til en risikosituation.
Hvis netledningen er beskadiget, skal den
udskiftes af producenten, producentens
fagmand;
servicecenter eller personer med en
ADVARSEL:
repareres af andre end kvalificerede fagfolk,
ulykke.
aftages dele, der yder beskyttelse mod
ADVARSEL:
de muligvis kan eksplodere;

122
Sikkerhedsanvisninger ved
9. e,
almen brug
der er i overensstemmelse med
producentens anvisninger.
Nedenfor er listet regler og
10.
sikkerhedsforanstaltninger til sikring af
denne ovn.
11.
1.
arme, drejetappen og drejeringen altid
selv.
at selvom behold
ovnen.
2. Brug ikke ovnen til andet end tilberedning af
-spiselige
genstande.
med samme type madvare ved
i forbindelse med sterilisering.
konventionel madlavning.
3.
12. Test altid tempe
tom. Det kan beskadige ovnen.
4. Brug
Det anbefales, at du aldrig indtager mad
5.
eller drikke direkte fra ovnen men lader den
at var
en gaffel.
13.
6.
melle
-60 sekunder efter, at
7.
der er slukket for ovnen. Det giver
8.
den ikke boble
drejetallerkenen. Brug altid egnet kogegrej.
bouillonterning.
14.
opvarmes meget hurtigt.
plastikbeholdere.
15. De beholdere, du anvender ved
tilberedningen, kan blive varme fra den
opvarmede mad.
eholderen med
beholderen.
16.
disse retningslinjer:
a) Und
ovnen, hvis du anvender papir, plastik
eller andre brandbare materialer i
forbindelse med madlavningen i
ovnen.
b)
placerer posen i ovnen.
VIGTIGT
EOVN
-
.
-
kant af metal.
-
lukning af plastikposer.
- Brug aldrig tallerkener af melamin, da
disse indeholder et materiale, der
krakelerer eller springer, ligesom det
-
Centura. Glaceringen er ikke egnet til
af
ikke anvendes.
-
ikke kan slippe ud hurtigt nok.
- Anvend ikke konventionelle stege-
eller bolchetermometre i ovnen.
- Termometre direkte beregnet til brug i
Anvend i stedet et af disse.

123
c) Hvis
HFI-
ovnen og tage stikket ud af
stikkontakten eller slukke for
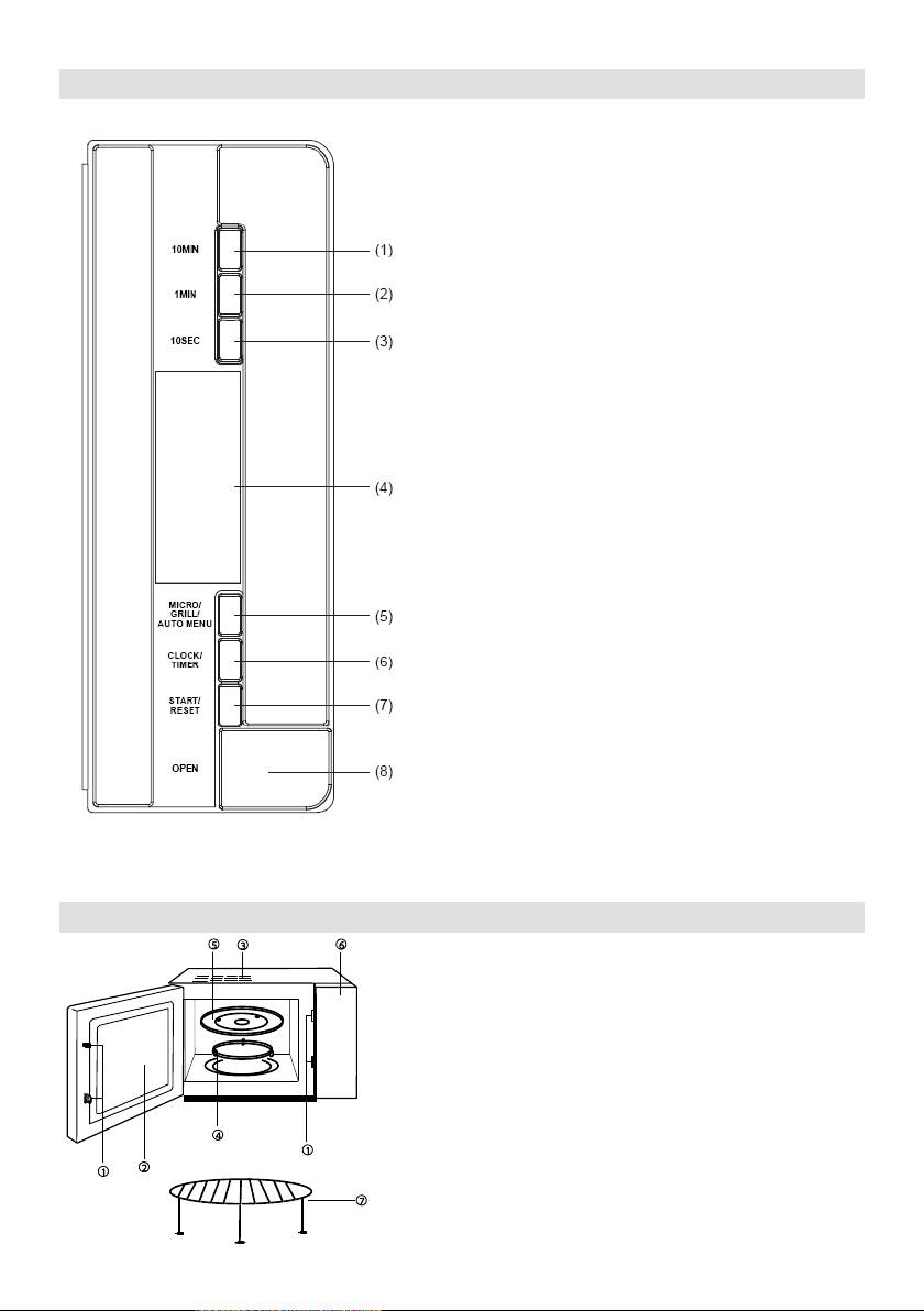
BETJENINGSPANEL
1. 10 minutes (10 minutter)
2. 1 minute (1 minut)
3. 10 second (10 sekunder)
4. Display
5. Micro/Grill/Auto menu (Funktionsvalg:
auto-menu)
6. Clock/Timer (ur/timer)
7. Start/Reset (start/nulstil)
8.
1.
2. Ovnvindue
3.
4. Drejefod
5. Drejetallerken
6. Betjeningspanel
7. Grillrist

124
Betjeningsvejledning
1. Opvarmning med en enkelt knap
Du kan begynde at lave mad ved at trykke
Det er
meget belejligt og hurtigt at varme et glas
vand op, osv.
Eksempel: Varm
a)
b) -knappen.
c)
er slut.
2.
Denne funktion har to indstillinger.
a)
effekt)
Eksempel: Varme mad op ved fuld effekt i
5 minutter
1.
2. -knappen
b)
Eksempel: Varme mad op ved 70% effekt i
10 minutter
1. -knappen,
2.
3. -knappen
60 minutter.
Trykgange
"Micro"
Display
1
100%
P100
2
70%
P70
3
50%
P50
4
30%
P30
5
10%
P10
4. Grill
Denne funktion har to indstillinger. Du kan
mellem de to indstillinger ved at
Mulighed 1: 85% grill-effekt, displayet viser
-
Mulighed 2: 50% grill-effekt, displayet viser
-
Eksempel: Tilberedning med grill i 20
minutter.
a)
-
b) Indstil tilberedningstiden til "20:00".
c)
kommer fra grille
ovnen.
tilberedningen, og der lyder 2 bip. Du
n
tilberedningens andet trin. Hvis du ikke
tilberedningen automatisk efter 1
minuts pause.
5. Kombinationstilberedning
Ovnen tilbyder 2 metoder af
kombinationsmadlavning.
Mulighed 1: Kombinationstilberedning
(% effekt + 45% grill).
Displayet viser "C-1".
Mulighed 2: Kombinationstilberedning
(0% effekt + 70% grill).
Displayet viser "C-2".
Eksempel: Tilberedning med
kombinationstilberedning 2 i 15 minutter.
3. -
Det vil
-
Indstil tilberedningstiden til "15:00".
effekttrinet og tiden.
Eksempel:
a) -knappen
6. Auto-menu
f
b)
og -
knappen "1min" (1kg) og knappen "10
effekt og tid.
sec" (0,1 kg).
Eksempel: Automatisk tilberedning af 0,4
c) -knappen.
kg fisk
a)
mindre end 2 kg.
-

125
b)
c)
Tryk antal
gange
"1min"
A-1
Ris
A-2
A-3
Pasta
1
0,1
0,1
1
2
0,2
0,2
2
3
0,3
0,3
4
0,4
0,4
5
0,5
0,5
6
0,6
Tryk antal
gange
"1min"
A-4
A-5
Fisk
A-6
Kylling
1
0,2
0,2
0,2
2
0,3
0,3
0,4
3
0,4
0,4
0,6
4
0,5
0,5
0,8
5
0,6
0,6
1,0
6
0,8
0,8
7
1,0
1,0
Kl. 18:15 lyder der 10 bip, og apparatet
slukkes.
9.
inde samtidigt i 2 sekunder for at aktivere
inde samtidigt i 2 sekunder igen for at
10. Start/Reset
a)
gang, afbrydes driften.
b) Hvis du allerede har programmeret en
tilberedningsfunktion, slettes
vedligeholder du din
1. Sluk for ovnen og tag stikket ud af
7. Ur
stikkontakten, inden du begynder at
Ovnen er udstyret med et 24-timers ur.
2.
Eksempel:
ovnrummets bund eller sider, eller hvis
a)
Displayet blinker. Indstil timetallet med
b) Tryk
og indstil minuttallet med knapperne
3.
c)
d)
funktionssvigt.
4.
8. Timer
fugtig klud.
Denne funktio
5. Hvis der danner sig kondens inde i
tidspunkter.
bruger denne funktion.
klud. Kondens kan forekomme, hvis ovnen
Eksempel: Klokken er 16:30, og du vil
a
minutter fra klokken 18:15.
a)
6.
(som da du indstillede uret).
den i opvaskemaskinen.
b)
7.
c) Indstil tilberedningstiden til "10:00".
d) T
vaske bunden af med en mild
indstillinger, fungerer apparatet kun som ur.

126
Drejeringen kan vaskes med en mild
Damp fra madlavningen samles ved
du
8.
9.
lade ham foretage udskiftningen.
bortskaffes
sammen med det almindelige
husholdningsaffald. Indlever det i stedet til
Garanti og service
problem med dit apparat, kan du kontakte
Gorenjes kundecenter i dit land (du finder
Hvis der ikke er et kundecenter i dit land, skal du
kontakte din lokale Gorenje-forhandler eller
Kun til privat brug!
MED BRUGEN AF DIN OVN
Yderligere anbefalinger om madlavning med
htpp://www.microwaves.gorenje.com

127
BRUKSANVISNING SE
TEKNISKA SPECIFIKATIONER
................................................................................................... 230V~50Hz,1280W
........................................................................................................................... 800W
Grilleffekt: ................................................................................................................................. 1200W
................................................................................................................ 2450MHz
.................................................................................... 510mm(B) X 303mm(H) X 382mm(D)
Inne ................................................................................... 330mm(B) X 212mm(H) X 330mm(D)
Ugnsvolym: ................................................................................................................................. 23 liter
Nettovikt: ................................................................................................................................. . 14,5 kg
: .............................................................................................................. . (Lc IEC) < 58 dB (A)
directive 2002/96/EC on Waste Electrical
och dryck med ele
europeisk policy om insamling och
elektroniska produkter.
a)
b)
apparat.
Installation
1.
Innan du begr service
1.
2.
a) Kontrollera att kontakten sitter
- Sned lucka
ordentligt i uttaget. Om inte, dra ut
- Skadad lucka
-
sedan i den igen.
b)
- Repor eller skador inne i ugnen.
dessa fungerer,
testa eluttaget med en annan produkt.
INTE ugnen.
2.
3. 4,5 kg och ska
a)
b)
4.
aktiverat.
5. Placera INTE
6. Se till att det finns minst 8 cm fritt utrymme
SERVICENTER.
7. INTE drivmekanismen till den
roterande tallriken.

128
8. Som med de flesta elektriska produkter, se
att de inte kan leka med apparaten.
8
OBS:
cm fritt bakom, 10
JORDAS.
10 ugnen. Ta inte bort
9.
10. 3
med tekniskt kunnig personal vid
installationen.
OBS:
t eller papper
OBS
Jord
Noll
Brun:
tas ut ur ugne
.
bokstaven E, eller med jordsymbolen, eller
anslutning i uttaget
N, eller med
svart).
Eftertorka med en mjuk trasa.
en kan detta leda till
bokstaven L
ugnens effekt och till och med eventuellt
reskrifter
WARNING:
av tillverkaren, dennes serviceagent eller av
s risk
enbart modellen med inbyggd grill).
WARNING:
bruk
den har reprarerats av tekniskt kunnig
personal.
WARNING:
1.
WARNING:
glastallrik
WARNING:
2.
med olika funktionshinder, eller av personer
som inte har kunskap om hur apparaten
eller andra icke
instr
samband med sterilisering.

129
3.
tom, eftersom detta kan skada den.
4.
13.
-60
osv.).
5. Undvik att tillaga matvaror med hinnor, som
jlighet att svalna och
6.
14.
r ut.
7.
stuvningar. Vid tillagning av mat
fett-
8.
15.
16. Undvik brandrisk i ugnen genom att:
a)
Kontrollera ugnen om papper, plast
b)
c) Om mat
genom att ta ur kontakten eller
9.
10.
.
11.
12.
tillagning av barnmat. Vi rekommenderar
drycken
OBS!
N
-
redskap med metallhandtag i ugnen.
-
metalldekorationer eller liknande.
-
- lar, koppar mm
av melamin. Melaminet kan spricka
-
Livingware.
-
ex
de kan explodera.
- - eller

130
KONTROLLPANEL
1. 10 minuter
2. 1 minut
3. 10 sekunder
4. Display
5. Mikro/Grill/Auto-meny
6. Klocka/Tidur
7.
8.
1.
2.
3.
4. Fot till roterande glastallrik
5. Roterande glastallrik
6. Kontrollpanel
7. Grillgaller

131
1. SNABB-
Med ett enda knapptryck kan man starta
a)
b) , och
c) Ef
pip. Klart.
2. MIKRO-
a) Snabb mikro-
Exempel:
5 minuter
1.
2. .
b) Manuell mikro-u
Exempel:
10 minuter
1.
2.
3.
Antal tryck
"Micro"
Display
visar
1
100%
P100
2
70%
P70
3
50%
P50
4
30%
P30
5
10%
P10
4. Grill
Alternativ 1: 85% grilleffekt; G-1 visas
Alternativ 2: 50% grilleffekt; G-2 visas
Exempel:
20 minuter
a)
-
b)
c)
Vid grillning upphettas inte maten av
upp i ugnen.
och 2 ljudsignaler indikerar att du ska
kommer Steg 2 att starta. Om du inte vill
1 minut.
5. Kombinerad tillagning
Denna ugn ger ellan
2 olika altern
Alternativ 1: Kombinerad tillagning (55%
mikro + 45% grill)
-
Alternativ 2: Kombinerad tillagning (30%
mikro + 70% grill)
-
Exempel:
2 i 15 minuter.
a)
-
3. AUTOMATISK UPPTINING EFTER
b)
VIKT
c)
6. Auto-meny
Exempel:
a) Try
och tid automatiskt.
b)
Exempel: Automatisk tillagning av 0,4 kg
"1min"/1kg och "10 sec"/ 0.1kg.
fisk
c) .
a)
-
OBS!
b)
c)

132
Antal
tryckningar
"1min"
Meny, vikt (kg)
A-1
Ris
A-2
A-3
Pasta
1
0,1
0,1
1
2
0,2
0,2
2
3
0,3
0,3
4
0,4
0,4
5
0,5
0,5
6
0,6
Antal
tryckningar
"1min"
Meny, vikt (kg)
A-4
A-5
Fisk
A-6
Kyckling
1
0,2
0,2
0,2
2
0,3
0,3
0,4
3
0,4
0,4
0,6
4
0,5
0,5
0,8
5
0,6
0,6
1,0
6
0,8
0,8
7
1,0
1,0
Klockan 18:15 kommer 10 ljudsignaler att
9.
igen.
10.
a)
b)
Start, kommer alla
7. Klocka:
med 24-timmarsvisning.
Exempel:
1.
a)
2.
timmarna med knappa
dan
av med en fuktig mjuk trasa och ett milt
b)
med en mjuk trasa.
3.
c)
d)
4. torr. Torka
8. Tidur
5.
Med
luckans utsida, torka bort det med en mjuk
tt
6.
Exempel:
tillagningen ska starta kl.
som handdisk eller i diskmaskin.
7. Fotringen till glastallriken och ugnsbotten
a)
juk trasa och ett milt
med en mjuk trasa.. Diska glastallrikens fot
b)
som glastallriken, handdisk eller i
kt.
diskmaskin.
c)
d)
8.
startknappen sedan du programmerat in
genom att i ett glas blanda vatten med saft
tiden, kommer enheten enbart att fungera
som klocka.
blandningen i ugnen i 5 minuter, torka rent
och torrt med en mjuk trasa.

133
9. bytas,
Genom
Garanti & service
kontakta Gorenje-kundcenter i ditt land (du hittar
garantibladet). Om det inte finns ett kundcenter i
-
kontakta serviceavdelningen
-apparater.
hemsida
http://www.microwaves.gorenje.com

134
BRUKSANVISNING NO
SPESIFIKASJONER
.......................................................................................................... 230V~50Hz,1280W
Effekt ........................................................................................................................................... 800W
Grillvarmer ................................................................................................................................. 1200W
Frekvens: ............................................................................................................................... 2450MHz
........................................................................... 510mm(W) X 303mm(H) X 382mm(D)
......................................................................... 330mm(W) X 212mm(H) X 330mm(D)
Ovnens kapasitet: ....................................................................................................................... 23 liter
Nettovekt: ......................................................................................................................... Cirka 14,5 kg
............................................................................................................... (Lc IEC) < 58 dB (A)
Dette apparatet er merket i henhold til EU-
direktivet 2002/96/EC om Elektrisk og
elektronisk avfall (WEEE).
Disse retningslinjene er rammen for et
Apparat for bruk i hjemmet til oppvarming av
Europadekkende regelverk for returnering
mat og drikke ved hjelp av elektromagnetisk
og resirkulering av elektrisk og elektronisk
ener
avfall.
Radiointerferens
Denne maskinen er et avansert apparat, som
lge de
anvisninger som er beskrevet.
a)
b) Plasse
apparat.
c) Bruk en skikkelig installert antenne for
under oppsikt. La aldri barn leke med eller
betjene apparatet.
mottakersignal.
ringer service
Installasjon
1. displayene
1. Forsikre deg om at alle deler av
antennes ikke eller de har slukket:
a)
2. Se over ovnen etter oppakking for
eventuelle synlige skader, slik som:
-
-
igjen.
-
b)
- Hakk inne i ovnen
eventuelt hovedsikringen. Hvis disse
IKKE BRUKE
kontakten med et annet apparat.
ovnen.
2.
3. eovnen veier 14,5 kg og
a) Kontrollere om tidsuret er stilt inn.
b)
n.
4.
sette i gang inne i ovnen.
5. IKKE
6. Still ovnen minst 8 cm borte fra begge
sideveggene og minst 10 cm borte fra

135
nedsatt sanseevne eller fysisk eller psykisk
ventilasjon.
funksjonsevne, eller personer som ikke har
7. IKKE fjerne dreiefoten.
8.
tilsyn eller instruksjoner om bruk av
apparatet av en person som er ansvarlig for
ADVARSEL-
tilsyn,
JORDES.
slik at de ikke leker med apparatet.
9.
8
10. Denne ovnen trenger 1.3 KVA
baksiden, 10 10 cm
ikke blokkere ovnens luftutganger.
installerer ovnen.
Bare bruk
ADVARSEL: Denne ovnen er beskyttet
innvendig med en 250V, 10 A sikring.
VIKTIG
faren for antenning;
Lederne i hovedkabelen er forsynt med
Jordet
slik at eventuelle flammer
kveles;
Brun:
(Live)
fargemarkeringene som er brukt til
kontrolleres f
- Lederen som er gul-
forbrenninger;
kobles til kabelfestet som er merket med
Ikke kok egg med skall eller varm hele
bokstaven E eller med jordingssymbolet
kan eksplodere, selv etter at oppvarmingen
-
som er merket med bokstaven N eller
farget svart.
bare
- Den brune lederen
som er merket med bokstaven L eller
en svamp eller myk klut.
eventuelle matrester fjernes;
Viktig sikkerhetsinformasjon
ADVARSEL:
farlige
situasjoner;
av temperaturene som dannes (Kun for
skiftes ut av produsenten, produsentens
modellen med grillfunksjon)
servicetekniker eller liknende kvalifisert
ADVARSEL:
har blitt reparert av en kyndig tekniker;
Sikkerhetsinstruksjoner for
ADVARSEL: Det er farlig for alle andre enn
-
vanlig bruk
eller reparasjonsoperasjon som involverer
fjerning av deksler som gir beskyttelse mot
sikkerhetsanvisninger som sikrer optimal
ADVARSEL:
1.
varmes opp i lukkede beholdere siden de vil
kunne eksplodere.
bruker ovnen.
ADVARSEL: Dette apparatet er ikke tiltenkt
bruk av personer (inkludert barn) som har

136
2.
beholder og ikke beholderen selv. Derfor,
der ikke er varmt
eller noen som helst gjenstander som ikke
3.
slippe ut samme mengde damp og/eller
kunne skade ovnen.
4. Ikke bruk ovnen til noen form for lagring, for
fjerner lokket ved tradisjonell matlaging.
12. Kontrollere alltid tempera
5. ede noen form for
mat som er omsluttet av en slags membran,
varmer opp mat/drikke for babyer. Vi
slik som eggeplommer, poteter, kyllinglever,
membranen flere ganger med en gaffel.
6.
varmen blir jevnt fordelt.
13. Mat som inneholder en blanding av fett og
7. Fjern aldri noen deler av ovnen, slik som
i ovnen i 30-60 sekunder etter at ovnen har
8.
du setter den inn i ovnen.
en, eller hvis
du tilsetter en buljongterning.
14.
huske at det er noen typer mat, f.eks.
som varmes opp veldig fort. Ikke bruk
ti- eller
fettinnhold.
15.
16.
a)
andre brennbare materialer er plassert
b)
plasserer posen i ovnen.
c) Hvis materialer inne i ovnen skulle
hovedsikringen.
9.
brukes i overensstemmelse med
produsentens instruksjoner.
10.
11.
VIKTIG
- Ikke bruk metallbeholdere eller
- Ikke bruk noen gjenstander med
metalldeler.
-
kledt med papir.
- Ikke bruk melamintallerkener da de
kan inneholde et materiale som kan
eller skades og vil nedsette
tilberedingshastigheten.
-
Glaseringen er uegnet for bruk i
ikke brukes.
- Ikke bruk beholdere med liten
flasker, da de kan eksplodere hvis
- - eller
baketermometre.
- Det finnes termometre i handelen
som er laget spesielt for matlaging i

137
DATASTYRT KONTROLLPANEL
1. 10 minutter
2. 1 minutt
3. 10 sekunder
4. Display
5. Micro/Grill/Auto menu
(Micro/Grill/Automeny)
6. Clock/Timer (Klokke/Timer)
7. Start/Reset (Start/Tilbakestill)
8.
1. Sikkerhetssperre
2. Ovnsvindu
3.
4. Dreiefot
5. Glassbrett
6. Kontrollpanel
7. Grillrist
1. 10 minutes
2. 1 minute
3. 10 second
4. Display
5. Micro/Grill/Convection/Auto menu
6. Clock/Timer
7. Start/Reset
8. Open

138
Brukerinstruksjoner
1. EN-KNAPPS OPPVARMING
Du kan sette i gang enkel matlaging med ett
du raskt vil varme opp f.eks. et glass vann,
etc.
Eksempel: pp et glass melk:
a)
b) -knappen,
100% styrke i 1 minutt.
c)
er ferdig.
2.
Denne funksjonen har to muligheter.
a)
styrke)
Eksempel:
styrke i 5 minutter.
1.
2.
b)
Eksempel:
styrke i 10 minutter.
1.
2.
3.
60 minutter.
Trykk
"Micro"
tyrke
Display
1
100%
P100
2
70%
P70
3
50%
P50
4
30%
P30
5
10%
P10
4. Grill
Denne funksjonen har to alternativer. Du
kan velge mellom de
tilberedningstiden er 60 minutter):
Alternativ 1: 85 % grilleffekt, display G-1
Alternativ 2: 50 % grilleffekt, display G-2
Eksempel: Tilberede mat med grillen i 20
minutter
a) menu" til det
--displayet.
b) Sett tilberedningstid til "20:00"
c) Trykk "Start/Reset"
tilberedningstid
del stoppes programmet automatisk og det
piper to ganger, noe som betyr at du skal
"Start/Reset" og tilberedningen vil fortsette
med andre del. Hvis du ikke vil snu maten,
starter ovnen igjen automatisk etter ett
minutts pause.
5. Tilberedning med
kombinasjonsfunksjoner
n du velge
mellom 2 alternativer for tilberedning med
kombinasjonsfunksjoner.
Alternativ 1: Tilberedning med
kombinasjonsfunksjoner (
+ 45 % grill)
LED-displayet viser "C-1"
Alternativ 2: Tilberedning med
kombinasjonsfunksjoner (
+ 70 % grill)
LED-displayet viser "C-2".
Eksempel: Tilberede mat med alternativ 2 i
15 minutter.
a)
--displayet.
b) Sett tilberedningstid til "15:00"
3.
c) Trykk "Start/Reset"
6. Automeny
Eksempel:
a)
effekt og tid.
velge "DEF".
Eksempel: Automatisk tilberedning 0,4 kg
b)
fisk
a)
sec" (0.1kg).
-5".
c) .
b)
"1 Min" (1 kg) og knappen "10 Sec"
(0,1 kg).

139
c) Trykk "Start/Reset".
Antall
trykk
"1min"
Meny, Vekt (kg)
A-1
Ris
A-2
aker
A-3
Pasta
1
0,1
0,1
1
2
0,2
0,2
2
3
0,3
0,3
4
0,4
0,4
5
0,5
0,5
6
0,6
Antall trykk
"1min"
Meny, Vekt (kg)
A-4
A-5
Fisk
A-6
Kylling
1
0,2
0,2
0,2
2
0,3
0,3
0,4
3
0,4
0,4
0,6
4
0,5
0,5
0,8
5
0,6
0,6
1,0
6
0,8
0,8
7
1,0
1,0
ganger og skru seg av.
9. Barnesikring
sekunder.
"1 Min" og "10 Sec" samtidig i to
10. Start/Reset
a)
"Start/Reset".
b) Hvis det var stilt inn noen programmer
bryte
din
7. Klokke
1.
Ovnen har en 24-timers digitalklokke.
Slik stiller du klokken til for eksempel 16:30:
2. Hold ovnen ren innvendig. Hvis det skulle
a)
veggene in
angi time med knappene "1 Min" og
"10 Sec".
b) i
3.
minuttene med knappene "1 Min" og
"10 Sec".
c)
vann renne inn gjennom
avslutte.
ve
d) Hvis du vil endre klokkeslett, gjentar
4.
med en myk, fuktig klut. Ikke bruk
8. Timer
kontrollpanelet.
Med timeren kan du kan stille inn
5. Hvis det skulle samle seg damp innenfor
tilberedningen
myk klut
funksjonen.
Eksempel: Klokken er 16:30, og du vil
funksjonen av apparatet.
6.
10 minutter:
a)
eller i oppvaskmaskin.
7. Dreiefoten og
Min" og "10 Sec" (samme prosedyre
b)
mildt vaskemiddel, vann eller
velge 70 % effekt.
c) Sett tilberedningstid til 10 minutter.
d) Trykk "Start/Reset"
oppvaskmaskin. Damp fra matlagingen
Hvis du ikke stiller inn effekt og
samles opp under bruk, men har ingen
tilberedningstid og trykker pstart-knappen
med en gang du har programmert tiden, vil
timeren kun fungere som en klokke.

140
plass igjen i riktig posisjon.
8.
med vann og saften og skallet av en sitron i
9.
ovnen, vennligst ta kontakt med en
Ikke kast produktet i det vanlige
husholdningsavfallet. Etter endt levetid skal det
leveres inn til et godkjent mottak for gjenvinning.
Garanti og service
produktet, tar du kontakt med Gorenje
kundesenter i ditt land (du finner
telefonnummeret i den internasjonale
garantibrosjyren). Hvis Gorenje ikke har noe
kundesenter i ditt land, henvender du deg til
forhandleren eller kontakter Gorenje
serviceavdeling for hvitevarer.
Kun for personlig bruk!
BRUKEN AV APPARATET DITT
Flere anbefalinger for matlaging med
htpp://www.microwave.gorenje.com






