De Dietrich MS 24 MI VMC: 28. ГОДИШЕН ПРЕГЛЕД
28. ГОДИШЕН ПРЕГЛЕД: De Dietrich MS 24 MI VMC
155
71.03982.03 - BG
ИНСТРУКЦИИ ЗА ИНСТАЛАТОРА
За да се осигури максимален капацитет на работа на котела, е необходимо веднъж в годината да се извършват следните контроли:
• проверка на вида и здравината на уплътненията на газовата и горивната система;
• проверка на състоянието и правилното разположение на елктродите за запалване и контрол на пламъка;
• проверка на състоянието на горелката и правилното ù закрепване;
• проверка за евентуални отпадъци в горивната камера;
За почистването им използвайте прахосмукачка;
• проверка на правилната настройка на газовия вентил;
• проверка на налягането в отоплителната инсталация;
• проверка на налягането в разширителния съд;
• проверка на правилното функциониране на вентилатора;
• проверка на проходимостта на тръбите за отвод и приток.
ВНИМАНИЕ
Преди да предприемете каквато и да е манипулация, убедете се,че котелът не е включен към ел. захранването.
След приключване на поддръжката, възстановете положението на ключовете и/или стойностите на работните параметри
на котела.
28. ГОДИШЕН ПРЕГЛЕД
Изпразването на котела може се извърши посредством съответното кранче разположено на котела.
При моделите MS 24 MI и MS 24 MI FF, кранчето за мъркуч се намира на дъното, а при котли MS 24 и MS 24FF, е разположено
до помпата (1 – фиг. 15).
За да изпразните котела от кранчето за мъркуч, разположено на дъното на котела, следвайте указанията по-долу (фиг.15):
- затворете спирателните кранове на котела
- отворете кранчето за мъркуч с помощта на 8 мм шестостенен ключ;
- изпразнете котела;
- затворете кранчето за мъркуч с помощта на 8 мм шестостенен ключ.
29. ИЗПРАЗВАНЕ НА КОТЕЛА
CG_2284 / 1009_2405
Фигура 15
156
71.03982.03 - BG
ИНСТРУКЦИИ ЗА ИНСТАЛАТОРА
Филтрите на топлата вода и на отоплението се намират в съответни издърпващи се гилзи. Филтърът на отоплителния кръг се
намира на обратния приток на отоплението (фигура 16F), филтърът на кръга на битовата вода се намира на входа на студената
вода (фигура 16E). За почистване на филтрите следвайте долуописаните указания:
• изключете котела от ел. захранване;
• затворете кранчето на входа на битовата вода;
• източете водата от отоплителния кръг като отворите кранче А от фигура 16;
• махнете скобата (1-E/F) на филтъра както е показано на фигурата и издърпайте внимателно гилзата (2-E/F), в която е поставен
филтъра, без да прилагате излишна сила;
• за да извадите гилзата на филтъра на отоплението, първо трябва да махнете мотора на трипътния вентил (1-2G – фигура
16);
• почистете филтъра от отпадъци и утайки;
• поставете филтъра отново в гилзата и я вкарайте в гнездото ù, като я застопорите със съответната скоба.
• за смяна на сондата на битовата вода, вижте фигура 16D.
ВНИМАНИЕ
При смяна и/или почистване на пръстените “OR” на хидравличната група, не използвайте като смазочни вещества, масла или
грес, а само Molykote 111.
30 . ПОЧИСТВАНЕ НА ФИЛТРИТЕ
Почистването на кръга на битовата вода може да се извърши без да се маха топлообменника вода-вода, ако първоначално, на
изхода на топлата битова вода, е монтирано съответно кранче (по желание на клиента). За почистването следвайте долуописаното:
• Затворете кранчето за приток на битова вода;
• Източете водата от битовия кръг като отворите кран на топлата вода;
• Затворете кранчето за изход на битовата вода;
• Махнете скобата1E на фигура 16;
• Извадете филтъра(2E фигура 16);
• За смяната на сондата NTC на битовата вода, вижте фигура 16D.
Ако не е предвидено гореспоменатото кранче като опция, топлообменникът вода-вода трябва да се демонтира както е описано
в следващия параграф и да се почисти отделно. Препоръчва се почистването от варовик и на сондата NTC на битовия кръг
и съответното ù гнездо (фигура 16D).
За почистване на топлообменника и/или битовия кръг, използвайте продукта Cillit FFW-AL o Benckiser HF-AL.
31. ПОЧИСТВАНЕ НА ВАРОВИКОВИТЕ ОТЛАГАНИЯ В КРЪГА НА БИТОВАТА ТОПЛА ВОДА
157
71.03982.03 - BG
ИНСТРУКЦИИ ЗА ИНСТАЛАТОРА
Топлообменикът, изработен от неръждаема стомана може да се демонтира с помощта на шестостенен ключ по следните указания:
• изпразнете инсталацията, ако е възможно само котела,
посредством съответното за целта кранче за източване;
• източете водата от кръга на битовата вода;
• освободете тръбата, свързваща разширителния съд с хидравличната група;
• махнете пресостата на отоплението (16H) без да прекъсвате кабелите;
• махнете двата челно разположени фиксаторни болта на водния топлообменник (фигура 16) и го извадете от гнездото му,
като използвате пространството, освободено от демонтажа на отоплителния пресостат;
• почистете топлообменника и отново го монтирайте;
• закрепете свързващата тръба между разширителния съд и хидравличната група;
• поставете отново водния пресостат на мястото му.
32. ДЕМОНТАЖ НА ТОПЛООБМЕННИКА ВОДА – ВОДА
ВНИМАНИЕ
Обърнете голямо внимание при демонтажа на отделните компоненти на водопроводната група.
Не използвайте остри инструменти, не оказвайте излишен натиск при отстраняване на фиксаторните скоби.
Фигура 16
CG_2078 / 1009_2201
158
71.03982.03 - BG
ИНСТРУКЦИИ ЗА ИНСТАЛАТОРА
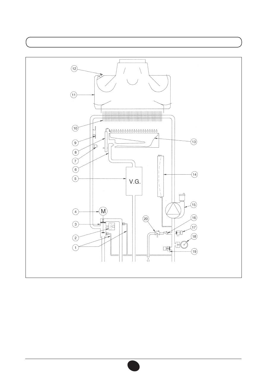
33. ФУНКЦИОНАЛНА СХЕМА НА ПОТОЦИТЕ
24 MI FF
Легенда:
1 Помпа със сепаратор за въздух
2 Невъзвратен клапан
3 Трипътен вентил
4 Мотор трипътен вентил
5 Манометър
6 Филтър на отоплителния кръг
7 Дисконектор
8 Кран за пълнене на котела
9 Филтър на студената битова вода
10 Сензор за предимство на битовата гореща вода
11 Сонда NTC на битовия кръг
12 Невъзвратен клапан на автоматичен байпас
13 Хидравличен пресостат
14 Кран за източване на котела
15 Предпазен клапан
16 Ламелен воден топлообменник
17 Газов вентил с диафрагма
18 Газова рампа с дюзи
19 Сонда NTC отопление
20 Електрод за запалване/контрол на пламъка
21 Защитен термостат
22 Топлообменик вода-димни газове
23 Колектор на димните газове
24 Вентилатор
25 Тръба Вентури
26 Контакт за положително налягане
27 Контакт за отрицателно налягане
28 Пресостат за въздуха
29 Горелка
30 Разширителен съд
Фигура 17
Подаване към
отопление
Изход
битова
топла вода
Газ
Вход
битова
вода
Връщане от
отопление
CG_2269 / 1006_1805
159
71.03982.03 - BG
ИНСТРУКЦИИ ЗА ИНСТАЛАТОРА
24 MI
Легенда:
1 Помпа със сепаратор за въздух
2 Невъзвратен клапан
3 Трипътен вентил
4 Мотор трипътен вентил
5 Манометър
6 Филтър на отоплителния кръг
7 Дисконектор
8 Кран за пълнене на котела
9 Филтър на студената битова вода
10 Сензор за предимство на битовата гореща вода
11 Сонда NTC на битовия кръг
12 Невъзвратен клапан на автоматичен байпас
13 Хидравличен пресостат
14 Кран за източване на котела
15 Предпазен клапан
16 Ламелен воден топлообменник
17 Газов вентил с диафрагма
18 Газова рампа с дюзи
19 Сонда NTC отопление
20 Електрод за запалване/контрол на пламъка
21 Защитен термостат
22 Топлообменик вода-димни газове
23 Колектор на димните газове
24 Термостат на димните газове
25 Горелка
26 Разширителен съд
Фигура 18
Подаване към
отопление
Изход
битова
топла вода
Газ
Вход
битова
вода
Връщане от
отопление
CG_2270 / 1006_1806
160
71.03982.03 - BG
ИНСТРУКЦИИ ЗА ИНСТАЛАТОРА
24 FF
Легенда:
1 Автоматичен байпас с невъзваратна клапа
2 Хидравличен пресостат
3 Трипътен вентил
4 Мотор трипътен вентил
5 Газов вентил с диафрагма
6 Газова рапма с дюзи
7 Сонда NTC отопление
8 Електрод за запалване/контрол на пламъка
9 Защитен термостат
10 Топлообменик вода-димни газове
11 Колектор на димните газове
12 Вентилатор
13 Тръба на Вентури
14 Контакт за положително налягане
15 Контакт за отрицателно налягане
16 Пресостат за въздуха
17 Горелка
18 Разширителен съд
19 Помпа със сепаратор за въздух
20 Невъзвратен клапан
21 Кран за източване на котела
22 Манометър
23 Предпазен клапан
24 Дисконектор
Фигура 19
Подаване към
отопление
Газ
Вход
битова
вода
Връщане от
отопление
CG_2267 / 1006_2102
Подаване
към
бойлер
161
71.03982.03 - BG
ИНСТРУКЦИИ ЗА ИНСТАЛАТОРА
24
Легенда:
1 Автоматичен байпас с невъзваратна клапа
2 Хидравличен пресостат
3 Трипътен вентил
4 Мотор трипътен вентил
5 Газов вентил с диафрагма
6 Газова рапма с дюзи
7 Сонда NTC отопление
8 Електрод за запалване/контрол на пламъка
9 Защитен термостат
10 Топлообменик вода-димни газове
11 Колектор на димните газове
12 Термостат на димните газове
13 Горелка
14 Разширителен съд
15 Помпа със сепаратор за въздух
16 Невъзвратен клапан
17 Кран за източване на котела
18 Манометър
19 Предпазен клапан
20 Дисконектор
Фигура 20
Подаване към
отопление
Газ
Вход
битова
вода
Връщане от
отопление
CG_2268 / 1006_2103
Подаване
към
бойлер
162
71.03982.03 - BG
ИНСТРУКЦИИ ЗА ИНСТАЛАТОРА
34. СХЕМА НА ЕЛЕКТРИЧЕСКИТЕ ВРЪЗКИ
24 MI FF
CG_2075 / 1001_1806
Цвят на кабелите
C = Син
M = Кафяв
N = Черен
R = Червен
G/V = Жълт/Зелен
B = Бял
V = Зелен
ЕЛКТРОД ЗА ЗАПАЛВАНЕ/
КОНТРОЛ
ТЕРМОСТАТ
ТРИПЪТЕН ВЕНТИЛ
ПОМПА
ВЕНТИЛАТОР
СЕНЗОР ЗА ПРЕДИМСТВО
НА Б.Т.В.
СОНДА NTC Б.Т.В.
ВЪНШНА
СОНДА
ХИДРАВЛИЧЕН ПРЕСОСТАТ
ЗАЩИТЕН
ТЕРМОСТАТ
ПРЕСОСТАТ ЗА ВЪЗДУХА
СОНДА NTC
ОТОПЛЕНИЕ.
ПРОГРАМИРАНЕ
163
71.03982.03 - BG
ИНСТРУКЦИИ ЗА ИНСТАЛАТОРА
24 MI
CG_2076 / 1001_1807
Цвят на кабелите
C = Син
M = Кафяв
N = Черен
R = Червен
G/V = Жълт/Зелен
B = Бял
V = Зелен
ЕЛКТРОД ЗА ЗАПАЛВАНЕ/
КОНТРОЛ
ТЕРМОСТАТ
ТРИПЪТЕН ВЕНТИЛ
ПОМПА
СЕНЗОР ЗА ПРЕДИМСТВО
НА Б.Т.В.
СОНДА NTC Б.Т.В.
ВЪНШНА
СОНДА
ХИДРАВЛИЧЕН ПРЕСОСТАТ
ЗАЩИТЕН
ТЕРМОСТАТ
СОНДА NTC
ОТОПЛЕНИЕ.
ПРОГРАМИРАНЕ
ТЕРМОСТАТ ЗА
ИЗГОРЕЛИТЕ ГАЗОВЕ
164
71.03982.03 - BG
ИНСТРУКЦИИ ЗА ИНСТАЛАТОРА
24 FF
Цвят на кабелите
C = Син
M = Кафяв
N = Черен
R = Червен
G/V = Жълт/Зелен
B = Бял
V = Зелен
ЕЛКТРОД ЗА ЗАПАЛВАНЕ/
КОНТРОЛ
ТЕРМОСТАТ
КЛЕМОРЕД M2
ПОМПА
ВЪНШНА
СОНДА
ХИДРАВЛИЧЕН ПРЕСОСТАТ
ЗАЩИТЕН
ТЕРМОСТАТ
ПРЕСОСТАТ ЗА ВЪЗДУХА
СОНДА NTC
ОТОПЛЕНИЕ.
ПРОГРАМИРАНЕ
ВЕНТИЛАТОР
CG_2271 / 1006_1603
ТРИПЪТЕН ВЕНТИЛ
165
71.03982.03 - BG
ИНСТРУКЦИИ ЗА ИНСТАЛАТОРА
24
Цвят на кабелите
C = Син
M = Кафяв
N = Черен
R = Червен
G/V = Жълт/Зелен
B = Бял
V = Зелен
ЕЛКТРОД ЗА ЗАПАЛВАНЕ/
КОНТРОЛ
ТЕРМОСТАТ
КЛЕМОРЕД M2
ПОМПА
ВЪНШНА
СОНДА
ХИДРАВЛИЧЕН ПРЕСОСТАТ
ЗАЩИТЕН
ТЕРМОСТАТ
СОНДА NTC
ОТОПЛЕНИЕ.
ПРОГРАМИРАНЕ
ТРИПЪТЕН ВЕНТИЛ
CG_2272 / 1010_2101
ТЕРМОСТАТ ЗА
ИЗГОРЕЛИТЕ ГАЗОВЕ
166
71.03982.03 - BG
ИНСТРУКЦИИ ЗА ИНСТАЛАТОРА
35. ТЕХНИЧЕСКИ ХАРАКТЕРИСТИКИ
Модел MS
24 MI FF
24 FF
24 MI
24
Клас
II
2H3P
II
2H3P
II
2H3P
II
2H3P
Номинален топлинен дебит
kW
25,8 25,8 26,3 26,3
Минимален топлинен дебит
kW
10,6 10,6 10,6 10,6
Номинална топлинна мощност
kW
24 24 24 24
kcal/h
20.600 20.600 20.600 20.600
Минимална топлинна мощност
kW
9,3 9,3 9,3 9,3
kcal/h
8.000 8.000 8.000 8.000
К.п.д. според директива 92/42/ЕО
—
★★★
★★★
★★
★★
Максимално налягане на водата в отоплителния кръг
bar
3
3
3
3
Вместимост на разширителния съд
l
6 6 6 6
Налягане на разширителния съд
bar
1
1
1
1
Максимално налягане на водата в кръга на Б.Т.В.
bar
8
—
8
—
Минимално динамично налягане на водата в кръга на Б.Т.В.
bar 0,15 — 0,15 —
Минимален дебит на водата в кръга на Б.Т.В.
l/min
2,0
— 2,0
—
Производство на Б.Т.В. с ΔT=25 °C
l/min
13,7 — 13,7 —
Производство на Б.Т.В. с ΔT=35 °C
l/min
9,8
— 9,8
—
Специфичен дебит (*)
l/min
12
—
12
—
Температурни граници на отоплителния кръг
°C
30/85 30/85 30/85 30/85
Температурни граници на кръга на Б.Т.В.
°C
35/60 35/60*** 35/60 35/60***
Тип
—
C12-C32-C42-C52-C82-B22
B
11BS
B
11BS
Диаметър на коаксиалния димоотвод
mm
60 60
-
-
Диаметър на коаксиалната тръба за приток на въздух
mm
100
100
-
-
Диаметър на раздвоения димоотвод
mm
80 80
-
-
Диаметър на раздвоения oтвод за приток на въздух
mm 80 80 - -
Диаметър на димоотвода
mm
-
- 125 125
Максимално количество на димните газове
kg/s
0,014 0,014 0,020 0,020
Минимално количество на димните газове
kg/s
0,014 0,014 0,018 0,018
Максимална температура на димните газове
°C
146 146 110 110
Минимална температура на димните газове
°C
116 116 85 85
Клас NOx
—
3 3 3
3
—
G20 G20 G20 G20
Tип газ
—
G31 G31 G31 G31
Налягане на захранването с природен газ
mbar
20
20 20
20
Налягане на захранването с пропан/бутан
mbar
37
37 37
37
Напрежение на електрическото захранване
V
230 230 230 230
Честота на електрическото захранване
Hz
50 50 50 50
Номинална ел. мощност
W
130 130 80 80
Нетно тегло
kg
33 32 29 28
Размери
Височина
mm
730 730 730 730
Ширина
mm
400 400 400 400
Дълбочина
mm
299 299 299 299
Степен на защита от влага и проникване на вода
(**)
IP X5D
IP X5D
IP X5D
IP X5D
(*) според EN 625
(**) според EN 60529
(***) с външен бойлер
Фирмата DE DIETRICH, в пред вид непрекъснатия процес на подобрение на производството, си запазва правото да променя данните изложени
в тази документация, във всеки момент и без предупреждение. Настоящата документация има информативна стойност и не може да се счита за
договор с трети лица.
Оглавление
- SOMMAIRE
- 5. DESCRIPTION DES TOUCHES (ÉTÉ – HIVER – CHAUFFAGE SEULEMENT – ARRÊT)
- •
- 28. RACCORDEMENT D’UN BALLON SEPARE AVEC UN MOTEUR VANNE 3 VOIES
- 5. DESCRIZIONE TASTO (Estate - Inverno - Solo riscaldamento - Spento)
- •
- 5. DESCRIPTION OF BUTTON (Summer - Winter - Heating only - Off)
- •
- 5. DESCRIPCIÓN DE LA TECLA (Verano - Invierno - Sólo calefacción - Apagado)
- •
- 5. ОПИСАНИЕ НА БУТОН (Лято – Зима – Само отопление – Изключен)
- 8. СМЯНА НА ВИДА ГАЗ
- 13. УКАЗАНИЯ ПРЕДИ МОНТАЖА
- 15. РАЗМЕРИ НА КОТЕЛА
- •
- 28. ГОДИШЕН ПРЕГЛЕД
- SPIS TREŚCI
- 1. OSTRZEŻENIA PRZED ZAINSTALOWANIEM
- 3. ROZRUCH KOTŁA
- 4. REGULACJA TEMPERATURY POKOJOWEJ I CIEPŁEJ WODY UŻYTKOWEJ
- 7. WYŁĄCZENIE KOTŁA 8. ZMIANA GAZU
- 9. WYDŁUŻONY OKRES WYŁĄCZENIA INSTALACJI. OCHRONA PRZED ZAMARZANIEM
- 12. UWAGI OGÓLNE 13. WYMAGANIA INSTALACYJNE
- 14. UWAGI INSTALACYJNE
- 15. WYMIARY KOTŁA
- 16. INSTALOWANIE PRZEWODÓW POWIETRZNO-SPALINOWYCH
- 17. PODŁĄCZENIE ELEKTRYCZNE 18. PODŁĄCZENIE TERMOSTATU POKOJOWEGO
- 19. SPOSÓB ZMIANY RODZAJU GAZU
- •
- 21. USTAWIENIE PARAMETRÓW
- 23. USTAWIENIE ELEKTRODY ZAPŁONOWEJ I JONIZACYJNEJ PŁOMIEŃ
- 24. KONTROLA PARAMETRÓW SPALANIA 25. CHARAKTERYSTYKA NATĘŻENIA PRZEPŁYWU/WYSOKOŚCI PODNOSZENIA
- 26. PODŁĄCZENIE CZUJNIKA ZEWNĘTRZNEGO
- 28. KONSERWACJA ROCZNA
- 30. CZYSZCZENIE FILTRÓW
- 32. DEMONTAŻ WYMIENNIKA WODA-WODA
- 33. SCHEMAT FUNKCJONALNY OBWODÓW
- 34. SCHEMAT POŁACZEŃ ELEKTRYCZNYCH
- 35. CHARAKTERYSTYKA TECHNICZNA
- CUPRINS
- 1. AVERTISMENTE ANTERIOARE INSTALĂRII
- 3. PUNEREA ÎN FUNCŢIUNE A CENTRALEI TERMICE
- 4. REGLAREA TEMPERATURII AMBIANTE ŞI A TEMPERATURII APEI MENAJERE
- 7. OPRIREA CENTRALEI TERMICE 8. SCHIMBAREA TIPULUI DE GAZ
- 10. INTRAREA ÎN FUNCŢIUNE A DISPOZITIVELOR DE SIGURANŢA
- 12. AVERTISMENTE GENERALE 13. AVERTISMENTE ANTERIOARE INSTALĂRII
- 13. INSTALLAZIONE DELLA CALDAIA 14. INSTALAREA CENTRALEI TERMICE
- 14. DIMENSIONI CALDAIA 15. DIMENSIUNILE CENTRALEI TERMICE
- 16. INSTALAREA CONDUCTELOR DE EVACUARE GAZE ARSE ŞI ADMISIE AER
- 17. CONECTAREA LA REŢEAUA ELECTRICĂ 18. CONECTAREA TERMOSTATULUI AMBIENTAL
- 19. MODALITĂŢI DE SCHIMBARE A TIPULUI DE GAZ
- 20. VIZUALIZAREA PARAMETRILOR PE AFIŞAJ (FUNCŢIE “INFO”)
- 21. SETAREA PARAMETRILOR
- 23. POZIŢIONAREA ELECTRODULUI DE APRINDERE ŞI DETECTARE A FLĂCĂRII
- 24. VERIFICAREA PARAMETRILOR DE COMBUSTIE 25. PERFORMANŢE DEBIT/ÎNĂLŢIME DE POMPARE
- 26. CONECTAREA SONDEI EXTERNE
- 28. ÎNTREŢINEREA ANUALĂ
- 30. CURĂŢAREA FILTRELOR
- 32. DEMONTAREA SCHIMBĂTORULUI APĂ-APĂ
- 33. DIAGRAMĂ FUNCŢIONALĂ CIRCUITE
- 34. DIAGRAMĂ CUPLARE CONECTORI
- 35. CARACTERISTICI TEHNICE
- ΠΕΡΙΕΧΟΜΕΝΑ
- 1. ΟΔΗΓΙΕΣ ΠΡΙΝ ΤΗΝ ΕΓΚΑΤΑΣΤΑΣΗ
- 3. ΘΕΣΗ ΣΕ ΛΕΙΤΟΥΡΓΙΑ ΤΟΥ ΛΕΒΗΤΑ
- 4. ΡΥΘΜΙΣΗ ΤΗΣ ΘΕΡΜΟΚΡΑΣΙΑΣ ΠΕΡΙΒΑΛΛΟΝΤΟΣ ΚΑΙ ΤΟΥ ΝΕΡΟΥ ΟΙΚΙΑΚΗΣ ΧΡΗΣΗΣ
- 7. ΣΒΗΣΙΜΟ ΤΟΥ ΛΕΒΗΤΑ 8. ΑΛΛΑΓΗ ΑΕΡΙΟΥ
- 10. ΕΝΔΕΙΞΕΙΣ-ΕΠΕΜΒΑΣΗ ΣΥΣΤΗΜΑΤΩΝ ΑΣΦΑΛΕΙΑΣ
- 12. ΓΕΝΙΚΕΣ ΠΛΗΡΟΦΟΡΙΕΣ 13. ΟΔΗΓΙΕΣ ΠΡΙΝ ΤΗΝ ΕΓΚΑΤΑΣΤΑΣΗ
- 13. INSTALLAZIONE DELLA CALDAIA 14. ΕΓΚΑΤΑΣΤΑΣΗ ΤΟΥ ΛΕΒΗΤΑ
- 14. DIMENSIONI CALDAIA 15. ΔΙΑΣΤΑΣΕΙΣ ΛΕΒΗΤΑ
- 16. ΕΓΚΑΤΑΣΤΑΣΗ ΑΓΩΓΩΝ ΑΠΑΓΩΓΗΣ - ΑΝΑΡΡΟΦΗΣΗΣ
- 17. ΗΛΕΚΤΡΙΚΗ ΣΥΝΔΕΣΗ 18. ΣΥΝΔΕΣΗ ΤΟΥ ΘΕΡΜΟΣΤΑΤΗ ΔΩΜΑΤΙΟΥ
- 19. ΤΡΟΠΟΣ ΑΛΛΑΓΗΣ ΑΕΡΙΟΥ
- 20. ΑΠΕΙΚΟΝΙΣΗ ΠΑΡΑΜΕΤΡΩΝ ΣΤΗΝ ΟΘΟΝΗ (ΛΕΙΤΟΥΡΓΙΑ «INFO»)
- 21. ΡΥΘΜΙΣΗ ΠΑΡΑΜΕΤΡΩΝ
- 23. ΤΟΠΟΘΕΤΗΣΗ ΗΛΕΚΤΡΟΔΙΟΥ ΑΝΑΦΛΕΞΗΣ ΚΑΙ ΑΝΙΧΝΕΥΣΗΣ ΦΛΟΓΑΣ
- 24. ΕΛΕΓΧΟΣ ΠΑΡΑΜΕΤΡΩΝ ΚΑΥΣΗΣ 25. ΧΑΡΑΚΤΗΡΙΣΤΙΚΑ ΠΑΡΟΧΗΣ / ΜΑΝΟΜΕΤΡΙΚΟΥ ΥΨΟΥΣ ΣΤΗΝ ΠΛΑΚΑ
- 26. ΣΥΝΔΕΣΗ ΤΟΥ ΕΞΩΤΕΡΙΚΟΥ ΑΙΣΘΗΤΗΡΑ
- 28. ΕΤΗΣΙΑ ΣΥΝΤΗΡΗΣΗ
- 30. ΚΑΘΑΡΙΣΜΟΣ ΤΩΝ ΦΙΛΤΡΩΝ
- 32. ΑΠΟΣΥΝΑΡΜΟΛΟΓΗΣΗ ΕΝΑΛΛΑΚΤΗ ΝΕΡΟΥ-ΝΕΡΟΥ
- 33. ΛΕΙΤΟΥΡΓΙΚΟ ΣΧΕΔΙΟ ΚΥΚΛΩΜΑΤΩΝ
- 34. ΣΧΕΔΙΟ ΣΥΝΔΕΣΗΣ ΣΥΝΔΕΣΜΩΝ
- 35. ТЕХНИЧЕСКИ ХАРАКТЕРИСТИКИ
- 5. ОПИСАНИЕ КНОПКИ (Лето – Зима – Только Отопление – Выключено)
- •
- 5. 锅炉运行模式选择
- 错误信息及故障表

