Gorenje GMO-25 DGE – page 3
Manual for Gorenje GMO-25 DGE
Table of contents
- SPECIFICATIONS Radio interference Before you call for service Installation
- Important safety instructions Safety instructions for general use
- IMPORTANT-COOKWARE NOT TO USE IN YOUR MICROWAVE OVEN
- Computer control panel Feature diagram
- Operation Instruction 6. Auto-Menu
- 10. Start/Reset Care of your microwave oven
- Environment Guarantee & service

41
8 cm,
Allgemeine
an den Seiten mindestens 10 cm und
10 cm
Sicherheitshinweise
freien Raum lassen. D
Im nachfolgenden Text sind einige Regeln und
bedecken.
wie beim Gebrauch
mikrowellentaugliches Geschirr und
wird:
Beim Erhitzen von Speisen in Kunststoff-
1.
Betriebs des Mikrowellenherdes der
Vorgang wegen Brandgefahr
beaufsichtigen.
der Rollenri
Bei Auftreten von Rauch den
2. Verwenden Sie den Mikrowellenherd nur
Mikrowellenherd sofort abschalten, das
zum Zubereiten von Speisen und nicht zum
lassen, um eventuelle Flammen zu
Sterilisieren.
ersticken.
3. Schalten Sie den Mikrowellenherd niemals
ein, wenn der Garraum leer ist, da dadurch
erhitzen, ka
4. Bewahren Sie im Garraum keine
deswegen immer besonders vorsichtig
verfahren.
5. Garen Sie keine Lebensmittel, die mit einer
Verzehr den Inhalt von Babyflaschen oder
Membran umgeben sind, wie z.B.: Eigelb,
die Membran an mehreren Stellen mit einer
In
Gabel durchgestochen zu haben.
Im Mikrowellenherd keine rohen oder
6.
gekochten Eier in Schale erhitzen, da diese
7. e, z.B.
beendet ist.
Verwenden Sie zum Reinigen der
8. Garen Sie keine Speisen direkt auf dem
Drehteller. Bevor Sie das Gargut in den
Garraumes nur milde (keine abrasiven)
Garraum stellen, legen Sie es in einen
Reinigungsmittel und tragen Sie diese mit
einem Schwamm oder einem weichen Tuch
WICHTIG:
auf.
Mikrowellenherd nicht verwendet werden
Reinigen Sie den Mikrowellenherd und
darf:
entfernen Sie etwaige Speisereste
-
Metallgriffen,
-
-
instandhalten,
- Geschirr aus Melamin, da es Stoffe
kommen, was sich negativ auf die
absorbieren. Das kann zum Springen
-
/Garvorgang verlangsamt.
darf dieses nur vom Hersteller, einem
- Verwenden Sie kein Geschirr ohne
autorisierten Kundendienstfachmann oder
mikrowellengeeignete Beschichtung.
einem anderen, entsprechend qualifizierten
Verwenden Sie ebenso keine
Fachmann ausgetauscht werden, um
geschlossenen Tassen mit Griffen.
Gefahren zu vermeiden.
- Bereiten Sie keine Speisen bzw.

42
Erhitzungsvorgang, wenn sich im
bersten kann.
Garraum Papier-
- Verwenden Sie im Mikrowellenherd
brennbare Materiale befinden.
b)
Thermometer verwenden, die zum
stellen, zuerst die Drahtklammern
Gebrauch im Mikrowellenherd geeignet
(Blitzbinder) entfernen.
sind.
c) Wenn sich ein Gegenstand im
9.
Mikrowellenherd nur unter Beachtung der
Gebrauchsanweisung des Herstellers.
10. Verwenden Sie den Mikrowellenherd
Versorgungsnetz und schalten Sie die
niemals zum Frittieren.
Hauptsicherung in ihrem
11. Mikrowellenherd nur
Sicherungskasten ab.
abgibt oder aus diesem Tropfen spritzen,
12.
Temperatur der Speise, insbesondere,
niemals unmittelbar nach dem
Herausnehmen aus dem Mikrowellenherd
zu verzehren, sondern ein paar Minuten
13. Lassen Sie Speisen, die Fett und Wasser
enthalten, z.B. Suppe, nach dem
Abschalten des Mikrowellenherdes
Garraum stehen. Dadurch kann sich die
Speise stabilisieren und es wird
Siedeverzug verhindert, wenn Sie in die
14.
Weihnachtspudding, Marmelade oder
Hackfleisch, sehr schnell erhitzen.
Verwenden Sie zum Erhitzen oder Garen
von Speisen mit hohem Fett- oder
15.
Speisen im Mikrowellenherd benutzen,
kann sich sehr stark erhitzen, da die Speise
Kunststoff. Verwenden Sie zum
16. Um die Brandgefahr im Garraum zu
verringern:
a)

43
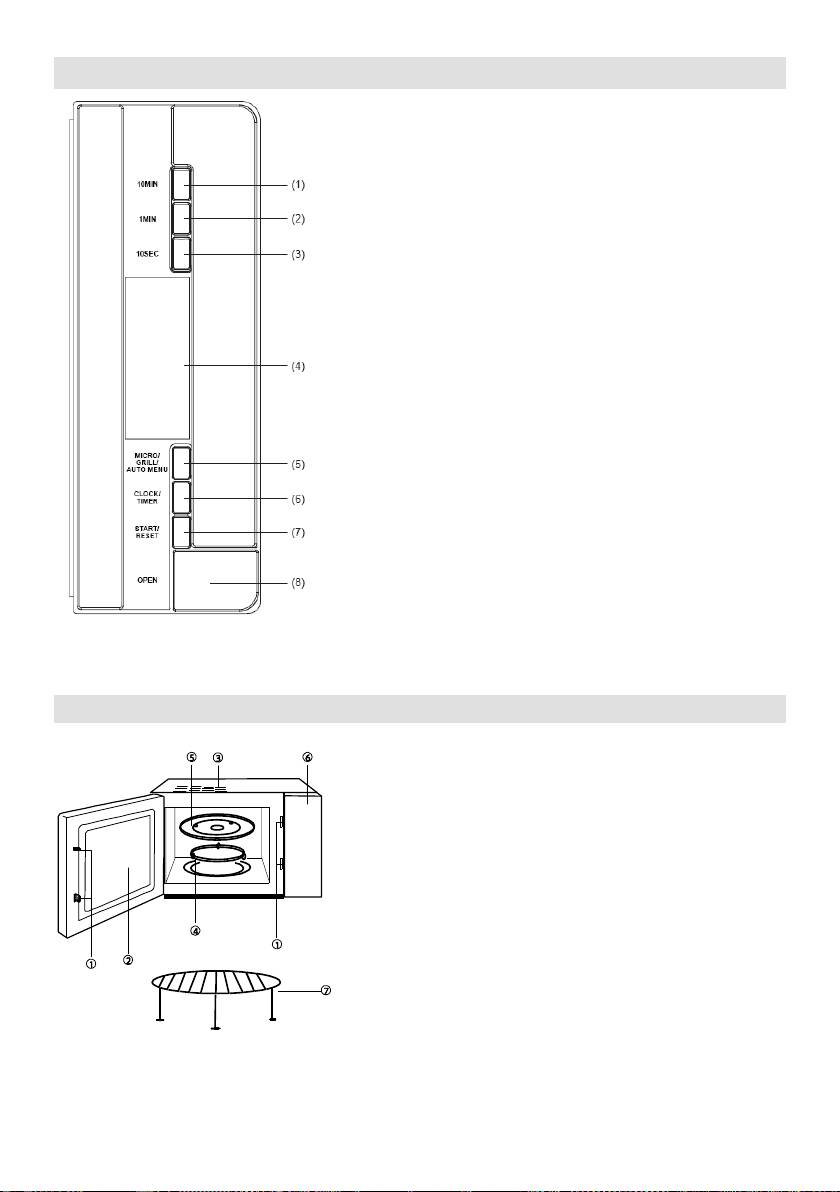
Bedienungshinweise
1. 10 Minuten
2. 1 Minute
3. 10 Sekunden
4. Display
5. Mikrowelle/Grill/Auto-
6. Uhr/Zeitschaltuhr
7. Start/Einstellung
8.
Diagramm des Mikrowellenherdes
1. Sicherheits-
2. Sichtfenster
3.
4. Rollenring:
5. Glasunterteller
6. Bedienfeld
7. Grillrost

44
1. Erhitzen mit einem einzigen
Knopfdruck
einem einzigen Knopfdruck aktivieren.
Diese Funktion ist sehr praktisch und
Beispiel: Erhitzen von einem Glas Milch
a) Stellen Sie das Glas mit der Milch auf
b)
und der Mikrowellenherd arbeitet 1
Minute lang mit 100%-iger Leistung.
c) Nach Ablauf der eingestellten Garzeit
-faches akustisches Signal.
2. Erhitzen mit Mikrowellen
a) Schnelles Erhitzen mit Mikrowellen
(100% Leistung)
Beispiel: Garen mit 100% Leistung, 5
Minuten.
1.
2.
b) Erhitzen mit Mikrowellen mit
manueller Abschaltung
1. "Micro
menu"
Leistungsstufe;
2.
3.
Anzahl der
igungen
"Micro"
Leistung der
Mikrowellen
Text auf
dem
Display
1
100%
P100
2
70%
P70
3
50%
P50
4
30%
P30
5
10%
P10
b)
c) -Taste.
Die Masse des gefrorenen Fleisches
4. Grill
"Micro" (die max. Garzeit
85% Grill-Leistung, auf dem
Display erscheint G-1
-Leistung, auf dem
Display erscheint G-2
Beispiel: Zubereitung von Fleisch mit dem
Grill, 20 Minuten.
a) "Micro
menu", auf dem LED Display erscheint
G-1.
b) Stellen
c) -Taste.
Wenn Sie Fleisch mit dem Grill
zubereiten, wird nicht mit Mikrowellen
gegrillt, sondern mit dem
Garraums.
Wenn der Grill in Betrieb ist, ist das
Garen (bzw. Braten) auf zwei Stufen
der Grillzeit schaltet das Programm
automatisch ab, zwei akustische
Grillgute
-Taste, das
Programm wird fortgesetzt. Wenn Sie
automatisch mit dem Grillvorgang fort.
5. Kombinierte Betriebsart
Der Mikrowellenher
kombinierter Zubereitung von Speisen.
Kombinierte Betriebsart (55%
Mikrowelle + 45% Grill). Auf dem Display
3. Automatisches Auftauen -
-
massebezogen
Kombinierte Betriebsart (70%
Mikrowelle + 30% Grill). Auf dem Display
Lebensmittel, der Mikrowellenherd gibt
ersch-
Ihnen die geeignete Betriebsdauer vor.
Zur schnellen Zubereitung mit dem Grill
Beispiel: Auftauen von 0,5 kg gefrorenem
Beispiel: Zubereitung von Speisen mit der
Fleisch.
a)
a)
die Taste "Micro".
-

45
b)
c) ie die -Taste.
6. Automatik-
Ihnen die geeignete Leistungsstufe und die
Betriebsdauer vor.
Beispiel: Automatisches Garen von 0,4 kg
Fisch.
a) die Taste "Micro
menu" -
b)
eingeben, bis auf dem Display der
c) -Taste.
Anzahl der
Tigungen
"1min"
A-1
Reis
A-2
A-3
Nudeln
1
0,1
0,1
1
2
0,2
0,2
2
3
0,3
0,3
4
0,4
0,4
5
0,5
0,5
6
0,6
Anzahl der
Tigungen
"1min":
A-4
Fleisch
A-5
Fisch
A-6
1
0,2
0,2
0,2
2
0,3
0,3
0,4
3
0,4
0,4
0,6
4
0,5
0,5
0,8
5
0,6
0,6
1,0
6
0,8
0,8
7
1,0
1,0
4.
beschriebenen Vorgang.
8. Zeitschaltuhr
Anfang und das Ende des Garvorgangs
einzustellen.
Uhr des Mikrowellenherdes auf die aktuelle
Zeit eingestellt sein.
Beispiel: Die augenblickliche Zeit ist 16:30;
einleiten und zwar mit 70% Leistungsstufe,
Garzeit 10 Minuten.
a)
(gleiches Verfahren wie bei der
Einstellung der Uhrzeit).
b)
"Microo menu".
c) Stellen Sie die Garzeit auf 10 Minuten
ein.
d) -Taste.
Wenn Sie die Leistungsstufe und die
Garzeit nicht einstellen und unmittelbar
nach Einstellung der Startzeit die
Mikrowellenherd nur als
Kurzzeitmesser funktionieren. Um
9. Kindersicherung
Wenn Sie die Kindersicherung aktivieren
en Sie
Sie die Kindersicherung deaktivieren
7. Uhr
beschriebenen Vorgang.
Digitaluhr mit 24-Stunden-Anzeige. Zur
Eingabe der aktuellen Zeit, z.B. 16:30, tun
10.
Sie Folgendes:
1.
a)
Der Text auf dem Display beginnt zu
blinken. Stellen Sie die Uhr mit den
Mikrowellenherdes unterbrochen.
2.
b) Wenn Sie vorher den
zeitprogrammierten Betrieb eingestellt
3. ut die Taste
eingestellt.

46
Pflege des
1. Bevor Sie mit der Reinigung des
8. Eventuelle una
Mikrowellenherdes beginnen, trennen Sie
Versorgungsnetz.
Zitronensaft und Zitronenschalen in das
2. Der Garraum sollte immer sauber gehalten
werden. Wischen Sie getrocknete
Speisereste, herausgespritzte oder
chen Sie
nach Beendigung der eingestellten Zeit den
feuchten Tuch von de
Garraum mit einem weichen Tuch ab und
Die Verwendung von groben Reinigungs-
reiben Sie ihn trocken.
oder abrasiven Scheuermitteln ist nicht
9.
empfehlenswert.
ausgetauscht werden sollte, wenden Sie
3.
mit einem feuchten Tuch ab. Um
Umweltschutz
zu vermeiden, lassen Sie kein Wasser oder
Werfen Sie das Gert am Ende der Lebensdauer
nicht in den normalen Hausmll. Bringen Sie es
zum Recycling zu einer offiziellen Sammelstelle.
4.
Auf diese Weise helfen Sie, die Umwelt zu
werden. Reinigen Sie das Bedienfeld mit
schonen.
einem weichen und feuchten Tuch.
Verwenden Sie zum Reinigen des
Garantie und Kundendienst
Bedienfeldes keine groben (abrasiven)
Reinigungsmittel oder Reinigungsmittel in
Spraydosen.
Probleme auf, setzen Sie sich mit einem Gorenje
5. Bei Niederschlag von Wasserdampf an der
Service-Center in Ihrem Land in Verbindung
Innen-
(Telefonnummer siehe internationale
wischen Sie diese mit einem weichen Tuch
Garantieschrift). Sollte es in Ihrem Land kein
Service- Center geben, wenden Sie sich bitte an
der Mikrowellenherd in einer sehr feuchten
Umgebung betrieben wird und bedeutet
Nur zum eigenen Gebrauch!
hat.
6. Von Zeit zu Zeit ist es notwendig, den
Glasunterteller herauszunehmen und zu
reinigen. Reinigen Sie den Drehteller in
warmem Wasser mit etwas
Ges
7.
Betriebs zu vermeiden. Wischen Sie den
milden
Glasreiniger ab und reiben Sie dann alles
mit einem sauberen und trockenen Tuch
n sich auf
FREUDE MIT IHREM NEUEN
Speisen ansammeln, was ihre Funktion
MIKROWELLENHERD!
Rollenring aus der Vertiefung im Garraum
Braten mit Mikrowellen und Grill sowie
Sie auf unserer Homepage:
http://microwave.gorenje.com

47
NOTICE D'UTILISATION FR
....................................................................................... 230V~50Hz, 1400W
Puissance des micro-ondes ......................................................................................................... 900W
Puissance du gril ....................................................................................................................... 1200W
............................................................................................................................. 2450MHz
Dimensi ............................................................... 510mm(L) x 303mm(H) x 382mm(P)
Dimensions de la ................................................................ 330mm(L) x 230mm(H) x 330mm(P)
Volume du four ......................................................................................................................... 25 litres
Poids net ...................................................................................................................... environ 15,5 kg
Niveau de bruit......................................................................................................... Lc IEC < 58 dB (A)
n des aliments et des
en plein air.
-
Avant de contacter le service
imilaires. Pour
-vente
suivantes.
1. Si le four ne fonctionne pas du tout,
a)
b) Placez la radio, la TV, etc. aussi loin que
a)
possible du four.
s,
c) Installez une antenne convenable pour
retirez la fiche de la prise secteur,
attendez 10 secondes et rebranchez le
four convenablement.
b)
Installation
fonctionnent normalement, testez la
1.
prise murale en y raccordant un autre
appareil.
four.
2. Si le four ne fonctionne pas en mode micro-
2.
ondes:
a)
points suivants:
-
b)
-
- Entailles ou trous sur le hublot ou
cas contraire, le flux des micro-ondes
ne peut pas parvenir dans le four.
-
Si le four ne fonctionne toujours pas une
-
-dessus ont
dessus, le four.
3. -5,5 kg et doit
-vente.
suffisamment solide pour supporter son
poids.
Cet appareil est pourvu du marquage
Cette directive est applicable dans les
reprise et le recyclage des appareils

48
4.
ATTENTION : si la porte ou le joint de la
vapeur.
5. NE METTEZ RIEN sur le dessus du four.
6. Laissez un espace li
ATTENTION : il est dangereux pour toute
e
impliquant la
7.
plateau tournant.
-ondes.
8.
ATTENTION : il ne faut pas chauffer les
liquides et autres aliments dans des
ATTENTION CET APPAREIL DOIT
xploser.
9.
ATTENTION :
10. La puissance du four est de 1,4
ont compris les risques auxquels ils
correctement.
ATTENTION :
Volts,
Laissez un espace libre de 8
10
10 10 cm au-dessus
IMPORTANT
Code couleur des conducteurs composant le
:
Utilisez exclusivement une batterie de
Vert et jaune: Terre
cuisine et des ustensiles compatibles avec
Bleu: Neutre
-ondes.
Marron: Phase
Il est possible que les couleurs des
des barquettes en plastique ou en papier,
conducteurs du cordon secteur ne
identifiant les conducteurs sur les bornes de
Si vous
votre prise murale
, -le et laissez la porte
:
-
E ou par le
-
symbole de terre de couleur verte ou verte
et jaune.
-
aution.
N ou par la couleur
noire.
les biberons, remuez le contenu des petits
-
la
L ou par la couleur
avant consommation.
rouge.
coque aux micro-ondes, car ils peuvent
Consignes de s
que le temps de cuisson
importantes
Lorsque vous nettoyez la porte, le joint de
ATTENTION :
s
disposant de la fonction gril).

49
carboniser.
- Ne faites rien chauffer dans des
Si le cordon secteur est endommag
exemple les bouteilles de boissons
le faire remplacer
-Vente
le
micro-ondes.
- un
,
choisissez-en un qui soi
-ondes. Ces
Vous trouverez ci-dessous un certain nombre de
reils.
commerce.
9. -
ondes selon les recommandations du
maximales.
fabricant.
1.
10. Ne faites pas de fritures dans ce four.
11. Souvenez--
place.
-
2. Utilisez le four exclusivement pour la
semble pas
de linge, du papier, ou autre chose que des
conserves.
; soyez
3.
prudent lorsque vous enlevez le couvercle.
12.
4.
, testez vous-
espace de rangement pour des papiers,
des livres de cuisine, ou autres objets.
5. recouverts
:
micro-ondes ; laissez-les reposer quelques
s, foies de volaille, pommes de
minutes et -les pou
terre, etc.
6.
13.
carrosserie.
de la graisse (par exemple bouillon cube)
7.
etc.
8.
bo
directement sur le plateau en verre. Placez-
14.
les enfourner.
souvenez-vous que certains aliments (par
IMPORTANT USTENSILES DE CUISINE
confiture, viande
-ONDES :
f
-
contenant beaucoup de sucre ou de
-
en plastique.
15.
-
raison de la chaleur transmise par les
aliments qui cuisent. Cela est flagrant si
vous recouvrez le pl
-
mettre des gants de cuisine quand vous
micro-ondes. Cela ralentirait la cuisson
manipulez vos .

50
16.
qui les ferment si ces derniers
:
.
a) ne prolongez pas inutilement la
c)
cuisson. Surveillez le four tant que des
e,
l ou mettez-le
;
hors tension en fermant le disjoncteur
b) avant dfourner des aliments sous
ou en enlevant le fusible sur le tableau
sachets en plastique, retirez les liens
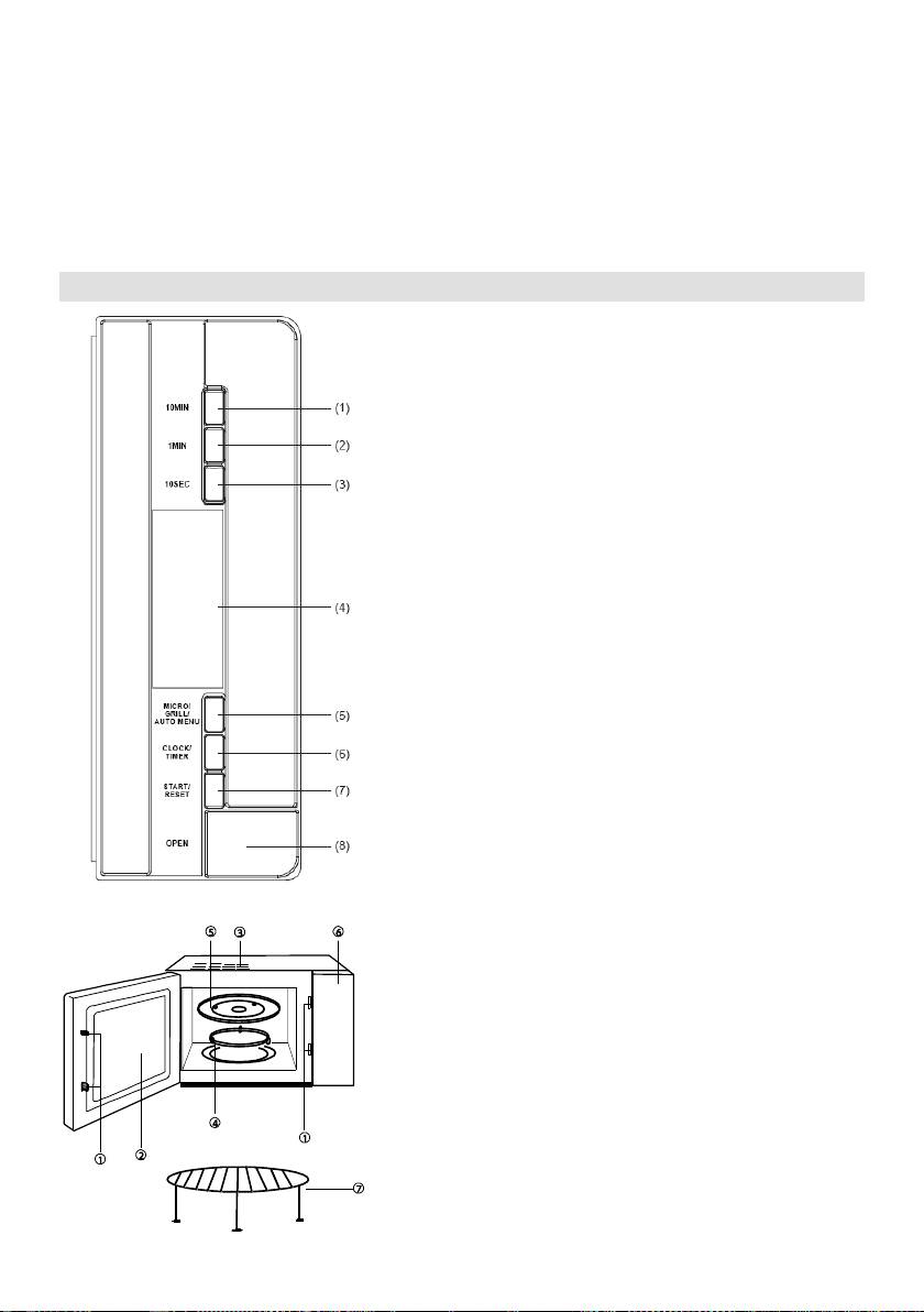
1. 10 minutes
2. 1 minute
3. 10 secondes
4. Afficheur
5. Micro-ondes/Gril/Cuisson Auto
6. Horloge/Programmateur
7.
8. Ouverture de la porte
du four
1.
2. Hublot
3. Fentes de ventilation
4.
5. Plateau tournant en verre
6. Bandeau de commandes
7.

51
Fonctionnement
1. minute
appuyant sur une seule touche. Il est ainsi
Exemple po:
a) Placez le verre de lait au centre du
plateau tournant et fermez la porte.
b) Appuyez sur la touche Start/Reset ,
le micro-ondes
sa puissance pendant 1 minute.
c)
signal sonore retentit 5 fois.
2. en mode micro-ondes
Cette fonction comporte deux options :
a)
puissance)
Exemple
100% de la puissance pendant 5 minutes :
5:00
Appuyez sur la touche tart/Reset
b)
Exemple
70% de la puissance pendant 10 minutes :
1. Appuyez sur la touche "Micro
menu", 70%
puissance
2. 10:00
3. Appuyez sur la touche Start/Reset .
Il existe 5 niveaux de puissance ; en mode
micro-
longue est de 60 minutes.
Nombre de
pressions
sur la
touche
"Micro"
Puissance
des micro-
ondes
Affichage
1
100%
P100
2
70%
P70
3
50%
P50
4
30%
P30
5
10%
P10
b) Entrez le poids en appuyant sur la
1 MIN
10 SEC
c) Appuyez sur la touche Start/Reset
2 kg.
4. Gril
Cette fonction comporte deux options pour
Option 1
affichage G-1,
Option 2 : puissance du gri
affichage G-2.
Exemple pour la cuisson au gril pendant 20
minutes :
a)
menu G-1
b)
20:00
c) Start/Reset
En mode gril, les aliments ne sont pas cuits
par les micro-ondes. La chaleur provient de
four.
Durant la cuisson au gril, le programme
-cuisson et
2
faut ouvrir la porte du four et retourner les
face, refermez la porte et appuyez sur la
Start/Reset ; la cuisson se
poursuit pour la seconde moit
imparti. Si vous ne retournez pas la grillade,
le four se remet en marche
pause.
5.
Cet appareil vous permet de choisir entre
.
Option 1 : micro-%
de la puissance
C-1
3.
Option 2 : micro-0%
fonction du poids
de la puissance
C-2
pendant 15 minutes :
a)
er 0,5 kg de viande:
menu C-2
a) Appuyez sur la touche "Micro
menu", DEF

52
b)
15:00
c) Start/Reset
6. Cuisson automatique (Auto Menu)
automatiquement la puissance et
de cuisson.
Exemple pour la cuisson automatique de
0,4 kg de poisson :
a)
menu A-5
b) Entrez le poids en appuyant sur la
1 MIN
10 SEC
c) Start/Reset
Nombre
de
pressions
sur la
touche
"1min"
Affichage, poids (kg)
A-1
Riz
A-2
A-3
1
0,1
0,2
0,1
2
0,15
0,3
0,2
3
0,2
0,4
0,25
4
0,25
0,5
0,30
5
0,3
0,6
0,35
6
0,35
0,7
0,40
7
0,4
0,9
0,45
8
0,45
1,1
0,50
9
0,5
1,3
0,55
10
0,6
1,5
0,60
Nombre
de
pressions
sur la
touche
"1min"
Affichage, poids (kg)
A-4
Viande
A-5
Poisson
A-6
Poulet
1
0,1
0,2
0,2
2
0,2
0,3
0,4
3
0,3
0,4
0,6
4
0,4
0,5
0,8
5
0,5
0,6
1,0
6
0,6
0,8
7
0,8
1,0
8
1,0
heures av 1 MIN
10 SEC
b) Appuyez de nouveau sur la touche
Clock/Timer
1 MIN
10 SEC
c) Appuyez encore une fois sur
Clock/Timer
d)
-dessus.
8. Programmateur
de la cuisson.
que vous puissiez utiliser cette fonction.
Exemple : i
a) Clock/Timer
18:15
1 MIN 10 SEC
eure).
b)
menu
puissance.
c)
minutes.
d) Start/Reset
ent
Start/Reset
fonctionnera comme un simple minuteur : il
9.
1 MIN
10 SEC
1 MIN 10 SEC
secondes.
10. Start/Reset
7. Horloge
a) Quand le four est en service, une
Le four
press Start/Reset
b)
sur 16h30) :
a) Appuyez sur la touche
Start/Reset
programmation.
Clock/Timer

53
9.
Entretien et nettoyage
1.
fournira une nouvelle.
-le.
2.
Environnement
aux parois, enlevez-
-
3. Nettoyez la carrosserie avec u
Garantie et service
pas endommager les composants du four.
4.
Si vous souhaitez obtenir des informations
reste toujours sec. Essuyez-le avec un
de
pour nettoyer le bandeau de commande.
5.
garantie internationale
Service Consommateurs Gorenje dans votre
essuyez-la avec un chiffon doux. Ce
pays, renseignez-
four
-ondes fonctionne dans des
Service Department of Gorenje Domestic
; cela
Appliances.
nullement un dysfonctionnement de
6.
plateau tournant pour le nettoyer. Vous
pouvez le laver neuse
ou dans votre lave-vaisselle.
7.
les
-
vaisselle. Les vapeurs de cuisson qui se
du four ni les roulettes de la couronne.
place dans sa position initiale.
8.
jus de citron et de sa
peau. Faites fonctionner le four 5 minutes
en mode micro-ondes, puis passez
VOUS SOUHAITE BEAUCOUP DE
un torchon sec.
PLAISIR
APPAREIL
Vous trouverez des informations
cuisson aux micro-ondes et au gril sur notre
site Internet:
http://microwave.gorenje.com

54
HU
Energia- ................................... 230V~50Hz,1400W
................................................................................................................... 900W
Grill- ..................................................................................................................................... 1200W
............................................................................................................. 2450MHz
.......................................................................... 510mm(Sz) X 303mm(M) X 382mm(M)
etei: .......................................................... 330mm(Sz) X 230mm(M) X 330mm(M)
- .......................................................................................................................... 25 liter
.................................................................................................. Kb. 15,5 kg
..................................................................................................................... Lc < 58 dB(A)
-zavarok (interferencia)
- -
vagy
1.
a)
, vagy ha a
b) - -
a)
csatlakoztatva van-e az elektromos
c) - -
b)
-e ki egy
nem szakadt--
1.
-e minden
2.
-e rajta
2.
nem a
-
a)
-
-
-
b)
be van-e csukva. Ha nincs, nem fog
-
3. 4,5

55
FIGYELEM:
4. - -
5.
6.
FIGYELEM:
-8
ben
hogy legyen.
7.
FIGYELEM: Gyerekek csak abban az
8.
FIGYELEM:
9. A konnektor,
8 0 cm,
legyen.
10. 1,4 kVA
FIGYELEM:
FONTOS
-
ko
Barna: -
becsukva, hogy elfojtsuk az esetleges
-ek,
- -
E
-
amely N
- A barn
L
Fontos
FIGYELEM:
FIGYELEM:

56
ata
-
-
ki.
megrepedhet.
-
lkalmasak
9.
be
10.
1.
r
11.
2.
3.
okozhatunk benne.
12.
4.
5.
-
let egyenletesen eloszoljon
benne.
6.
13.
tartalmazza, pl. leves-
7.
-
8.
FONTOS:
14.
-
-
felmelegszenek. A- vagy
-
-
15.
-
tben,

57
16.
b)
a)
.
c)
vannak.
-
1. 10 perc
2. 1 perc
3. 1
4.
5.
6.
7.
8.
1.
2.
3.
4.
5.
6.
7.

58
-
kevesebb kell hogy legyen.
1.
4. Grill
da:
a)
G-1
G-2
b) Nyomjuk meg a "Start/Reset" gombot,
llel 20 percig
a)
c)
jelenik a "G-
b)
c) Nyomjuk meg a "Start/Reset" gombot
2.
a)
percig.
1. -re.
2. Nyomjuk meg a "Start/Reset" gombot.
b)
1. Nyomjuk meg a
-os
fokozatot.
2. -re.
3. Nyomjuk meg a "Start/Reset" gombot.
5.
55%
% grill)
-
30%
0% grill)
-
a)
3.
jelenik a "C-
b) -re
c) Nyomjuk meg a "Start/Reset" gombot.
a) A gomb
6. Auto-
sszuk ki a "DEF"
b) Az "1Min" (1 kg) gomb valamint a
c) Nyomjuk meg a "Start/Reset" gombot.
Gombnyo
a
"Micro"
A
Felirat a
1
100%
P100
2
70%
P70
3
50%
P50
4
30%
P30
5
10%
P10

59
a)
-5".
b)
kg
c) Nyomjuk meg a "Start/Reset" gombot.
Gomb-
"1min"
A-1
Rizs
A-2
A-3
1
0,1
0,1
1
2
0,2
0,2
2
3
0,3
0,3
4
0,4
0,4
5
0,5
0,5
6
0,6
Gomb-
a
"1min"
A-4
A-5
Hal
A-6
Csirke
1
0,2
0,2
0,2
2
0,3
0,3
0,4
3
0,4
0,4
0,6
4
0,5
0,5
0,8
5
0,6
0,6
1,0
6
0,8
0,8
7
1,0
1,0
b)
ki a 70%-os
c)
d) Nyomjuk meg a "Start/Reset" gombot.
-t
9.
10. Start/Reset
a)
megnyomjuk a "Start/Reset" gombot, a
b)
7.
-ra az
a) Nyomjuk meg a "Clock/Timer" gombot
1.
b)
2.
c)
gombot
3.
d)
folyamatot kell megism
8.
4.
spray-ket.
5.
-kor
-os
a) Nyomjuk meg a "Clock/Timer" gombot,
-

60
6.
7. -
-
-
-
8.
9.
Krnyezetvdelem
A feleslegess vlt kszlk szelektv
hulladkknt kezelend. Krjk, hivatalos
jrahasznost gyjthelyen adja le, gy
hozzjrul a krnyezet vdelmhez.
H
A
-
oldalon:
http://microwave.gorenje.com






