Gorenje GMO25ORAITO – page 5
Manual for Gorenje GMO25ORAITO
Table of contents
- SPECIFICATIONS Radio interference Before you call for service Installation
- IMPORTANT Important safety instructions
- Safety instructions for general use IMPORTANT-COOKWARE NOT TO USE IN YOUR MICROWAVE OVEN
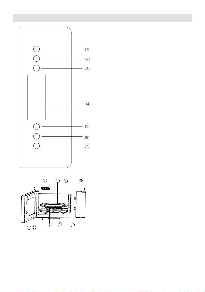
- Computer control panel
- Operation Instruction 5. Auto-Menu
- 9. Start/Reset Care of your microwave oven
- Environment Guarantee & service

81
5. Menu automatiky
a)
-5".
b) Zad
(0,1 kg)
c)
Casy
"time up"
A-1
A-2
Zelenina
A-3
Cestoviny
1
0,1
0,1
1
2
0,2
0,2
2
3
0,3
0,3
4
0,4
0,4
5
0,5
0,5
6
0,6
"time up"
A-4
A-5
Ryba
A-6
1
0,2
0,2
0,2
2
0,3
0,3
0,4
3
0,4
0,4
0,6
4
0,5
0,5
0,8
5
0,6
0,6
1,0
6
0,8
0,8
7
1,0
1,0
a)
time up"
b)
c)
d)
O 18:15 10-
8. tka
" " a " " naraz na
" a " "
odomkne.
9.
a)
b)
o
1.
6. Hodiny
2.
pokrmu a
a)
a "10
3.
Sec".
b)
time up" and
"10 Sec".
4.
c) odiny
d)
5. Ak sa p
7.
podmienkach s vysokou
zariadenia.
tejto funkcie.
6.
Umyte ho v teplej mydlovej vode alebo
v
7.

82
okien a
miernej mydlovej vode alebo
v
a
8.
hlbokej
tkaninou.
9.
predajcu.
s
v
predajcu Gorenj
http://microwave.gorenje.com

83
CZ
Specifikace
............................ 230V~50Hz,1400W
......................................................................................................................................... 900W
Spir ............................................................................................................................... 1000W
...............1500W (:1000W, : 500W)
................................................................................................................ 2450MHz
...................................................................... 510 mm mm (V) mm (H)
................................... 330 mm mm (V) 330 mm (H)
Objem trouby: ............................................................................................................................. 25
Hmotnost bez obalu: .................................................................................................... 16,5 kg
........................................................ < 58 dB (A).
(waste electrical and electronic equipment
-
(interference)
v EU.
v
p
,
1. V
a)
nefunguje, nebo displej, p
b)
zhasne:
od mikrovlnn
a) Zkontrolujte, jestli
c)
Pokud
Instalace
b) Zkontrolujte, jestli je pojistka
1. jestli jste z ku
jestli nevypadla pojistka
Pokud
2. troubu, jestli
-
2. V
-
-
a) Zkontrolujte, jestli
.
- ku trouby.
b) Zkontrolujte, jestli
Jakmile
Pokud
3. 16,5 kg;
nebude fungovat.
V
4.
s
5. N
6. ou cirkulaci vzduchu kolem
v

84
7.
8. Pokud
musej
ch osob.
9.
, aby se dala snadno
it a.
10. 4
vi
8 cm, po
trouby poradili s
ch 10 cm 0 cm
s
POZOR:
pojistkou, a to 250 V, 10 A.
hlediska
Zeleno-
kontrolujte
- -
E nebo
uhaste.
Pokud v
-
N
proto
barvu.
-
L
V
v
budou z
a vni
s
ch teplot.
ho
ovat, a
v
v
Pokud dojde k
vo
k

85
9.
pouze v souladu s
10. v
11. Dbejte na to, aby se v
V
, ve
stroj
nad
v
1. Pokud je mi
12.
2.
v
trouby.
ci.
3.
13.
4. V
ej
v
5.
slupku
14.
6.
,
7.
8.
15.
teplo.
-
- hranami
16.
-
a)
- melaminu,
mat
b)
-
ochrany, k
k
v
c)
- nebo
v okrajem
rasknout.
pojist
-
v

86
Diagram trouby
1.
2. -
3.
odmrazovn, gril a kombinace) / Cooking
mode (microwave, defrost, grill and
combination)
4. Displej
5.
Time set and Timer
6.
7. reset
function
1.
2. Okno trouby
3.
4. e
5. T
6.
7.
8.

87
4.
1.
zapnete po
a)
-1".
b) Start/Reset a
"G-2".
c)
"G-3".
2.
-1".
a)
-2".
minut.
1. 5:00.
2. SS.
-3".
b)
v
1.
-4".
2.
3.
minut.
a)
-
b) Na
c)
v
Pokud je funkce grilu v
3.
masa.
a)
b) time up
time down
5.
potraviny.
Vyberete pouze druh pokrmu a maso,
c)
chodu.
hovat 2 kg.
"Micro"
Informace
na displeji
1
100%
P100
2
70%
P70
3
50%
P50
4
30%
P30
5
10%
P10

88
by.
a)
-
b)
a (0,1 kg), dokud se na
c)
stis
"time up"
Hmotnost (kg),menu
A-1
A-2
Zelenina
A-3
Nudle
1
0,1
0,1
1
2
0,2
0,2
2
3
0,3
0,3
4
0,4
0,4
5
0,5
0,5
6
0,6
"time up"
Hmotnost (kg),menu
A-4
Maso
A-5
Ryba
A-6
1
0,2
0,2
0,2
2
0,3
0,3
0,4
3
0,4
0,4
0,6
4
0,5
0,5
0,8
5
0,6
0,6
1,0
6
0,8
0,8
7
1,0
1,0
b)
c) Nasta
d)
18:15
automaticky vypne.
8.
V
-
chcete tuto funkci vypnout, postup
zopakujte.
9.
a)
b) V
6. Hodiny
trouby
1.
1.
na displeji za
2.
2.
,
3.
Nedopor
4.
3.
na
7.
nevylila voda.
4.
s ho
pokrm ch
5. Pokud se
a)
i
nastavte
o poruchu trouby.

89
6. e
jej. T
nebo v
7.
v
kem, vodou nebo
na
ste
ho zase ili.
8.
z jednoho citronu.
trouby a troubu .
9.
ivotn prosted
A pstroj doslou, nevyhazujte jej do bnho
komunlnho odpadu, ale odevzdejte jej do
sbrny uren pro recyklaci. Pomete tm
chrnit ivotn prosted
m nebo byste
aktovat
Domestic Appliances.
TROUBY
htpp://microwave.gorenje.com

90
BG
............................................................................................................. 230V~50Hz,140W
...................................................................................... 900W
................................................................................................ 1000W
1500W (: 1000W, : 500W)
................................................................................................... 2450MHz
..................................................................... 510mm(W) X 303mm(H) X 382mm(D)
.............................................. 330mm(W) X 230mm(H) X 330mm(D)
...................................................................................................... 25
.............................................................................................................................. 16,5
..................................................................................................................Lc< 58 dB(A)
-
1.
a)
a)
b)
-
c)
b)
1.
2.
2.
a)
-
-
b)
-
-

91
3. 16,5
4.
5.
6.
-
-
7.
8.
-
9.
10.
250V,10 Am
8
0
1
-
F
-
N
-
L

92
7.
8.
-
-
-
-
-
-
Livingware.
-
-
-
1.
-
2.
9.
3.
10.
4.
11.
5.
6.

93
12.
13. -60
14.
15.
-
16.
a)
b)
c)

94
1.
2.
3.
4.
5.
6. /
7. /
1.
2.
3.
4.
5. T
6.
7.
8.

95
3.
defro
1.
a)
a)
menu"
b)
b) Start/Reset
time up"
(0.1kg).
c) Start/Reset ".
c)
-
4. &
2.
a)
.
1.
1:
,
2. Start/Reset
"G-1".
b)
"G-2".
1.
menu"
"G-2".
2.
I (30%
3. Start/Reset
+70% )
"C-1"
-
II (55%
60
+45% )
"C-2"
III (30%
+ 70%
) "C-3"
IV (55%
+45%
"C-4".
"Micro"
1
100%
P100
2
70%
P70
3
50%
P50
4
30%
P30
5
10%
P10

96
5.
.
: 0.4
a)
"A-5".
b)
c)
-
"time
up"
, ()
A-1
A-2
A-3
1
0,1
0,1
1
2
0,2
0,2
2
3
0,3
0,3
4
0,4
0,4
5
0,5
0,5
6
0,6
-
, ()
A-4
A-5
A-6
1
0,2
0,2
0,2
2
0,3
0,3
0,4
3
0,4
0,4
0,6
4
0,5
0,5
0,8
5
0,6
0,6
1,0
6
0,8
0,8
7
1,0
1,0
7.
.
: 16:30
18:15
70% 10 :
a)
b)
c)
d)
18:15 10
.
8.
" "
" "
" "
" "
2 ,
9. /
a)
6.
b)
24-
4:30pm:
a)
b)
c)
d)

97
1.
9.
2.
3.
4.
5.
Department of Gorenje Domestic Appliances.
!
6.
7.
8.
http://microwave.gorenje.com

98
UA
........................................................................................... 40
.................................................................................................................... 9
...................................................................................................................................... 10
1500W (: 1000W, : 500W)
................................................................................................................................. 2
................................................................. 51303 X 382
.................................... 330230
.............................................................................................................................................25
.........................................................................................................................16,5
...................................................................................................................
a)
1.
)
a)
1.
2.
-
2.
-
-
a)
-
-
-
3.
16,5
4.
electronic equipment - WEEE).

99
5.
6.
3.
7.
4.
8.
9.
10. 4
.
5.
6.
a)
1.
2.
3.
4.
5.
1.
2.
-
- -
-
-
-

100
6.
15.
-60
7.
16.
8. -
17.
9.
10.
-
-
-
-
-
-
-
11.
12.
13.
14.

