Gorenje GMO-25 DCB – page 9
Manual for Gorenje GMO-25 DCB
Table of contents
- SPECIFICATIONS Radio interference Before you call for service Installation
- IMPORTANT Important safety instructions Safety instructions for general use
- 16. To reduce the risk of fire in the oven cavity:
- Computer control panel Feature diagram
- Operation Instruction 5. Combination Cooking
- 9. Timer
- 11. Start/Reset Environment Care of your microwave oven

161
Pavyzdys: esamas laikas yra 16:30 ir
a) Paspauskite "Laikrodis/Laikmatis"
"18:15" spausdami "
b)
c) 10
d)
Jei nenust
laikrodis.
10.
mygtukus vienu metu ir palaikykite 2
sekundes.
palaikykite 2 sekundes.
11.
a) prietaisui veikiant, paspauskite
"S
b)
buvo nustatyta kokia nors

162
Aplinka
prietaiso kartu
1.
atliekomis
. p
2.
aplinkosaugos.
Garantija ir aptarnavimas
Jei jums reikia informacijos arba jei turite
, Gorenje
3.
viso
. Jei
aptarnavimo centro,
4. ldymo skydelio.
Gorenje arba susisiekite su Gorenje
Valdymo skydeliui valyti nenaudokite
Prietaisas skirtas naudoti tik buityje!
5.
6.
7. Ritininis nukreiptuvas ir krosne
ar jod dugnui.
8.
kite ir
9.
internete, adresu:
htpp://www.microwaves.gorenje.com

163
KASUTUSJUHEND EE
TEHNILISED ANDMED
.......................................................................................................... 230V~50Hz,1400W
............................................................................................................................ 900W
Grilli k .......................................................................................................................... 1200W
................................................................................................................ 1350W
Kasutatav sagedus: ............................................................................................................... 2450MHz
............................................................................... 510mm(L) X 303mm(K) X 382mm(D)
............................................................... 330mm(L) X 230mm(K) X 330mm(D)
Ahju maht: ................................................................................................................................. 25 liitrit
Kaal: ............................................................................................................................. Umbes. 17,5 kg
:............................................................................................................... (Lc IEC) < 58 dB (A)
See seade on
Euroopa direktiivile 2002/96/EC kasutatud
elektrilistest ja elektroonika seadmetest
eie
(WEEE).
kasutatud elektri- ja elektroonikaseadmete
kogumise ja taaskasutamise kohta.
a) Puhastage ahju ukse ja tihendi pinnad.
b) Paigaldage raadio, TV, jms mikrolaineahjust
See seade on komplitseeritud seade mis on
c) Kasutage korrektselt paigaldatud antenni
poolt, kes on tutvunud kasutusjuhendiga ja kes
oma raadio, TV, jms seadme signaali
Paigaldamine
selle seadmega ega kasutada seda
1.
eemaldatud ahju seest.
Enne hooldusesse helistamist
2. Kontrollige, et peale pakendi eemaldamist
1.
-
kuvata midagi.
- Vigastatud uks
a) Kontrollige, kas seade on korrektselt
-
-
eemaldage pistik seinakontaktist,
dage taas.
vigastust, ahju kasutage.
b)
3. See mikrolaineahi kaalub 17,5 kg ja tuleb
asetada horisontaalsele pinnale, mis on
need tunduvad olema korras,
piisavalt tugev sellise raskusega seadme
kandmiseks.
4.
2.
temperatuuridest ja aurust.
a)
5. asetage midagi ahju peale.
b) Kontrollige, kas uks on korrektselt
6.
suletud turvalukustusega. Vastasel
korral mikrolaineenergia ei liigu ahju.
korrektse ventileerimise tagamiseks.
7. eemaldage
PARANDANUD OLUKORDA,
8.

164
HOIATUS-SEE SEADE PEAB OLEMA
MAANDATUD.
ventilatsiooni avasid.
9.
Kasutage ainult mikrolaineahjus
seinakontaktist eemaldada.
kasutamiseks sobivaid tarvikuid.
10.
konsulteerige ahju paigaldamisel
hooldustehnikuga.
ETTEVAATUST: Sellel ahjul on sisemine
eemaldage toitejuhe seinakontaktist ning
esile kutsuda viivitusega purskuva keemise,
Roheline-ja-kollane: Maa
se
Sinine: Neutraalne
Lutipudelite ja beebitoidupurkide sisu tuleb
Pruun: Faas
hoolikalt segada ja raputada ning kontrollida
Kui toitejuhtme kaablit
Tervet toorest ja keedetud muna ei tohi
kuumutada mikrolaineahjus, kuna need
- Roheline-ja-
plahvatada ka peale seda, kui
E
Ukse pinna, ukse tihendi, ahju sisemuse
roheline.
puhastamiseks kasutage pehmet lappi, mis
-
on niisutatud lahja, mitteabrasiivse
terminaliga, N
vahendiga.
Ahju tuleb puhastada regulaarselt ja
-
ed;
L
Kui toitejuhe on vigastatud, tohib seda
Olulised ohutusjuhised
vahetada vaid tootja esindaja,
HOIATUS:
all, kuna
temperatuuri; (Ainult grillifunktsiooniga
J
mudelitel)
HOIATUS:
vigastatud, ei tohi ahju kasutada kuni need
1. Ahju kasutamisel peavad ahjus alati olema
on parandatud kompetentse isiku poolt;
HOIATUS:
2.
ebakompetentne isik teostab mikrolaineahju
riiete,
mikrolaineenergia eest kaitsvate katete
steriliseerimiseks.
eemaldamist;
3.
HOIATUS: Vedelikke ja muid toiduaineid ei
kahjustada.
tohi kuumutada kinnistes anumates, kuna
4.
HOIATUS: a lubage lastel
kokaraamatute jms hoidmiseks.
kasutada mikrolaineahju ainult siis, kui last
5. is on
valest kasutamisest tingitud ohtusid.
torgata.
8 cm, 10 cm
6.
0 cm ahju peale. Kui
ventilatsiooniavade ette.

165
7.
dur, kruvid jms.
puljongi kuubik.
8.
14. Kui valmistate toite/vedelikku, mis
sisaldavad teatud toiduaineid, nt
enne ahju paigutamist.
Suure suhkru ja rasvasisaldusega
15. kuna
need kuumenevad toiduainest eralduva
16.
a) e
ettevaatlik, kui kasutate
b) Eemaldage plastikkottidelt enne ahju
panemist metallklambrid.
c)
eemaldage toitejuhe seinakontaktist
9. Mikrolaineahju tarvikuid tuleb kasutada vaid
vastavalt tootjapoolsetele juhistele.
10.
mikrolaineahjus.
11.
kuumutab vedelikku anumas, mitte anumat
utamisel.
12. Alati kontrollige valmistatud toidu
temperatuuri enne serveerimist, eriti kui
soojendate beebitoitu. Soovitatav on alati
13. Toidud, mis sisaldavad vee ja rasva segu,
nt puljong, peavad seisma ahjus peale ahju
-60 sekundit.
-
KASUTADA MIKROLAINEAHJUS
-
-
-
-
purunemist ning aeglustada toidu
valmimist.
-
mikrolaineahjus kasutamiseks.
Corelle Livingware tasse ei tohi
kasutada.
-
mikrolaineahjus kuumutamisel
plahvatada.
-
termomeetreid.
- Mikrolaineahjus sobivad
kasutamiseks vaid spetsiaalset

166
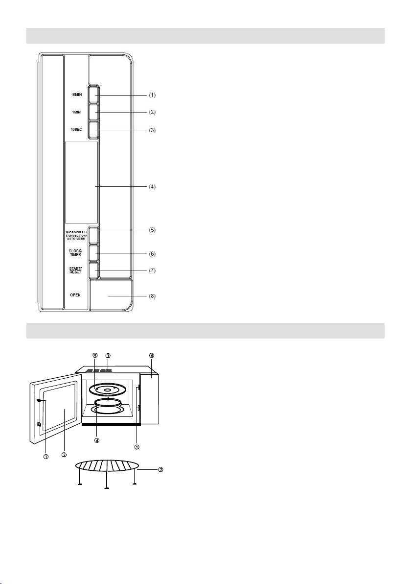
JUHTPANEEL
1. 10 minutit
2. 1 minut
3. 10 sekundit
4. Displei
5.
6. Kell/Taimer
7. Start/Reset
8. Avamine
OSADE DIAGRAMM
1.
2. Ukse aken
3. Ventilatsiooniavad
4.
5. Klaasalus
6. Juhtpaneel
7. Grillrest
25. 10 minutit
26. 1 minut

167
Kasutusjuhend
1.
mugav ja k
jms soojendamiseks.
Klaasi piima soojendamiseks
a)
alusele ja sulgege uks.
b)
c) Kui aeg on kulunud, kuulete 5 piiksu.
2. Kuumutamine mikrolainetega
Sellel funktsioonil on kaks valikut.
a) Kiire mikrolainetega kuumutamine
5 minutit
1.
2.
b)
10 minutit
1.
2.
3.
maksimaalselt toiduvalmistamise pikkuseks
90 minutit.
Vajutuste arv
"Micro"
Mikrolainete
võimsus
Kuva
1
100%
P100
2
70%
P70
3
50%
P50
4
30%
P30
5
10%
P10
4. Grill
Sellel funktsioonil on 2 varianti. Nende kahe
vahel valimiseks vajutage nupule
toiduvalmistamise aeg on 60 minutit):
Variant 1: -1
Variant 2: -2
eks: Toitu valmistatakse grilliga 20
minutit
a)
kuvatakse "G-1".
b)
c) Vajutage "Start/Reset".
Grillimisel ei kasutata toidu kuumutamiseks
mikrolaineid. Kuumuse tootmiseks
osas asuvat
jagatud 2 etappi, peale 1.etappi peatub
programm automaatselt ja kostub 2 piiksu,
Vajutage
toiduvalmistamise 2.etapiga. Kui Te ei soovi
automaatselt peale 1 minutilist pausi.
5. Kombineeritud toiduvalmistamine
Selle seadmega saate valida kolme
kombineeritud toiduvalmistamise variandi
vahel.
Variant 1: Kombineeritud
toiduvalmistamine (50% mikrolaineid + 200
ºC konvektsiooni)
Aknas kuvatakse "C-1"
Variant 2: Kombineeritud
toiduvalmistamine (50% grilli + 220 ºC
konvektsiooni)
Aknas kuvatakse "C-2"
Toitu valm
15 minutit.
a)
aknas kuvatakse"C-2"
b)
3.
c) Vajutage "Start/Reset".
Variant 3: Kombineeritud
msuse
toiduvalmistamine (50% mikrolaineid + 50%
taset ja aega.
grilli)
Aknas kuvatakse "C-3"
Kiireks grillimiseks jms.
a)
valida "DEF".
15 minutit.
b) Sisestage kaal, vajutades nupule
a)
"1min" (1kg) ja nupule "10 sek"
aknas kuvatakse "C-2"
(0,1kg).
b)
c)
c) Vajutage "Start/Reset"
kg.

168
6. Konvektsiooniga toiduvalmistamine
Seda ahju saab kasutada
konvektsioonahjuna ja seda saab
programmeerida saavutama soovitud
temperatuuri eelkuumutamiseks. Vaikimisi
temperatuuriks on seatud 230 ºC, sellest
erineva temperatuuri seadmiseks vajutage
Ahju eelkuumutamiseks 200 ºC.
a)
nupule, et valida konvektsiooni
temperatuur, kuni hakkab vilkuma
º
b) Vajutage "Start/Reset".
Kui eelkuumutuse temperatuur on
saavutatud, seade peatub. Kaks piiksu
meenutavad Teile, et ahi on valmis toidu
sinna asetamiseks. Seadke soovitud
eelkuumutamiseks on 30 minutit.
Konvektsiooniga
toiduvalmistamine, eelkuumutage ahi
temperatuurini 200 ºC ja seadke
toiduvalmistamise ajaks 20 minutit.
a)
nupule, et valida konvektsioon
toiduvalmistamine, kuni displeile
º
b) Seadke toiduvalmistamise ajaks 0
minutit
c) Vajutage "Start/Reset".
7.
Teil tuleb valida vai
Automaatne 0,4 kg kala
valmistamine
a)
nuppu kuni kuvatakse "A-5".
b) Sisestage kaal, vajutades nupule "1
min" (1 kg) ja nupule "10 sek" (0,1 kg).
c) Vajutage "Start/Reset".
Vajutuste
arv "1min"
A-1
Kuumu-
tus
A-2
Kartulid
A-3
Pizza
1
0,1
0,2
0,1
2
0,15
0,3
0,2
3
0,2
0,4
0,25
4
0,25
0,5
0,30
5
0,3
0,6
0,35
6
0,35
0,7
0,40
7
0,4
0,9
0,45
8
0,45
1,1
0,50
9
0,5
1,3
0,55
10
0,6
1,5
0,60
Vajutuste
arv "1min"
A-4
Liha
A-5
Kala
A-6
Kana
1
0,1
0,2
0,2
2
0,2
0,3
0,4
3
0,3
0,4
0,6
4
0,4
0,5
0,8
5
0,5
0,6
1,0
6
0,6
0,8
7
0,8
1,0
8
1,0
9
8. Kell
Ahju on sisseehitatud 24-tunnine digitaalne
kell.
a) Vajutage "Kell/Taimer" nupule. Displei
hakkab vilkkuma, seadke tunnid
nuppudega "1 Min" ja "10 Sek".
b) Vajutage uuesti "Kell/Taimer", seadke
Sek".
c) Vajutage uuesti "Kell/Taimer" ja
kellaaeg on seatud.
d) Kui Te soovite muuta kellaaega, siis
korrake sama protseduuri.
9. Taimer
toiduvalmistamist oma mikrolaineahjus
Enne selle funktsiooni kasutamist peab
olema sisestatud kellaaeg.
Kell on praegu 16:30 ja Te soovite
70% 10minutit:
a) Vajutage "Kell/Taimer", seadke ajaks
"18:15" nuppude "1Min" ja "10 Sek"
abil, (sarnaselt kellaaja seadistamise
protseduurile)
b)
c) Seadke toiduvalmistamise ajaks 10
minutit
d) Vajutage "Start/Reset".
toiduvalmistamise aega ning vajutate kohe
programmeerinud aja ning seade hakkab

169
10. Lapse turvalukk
9. Kui osutub vajalikuks vahetada ahjulampi,
Lapse turvaluku aktiviseerimiseks vajutage
vahetamisest.
2 sekundit samaaegselt nuppudele "1 Min"
ja "10 Sek".
Keskkond
Vajutage uuesti korraga nuppudele "1 Min"
ja "10 Se
seade turvalukustusest.
11. Start/Reset
kaitsta keskkonda.
a)
nupule "Start/Reset", peatate sellega
Garantii & hooldus
b)
Gorenje Klienditeeninduskeskusesse (leiate selle
sellele nupule vajutamisega.
Kui Teie asukohamaal puudub
MIKROLAINEAHJU
HOOLDAMINE
Gorenje kodumasinate teeninduskeskusega.
1.
Ainult eratarbimiseks!
seinakontaktist.
2. Hoidke ahju sisemus puhtana.
modifikatsioonideks!
Toidupritsmete puhastamiseks seintele,
tugevatoimelisi ja abrasiivseid aineid.
3.
ventilatsiooniavade.
4.
Puhastage juhtpaneeli niiske pehme lapiga,
ge kasutage lahusteid, abrasiivseid aineid
ega aerosoole.
5. Kui aur on akumuleerunud ahjuukse
niiskusetaseme juures ning ei ole seadme
seks.
6.
7.
stusvahendiga
niisutatud lapiga ning kuivatage. Rullikutega
SOOVIME TEILE MEELDIVAID
Peale puhastamist asetage rullikutega
ELAMUSI SEADME KASUTAMISEL
8.
anum veega, millesse
on lisatud sidrunimahla ja sidrunikoort.
1102002
ahju pinnad hoolikalt kuivaks.
mikrolainetega, grillimiseks ja muid kasulikke
:
:
htpp://www.microwaves.gorenje.com






