Gorenje GMO-25 DCB – page 5
Manual for Gorenje GMO-25 DCB
Table of contents
- SPECIFICATIONS Radio interference Before you call for service Installation
- IMPORTANT Important safety instructions Safety instructions for general use
- 16. To reduce the risk of fire in the oven cavity:
- Computer control panel Feature diagram
- Operation Instruction 5. Combination Cooking
- 9. Timer
- 11. Start/Reset Environment Care of your microwave oven

81
11. Start/Reset
9.
a) In perioada de functionare apasati
butonul "Start/Reset" pentru a opri
functionarea.
b) Daca a fost setat un program inainte
de a apasa start, apasati acest buton
pentru a anula orice setare.
-l la un punct oficial de colectare pentru
recic
1. -
de a-
2.
un resturi de
-
-
puternici sau abrazivi.
Departamentul de Service al Aparatelor
3.
Domestice Gorenje
Pen
Numai pentru uz personal!
ventilare.
4.
-
sau spayuri pentru panoul de comenzi.
5.
-
aparatului.
6. a de
-
7.
at
8.
-
cu
VA DORESTE SA FOLOSITI CU
PLACERE ACEST APARAT
Mai multe informatii privind gatitul la
microunde, grill si sfaturi utile puteti gasi pe
:
:
http://microwave.gorenje.com

82
U SK
Spotreba energie: ................................................................................................... 230V~50Hz,1400W
......................................................................................................................................... 900W
................................................................................................................................ 1200W
...................................................................................................................... 1350W
............................................................................................................. 2450MHz
zmery: ....................................................................... mm(V) X382mm(H)
................................................................mm(V) X 330mm(H)
Ob ............................................................................................................................... 25 litrov
.................................................................................................................... kg
.................................................................................... < 58 dB(A)
a)
b)
o
mik
a
c)
In
1.
2.
1.
alebo zobrazenie zmizne:
-
a)
-
- Vydutia alebo diery v
obrazovke
-
b) Skontrolujte poistky pre
a
v
3.
ovnom
2.
a)
4. vysokou
b)
teplotou a parou.
nergia
5.
predmety.
6.
a vzadu 10 cm.
7. NEOD
taniera.
8.
VAROVANIE-
Ru
9. malej vzdialenosti.
10.
pri i
s

83
UPOZORNENIE:
Ak spozorujete dym, vypnite alebo odpojte
zariadenie a
nasledovne:
Zem
pred
ontrolujte teplotu na
Vajcia v
neohrievajte v
nasledovne:
-
ohrievania;
E alebo
zeleno-
-
N alebo
mali
-
L alebo
zariadenia a
pokyny
VAROVANIE:
v mali deti
modely s funkciou grilovania)
VAROVANIE:
osobou;
a
VAROVANIE: Pre
1.
spojky).
mikrovlnnou energiou.;
2.
VAROVANIE: Tekutiny a
na sterilizovanie.
WARNING:
3.
4.
nap
5. blanou, ako je
no
6.
predmety.
7.
8.
nevznietili;
riad.

84
-
a)
-
s
-
-
b)
-
c)
a
poistkovej skrini.
-
je vhod
-
s
-
teplomery.
-
mikrovl
9.
s
10.
11.
len tekutinu v
12.
z
a
teplo.
13. Pokrm obsahuje zmes tuku a vody, napr.
-60
14.
a
s
15.
prenosu tepla z
pri riade s
16. Zn

85
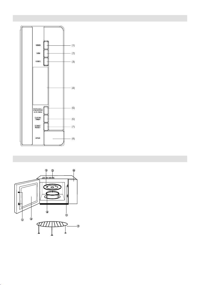
PANEL
1.
2.
3.
4. Displej
5. Mikrovlny/Gril/Konvekcia/Menu automatiky
6.
7.
8. Otvorenie
POPIS ZARIADENIA
1.
2.
3. Vetracie otvory r
4.
5.
6.
7.

86
c) Start/Reset ".
Pokyny k obsluhe
menej ako 2 kg.
1.
4. Gril
P
a)
a zatvorte dvere.
G-1
b) Start/Reset
G-2
Varenie jedla pomocou grilu na 20
c)
a)
d-1".
2.
b) Nastavte dobu varenia na "20:00"
c)
a)
1.
2.
b)
ohrievania
na
1.
a
2.
3.
5.
9
-1"
varenie (50%
-2".
a)
-2"
b) Nastavte dobu varenia na "15:00"
3.
c)
hmotnosti
3:
mikrovlny + 50% gril)
-3"
a
a) enu"
a)
"DEF".
-2"
b)
b) Nastavte dobu varenia na "15:00"
c)
(0.1kg).
"Micro"
Zobrazenie
1
100%
P100
2
70%
P70
3
50%
P50
4
30%
P30
5
10%
P10

87
6.
nastavenie inej teploty.
a)
b)
a)
b)
c)
7. Menu automatiky
a)
-5".
b)
c)
Casy
"1min"
Menu,
A-1
Ohrievanie
A-2
Zemiaky
A-3
Pizza
1
0,1
0,2
0,1
2
0,15
0,3
0,2
3
0,2
0,4
0,25
4
0,25
0,5
0,30
5
0,3
0,6
0,35
6
0,35
0,7
0,40
7
0,4
0,9
0,45
8
0,45
1,1
0,50
9
0,5
1,3
0,55
10
0,6
1,5
0,60
"1min"
Menu,
A-4
A-5
Ryba
A-6
1
0,1
0,2
0,2
2
0,2
0,3
0,4
3
0,3
0,4
0,6
4
0,4
0,5
0,8
5
0,5
0,6
1,0
6
0,6
0,8
7
0,8
1,0
8
1,0
8. Hodiny
a) "Clock/Timer". Displej
b)
"10 Sec".
c)
d) s, zopakujte
9.
tejto funkcie.
a)
b)
c) Nastavte dobu varenia na 10 min
d)
O 18:15 10-
10.
n"

88
11.
a)
9.
b)
predajcu.
o
s
v
1.
2.
pokrmu a
starostli
3.
v.
4.
5.
ite ju jemnou
podmienkach s vysokou
zariadenia.
6.
Umyte ho v teplej mydlovej vode alebo
v
7. enec a
okien a
miernej mydlovej vode alebo
v
a
8.
hlbokej
tkaninou.
http://microwave.gorenje.com

89
CZ
Specifikace
............................ 230V~50Hz,1400W
......................................................................................................................................... 900W
Spir ............................................................................................................................... 1200W
Konvekcija: ................................................................................................................................ 1350W
................................................................................................................ 2450MHz
...................................................................... 510 mm mm (V) mm (H)
i) trouby: ................................... 330 mm mm (V) 330 mm (H)
Objem trouby: ............................................................................................................................. 25
Hmotnost bez obalu: .................................................................................................... 7,5 kg
........................................................ < 58 dB (A).
(waste electrical and electronic equipment
-
(interference)
v EU.
v
p
,
1. V
a) t
nefunguje, nebo displej, p
b)
zhasne:
a) Zkontrolujte, jestli
c)
Pokud
Instalace
b) Zkontrolujte, jestli je pojistka
elektri
1. jestli jste z ku
jestli nevypadla pojistka
trouby vyndal
Pokud
2. jestli
-
2. V
-
-
a) Zkontrolujte, jestli jso
.
- ku trouby.
b) Zkontrolujte, jestli
Jakmile
Pokud
3. 7,5 kg;
nebude fungovat.
V
4.
spojte se s autor
5. N
6.
v

90
7.
8. Pokud mikrovlnnou
musej
k troubu
souladu s
9.
8 cm, po
, aby se dala snadno
0 10 cm
it a.
Nedemontujte patky
10. Trouba pot5
v
trouby poradili s
s
hlediska
POZOR:
pojistkou, a to 250 V, 10 A.
kontrolujte k
m:
Zeleno-
uhaste.
Pokud v
po
- -
proto
E nebo
-
N
barvu.
u.
-
V
L
budou z
a
v
s
ch teplot.
nebo
, a
v
ho
Pokud dojde k
v
k
V

91
stroj
nad
v
1. Pokud je
spojka a
12.
2.
v
trouby.
3.
13. omastku a
4. V
ej
v
5.
slupku
14.
6.
,
7.
8.
15.
jej do vhodn
mikrovlnn
teplo.
-
- hranami
16. ru v
-
a)
- melaminu,
b)
-
tro
ochrany, k
k
v
c)
- nebo
v okrajem
- a
v
9.
pouze v souladu s
10.
11. Dbejte na to, aby se v
, ve

92
Diagram trouby
1. 10 minut
2. 1 minuta
3.
4. Displej
5. Mikro/gril/konvekce Auto menu
6.
7.
8.
1.
2. Okno trouby
3.
4. Prst
5.
6.
7.

93
4. Gril
Tu
1.
zapnete po
-1
G-2.
a)
minut.
b) Start/Reset a
a)
-
c)
b)
c)
2.
a)
Pokud je funkce grilu v
minut.
1. 5:00.
2. S.
b)
v
1.
2.
at.
3.
5.
0 minut.
-
Kom
-
3.
masa.
-
a)
.
b)
minut.
a)
potraviny.
c)
-
b)
c)
"Micro"
Informace
na displeji
1
100%
P100
2
70%
P70
3
50%
P50
4
30%
P30
5
10%
P10

94
6.
teploty
-li
a) K
b)
1.
dokud se na disp
2.
3.
7.
Vyberete pouze druh pokrmu a maso,
chodu.
a)
-
b)
c)
"1min"
Hmotnost (kg),menu
A-1
A-2
Brambory
A-3
Pizza
1
0,1
0,2
0,1
2
0,15
0,3
0,2
3
0,2
0,4
0,25
4
0,25
0,5
0,30
5
0,3
0,6
0,35
6
0,35
0,7
0,40
7
0,4
0,9
0,45
8
0,45
1,1
0,50
9
0,5
1,3
0,55
10
0,6
1,5
0,60
"1min"
Hmotnost (kg),menu
A-4
Maso
A-5
Ryba
A-6
1
0,1
0,2
0,2
2
0,2
0,3
0,4
3
0,3
0,4
0,6
4
0,4
0,5
0,8
5
0,5
0,6
1,0
6
0,6
0,8
7
0,8
1,0
8
1,0
8. Hodiny
1.
2.
3. Znovu
4.
9.
a)
b)
c)
d)
18:15
automaticky vypne.
10.
V
tuto funkci vypnout, postup zopakujte.

95
11.
z jednoho citronu.
trouby a troubu .
a)
9.
b) V
ivotn prosted
A pstroj doslou, nevyhazujte jej do bnho
komunlnho odpadu, ale odevzdejte jej do
trouby
sbrny uren pro recyklaci. Pomete tm
chrnit ivotn prosted
1.
2.
,
Nedopor
3.
nevylila voda.
4.
Domestic Appliances.
s ho
5.
i
o poruchu trouby.
6. trouby
myjte teplou vodou nebo v
7.
v
nebo
na
se
ste
TROUBY
ho zase ili.
8. pach z
htpp://microwave.gorenje.com

96
BG
........................................................................................................... 230V~50Hz,1400W
...................................................................................... 900W
................................................................................................ 1200W
.................................................................................................................. 1350W
................................................................................................... 2450MHz
..................................................................... 510mm(W) X 303mm(H) X 382mm(D)
.............................................. 330mm(W) X 230mm(H) X 330mm(D)
...................................................................................................... 25
.............................................................................................................................. 17,5
..................................................................................................................Lc< 58 dB(A)
-
1.
a)
a)
b)
-
c)
b)
1.
2.
2.
a)
-
b)
-
-
-

97
3.
4.
5.
6.
-
-
7.
8.
-
9.
10.
8
0
1
-
F
-
N
-
L

98
-
-
-
-
-
-
Livingware.
-
-
-
1.
-
2.
9.
3.
10.
11.
4.
5.
6.
12.
7.
8.

99
13. -60
14.
15.
-
16.
a)
b)
c)

100
1. 10
2. 1
3. 10
4.
5. ///
6. /
7. /
8.
1.
2.
3.
4.
5.
6.
7.






