Gorenje GMO-25 DCB – page 3
Manual for Gorenje GMO-25 DCB
Table of contents
- SPECIFICATIONS Radio interference Before you call for service Installation
- IMPORTANT Important safety instructions Safety instructions for general use
- 16. To reduce the risk of fire in the oven cavity:
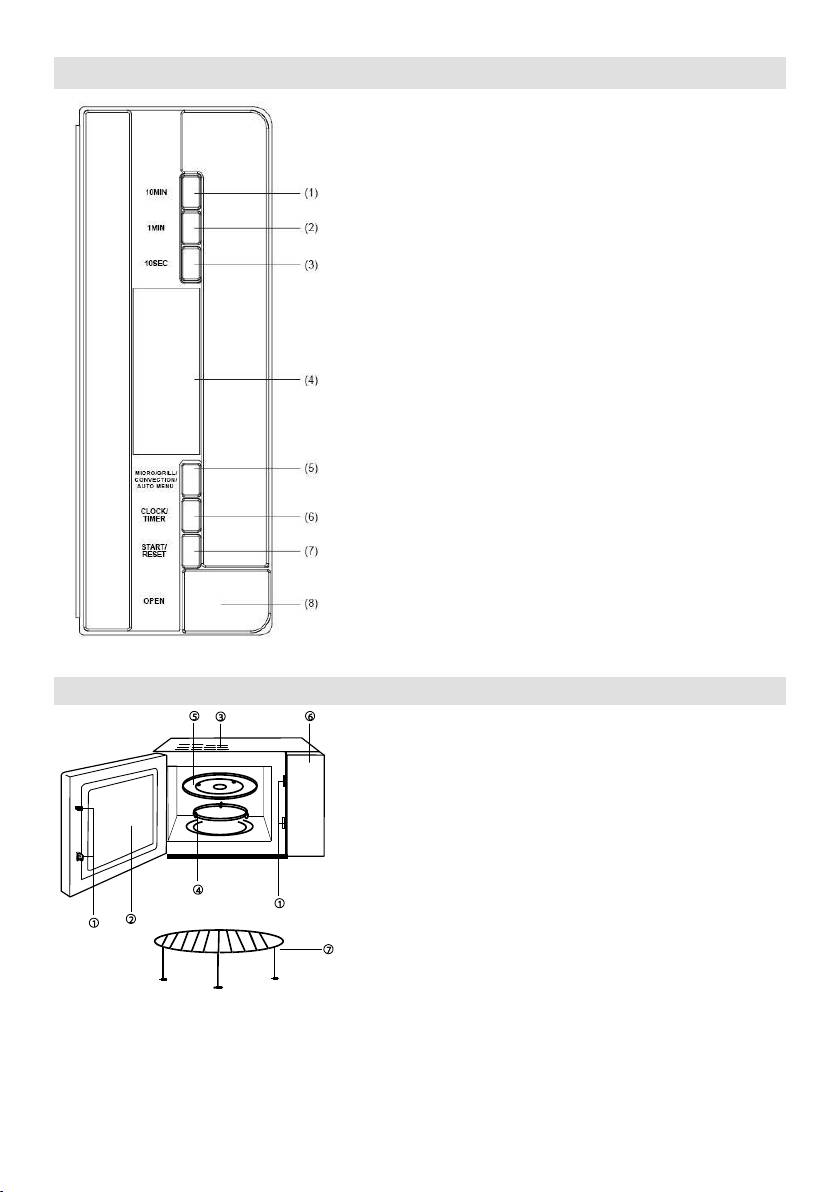
- Computer control panel Feature diagram
- Operation Instruction 5. Combination Cooking
- 9. Timer
- 11. Start/Reset Environment Care of your microwave oven

41
GEBRAUCHSANWEISUNG DE
Gebrauch auf.
Technische Daten
Stromaufnahme ...................................................................................................... 230V~50Hz,1400W
Ausgangsleistung ........................................................................................................................ 900W
........................................................................................................................... 1200W
Konvektion: ................................................................................................................................ 1350W
Betriebsfrequenz: ................................................................................................................... 2450MHz
............................................................................. 510mm (B) X 303mm (H) X 382mm (T)
................................................................ 330mm (B) X 230mm (H) X 330mm (T)
Volumen: ......................................................................................................................................... 25 l
Masse ohne Verpackungsmaterial: ...................................................................................... ca. 17,5 kg
Schallpegel niveau: ...................................................................................................... Lc < 58 dB (A)
eingeschnappt ist. Wenn das
nicht der Fall ist, wird die
Mikrowellenenergie nicht
freigesetzt.
genannten Tips nicht beseitigen konnten,
wenden Sie sich bitte an den
nahegelegenen autorisierten Kundendienst.
Bevor Sie den Kundendienst
anrufen
bei Rundfunk-, Fernseh-
en kommen
1.
funktioniert, wenn auf dem Display kein
Text sichtbar sind oder wenn das Display
vermindern:
erlischt:
a)
a)
Dichtungen am Mikrowellenherd.
Mikrowellenherd fachgerecht an das
b) Stellen Sie Ihr Rundfunk- oder
elektrische Versorgungsnetz
angeschlossen ist. Wenn nicht, ziehen
Mikrowellenherd auf.
Sie den Stecker aus der Steckdose,
c) - bzw.
warten Sie 10 Sekunden und stecken
Sie den Stecker wieder in die
Steckdose.
b)
durchgebrannt bzw. ob der Stromkreis
Bemerkung:
an der Hauptsicherung unterbrochen
ist. Wenn an den Sicherungen keine
im Haushalt bestimmt und zwar zum Erhitzen
von Speisen un
Steckdose mit einem anderen
elektromagnetischer Energie. Verwenden Sie
Mikrowellenherd nicht heizt, d.h. wenn
er keine Mikrowellenenergie abgibt:
a)
Zeitschaltuhr richtig eingestellt ist.
b)
fest geschlossen und die
Sicherheitsverriegelung
Elektro-
electrical and electronic equipment -
WEEE) gekennzeichnet. Die Richtlinie
-

42
WICHTIG
Aufstellung
1.
haben folgende Bedeutung:
Verpackungsmaterial aus dem
-gelb: Erdungsleiter
Blau: Neutralleiter
2.
Braun:
Verpackung
Leiter
wie z.B.:
eventuell nicht ganz den Kennzeichnungen
-
-
entsprechen, beachten Sie bitte Folgendes:
-
- -gelben Leiter an
mme im Stecker, welche
Display,
mit dem Buchstaben E oder dem
-
Erdungssymbol gekennzeichnet ist.
Wenn Sie irgendeinen der oben genannten
-
dem Buchstaben N oder mit schwarzer
Mikrowellenherd nicht benutzen.
3. Der Mikrowellenherd wiegt 17,5 kg; stellen
an;
Sie ihn auf eine waagrechte Unterlage, die
-
mit dem Buchstaben L oder mit roter Farbe
auszuhalten.
4. Den Mikrowellenherd in ausreichender
Wichtige Sicherheitshinweise
Wasserdampf aufstellen.
5.
HINWEIS:
Mikrowellenherd aufbewahren.
6.
Mikrowellenherdes mindestens 8 cm und
Aufsicht erwachsener Personen
Grillfunktion).
7. Die Antriebswelle des Drehgestells NICHT
HINWEIS:
entfernen.
8.
unter Aufsicht Erwachsener benutzen.
werden, bis es von einem autorisierten
HINWEIS:
Kundendienstfachmann instandgesetzt
WERDEN!
worden ist.
9. Die Steckdose, an welche der
HINWEIS: Jegliche Reparatur- oder
Kundendienstarbeiten, bei welchen die
10. kVA
Eingangsleistung. Wir empfehlen Ihnen,
Mikrowellenherdes mit einem
HINWEIS:
Kundendienst-Fachmann oder einem
Nahrungsmittel in dicht verschlossenen
entsprechendem anderen Fachmann zu
beraten.
ACHTUNG:
HINWEIS:
Aufsicht von Erwachsenen nur dann
gebrauchen, wenn ihnen entsprechende
Anweisungen erteilt wurden und sie das
Sicherheitsvorschriften
verstehen.
Luftzirkulation um den Mikrowellenherd

43
8 cm,
Allgemeine
an den Seiten mindestens 10 cm und
10 cm
Sicherheitshinweise
Im nachfolgenden Text sind einige Regeln und
Siche
bedecken.
mikrowellentaugliches Geschirr und
wird:
Beim Erhitzen von Speisen in Kunststoff-
1.
oder Papie
Betriebs des Mikrowellenherdes der
Vorgang wegen Brandgefahr
beaufsichtigen.
Bei Auftreten von Rauch den
2. Verwenden Sie den Mikrowellenherd nur
Mikrowellenherd sofort abschalten, das
zum Zubereiten von Speisen und nicht zum
lassen, um eventuelle Flammen zu
Sterilisieren.
ersticken.
3. Schalten Sie den Mikrowellenherd niemals
ein, wenn der Garraum leer ist, da dadurch
4. Bewahren Sie im Garraum keine
deswegen immer besonders vorsichtig
verfahren.
5. Garen Sie keine Lebensmittel, die mit einer
Verzehr den Inhalt von Babyflaschen oder
Membran umgeben sind, wie z.B.: Eigelb,
Babynahr
die Membran an mehreren Stellen mit einer
Gabel durchgestochen zu haben.
Im Mikrowellenherd keine rohen oder
6.
gekochten Eier in Schale erhitzen, da diese
Mikr
7.
beendet ist.
Verwenden Sie zum Reinigen der
8. Garen Sie keine Speisen direkt auf dem
Drehteller. Bevor Sie das Gargut in den
Garraumes nur milde (keine abrasiven)
Garraum stellen, legen Sie es in einen
Reinigungsmittel und tragen Sie diese mit
einem Schwamm oder einem weichen Tuch
WICHTIG:
auf.
Mikrowellenherd nicht verwendet werden
Reinigen Sie den Mikrowellenherd und
darf:
entfernen Sie etwaige Speisereste
-
Metallgriffen,
-
We
-
- Geschirr aus Melamin, da es Stoffe
kommen, was sich negativ auf die
e die Mikrowellenenergie
absorbieren. Das kann zum Springen
-
/Garvorgang verlangsamt.
darf dieses nur vom Hersteller, einem
- Verwenden Sie kein Geschirr ohne
autorisierten Kundendienstfachmann oder
mikrowellengeeignete Beschichtung.
einem anderen, entsprechend qualifizierten
Verwenden Sie ebenso keine
Fachmann ausgetauscht werden, um
geschlossenen Tassen mit Griffen.
Gefahren zu vermeiden.
- Bereiten Sie keine Speisen bzw.

44
Erhitzungsvorgang, wenn sich im
bersten kann.
Garraum Papier-
- Verwenden Sie im Mikrowellenherd
brennbare Materiale befinden.
b)
Thermometer verwenden, die zum
stellen, zuerst die Drahtklammern
Gebrauch im Mikrowellenherd geeignet
(Blitzbinder) entfernen.
sind.
c) Wenn sich ein Gegenstand im
9.
Mikrowellenherd nur unter Beachtung der
Gebrauchsanweisung des Herstellers.
10. Verwenden Sie den Mikrowellenherd
Versorgungsnetz und schalten Sie die
niemals zum Frittieren.
Hauptsicherung in ihrem
11.
Sicherungskasten ab.
abgibt oder aus diesem Tropfen spritzen,
12.
Temperatur der Speise, insbesondere,
niemals unmittelbar nach dem
Herausnehmen aus dem Mikrowellenherd
zu verzehren, sondern ein paar Minuten
13. Lassen Sie Speisen, die Fett und Wasser
enthalten, z.B. Suppe, nach dem
Abschalten des Mikrowellenherdes
Garraum stehen. Dadurch kann sich die
Speise stabilisieren und es wird
Siedeverzug verhindert, wenn Sie in die
14. ich einige Speisen, z.B.
Weihnachtspudding, Marmelade oder
Hackfleisch, sehr schnell erhitzen.
Verwenden Sie zum Erhitzen oder Garen
von Speisen mit hohem Fett- oder
15.
Speisen im Mikrowellenherd benutzen,
kann sich sehr stark erhitzen, da die Speise
Kunststoff. Verwenden Sie zum
16. Um die Brandgefahr im Garraum zu
verringern:
a)

45
Bedienungshinweise
1. 10 Minuten
2. 1 Minute
3. 10 Sekunden
4. Display
5. Mikrowelle/Grill/Konvektion/Auto-
6. Uhr/Zeitschaltuhr
7. Start/Einstellung
8.
Diagramm des Mikrowellenherdes
1. Sicherheits-
2. Sichtfenster
3.
4. Rollenring:
5. Glasunterteller
6. Bedienfeld
7. Grillrost

46
1. Erhitzen mit einem einzigen
Knopfdruck
einem einzigen Knopfdruck aktivieren.
Diese Funktion ist sehr praktisch und
Beispiel: Erhitzen von einem Glas Milch
a) Stellen Sie das Glas mit der Milch auf
b)
und der Mikrowellenherd arbeitet 1
Minute lang mit 100%-iger Leistung.
c) Nach Ablauf der eingestellten Garzeit
-faches akustisches Signal.
2. Erhitzen mit Mikrowellen
a) Schnelles Erhitzen mit Mikrowellen
(100% Leistung)
Beispiel: Garen mit 100% Leistung, 5
Minuten.
1.
2.
b) Erhitzen mit Mikrowellen mit
manueller Abschaltung
1. "Micro
menu"
Leistungsstufe;
2.
3.
auer ist 90 Minuten.
Anzahl der
igungen
"Micro"
Leistung der
Mikrowellen
Text auf
dem
Display
1
100%
P100
2
70%
P70
3
50%
P50
4
30%
P30
5
10%
P10
a)
b)
c) -Taste.
Die Masse des gefrorenen Fleisches
4. Grill
"Microu" (die max. Garzeit
85% Grill-Leistung, auf dem
Display erscheint G-1
-Leistung, auf dem
Display erscheint G-2
Beispiel: Zubereitung von Fleisch mit dem
Grill, 20 Minuten.
a)
menu", auf dem LED Display erscheint
G-1.
b)
c) -Taste.
Wenn Sie Fleisch mit dem Grill
zubereiten, wird nicht mit Mikrowellen
gegrillt, sondern mit dem
rper an der Decke des
Garraums.
Wenn der Grill in Betrieb ist, ist das
Garen (bzw. Braten) auf zwei Stufen
der Grillzeit schaltet das Programm
automatisch ab, zwei akustische
Gril
-Taste, das
Programm wird fortgesetzt. Wenn Sie
automatisch mit dem Grillvorgang fort.
5. Kombinierte Betriebsart
kombinierter Zubereitung von Speisen.
Kombinierte Betriebsart (50%
3. Automatisches Auftauen -
Auf dem
massebezogen
-
: Kombinierte Betriebsart (50%
Lebensmittel, der Mikrowellenherd gibt
Auf dem Display
Ihnen die geeignete Betriebsdauer vor.
-
Beispiel: Auftauen von 0,5 kg gefrorenem
Zur Zubereitung von knusprigen Speisen
Fleisch.

47
eingeben, bis auf dem Display der
(50% Mikrowelle + 50% Grill). Auf dem
-
c) -Taste.
Zur schnellen Zubereitung mit dem Grill
Beispiel: Zubereitung von Speisen mit der
a)
-
b)
c) -Taste.
6. Garen mit Konvektion
Garen mit Konvektion, diese Funktion kann
programmiert werden. Der Mikrowellenherd
Einstellung der Temperatur den Knopf
a)
b) ste .
Wenn der Mikrowellenherd die eingestellte
Temperatur erreicht, wird der Betrieb des
Stellen Sie die Temperatur und die Garzeit
ein und beginnen Sie mit dem Garvorgang.
1.
2. Stellen Sie die Garzeit auf 20 Minuten
ein.
3. .
7. Automatik-
Ihnen die geeignete Leistungsstufe und die
Betriebsdauer vor.
Beispiel: Automatisches Garen von 0,4 kg
Fisch.
a) "Micro
menu" -
b)
kg)
Anzahl der
Tigungen
"1min"
A-1
A-2
Kartoffeln
A-3
Pizza
1
0,1
0,2
0,1
2
0,15
0,3
0,2
3
0,2
0,4
0,25
4
0,25
0,5
0,30
5
0,3
0,6
0,35
6
0,35
0,7
0,40
7
0,4
0,9
0,45
8
0,45
1,1
0,50
9
0,5
1,3
0,55
10
0,6
1,5
0,60
Anzahl der
Tigungen
"1min"
A-4
Fleisch
A-5
Fisch
A-6
1
0,1
0,2
0,2
2
0,2
0,3
0,4
3
0,3
0,4
0,6
4
0,4
0,5
0,8
5
0,5
0,6
1,0
6
0,6
0,8
7
0,8
1,0
8
1,0
8. Uhr
Digitaluhr mit 24-Stunden-Anzeige. Zur
Eingabe der aktuellen Zeit, z.B. 16:30, tun
Sie Folgendes:
1.
Der Text auf dem Display beginnt zu
blinken. Stellen Sie die Uhr mit den
2.
3.
eue Zeit ist
eingestellt.
4.
beschriebenen Vorgang.
9. Zeitschaltuhr
Anfang und das Ende des Garvorgangs
einzustellen.
Bevor Sie diese Funktion
Uhr des Mikrowellenherdes auf die aktuelle
Zeit eingestellt sein.

48
Beispiel: Die augenblickliche Zeit ist 16:30;
Pflege des
einleiten und zwar mit 70% Leistungsstufe,
1. Bevor Sie mit der Reinigung des
Garzeit 10 Minuten.
Mikrowellenherdes beginnen, trennen Sie
a)
Versorgungsnetz.
2. Der Garraum sollte immer sauber gehalten
(gleiches Verfahren wie bei der
werden. Wischen Sie getrocknete
Einstellung der Uhrzeit).
Speisereste, herausgespritzte oder
b)
"Micro".
Die Verwendung von groben Reinigungs-
c) Stellen Sie die Garzeit auf 10 Minuten
oder abrasiven Scheuermitteln ist nicht
ein.
empfehlenswert.
d) -Taste.
3.
Wenn Sie die Leistungsstufe und die
mit einem feuchten Tuch ab. Um
Garzeit nicht einstellen und unmittelbar
nach Einstellung der Startzeit die
zu vermeiden, lassen Sie kein Wasser oder
Mikrowellenherd nur als
Kurzzeitmesser funktionieren. Um
4.
werden. Reinigen Sie das Bedienfeld mit
einem weichen und feuchten Tuch.
Verwenden Sie zum Reinigen des
10. Kindersicherung
Bedienfeldes keine groben (abrasiven)
Wenn Sie die Kindersicherung aktivieren
Reinigungsmittel oder Reinigungsmittel in
Spraydosen.
5. Bei Niederschlag von Wasserdampf an der
diese zwei Sekunden lang ged
Innen-
Sie die Kindersicherung deaktivieren
wischen Sie diese mit einem weichen Tuch
beschriebenen Vorgang.
der Mikrowellenherd in einer sehr feuchten
Umgebung betrieben wird und bedeutet
11.
hat.
6. Von Zeit zu Zeit ist es notwendig, den
a)
Glasunterteller herauszunehmen und zu
reinigen. Reinigen Sie den Drehteller in
warmem Wasser mit etwas
Mikrowellenherdes unterbrochen.
b) Wenn Sie vorher den
G
zeitprogrammierten Betrieb eingestellt
7.
Betriebs zu vermeiden. Wischen Sie den
Glasreiniger ab und reiben Sie dann alles
mit einem sauberen und trockenen Tuch
Speisen ansammeln, was ihre Funktion
Rollenring aus der Vertiefung im Garraum

49
8.
Garraum k
Zitronensaft und Zitronenschalen in das
nach Beendigung der eingestellten Zeit den
Garraum mit einem weichen Tuch ab und
reiben Sie ihn trocken.
9.
ausgetauscht werden sollte, wenden Sie
Umweltschutz
Werfen Sie das Gert am Ende der Lebensdauer
nicht in den normalen Hausmll. Bringen Sie es
zum Recycling zu einer offiziellen Sammelstelle.
Auf diese Weise helfen Sie, die Umwelt zu
schonen.
Garantie und Kundendienst
Probleme auf, setzen Sie sich mit einem Gorenje
Service-Center in Ihrem Land in Verbindung
(Telefonnummer siehe internationale
Garantieschrift). Sollte es in Ihrem Land kein
Service- Center geben, wenden Sie sich bitte an
Nur zum eigenen Gebrauch!
NEN VIEL
FREUDE MIT IHREM NEUEN
MIKROWELLENHERD!

50
NOTICE D'UTILISATION FR
ment.
....................................................................................... 230V~50Hz, 1400W
Puissance des micro-ondes ......................................................................................................... 900W
Puissance du gril ....................................................................................................................... 1200W
Convection naturelle .................................................................................................................. 1350W
............................................................................................................................. 2450MHz
Dimen ............................................................... 510mm(L) x 303mm(H) x 382mm(P)
................................................................ 330mm(L) x 230mm(H) x 330mm(P)
Volume du four ......................................................................................................................... 25 litres
Poids net ...................................................................................................................... environ 17,5 kg
Niveau de bruit......................................................................................................... Lc IEC < 58 dB (A)
2. Si le four ne fonctionne pas en mode micro-
ondes:
a)
b)
Dans le
cas contraire, le flux des micro-ondes
ne peut pas parvenir dans le four.
Si le four ne fonctionne toujours pas une
-dessus ont
-vente.
do
en plein air.
-
Avant de contacter le service
-vente
suivantes.
a)
1. Si le four ne fonctionne pas du tout,
b) Placez la radio, la TV, etc. aussi loin que
possible du four.
a)
c) Installez une antenne convenable pour
retirez la fiche de la prise secteur,
attendez 10 secondes et rebranchez le
four convenablement.
Installation
b)
1.
fonctionnent normalement, testez la
prise murale en y raccordant un autre
four.
appareil.
Ce symbole figure sur le produit ou sur
son emballage en application de la
liserez plus, remettez-
; vous
l'environnement.
Pour tout renseignement sur la mise au
rebut et le recyclage de ce produit,
veuillez contacter la mairie ou le service
encore le magasin dans lequel vous

51
2.
-
L ou par la couleur
rouge.
-
-
- Entailles ou trous sur le hublot ou
importantes
-
ATTENTION :
-
dessus, ILISEZ PAS le four.
3. - kg et doit
ar le gril. (Cette consigne
suffisamment solide pour supporter son
poids.
disposant de la fonction gril).
4.
ATTENTION : si la porte ou le joint de la
vapeur.
5. NE METTEZ RIEN sur le dessus du four.
6.
ATTENTION : il est dangereux pour toute
impliquant la
7.
plateau tournant.
-ondes.
8. Surveillez les enfants lor
ATTENTION : il ne faut pas chauffer les
liquides et autres aliments dans des
ATTENTION CET APPAREIL DOIT
9.
ATTENTION :
10. La puissance du four est de 1,5
consult
ont compris les risques auxquels ils
correctement.
ATTENTION :
Volts,
Laissez un espace libre de 8
10
10 10 cm au-dessus
IMPORTANT
les fentes
Code couleur des conducteurs composant le
:
Utilisez exclusivement une batterie de
Vert et jaune: Terre
cuisine et des ustensiles compatibles avec
Bleu: Neutre
-ondes.
Marron: Phase
Il est possible que les couleurs des
conducteurs du cordon secteur ne
des barquettes en plastique ou en papier,
identifiant les conducteurs sur les bornes de
votre prise murale
:
, -le et laissez la porte
-
E ou par le
symbole de terre de couleur verte ou verte
-
et jaune.
-
N ou par la couleur
noire.
les biberons, remuez le contenu des petits

52
la
IMPORTANT USTENSILES DE CUISINE
avant consommation.
a
-ONDES :
coque aux micro-ondes, car ils peuvent
-
-
Lorsque vous nettoyez la porte, le joint de
-
ne
-
ca
micro-ondes. Cela ralentirait la cuisson
carboniser.
- Ne faites rien chauffer dans des
et ent
exemple les bouteilles de boissons
gazeuses ou de sau
le faire remplacer
le
-Vente
micro-ondes.
- un
,
choisissez-en un qui soi
-ondes. Ces
Vous trouverez ci-dessous un certain nombre de
commerce.
9. -
ondes selon les recommandations du
fabricant.
maximales.
10. Ne faites pas de fritures dans ce four.
1.
11. Souvenez--
-me. Par
place.
2. Utilisez le four exclusivement pour la
de linge, du papier, ou autre chose que des
; soyez
conserves.
prudent lorsque vous enlevez le couvercle.
3. Ne faites pas fonctio
12. L
-
4.
espace de rangement pour des papiers,
des livres de cuisine, ou autres objets.
5. recouverts
ir
micro-ondes ; laissez-les reposer quelques
:
minutes et -
terre, etc.
13.
6.
de la graisse (par exemple bouillon cube)
carrosserie.
7.
il. Cela permet au
,
etc.
8.
directement sur le plateau en verre. Placez-
14.
souvenez-vous que certains aliments (par
les enfourner.

53
confiture, viande
a) ne prolongez pas inutilement la
cuisson. Surveillez le four tant que des
contenant beaucoup de sucre ou de
;
b) avant dfourner des aliments sous
en plastique.
sachets en plastique, retirez les liens
15.
qui les ferment si ces derniers
raison de la chaleur transmise par les
.
aliments qui cuisent. Cela est flagrant si
c)
vous recouvrez le pl
e,
l ou mettez-le
mettre des gants de cuisine quand vous
hors tension en fermant le disjoncteur
manipulez vos .
ou en enlevant le fusible sur le tableau
16.
ue.
ents prennent feu dans le four :
1. 10 minutes
2. 1 minute
3. 10 secondes
4. Afficheur
5. Micro-ondes/Gril/Convection/Cuisson Auto
6. Horloge/Programmateur
7.
8. Ouverture de la porte

54
du four
1. Verrouillage
2. Hublot
3. Fentes de ventilation
4.
5. Plateau tournant en verre
6. Bandeau de commandes
7.
Fonctionnement
1. minute
appuyant sur une seule touche. Il est ainsi
Exemple :
a) Placez le verre de lait au centre du
plateau tournant et fermez la porte.
b) Start/Reset
le micro-ondes v
sa puissance pendant 1 minute.
c)
signal sonore retentit 5 fois.
2. en mode micro-ondes
Cette fonction comporte deux options :
a)
puissance)
Exemple p
100% de la puissance pendant 5 minutes :
1. 5:00
2. Appuyez sur la touche tart/Reset
b)
Exemple
70% de la puissance pendant 10 minutes :
1. Appuyez sur la touche "Micro
menu", 70%
puissance
2. 10:00
3. Appuyez sur la touche Start/Reset .
Il existe 5 niveaux de puissance ; en mode
micro-
longue est de 90 minutes.
Nombre
de
pression
s
sur la
touche
"Micro"
Puissance
des micro-
ondes
Affichage
1
100%
P100
2
70%
P70
3
50%
P50
4
30%
P30
5
10%
P10
3.
fonction du poids
age de la
er 0,5 kg de viande:
a) Appuyez sur la touche "Micro
menu", DEF
b) Entrez le poids en appuyant sur la
1 MIN
10 SEC
c) Appuyez sur la touche Start/Reset
4. Gril
Cette fonction comporte deux options pour
der 60 minutes).
Option 1 :
affichage G-1,
Option 2 :
affichage G-2.

55
Exemple pour la cuisson au gril pendant 20
:
minutes :
a)
a)
e en convection naturelle,
menu G-1
apparaisse sur
menu
b)
20:00
b) Start/Reset
c) Start/Reset
En mode gril, les aliments ne sont pas cuits
bips retentissent pour
par les micro-ondes. La chaleur provient de
vou
four.
Durant la cuisson au gril, le programme
minutes.
Exemple pour une cuisson en convection
-cuisson et
2
:
faut ouvrir la porte du four et retourner les
a)
face, refermez la porte et appuyez sur la
Start/Reset ; la cuisson se
imparti. Si vous ne retournez pas la grillade,
b)
le four se remet en marche
minutes.
c) Start/Reset
pause.
7. Cuisson automatique (Auto Menu)
5. Cuisson
Cet appareil vous permet de choisir entre
Option 1 : micro-
de cuisson.
Exemple pour la cuisson automatique de
0,4 kg de poisson :
C-1
a)
Option 2 :
menu A-5
C-2
b) Entrez le poids en appuyant sur la
1 MIN
2 pendant 15 minutes :
10 SEC
a)
c) Start/Reset
menu C-2
b)
15:00
c) Start/Reset
Option 3 : micro-
50% de la puissance.
C-3
grillades rapides.
6. Cuisson en convection naturelle
Vous pouvez utiliser ce four en mode
convection naturelle et programmer le
mais vous pouvez choisir une autre
Nombre de
pressions
sur la
touche
"1min"
Affichage, poids (kg)
A-1
A-2
P. de
terre
A-3
Pizza
1
0,1
0,2
0,1
2
0,15
0,3
0,2
3
0,2
0,4
0,25
4
0,25
0,5
0,30
5
0,3
0,6
0,35
6
0,35
0,7
0,40
7
0,4
0,9
0,45
8
0,45
1,1
0,50
9
0,5
1,3
0,55
10
0,6
1,5
0,60

56
Nombre de
pressions
sur la
touche
"1min"
Affichage, poids (kg)
A-4
Viande
A-5
Poisson
A-6
Poulet
1
0,1
0,2
0,2
2
0,2
0,3
0,4
3
0,3
0,4
0,6
4
0,4
0,5
0,8
5
0,5
0,6
1,0
6
0,6
0,8
7
0,8
1,0
8
1,0
Start/Reset
fonctionnera comme un simple minuteur : il
10.
1 MIN
10 SEC
nouv
1 MIN 10 SEC
secondes.
11. Start/Reset
a) Quand le four est en service, une
8. Horloge
Start/Reset
Le four
b)
Pour mett
sur 16h30) :
Start/Reset
a) Appuyez sur la touche
programmation.
Clock/Timer
1 MIN
10 SEC
b) Appuyez de nouveau sur la touche
Clock/Timer tes
1 MIN
10 SEC
c) Appuyez encore une fois sur
Clock/Timer
d)
-dessus.
9. Programmateur
de la cuisson.
que vous puissiez utiliser cette fonction.
Exemple
a) Appuyez su Clock/Timer
18:15
1 MIN 10 SEC
b)
menu
puissance.
c) de cuisson sur 10
minutes.
d) Start/Reset

57
Environnement
Entretien et nettoyage
-
1.
-le.
2.
p
Garantie et service
aux parois, enlevez-
Si vous souhaitez obtenir des informations
us rencontrez un
3.
pas endommager les composants du four.
4.
Service Consommateurs Gorenje dans votre
reste toujours sec. Essuyez-le avec un
pays, renseignez-
Service Department of Gorenje Domestic
pour nettoyer le bandeau de commande.
Appliances.
5.
essuyez-la avec un chiffon doux. Ce
-ondes fonctionne dans des
; cela
nullement un dysfonctionnement de
6.
plateau tournant pour le nettoyer. Vous
pouvez le laver
ou dans votre lave-vaisselle.
7. s de la
-
vaisselle. Les vapeurs de cuisson qui se
du four ni les roulettes de la couronne.
es au
place dans sa position initiale.
8.
jus de citron et de sa
peau. Faites fonctionner le four 5 minutes
en mode micro-ondes, puis passez
VOUS SOUHAITE BEAUCOUP DE
un torchon sec.
PLAISIR
9.
APPAREIL
fournira une nouvelle.
Vous trouverez des informations
cuisson aux micro-ondes et au gril sur notre
site Internet:
http://microwave.gorenje.com

58
HU
Energia- ................................... 230V~50Hz,1400W
................................................................................................................... 900W
Grill- ..................................................................................................................................... 1200W
................................................................................................................... 1350W
............................................................................................................. 2450MHz
.......................................................................... 510mm(Sz) X 303mm(M) X 382mm(M)
.......................................................... 330mm(Sz) X 230mm(M) X 330mm(M)
- .......................................................................................................................... 25 liter
.................................................................................................. Kb. 17,5 kg
..................................................................................................................... Lc < 58 dB(A)
ha
-zavarok (interferencia)
- -nt
1.
a)
a)
b) - -
csatlakoztatva van-e az elektromos
zzuk ki a
c) - -
b)
-e ki egy
nem szakadt--
1.
-e minden
2.
-e rajta
2.
-
a)
-
-
-
b)
be van-e csukva. Ha nincs, nem fog
-
3.

59
FIGYELEM:
4. - -
5. Ne te
6.
FIGYELEM:
-8
hogy legyen.
7.
FIGYELEM: Gyerekek csak abban az
8.
g
FIGYELEM:
9.
gyen
8 0 cm,
legyen.
1
10.
FIGYELEM:
n vagy
FONTOS
-
s
Barna: -
becsukva, hogy elfojtsuk az esetleges
-
- -
E
jel
-
amely N
-
L
Fontos
FIGYELEM: Ami
FIGYELEM: nak

60
-
-
ki.
megrepedhet.
-
eket
9. A m
be
10.
1.
11.
2.
3.
12.
4.
5.
-
benne.
6.
13.
tartalmazza, pl. leves-
7.
-
8.
vag
FONTOS:
14.
-
-
- vagy
-
-
15.
-
vannak
a






