Gorenje GMO-25 DCB – page 6
Manual for Gorenje GMO-25 DCB
Table of contents
- SPECIFICATIONS Radio interference Before you call for service Installation
- IMPORTANT Important safety instructions Safety instructions for general use
- 16. To reduce the risk of fire in the oven cavity:
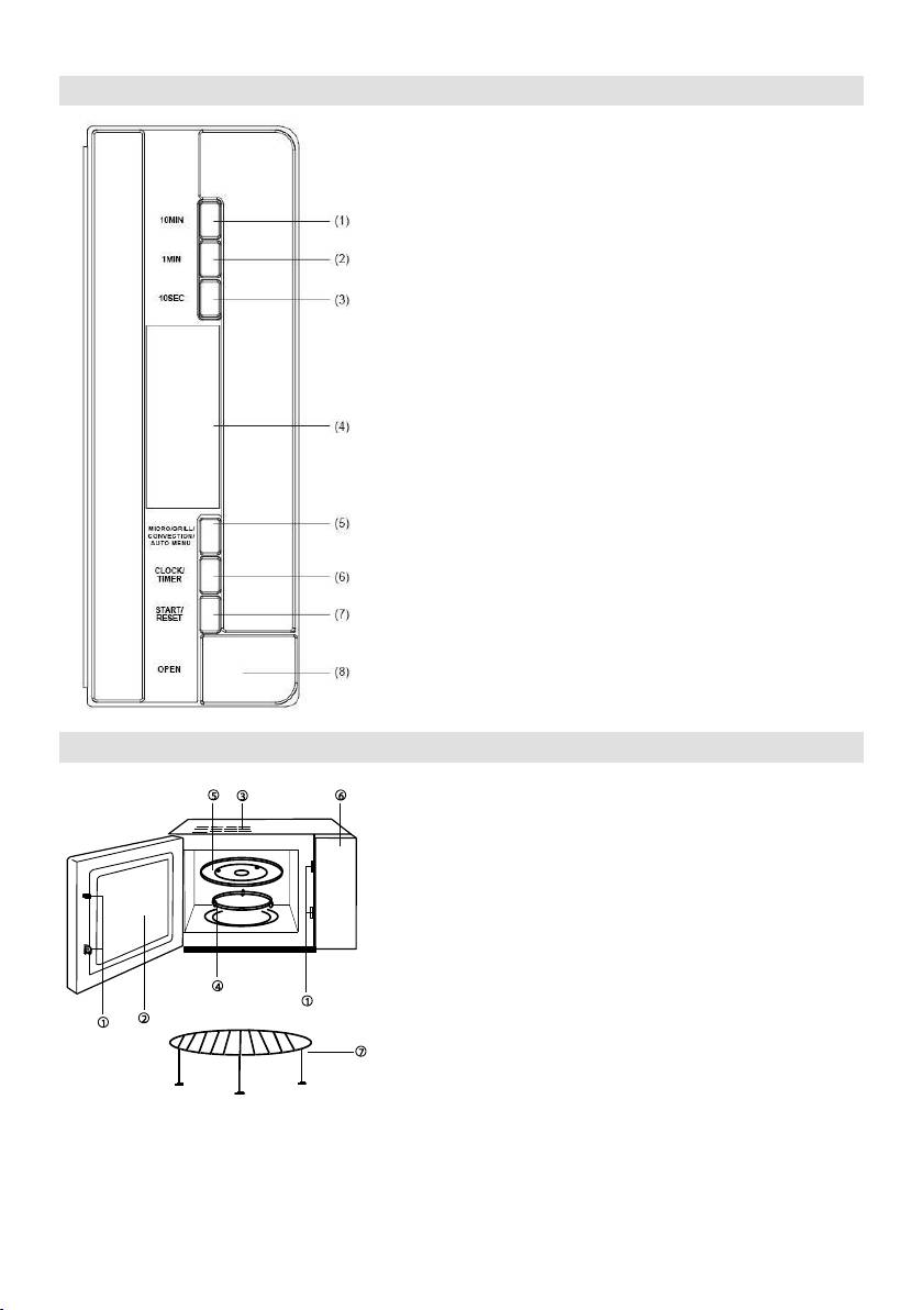
- Computer control panel Feature diagram
- Operation Instruction 5. Combination Cooking
- 9. Timer
- 11. Start/Reset Environment Care of your microwave oven

101
1.
a)
menu"
b)
c) Start/Reset ".
a)
-
b) Start/Reset
4.
.
""
c)
(-
60 ):
1: 85% ,
2.
G-1
2: 50% ,
a)
G-2
:
20
a)
1.
-1".
b)
2. Start/Reset
c)
b)
1. uto
menu"
2.
3. Start/Reset
-
,
90
"/"
5.
3.
1:
(50%
)
"C-1".
2:
(50% )
"Micro"
1
100%
P100
2
70%
P70
3
50%
P50
4
30%
P30
5
10%
P10

102
"C-2".
a)
:
2 15 .
"A-5".
a)
b)
-2".
b)
c)
c)
3:
(50% + 50% )
"C-3".
-
: 2
15 .
a)
-2".
b)
"15:00".
c)
6.
.
a)
b)
-
30 .
:
20 .
a)
b)
c)
7.
.
: 0.4
-
"1min"
, ()
A-1
-
A-2
A-3
1
0,1
0,2
0,1
2
0,15
0,3
0,2
3
0,2
0,4
0,25
4
0,25
0,5
0,30
5
0,3
0,6
0,35
6
0,35
0,7
0,40
7
0,4
0,9
0,45
8
0,45
1,1
0,50
9
0,5
1,3
0,55
10
0,6
1,5
0,60
-
"1min"
, ()
A-4
A-5
A-6
1
0,1
0,2
0,2
2
0,2
0,3
0,4
3
0,3
0,4
0,6
4
0,4
0,5
0,8
5
0,5
0,6
1,0
6
0,6
0,8
7
0,8
1,0
8
1,0
8.
24-
4:30pm:
a)
b)
c)
d)
9.
.
: 16:30
18:15
70% 10 :

103
a)
b)
c)
d)
.
18:15 10
.
10.
"1 " "10 "
"1 " "10 "
2 ,
11. /
a)
b)

104
1.
9.
2.
3.
4.
5.
Department of Gorenje Domestic Appliances.
6.
7.
8.
http://microwave.gorenje.com

105
UA
........................................................................................... 40
.................................................................................................................... 9
...................................................................................................................................... 12
: ............................................................................................................................... 135
................................................................................................................................. 2
................................................................. 51382303
.................................... 330230
.............................................................................................................................................25
.........................................................................................................................7,5
..................................................................................................................
a)
1.
)
a)
1.
2.
-
2.
-
-
a)
-
-
-
3.
17,5
4.
electronic equipment - WEEE).

106
5.
6.
3.
7.
4.
8.
5.
6.
9.
a)
10.
1.
2.
3.
4.
5.
6.
7.
1.
2.
-
- -
-
-
-

107
8. -
9.
17.
10.
-
-
-
-
-
-
-
11.
12.
13.
14.
15.
-60
16.

108
1. 10
2. 1
3. 10
4.
5. MiA
6.
7.
8.
1.
2.
3.
4.
5.
6.
7.

109
1.
1.
2.
3.
2.
1.
2.
1. "Mi
"
2.
3.
90
Кількіс
ть
натиска
нь
"Micro"
Потужніс
ть в %
Диспл
ей
1
100%
P100
2
70%
P70
3
50%
P50
4
30%
P30
5
10%
P10
3.
4.
:
1: 85% ,
G-1
2: 50% ,
G-2
:
a)
-1".
.
.
5.
.
1 : (50%
)
LED "C-1"
2 : (50%
)
LED "C-2".
:
3.
a)
-2"
1. "Mi
"
"15:00"
2.

110
3: (50%
a)
+ 50% )
LED "C-3"
-5".
.
:
a)
-2"
"15:00".
6.
:
a)
:
a)
7. A
: A 0.4
"1min"
Me, ()
A-1
A-2
A-3
1
0,1
0,2
0,1
2
0,15
0,3
0,2
3
0,2
0,4
0,25
4
0,25
0,5
0,30
5
0,3
0,6
0,35
6
0,35
0,7
0,40
7
0,4
0,9
0,45
8
0,45
1,1
0,50
9
0,5
1,3
0,55
10
0,6
1,5
0,60
"1min"
Me, ()
A-4
M
A-5
A-6
1
0,1
0,2
0,2
2
0,2
0,3
0,4
3
0,3
0,4
0,6
4
0,4
0,5
0,8
5
0,5
0,6
1,0
6
0,6
0,8
7
0,8
1,0
8
1,0
8.
:
a)
)
9. T

111
: 16:30
5.
18:15
70% :
a)
6.
7.
)
)
8.
-
10.
9.
"1 " "10 "
"1 " "10 "
,
11.
a)
-
1.
2.
3.
4.
м
м
о
о
ж
ж
н
н
а
а
з
з
н
н
а
а
й
й
т
т
и
и
н
н
а
а
в
в
е
е
б
б
-
-
с
с
а
а
й
й
т
т
і
і
:
:
http://microwave.gorenje.com

112
RU
..................................................................................... 40
.............................................................................................................. 9
....................................................................................................................................... 12
........................................................................................................................... 135
................................................................................................................................. 2
......................................................... 51303 X 382
..................................................... 330230
...........................................................................................................................................25
................................................................................................................ 7,5
:
:..................................................................... 70
P : ...........................................................................................................................................
.
a)
1.
a)
1.
2.
-
-
-
2.
-
a)
-
3.
17,5
electronic equipment - WEEE).

113
2.
4.
5.
6.
0 8
3.
7.
4.
8.
5.
6.
a)
5
-
- -
1.
E
-
-
2.
N
-
L
3.
4.
5.
1.

114
6.
15.
-60
7.
16.
8.
9.
17.
10
-
-
-
-
-
-
-
11.
12.
13.
14.

115
1. 10
2. 1
3. 10
4.
5. //
/
6. /
7. /
8.
1.
2.
3.
4.
5.
6.
7.

116
a)
1.
4.
a)
.
1 85%,
G-1
%,
2.
G-
a)
a)
-
1.
2.
1.
,
2.
3. "
90
5.
.
3.
%
,
C-1
%
"Micro"
1
100%
P100
2
70%
P70
3
50%
P50
4
30%
P30
5
10%
P10

117
,
C-
1.
-
2.
-
3.
a)
-
6.
a)
a)
7.
"1min"
A-1
A-2
A-3
1
0,1
0,2
0,1
2
0,15
0,3
0,2
3
0,2
0,4
0,25
4
0,25
0,5
0,30
5
0,3
0,6
0,35
6
0,35
0,7
0,40
7
0,4
0,9
0,45
8
0,45
1,1
0,50
9
0,5
1,3
0,55
10
0,6
1,5
0,60
"1min"
A-4
A-5
A-6
1
0,1
0,2
0,2
2
0,2
0,3
0,4
3
0,3
0,4
0,6
4
0,4
0,5
0,8
5
0,5
0,6
1,0
6
0,6
0,8
7
0,8
1,0
8
1,0
8.
a)
9.

118
a)
,
10.
11.
a)

119
1.
2.
3.
Appliances.д
4.
ы
5.
6.
CHO1
7.
8.
9.
-:
http://microwave.gorenje.com

120
BRUGSANVISNING DK
TEKNISKE DATA
.......................................................................................................... 230V~50Hz,1400W
Effekt: .......................................................................................................................................... 900W
Grillvarmelegeme: ...................................................................................................................... 1200W
Effekt, varmluft: .......................................................................................................................... 1350W
Driftsfrekvens: ........................................................................................................................ 2450MHz
Ydre dimensioner: ....................................................................... 510mm(B) X 303mm(H) X 382mm(D)
Indre dimensioner: ...................................................................... 330mm(B) X 230mm(H) X 330mm(D)
Ovnvolumen: .............................................................................................................................. 25 liter
.......................................................................................................................... ca. 17,5 kg
Lydniveau 58 dB (A)
NEN STADIG IKKE,
AUTORISERET SERVICEAGENT.
Denne ovn er beregnet til husholdningsbrug.
opvarmning af mad- og drikkevarer gennem
elektromagnetisk energi og er udelukkende
g.
Interference i radioudstyr
Denne maskine er et avanceret apparat, som
eller lignende.
a)
personer og apparat.
b)
c) Brug en ordentligt monteret antenne til din
med eller betjene apparatet.
signalmodtagelse.
tilkalder
1.
Installation
displayet ikke vises eller er forsvundet:
1. jernes fra
a)
stikko
2.
skader som:
sekunder og anbringe den i
-
stikkontakten igen.
-
b)
-
evt. hovedsikringen. Hvis det ikke er
- Buler i ovnrummet
i samme stikkontakt.
Ovnen bruges, hvis hvilken
2.
som helst af de skader, der beskrives
a)
ovenfor, er synlig.
b)
3. kg og skal
ovnens
energi ikke flyde ind i ovnen.
Dette apparat er markeret i
overensstemmelse med EU-Direktivet
og Elektronisk Udstyr (WEEE).
standard for tilbagelevering og
genvinding af Affald af Elektrisk og
Elektronisk Udstyr, der er gyldig i hele
Europa.






