Gorenje GMO-24 DCS – page 8
Manual for Gorenje GMO-24 DCS
Table of contents
- SPECIFICATIONS Radio interference Before you call for service Installation
- IMPORTANT Important safety instructions Safety instructions for general use
- 16. To reduce the risk of fire in the oven cavity:
- Computer control panel Feature diagram
- Operation Instruction 5. Combination Cooking
- 9. Timer
- 11. Start/Reset Environment Care of your microwave oven Guarantee & service

141
8. bytas,
igen.
11.
a)
mmer den aktuella
b)
Genom
Garanti & service
1.
kontakta Gorenje-kundcenter i ditt land (du hittar
2.
garantibladet). Om det inte finns ett kundcenter i
d dig till din lokala Gorenje-
av med en fuktig mjuk trasa och ett milt
-apparater.
med en mjuk trasa.
3.
trasa. Se till
4.
5.
luckans utsida, torka bort det med en mjuk
6.
som handdisk eller i diskmaskin.
7. Fotringen till glastallriken och ugnsbotten
med en mjuk trasa.. Diska glastallrikens fot
som glastallriken, handdisk eller i
diskmaskin.
8.
genom att i ett glas blanda vatten med saft
blandningen i ugnen i 5 minuter, torka rent
och torrt med en mjuk trasa.
T NYTTA OCH
hemsida
http://www.microwaves.gorenje.com

142
BRUKSANVISNING NO
SPESIFIKASJONER
.......................................................................................................... 230V~50Hz,1400W
Effekt ........................................................................................................................................... 900W
Grillvarmer ................................................................................................................................. 1000W
Varmluftseffekt: .......................................................................................................................... 2000W
Frekvens: ............................................................................................................................... 2450MHz
........................................................................... 510mm(W) X 303mm(H) X 400mm(D)
......................................................................... 330mm(W) X 212mm(H) X 336mm(D)
Ovnens kapasitet: ....................................................................................................................... 24 liter
Nettovekt: ......................................................................................................................... Cirka 15,0 kg
............................................................................................................... (Lc IEC) < 58 dB (A)
Dette apparatet er merket i henhold til EU-
direktivet 2002/96/EC om Elektrisk og
elektronisk avfall (WEEE).
Disse retningslinjene er rammen for et
Apparat for bruk i hjemmet til oppvarming av
Europadekkende regelverk for returnering
mat og drikke ved hjelp av elektromagnetisk
og resirkulering av elektrisk og elektronisk
avfall.
Radiointerferens
Denne maskinen er et avansert apparat, som
har vilje,
anvisninger som er beskrevet.
a) Gj
b)
apparat.
c) Bruk en skikkelig installert antenne for
under oppsikt. La aldri barn leke med eller
betjene apparatet.
mottakersignal.
ringer service
Installasjon
1.
1. Forsikre deg om at alle deler av
antennes ikke eller de har slukket:
emballa
a)
2. Se over ovnen etter oppakking for
eventuelle synlige skader, slik som:
-
-
igjen.
-
b)
- Hakk inne i ovnen
eventuelt hovedsikringen. Hvis disse
IKKE BRUKE
kontakten med et annet apparat.
ovnen.
2.
3. 5,0 kg og
a) Kontrollere om tidsuret er stilt inn.
b) kelig lukket
4.
sette i gang inne i ovnen.
5. IKKE nen.

143
6. Still ovnen minst 8 cm borte fra begge
ADVARSEL: nen
sideveggene og minst 10 cm borte fra
ventilasjon.
7. IKKE fjerne dreiefoten.
farene ved uvettig bruk;
8.
8
ADVARSEL- DETTE
baksiden, 10 10 cm
JORDES.
9.
ikke blokkere ovnens luftutganger.
10. Denne ovnen trenger 1.3 KVA
installerer ovnen.
faren for antenning;
ADVARSEL: Denne ovnen er beskyttet
innvendig med en 250V, 10 A sikring.
VIKTIG
kveles;
Lederne i hovedkabelen er forsynt med
Jordet
Brun:
(Live)
forbrenninger;
Ikke kok egg med skall eller varm hele
fargemarkeringene som er brukt til
kabelfes
kan eksplodere, selv etter at oppvarmingen
- Lederen som er gul-
kobles til kabelfestet som er merket med
bokstaven E eller med jordingssymbolet
-
en svamp eller myk klut.
som er merket med bokstaven N eller
farget svart.
eventuelle matrester fjernes;
-
Man
som er merket med bokstaven L eller
situasjoner;
Viktig sikkerhetsinformasjon
ADVARSEL:
skiftes ut av produsenten, produsentens
servicetekniker eller liknende kvalifisert
unn
p
av temperaturene som dannes (Kun for
modellen med grillfunksjon)
Sikkerhetsinstruksjoner for
ADVARSEL:
vanlig bruk
har blitt reparert av en kyndig tekniker;
sikkerhetsanvisninger som sikrer optimal
ADVARSEL: Det er farlig for alle andre enn
-
1.
eller reparasjonsoperasjon som involverer
fjerning av deksler som gir beskyttelse mot
bruker ovnen.
2.
ADVARSEL:
varmes opp i lukkede beholdere siden de vil
kunne eksplodere.

144
eller noen som helst gjenstander som ikke
3.
slippe ut samme mengde damp og/eller
kunne skade ovnen.
4. Ikke bruk ovnen til noen form for lagring, for
fjerner lokket ved tradisjonell matlaging.
12.
5.
mat som er omsluttet av en slags membran,
varmer opp mat/drikke for babyer. Vi
slik som eggeplommer, poteter, kyllinglever,
a
ll i
membranen flere ganger med en gaffel.
6.
varmen blir jevnt fordelt.
13. Mat som inneholder en blanding av fett og
7. Fjern aldri noen deler av ovnen, slik som
i ovnen i 30-60 sekunder etter at ovnen har
8.
tt av. Dette gir blandingen anledning
du setter den inn i ovnen.
du tilsetter en buljongterning.
14.
huske at det er noen typer mat, f.eks.
julepudding
som varmes opp veldig fort. Ikke bruk
- eller
fettinnhold.
15.
maten. D
16.
a)
plast eller
andre brennbare materialer er plassert
b)
plasserer posen i ovnen.
c) Hvis materialer inne i ovnen skulle
ovnen med bryteren elle
hovedsikringen.
9.
brukes i overensstemmelse med
produsentens instruksjoner.
10.
11.
beholder og ikke beholderen selv. Derfor,
VIKTIG
- Ikke bruk metallbeholdere eller
- Ikke bruk noen gjenstander med
metalldeler.
-
kledt med papir.
- Ikke bruk melamintallerkener da de
kan inneholde et materiale som kan
eller skades og vil nedsette
tilberedingshastigheten.
-
Glaseringen er uegnet for bruk i
ra Corelle
ikke brukes.
- Ikke bruk beholdere med liten
flasker, da de kan eksplodere hvis
- - eller
baketermometre.
- Det finnes termometre i handelen
som er laget spesielt for matlaging i

145
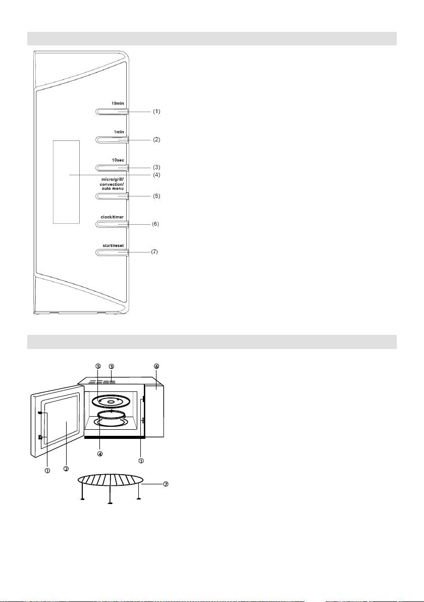
DATASTYRT KONTROLLPANEL
1. 10 minutter
2. 1 minutt
3. 10 sekunder
4. Display
5. Micro/Grill/Convection/Auto menu
(Micro/Grill/Varmluft/Automeny)
6. Clock/Timer (Klokke/Timer)
7. Start/Reset (Start/Tilbakestill)
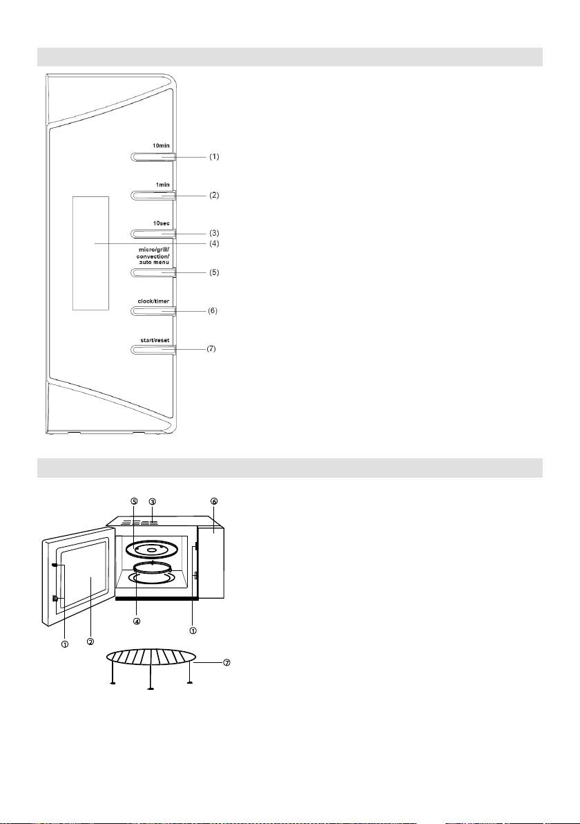
1. Sikkerhetssperre
2. Ovnsvindu
3.
4. Dreiefot
5. Glassbrett
6. Kontrollpanel
7. Grillrist
1. 10 minutes
2. 1 minute
3. 10 second
4. Display
5. Micro/Grill/Convection/Auto menu
6. Clock/Timer
7. Start/Reset
8. Open

146
Brukerinstruksjoner
1. EN-KNAPPS OPPVARMING
Du kan sette i gang enkel matlaging med ett
du raskt vil varme opp f.eks. et glass vann,
etc.
Eksempel:
a)
b) -knappen,
ovnen setter i gang med
100% styrke i 1 minutt.
c)
er ferdig.
2.
Denne funksjonen har to muligheter.
a)
styrke)
Eksempel:
styrke i 5 minutter.
1.
2.
b)
Eksempel:
styrke i 10 minutter.
1.
2.
3. Trykk
tiden for
90 minutter.
Trykk
"Micro"
Display
1
100%
P100
2
70%
P70
3
50%
P50
4
30%
P30
5
10%
P10
4. Grill
Denne funksjonen har to alternativer. Du
tilberedningstiden er 60 minutter):
Alternativ 1: 85 % grilleffekt, display G-1
Alternativ 2: 50 % grilleffekt, display G-2
Eksempel: Tilberede mat med grillen i 20
minutter
a)
--displayet.
b) Sett tilberedningstid til "20:00"
c) Trykk "Start/Reset"
varmes ikke maten opp av
del stoppes programmet automatisk og det
piper to ganger, noe som betyr at du skal
"Start/Reset" og tilberedningen vil fortsette
med andre del. Hvis du ikke vil snu maten,
starter ovnen igjen automatisk etter ett
minutts pause.
5. Tilberedning med
kombinasjonsfunksjoner
mellom tre alternativer for tilberedning med
kombinasjonsfunksjoner.
Alternativ 1: Tilberedning med
+ 200
LED-displayet viser "C-1"
Alternativ 2: Tilberedning med
kombinasjonsfunksjoner (50 % grill +
220
LED-displayet viser "C-2".
Eksempel: Tilberede mat med alternativ 2 i
15 minutter.
a)
--displayet.
b) Sett tilberedningstid til "15:00"
3.
c) Trykk "Start/Reset"
ssen mat, og ovnen vil
Alternativ 3: Tilberedning med
+ 50 % grill)
Eksempel:
LED-displayet viser "C-3"
a)
Til rask grilling etc.
velge "DEF".
Eksempel: Tilberede mat med alternativ 2 i
b)
15 minutter.
a)
sec" (0.1kg).
--displayet.
c) .
b) Sett tilberedningstid til "15:00"
c) Trykk "Start/Reset"

147
6. Tilberedning med varmluft
Denne ovnen kan brukes som varmluftsovn
temperatur for forvarming. Standard
temperaturinnstilling er 230
Eksempel:
a)
b) Trykk "Start/Reset".
rvarmingen er
tilberedningstid og temperatur. Fortsett
tilberedningen. Den lengste
forvarmingstiden er 30 minutter.
Eksempel: Tilberedning med varmluft:
Forvarm ovnen til 200
tilberedningstid til 20 minutter.
a)
b) Sett tilberedningstid til 20 minutter
c) Trykk "Start/Reset"
7. Automeny
mattype og vekt,
effekt og tid.
Eksempel: Automatisk tilberedning 0,4 kg
fisk
a)
-5".
b)
"1 Min" (1 kg) og knappen "10 Sec"
(0,1 kg).
c) Trykk "Start/Reset".
Antall
trykk
"1min"
Meny, Vekt (kg)
A-1
Varme opp
A-2
Poteter
A-3
Pizza
1
0,1
0,2
0,1
2
0,15
0,3
0,2
3
0,2
0,4
0,25
4
0,25
0,5
0,30
5
0,3
0,6
0,35
6
0,35
0,7
0,40
7
0,4
0,9
0,45
8
0,45
1,1
0,50
9
0,5
1,3
0,55
10
0,6
1,5
0,60
Antall
trykk
"1min"
Meny, Vekt (kg)
A-4
A-5
Fisk
A-6
Kylling
1
0,1
0,2
0,2
2
0,2
0,3
0,4
3
0,3
0,4
0,6
4
0,4
0,5
0,8
5
0,5
0,6
1,0
6
0,6
0,8
7
0,8
1,0
8
1,0
8. Klokke
Ovnen har en 24-timers digitalklokke.
Slik stiller du klokken til for eksempel 16:30:
a)
angi time med knappene "1 Min" og
"10 Sec".
b)
minuttene med knappene "1 Min" og
"10 Sec".
c)
avslutte.
d) Hvis du vil endre klokkeslett, gjentar
9. Timer
Med timeren kan du kan stille inn
denne
funksjonen.
Eksempel: Klokken er 16:30, og du vil
10 minutter:
a)
Min" og "10 Sec" (samme prosedyre
b) Trykk
velge 70 % effekt.
c) Sett tilberedningstid til 10 minutter.
d) Trykk "Start/Reset"
Hvis du ikke stiller inn effekt og
-knappen
med en gang du har programmert tiden, vil
timeren kun fungere som en klokke.
ganger og skru seg av.
10. Barnesikring
sekunder.
opp ovnen igjen.

148
11. Start/Reset
9.
ovnen, vennligst ta kontakt med en
a)
"Start/Reset".
b) Hvis det var stilt inn noen programmer
Ikke kast produktet i det vanlige
husholdningsavfallet. Etter endt levetid skal det
n.
leveres inn til et godkjent mottak for gjenvinning.
din
Garanti og service
1.
produktet, tar du kontakt med Gorenje
2. Hold ovnen ren innvendig. Hvis det skulle
kundesenter i ditt land (du finner
telefonnummeret i den internasjonale
garantibrosjyren). Hvis Gorenje ikke har noe
v sterke eller
kundesenter i ditt land, henvender du deg til
forhandleren eller kontakter Gorenje
3.
serviceavdeling for hvitevarer.
Kun for personlig bruk!
vann renne inn gjennom
4.
med en myk, fuktig klut. Ikke bruk
kontrollpanelet.
5. Hvis det skulle samle seg damp innenfor
ge
funksjonen av apparatet.
6.
eller i oppvaskmaskin.
7.
reven
mildt vaskemiddel, vann eller
oppvaskmaskin. Damp fra matlagingen
samles opp under bruk, men har ingen
plass igjen i riktig posisjon.
8.
med vann og saften og skallet av en sitron i
. Sett i
BRUKEN AV APPARATET DITT
Flere anbefalinger for matlaging med
htpp://www.microwave.gorenje.com

149
S FI
TEKNISET TIEDOT
Virrankulutus: .......................................................................................................... 230V~50Hz,1400W
Teho: ........................................................................................................................................... 900W
Grillikuumennin: ......................................................................................................................... 1000W
Kiertoilman teho: ........................................................................................................................ 2000W
........................................................................................................................ 2450MHz
Ulkomitat:..................................................................................... 510mm(L) X 303mm(K) X 400mm(S)
..................................................................................... 330mm(L) X 212mm(K) X 336mm(S)
Uunin vetoisuus: ....................................................................................................................... 24 litraa
Paino ilman pakkausta: ...................................................................................................... noin 15,0 kg
: ............................................................................................................... (Lc IEC) < 58 dB (A)
Laite on tarkoitettu ruokien ja juomien
- ja elektroniikkalaitteita
koskevan 2002/96/EC-direktiivin
mukaisesti.
yleiseurooppalaista sopimusta, joka
Mikroaa
- ja
television tai vastaavan laitteen toiminnassa.
elektroniikkalaitteiden palautusta ja
a) Puhdista uunin luukun ja tiivisteiden pinnat.
b) Sijoita radio, televisio tms. mahdollisimman
kauas mikroaaltouunista.
valvontaa.
c)
asennettua antennia varmistaaksesi
Ennen kuin soitat korjaajalle
1.
Asennus
a) y
1.
ole, irrota pistoke pistorasiasta, odota
2. Tar
takaisin pistorasiaan.
-
b) Tarkista, onko sulake palanut tai
- vaurioitunut luukku
-
toimivat normaalisti, kokeile
ruudussa
en toimivuutta toisella
-
laitteella.
2. Jos mikroaaltokuumennus ei toimi:
a)
3. 5,0 kg, ja se
b)
lukkiutunut. Muussa tapauksessa
4.
uuniin ei virtaa mikroaaltoenergiaa.
5.
EI RATKAISE ONGELMAA, OTA
6.
VALTUUTETTUUN
HUOLTOLIIKKEESEEN.
ilmanvaihdon.

150
7.
8.
ilmanvaihtoaukkoja.
ovat mikroaaltouuniin sopivia.
VAROITUS T
- tai
MAADOITETTAVA.
paperiastioissa, tarkkaile uunia mahdollisen
9.
syttymisen varalta.
Jos havaitset savua, kytke
10.
KVA, joten asennetaessa on suositeltavaa
luukku suljettuna tukahduttaaksesi
mahdolliset liekit.
en
Jos kuumennat mikroaaltouunissa juomia,
kuumennusastiaa varovasti.
Sekoita tai ravista tuttipullojen ja
seuraavasti:
Maadoitettu
Sininen: Neutraali
palovammoja.
Ruskea:
liitosk
mikroaa
-
Puhdista luukun pinta, luukun tiivisteet ja
liitoskohtaan, joka on merkitty E-kirjaimella
.
-
liinalla.
tai N-kirjaimella merkittyyn liitoskohtaan.
-
L-kirjaimella merkittyyn liitoskohtaan.
sen
turvaohjeita
vaaratilanteisiin.
VAROITUS:
Jos virtajohto on vaurioitunut, se on
vaihdatettava valmistajalla, valtuutetulla
uunia vain aikuisten valvonnassa korkeiden
astaan
ammattilaisella vaaratilanteiden
grillitoiminnolla varustettua mallia).
VAROITUS: Jos luukku tai luukun tiivisteet
korjannut laitteen.
- ja turvaohjeita, joilla
VAROITUS:
voit varmistaa uunin ja muiden vastaavien
turvallisesti huoltaa tai korjata laitetta, jos
laitteiden tehokkaan toiminnan:
1.
suojaavan kuoren irrottamista.
na,
VAROITUS:
2.
valmistukseen, esimerkiksi vaatteiden,
VAROITUS:
paperin tms. kuivaamiseen tai esineiden
ilman valvontaa vain, jos heille on annettu
sterilisoimiseen.
3.
vaurioitua.
4.
uunin taakse tilaa 8 cm, molemmille sivuille
5.
10 1rrota
kalvo, kuten munankeltuaisia, perunoita,

151
kananmaksaa tms. ennen kuin olet pistellyt
12.
kuumennat tai kypsen
6.
ulkokuoren aukkoihin.
7.
8.
tasaisesti.
lasitarjottimella. Pane ruoka
13.
asianmukaiseen kuumennusastiaan, ennen
sekoitusta, esimerki
kuin panet ruuan uuniin.
60 sekunnin ajan sen
Sekoitus tasaantuu, ja ruoka/neste ei kupli,
lihaliemikuutio.
14.
r
15. Keittoastiat voivat kuumentua, koska niihin
pannulappuja.
16.
a)
mikroaaltouunia tarkasti, jos uuniin on
ruuanvalmistuksen helpottamiseksi
pantu paperia, muovia tai muita
tulenarkoja materiaaleja.
b) Poista pussinsulkija, ennen kuin panet
pussin uuniin.
c)
su
katkaise virta sulakkeesta tai
virrankatkaisijasta.
9. kroaaltouuniin tarjoitettuja
mukaan.
10.
mikroaaltouunissa.
11.
Vaikka astian kansi ei tuntuisi kuumalta,
kun otat sen mikroaaltouunista, astian
ruuanvalmistuksessa.
EI SAA PANNA MIKROAALTOUUNIIN
-
astioita, joissa on metalliset
- ta, jotka on
viimeistelty metallilla.
-
metallilangasta valmistettuja
pussinsulkijoita.
-
-
Livingwaren kuppeja, joissa on
-
suuaukko, kuten virvoitusjuoma- tai
salaatinkastikepulloja, koska ne
kuumennettaessa.
-
- Markkinoilla on erityisesti
mikroaaltokypsennykseen
rvallista.

152
OHJAUSPANEELI
1. 10 minuuttia
2. 1 minuutti
3. 10 sekuntia
4.
5. Mikro/grilli/kiertoilma/Auto-valikko
6. Kello/ajastin
7.
KAAVAKUVA
1. Oven turvalukitusmekanismi
2. Uunin ikkuna
3. Uunin ilmanvaihtoaukko
4.
5. Lasitarjotin
6. Ohjauspaneeli
7. Grilliteline
17. 10 minutes
18. 1 minute
19. 10 second
20. Display
9. 10 minutes
10. 1 minute
11. 10 second
12. Display
13. Micro/Grill/Convection/Auto menu
14. Clock/Timer
15. Start/Reset
16. Open

153
1.
NAPINPAINALLUKSELLA
napinpainalluksella;
esimerkiksi vesilasillisen kuumentaminen
Esimerkki: Maitolasillisen kuumennus
a)
ja sulje luukku.
b) Paina -painiketta, jolloin
mikroaaltouuni toimii 100-prosenttisella
teholla yhden minuutin ajan.
c) Kuulet viisi piippausta, kun kuumennus
on valmis.
2. MIKROAALTOKUUMENNUS
a) Nopea mikroaaltokuumennus (100-
prosenttinen teho)
Esimerkki: Ruuan kuumennus 100 %
teholla viiden minuutin ajan
1.
2. -painiketta
b)
mikroaaltokuumennus
Esimerkki: Ruuan kuumennus 70 % teholla
10 minuutin ajan
1. Paina -painiketta,
2.
3. Paina -painiketta
Erilaisia kuumennustehoja on viisi, ja pisin
mahdollinen mikroaaltokuumennusaika on 90
minuuttia.
Painallu
skertoja
"Micro"
Mikroaaltoteho
1
100%
P100
2
70%
P70
3
50%
P50
4
30%
P30
5
10%
P10
b) -
painiketta (1 kg) ja "10 sec"-painiketta
(0,1kg).
c) Paina .
kg.
4. Grilli
Vaihtoehto valitaan painamalla
-painiketta (pisin
valmistusaika on 60 minuuttia):
vaihtoehto 1: -1
vaihtoehto 2: -2
Esimerkki:
a) -painiketta,
kunnes LED--1".
b) Aseta valmistusajaksi "20:00".
c) Paina "Start/Reset".
mikroaalloilla.
metallikuumentimesta.
maattisesti ja
ruoka.
Jatka valmistuksen toiseen vaiheeseen
painamalla "Start/Reset"-painiketta. Jos et
nnistyy
automaattisesti uudelleen minuutin tauon
5.
Vaihtoehto 1: valmistus
LED--1"
Vaihtoehto 2: valmistus
LED--2"
Esimerkki:
3. AUTOMAATTINEN SULATUS
vaihtoehtoa 2 ja 15 minuutin valmistusaikaa
PAINON MUKAAN
a) -painiketta,
kunnes LED--2".
Kun valitset pakastetun ruuan painon, uuni
b) Aseta valmistusajaksi "15:00".
c) Paina "Start/Reset".
Esimerkki: 0,5 painavan pakastetun lihan
Vaihtoehto 3: valmistus
sulatus
a) Valitse "DEF" painamalla
grilli 50 %)
.
LED--3"
Muu muassa pikagrillaukseen

154
vaihtoehtoa 2 ja 15 minuutin valmistusaikaa
a) -painiketta,
kunnes LED--2".
b) Aseta valmistusajaksi "15:00".
c) Paina "Start/Reset".
6. Valmistus kiertoilmatoiminnolla
kiertoilmauunina ja se voidaan ohjelmoida
menu"-painiketta.
Esimerkki:
a) Valitse k
-
b) Paina "Start/Reset".
laitettava uuniin. Aseta haluamasi
valmistusaika
valmistukseen. Pisin mahdollinen
Esimerkki: valmistus kiertoilmatoiminnolla
asettamalla valmistusajaksi 20 minuuttia
a) Valitse valmistus kiertoilmatoiminnolla
paima-
b) Aseta valmistusajaksi 20 minuuttia.
c) Paina "Start/Reset".
7. Auto-valikko
Valitaan vain ruuan tyyppi ja paino. Tehon
ja ajan uuni asettaa automaattisesti.
Esimerkki: 0,4 kg painavan kalan
automaattinen valmistus
a) -painiketta,
-5".
b) Valitse paino painamalla "1 min"-
painiketta (1 kg) ja "10 sec"-painiketta
(0,1 kg).
c) Paina "Start/Reset".
Painallus-
kertoja
"1min"
Valikko, paino (kg)
A-1
A-2
Perunat
A-3
Pitsa
1
0,1
0,2
0,1
2
0,15
0,3
0,2
3
0,2
0,4
0,25
4
0,25
0,5
0,30
5
0,3
0,6
0,35
6
0,35
0,7
0,40
7
0,4
0,9
0,45
8
0,45
1,1
0,50
9
0,5
1,3
0,55
10
0,6
1,5
0,60
Painallus-
kertoja
"1min"
Valikko, paino (kg)
A-4
Liha
A-5
Kala
A-6
Kananpoika
1
0,1
0,2
0,2
2
0,2
0,3
0,4
3
0,3
0,4
0,6
4
0,4
0,5
0,8
5
0,5
0,6
1,0
6
0,6
0,8
7
0,8
1,0
8
1,0
8. Kello
Uunissa on digitaalinen 24 tunnin kello.
Aseta ajaksi esimerkiksi 16:30 seuraavasti:
a) Paina "Clock/Timer"-painiketta. Kun
painamalla "1 Min"- ja "10 Sec"-
painikkeita.
b) Paina "Clock/Timer"-painiketta
"1 Min"- ja "10 Sec"-painikkeita.
c)
"Clock/Timer"-painiketta.
d)
kuvattu toimenpide.
9. Ajastin
- ja
sammumisajat.
Esimerkki: kello on nyt 16:30 ja haluat
aloittaa ruuan valmistuksen klo 18:15
valmistusaikaa:
a) Paina "Clock/Timer"-painiketta ja aseta
ajaksi "18:15" painamalla "1 Min"- ja
"10 Sec"-painikkeita (sama toimenpide
kuin kellonaikaa asetettaessa).
b) Aseta tehoksi 70 % painamalla
-painiketta.
c) Aseta valmistusajaksi 10 minuuttia.
d) Paina "Start/Reset".

155
toimii ainoastaan kellona.
sammuu.
takaisin oikeaan asentoon.
8. Poista uunista hajut sekoittamalla kupillinen
10. Turvalukko:
v
"1 Min"- ja "10 Sec"-painikkeita
kulhoon. Kuumenna mikroaaltouunissa
samanaikaisesti 2 sekunnin ajan.
viiden minuutin ajan, pyyhi huolellisesti ja
Paina "1 Min"- ja "10 Sec"-painikkeita
samanaikaisesti 2 sekunnin ajan uudelleen,
9. Kun uunin lamppu
kun haluat avata lukon.
11. Start/Reset-painike
a) "Start/Reset"-painikkeen painaminen
toiminnon.
b) Jos jokin ohjelma-asetus on tehty
Takuu ja huolto
painaminen peruuttaa kaikki ohjelma-
asetukset.
Jos tarvitset tietoja, tai jos sinulla on ongelma,
ota yteyt
Mikroaaltouunin huolto
puhelinnnumeron maailmanlaajuisesta
1.
pistorasiasta ennen uunin puhdistamista.
-
2.
kotitalouslaitteiden huoltoosastoon.
kostealla liinalla. Kovien tai hankaavien
suositeltavaa.
3. Puhdista uunin ulkopinnat kostealla liinalla.
huolehdi, ettei uunin ilmanvaihtoaukkoihin
4.
p
hankaavilla tai suihkutettavilla aineilla.
5.
se ei ole merkki uunin viallisesta
toiminnasta.
6.
7.
puhdi
ikkunanpuhdistusaineella, ja kuivaa.
LAITTEESI SEURASSA
ruuanvalmistukseen mikroaaltouunissa ja
-sivuiltamme:
htpp://www.microwaves.gorenje.com

156
LV
TEHNISKAIS RAKSTUROJUMS
..................................................................................................... 230V~50Hz,1400W
Izvade: ......................................................................................................................................... 900W
............................................................................................................................. 1000W
Konvekcijas jauda: ..................................................................................................................... 2000W
.......................................................................................................... 2450MHz
................................................................................510mm(P) X 303mm(A) X 400mm(D)
................................................................330mm(P) X 212mm(A) X 336mm(D)
........................................................................................................................... 24 litri
Svars bez kastes iepakojuma: .......................................................................................... Apm. 15,0 kg
: .................................................................................................... (Lc IEC) < 58 dB (A)
PILNVAROTO APKOPES DIENESTU.
visiem eksplu
stingri aizliegts
a)
b)
dienestu
c)
1.
., lai
disple
a)
1.
b)
2.
vadu
-
-
-
2.
a)
-
b)
NELIETOJIET .

157
3. 5,0
Personai, kas nav
4.
5. NENOVIETOJIET
6.
sienas.
7.
8.
-
8 cm
0
9.
1
p
10. 5 KVA;
atveres.
kas ir piem
:
a
Zils:
Zemsprieguma
-
E vai ar
-
burtu N
-
dobuma virsmas, izmantojiet tikai maigas,
burtu L
r
kompetenta persona to nav salabojusi.

158
9.
10.
11.
1.
2.
12.
3.
4.
5. Nega
13.
vistas aknas utt., ja neesat to vispirms
-
6.
7.
14. Gat
u.c.
8.
taukvielu vai cukura saturu, neizmantojiet
plastmasas traukus.
15.
no
16.
a)
gat
b)
c)
-
kturiem.
-
-
-
- Neizmantojiet Centura galda
izmantot Corelle Livingware
-
atver
-
saldumu termometrus.
-
mikrovi
izmantot.

159
1.
2.
3.
4.
5. Micro/Grila/Konvekcijas/Auto programmas
6. Pulkstenis/laiks
7.
1.
2.
3.
4.
5.
6.
7. Grila paliktnis

160
1.
a)
b)
c)
2.
a)
jauda)
1.
2.
b)
1.
2.
3.
90
Pieskarša
nās reizes
"Micro"
Mikroviļņ
u jauda
Disple
js
1
100%
P100
2
70%
P70
3
50%
P50
4
30%
P30
5
10%
P10
b)
(0,1kg).
c)
Sasa
par 2 kg.
4. Grila funkcija
1. 85
-1
2.
-2
a)
-1".
b)
es.
c) Nospiest "Start/Reset"
5.
ºC konvekcijas, LED
ies "C-1"
ºC konvekcijas,
-2"
3.
a)
C-2"
b)
un laiku.
"15:00"
c) Nospiest "Start/Reset"
a
a)
-3".






