Gorenje GMO-24 DCS – page 6
Manual for Gorenje GMO-24 DCS
Table of contents
- SPECIFICATIONS Radio interference Before you call for service Installation
- IMPORTANT Important safety instructions Safety instructions for general use
- 16. To reduce the risk of fire in the oven cavity:
- Computer control panel Feature diagram
- Operation Instruction 5. Combination Cooking
- 9. Timer
- 11. Start/Reset Environment Care of your microwave oven Guarantee & service

101
6.
Este forno pode ser usado como forno de
atingir uma determinada temperatura. A
ramada por defeito
temperaturas.
Exemplo:
a)
b) pressione start/stop
Qua-aquecimento se completar, o
-
se-
do forno. Seleccione o tempo e a
temperatura desejados. Continue com a
Exemplo:
20 min.
a)
b) seleccione o tempo de cozedura para
20 min.
c)
7. Auto-Menu
Precisa apenas de seleccionar o tipo de
alimento e o peso e o forno ajusta
Exemplo: cozinhar 0,4 kgs de peixe
a)
aparecer A-5
b)
kg)
c) pressione start/stop
Menu, peso (kg)
de
toques
A-1
Aquecer
A-2
Batatas
A-3
Pizza
1
0,1
0,2
0,1
2
0,15
0,3
0,2
3
0,2
0,4
0,25
4
0,25
0,5
0,30
5
0,3
0,6
0,35
6
0,35
0,7
0,40
7
0,4
0,9
0,45
8
0,45
1,1
0,50
9
0,5
1,3
0,55
10
0,6
1,5
0,60
Menu, peso (kg)
de
toques
A-4
Carne
A-5
Peixe
A-6
Frango
1
0,1
0,2
0,2
2
0,2
0,3
0,4
3
0,3
0,4
0,6
4
0,4
0,5
0,8
5
0,5
0,6
1,0
6
0,6
0,8
7
0,8
1,0
8
1,0
9
10
8.
al de 24 h
Para regular a hora para as 16h30 p.m.
a)
b)
c)
9. Temporizador
Exemplo:
durante 20 minutos, a
a)
b)
c) regule o tempo para 10 min
d) pressione start/stop
pre
programado o tempo, o forno apenas
10 bips e o aparelho desliga-se.
10.
tir a
11. Star/stop
a)
-lo-
b) se algum programa tiver sido
seleccionado antes de pressionar

102
De
Domestic Appliances.
Cuidados com o seu
microondas
1. desligue o microondas e retira a ficha da
tomada antes de o limpar
2. mantenha o interior do forno limpo. Se
3. o exterior do forno deve ser limpo com um
pano
4. -se.
5.
forno ou no interior limpe com um pano
seco.
6. de vez em quando deve retirar o prato de
-
7. o anel e o interior do forno devem ser
excessivo. Limpe a base com detergente
suave e -vidros.
o anel do seu lugar para limpeza, assegure-
correcta.
8. pode eliminar os odores do seu microondas
fundo. Ligue o microondas durante 5
minutos e seque cuidadosamente
9.
Ambiente
N
entregue-o num ponto de recolha oficial para
-lo ajuda a preservar o
ambiente.
GORENJE
DESEJA-LHE QUE TENHA MUITO
PRAZER AO UTILIZAR O NOSSO
problema, contacte o Centro de Atendimento ao
NOVO APARELHO
Reservamos-nos o direito de proceder a
-se ao
distribuidor Gorenje local ou contacte o

103
BG
........................................................................................................... 230V~50Hz,1400W
...................................................................................... 900W
................................................................................................ 1000W
.................................................................................................................. 2000W
................................................................................................... 2450MHz
..................................................................... 510mm(W) X 303mm(H) X 400mm(D)
.............................................. 330mm(W) X 212mm(H) X 336mm(D)
...................................................................................................... 24
.............................................................................................................................. 15,0
..................................................................................................................Lc< 58 dB(A)
-
1.
a)
a)
b)
-
c)
b)
1.
2.
2.
a)
-
b)
-
-
-

104
3. 5,0
4.
5.
6.
-
-
7.
8.
-
9.
10.
8
10
1
-
F
-
N
-
L
;

105
-
-
-
-
-
-
Livingware.
-
-
-
1.
-
2.
9.
3.
10.
11.
4.
5.
6.
12.
7.
8.

106
13. -60
14.
15.
-
16.
a)
b)
c)

107
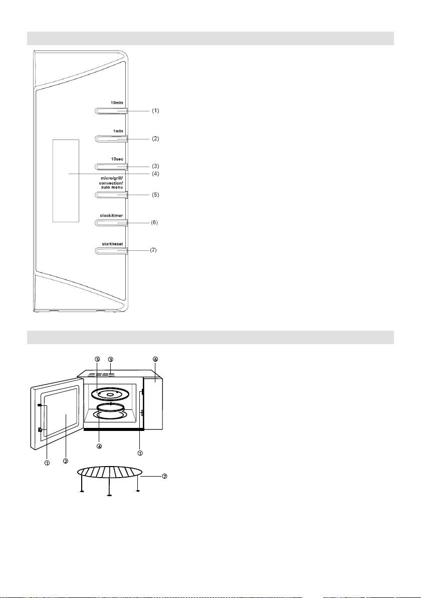
1. 10
2. 1
3. 10
4.
5. ///
6. /
7. /
1.
2.
3.
4.
5.
6.
7.

108
1.
a)
menu"
b)
c) Start/Reset ".
a)
-
b) Start/Reset
4.
.
""
c)
(-
60 ):
1: 85% ,
2.
G-1
2: 50% ,
a)
G-2
:
20
a)
1.
-1".
b)
2. Start/Reset
c)
b)
1.
menu"
2.
3. Start/Reset
2
-
,
90
"/"
5.
3.
1:
(50%
)
"C-1".
2:
(50% )
"Micro"
1
100%
P100
2
70%
P70
3
50%
P50
4
30%
P30
5
10%
P10

109
"C-2".
a)
:
2 15 .
"A-5".
a)
b)
-2".
b)
c)
c)
3:
(50% + 50% )
"C-3".
-
: 2
15 .
a)
-2".
b)
"15:00".
c)
6.
.
a)
b)
-
30 .
:
20 .
a)
b)
c)
7.
.
: 0.4
-
"1min"
, ()
A-1
-
A-2
A-3
1
0,1
0,2
0,1
2
0,15
0,3
0,2
3
0,2
0,4
0,25
4
0,25
0,5
0,30
5
0,3
0,6
0,35
6
0,35
0,7
0,40
7
0,4
0,9
0,45
8
0,45
1,1
0,50
9
0,5
1,3
0,55
10
0,6
1,5
0,60
-
"1min"
, ()
A-4
A-5
A-6
1
0,1
0,2
0,2
2
0,2
0,3
0,4
3
0,3
0,4
0,6
4
0,4
0,5
0,8
5
0,5
0,6
1,0
6
0,6
0,8
7
0,8
1,0
8
1,0
8.
24-
4:30pm:
a)
b)
c)
d)
9.
.
: 16:30
18:15
70% 10 :

110
a)
1.
b)
2.
c)
d)
18:15 10
3.
.
10.
"1 " "10 "
4.
"1 " "10 "
2 ,
11. /
a)
5.
b)
6.
7.
8.

111
9.
Department of Gorenje Domestic Appliances.
http://microwave.gorenje.com

112
UA
........................................................................................... 40
.................................................................................................................... 9
...................................................................................................................................... 10
: ............................................................................................................................... 200
................................................................................................................................. 2
................................................................. 51303 X 400
.................................... 330X 212 X 336
.............................................................................................................................................24
.........................................................................................................................5,0
...................................................................................................................
a)
)
1.
a)
1.
2.
-
-
-
2.
-
a)
-
-
3.
15,0
4.
5.
electronic equipment - WEEE).

113
6.
3.
7.
4.
8.
5.
6.
9.
a)
10.
)
1.
2.
3.
4.
5.
6.
7.
1.
2.
8. -
-
- -
-
-
-

114
9.
17.
10.
-
-
-
-
-
-
-
11.
12.
13.
14.
15.
-60
16.

115
1. 10
2. 1
3. 10
4.
5. MiA
6.
7.
1.
2.
3.
4.
5.
6.
7.

116
1.
1.
2.
3.
2.
1.
2.
1. "Mi
"
2.
3.
90
Кількіс
ть
натиска
нь
"Micro"
Потужніс
ть в %
Диспл
ей
1
100%
P100
2
70%
P70
3
50%
P50
4
30%
P30
5
10%
P10
3.
4.
:
1: 85% ,
G-1
2: 50% ,
G-2
:
a)
-1".
)
.
.
.
5.
.
1 : (50%
)
LED "C-1"
2 : (50%
)
LED "C-2".
3.
:
a)
1. "Mi
-2"
"
2.
"15:00"
)

117
3: (50%
a)
+ 50% )
"Mi"
LED "C-3"
"A-5".
.
:
) "".
a)
-2"
"15:00".
)
6.
:
a)
:
a)
)
7. A
: A 0.4
"1min"
Me, ()
A-1
A-2
A-3
1
0,1
0,2
0,1
2
0,15
0,3
0,2
3
0,2
0,4
0,25
4
0,25
0,5
0,30
5
0,3
0,6
0,35
6
0,35
0,7
0,40
7
0,4
0,9
0,45
8
0,45
1,1
0,50
9
0,5
1,3
0,55
10
0,6
1,5
0,60
"1min"
Me, ()
A-4
M
A-5
A-6
1
0,1
0,2
0,2
2
0,2
0,3
0,4
3
0,3
0,4
0,6
4
0,4
0,5
0,8
5
0,5
0,6
1,0
6
0,6
0,8
7
0,8
1,0
8
1,0
8.
:
a)
)
)
9. T

118
: 16:30
18:15
70% :
1.
a)
2.
3.
)
)
4.
-
5.
10.
6.
"1 " "10 "
"1 " "10 "
7.
,
11.
a)
-
8.
9.

119
м
м
о
о
ж
ж
н
н
а
а
з
з
н
н
а
а
й
й
т
т
и
и
н
н
а
а
в
в
е
е
б
б
-
-
с
с
а
а
й
й
т
т
і
і
:
:
http://microwave.gorenje.com

120
RU
..................................................................................... 40
.............................................................................................................. 9
....................................................................................................................................... 10
........................................................................................................................... 200
................................................................................................................................. 2
......................................................... 51303 X 400
..................................................... 330X 212 X 336
...........................................................................................................................................24
................................................................................................................ 5,0
:
:..................................................................... 70
P : ...........................................................................................................................................
.
a)
)
1.
a)
1.
2.
-
-
-
2.
-
a)
-
3.
15,0
electronic equipment - WEEE).






