Gorenje GMO-24 DCS – page 4
Manual for Gorenje GMO-24 DCS
Table of contents
- SPECIFICATIONS Radio interference Before you call for service Installation
- IMPORTANT Important safety instructions Safety instructions for general use
- 16. To reduce the risk of fire in the oven cavity:
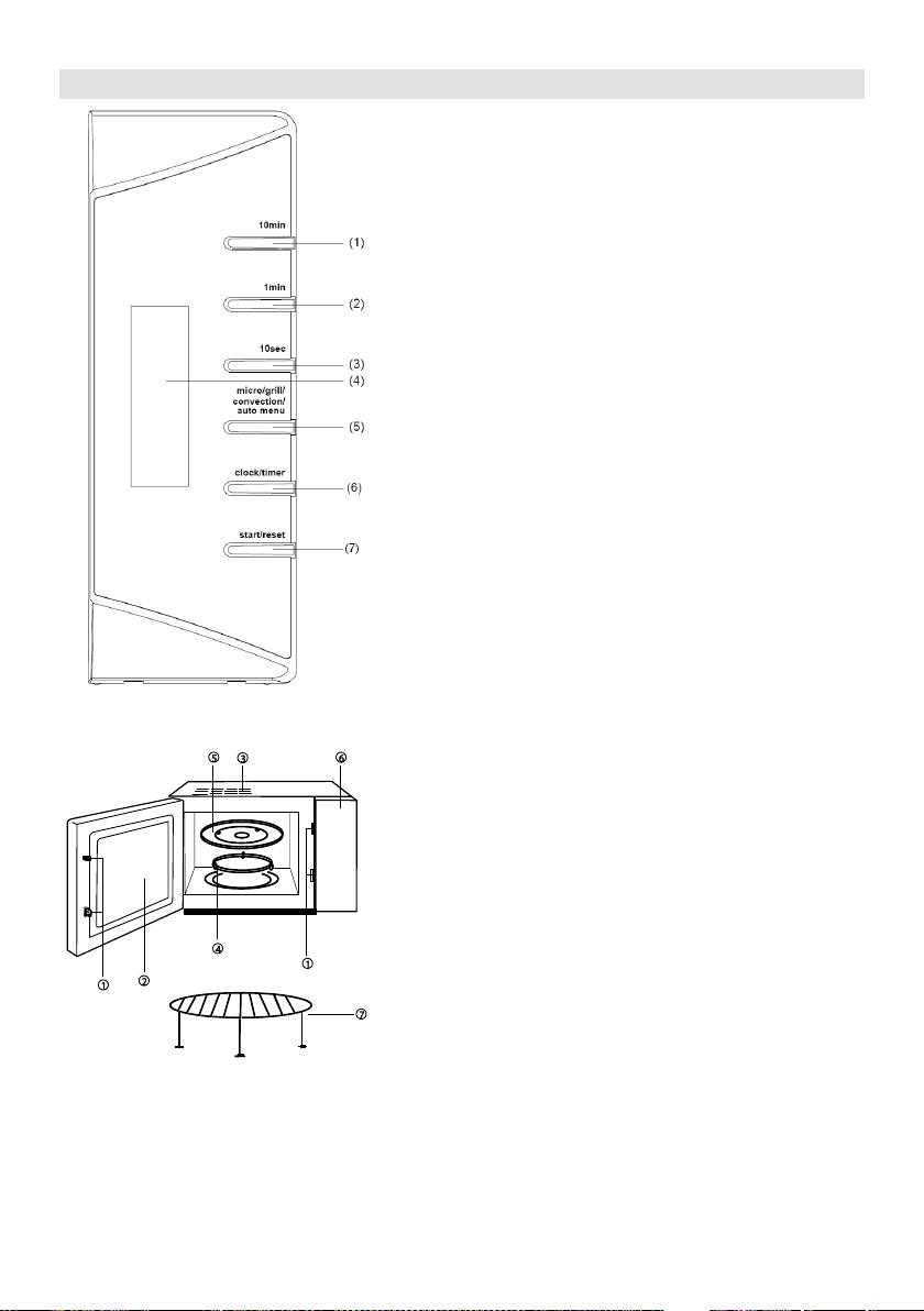
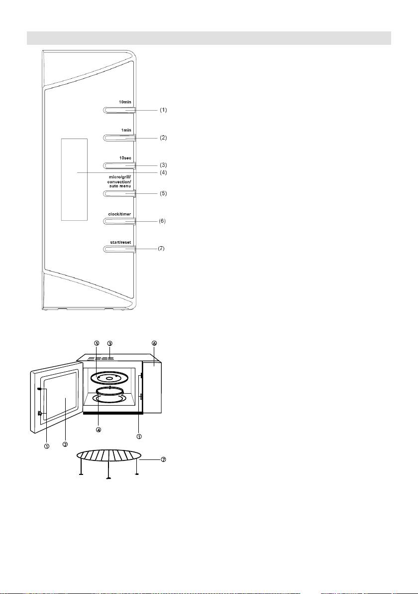
- Computer control panel Feature diagram
- Operation Instruction 5. Combination Cooking
- 9. Timer
- 11. Start/Reset Environment Care of your microwave oven Guarantee & service

61
16.
a)
vannak.
b)
c)
-

62
1. 10 perc
2. 1 perc
3.
4.
5.
6.
7.
1.
2.
3.
4.
5.
6.
7. Grill r

63
-
kevesebb kell hogy legyen.
1.
4. Grill
da:
a)
G-1
G-2
b) Nyomjuk meg a "Start/Reset" gombot,
a)
c)
"G-
hallani.
b)
c) Nyomjuk meg a "Start/Reset" gombot
2.
a)
percig.
1. -re.
2. Nyomjuk meg a "Start/Reset" gombot.
b)
1. Nyomjuk meg a
-os
fokozatot.
2. -re.
indul.
3. Nyomjuk meg a "Start/Reset" gombot.
5.
E k
-
"C-
a)
jelenik a "C-
b) -re.
3.
c) Nyomjuk meg a "Start/Reset" gombot.
Komb
-
a) A gomb
a)
b) Az "1Min" (1 kg) gomb valamint a
jelenik a "C-
b) -re
c) Nyomjuk meg a "Start/Reset" gombot.
c) Nyomjuk meg a "Start/Reset" gombot.
Gombnyo
"Micro"
A
Felirat a
1
100%
P100
2
70%
P70
3
50%
P50
4
30%
P30
5
10%
P10

64
6
-
-ra.
a)
b)
-
a)
b)
c) .
7. Auto-
a)
jeleni-5".
b)
c) Nyomjuk meg a "Start/Reset" gombot.
Gomb-
"1min"
A-1
A-2
Burgonya
A-3
Pizza
1
0,1
0,2
0,1
2
0,15
0,3
0,2
3
0,2
0,4
0,25
4
0,25
0,5
0,30
5
0,3
0,6
0,35
6
0,35
0,7
0,40
7
0,4
0,9
0,45
8
0,45
1,1
0,50
9
0,5
1,3
0,55
10
0,6
1,5
0,60
Gomb-
"1min"
A-4
A-5
Hal
A-6
Csirke
1
0,1
0,2
0,2
2
0,2
0,3
0,4
3
0,3
0,4
0,6
4
0,4
0,5
0,8
5
0,5
0,6
1,0
6
0,6
0,8
7
0,8
1,0
8
1,0
8.
-ra az
a) Nyomjuk meg a "Clock/Timer" gombot
b)
c)
gombot
d)
folyamatot kell megism
9.
-kor
-os
a) Nyomjuk meg a "Clock/Timer" gombot,
-
b)
ki a 70%-os
c)
d) Nyomjuk meg a "Start/Reset" gombot.
-t
10.

65
-
-
11. Start/Reset
a)
8.
megnyomjuk a "Start/Reset" gombot, a
b)
9.
l
Krnyezetvdelem
1.
A feleslegess vlt kszlk szelektv
hulladkknt kezelend. Krjk, hivatalos
2.
jrahasznost gyjthelyen adja le, gy
hozzjrul a krnyezet vdelmhez.
3.
4.
spray-ket.
5.
or
6.
A
7. -
-
-
oldalon:
http://microwave.gorenje.com

66
INSTRUKCJA PL
Charakterystyki techniczne
Zasilanie elektryczne .............................................................................................. 230V~50Hz,1400W
............................................................................................................................. 900W
Mo ................................................................................................. 1000W
Konwekcja ................................................................................................................................. 2000W
.......................................................................................................... 2450MHz
rzne: ................................................................. X 303mm(V) X 400mm(G)
Wymiary wory): ....................................................... 330mm(Sz) X 212mm(V) X 336mm(G)
............................................................................................................... 24
Waga netto: ...................................................................................................................... kg
................................................................................................................ Lc < 58 dB (A)
radiowych i elewizyjnych
a)
uszczelek.
b)
jak najdalej od kuchenki mikrofalowej.
Przed wezwaniem serwisu
c)
1.
a)
w warunkach gospodarstwa domowego.
kuchenki z gniazdka zasilania
elektrycznego i po 10 sekundach
b)
ach.
Instalacja
1.
elektryczne.
2.
drzwiczek.
a) S
2.
b)
- czki,
przeciwnym razie emisja enerii
- uszkodzone drzwiczki,
- wgniecenia lub dziury w szkle (oknie) na
problemu, mimo wykonania w/w
- wgniecenia w komorze kuchenki.
czy
autoryzowanego punktu serwisowego.
dzeniach elektrycznych i
elektronicznych (waste electrical and
electronic equipment - WEEE).

67
3. kuche
17,5
UWAGA: Podczas korzystania z funkcji
mikrofale + grill dochodzi do znacznego
4.
wzrostu temperatury. W tym wypadku
wysokich temperatur i pary.
5. Na
niczego.
6.
UWAGA: iczki
8 cm. Taki spos
UWAGA: Wykonywanie jakichkolwiek
7. podstawy
obrotowej talerza.
8.
mikrofalowej przez dzieci powinno
y
wykwalifikowana.
UWAGA:
9.
10. Kuchenka mikrofalowa wymaga mocy 1,5
UWAGA:
kVA
serwisowego lub wykwalifikowanej osoby.
UWAGA: Kuchenka mikrofalowa jest
WANE:
dostateczne
8 cm
Zieleno- uziemienie
przestrzeni, po bokach przynajmniej 10 cm
Niebieski: neutralny
10
zabronione.
- przewodnik koloru zielono-
przeznaczonych do zastosowania w
E
kuchenkach mikrofalowych.
lub symbolem uziemienia.
- przewodnik koloru nieb
pojemnikach plastykowych lub
N
-
L
Mikro

68
4.
one podgrzewane.
itp.
5.
6.
7.
zak
8.
Do czyszczenia drzwiczek kuchenki,
na szklanym talerzu.
odpowiedniego naczynia.
szmatek.
:
-
metalowymi uchwytami.
us
-
- klamer drucianych powlekanych
uszkodzenia jej powierzchni, co z kolei
-
W przypadku uszkodzenia przewodu
naczynia lub jego z
producent, autoryzowany serwis lub
odpowiednio do tego celu wykwalifikowana
-
osoba.
-
b
kuchenki
-
Zapewni to bezpieczne i najskuteczniejsze
kuchenkach mikrofalowych.
9.
1.
10.
umieszczone na swoim miejscu.
2.
11.
3.

69
12.
13.
- 60
lub dodaniu kostki Maggi
14.
przygotowywaniem. Do podgrzewania
tworzyw sztucznych..
15.
ek ochronnych, podczas
16.
a)
po
b)
c) k kuchenki
wtyczki z gniadzka lub przez
tablicy rozdzielczej.

70
Opis kuchenki
1. 10 minut
2. 1 minuta
3. 10 sekund
4.
5. Mikrofale/Gril/Konwekcja/Meni
automatycznego gotowania
6. Zegar/Timer
7. Start/ Reset
1.
2. Okno kuchenki
3. Odwietrznik
4.
5. Szklany talerz
6.
7. Ruszt do grilowania

71
3.
1.
jednego przycisku
o
gotownia. Funkcja ta jest bardzo wygodna i
pomo
podgrzanie szklanki wody itp.
a)
Podgrzanie szklanki melka
a)
menu".
na szklanym talerzu obrotowym i
b)
b) Start/Reset"
przyciski "1min" (1 kg) i "10sec" (0,1
kg).
c) Kuchenka zostanie uruchomiona,
"Start/Reset".
c)
2. Podgrzewanie przy pomocy
4. Grill
mikrofali
Aby z niej skor
przycisk
a) Szybkie podgrzewanie mikrofalami
60 min)
Gotowanie
85% mocy grillowania, na
-1
1.
50% mocy grillowania, na
"5:00".
kat G-2
2. ".
b)
grillu, 20 minut
a)
1. zycisk
menu"
mikrofali np. 70%;
-1".
2.
b)
3. Start/Reset".
c) .
emanuje
wynosi 90 minut.
poziomach, po
"Micro"
A
sugarak
Felirat a
1
100%
P100
2
70%
P70
3
50%
P50
4
30%
P30
5
10%
P10

72
5. Kombinowane
1.
komunikatu "200 ".
2.
3. ycisk "Start/Reset".
-2".
7. Menu automatyczne
Automatyczne gotowanie 0,4kg
zostanie -1".
ryby
a)
zapieczonych potraw itp.
go
-5".
zostanie -3".
b)
grillowania.
2, 15 minut
a) rzycisk
"0,4".
c) k "Start/Reset".
-2".
b)
c)
6. Konwekcyjne gotowanie
automatycznego gotowania".
200
1. 200
komunikatu "200 ". Komunikat ma
2.
min.
d: W poprzednio ogrzanej
minut na temperaturze 200
Liczba
na
przycisk
"1min"
A-1
Podgrzewanie
A-2
Ziemniaki
A-3
Pizza
1
0,1
0,2
0,1
2
0,15
0,3
0,2
3
0,2
0,4
0,25
4
0,25
0,5
0,30
5
0,3
0,6
0,35
6
0,35
0,7
0,40
7
0,4
0,9
0,45
8
0,45
1,1
0,50
9
0,5
1,3
0,55
10
0,6
1,5
0,60
Liczba
na przycisk
"1min"
A-4
A-5
Ryba
A-6
1
0,1
0,2
0,2
2
0,2
0,3
0,4
3
0,3
0,4
0,6
4
0,4
0,5
0,8
5
0,5
0,6
1,0
6
0,6
0,8
7
0,8
1,0
8
1,0

73
8. Zegar dygitalny
11. Start / Reset
Kuchenka jest zaopatrzona w zegar
a)
dygitalny. W celu ustawienia czasu
1.
b) W przypadku ustawienia
kuchenki zastanie zanulowane w chwili
2. zycisk
minuty.
mikrofalowej czyszczenie i
3.
Nowo ustawiony czas zostanie
konserwacja
1.
4.
2.
9. Timer
iwia dowolne ustawienie
W tym momencie jest 16:30. Z
3.
e 18:15. Chcemy aby
minut.
a)
4.
na 18:15 (identyczny proces jak
podczas ustawiania zegara).
b)
aerosolu.
c)
5.
minut
powierzchniach kuchenki osiada para,
d)
przycisku "St
jej uszkodzenia.
6.
10.
7.
przyciski "1 min" i "10 sec". W celu

74
wotne
miejsce.
8.
przez 5 min
9.
sprzedawcy lub w autoryzowanym
Gwarancja i serwis naprawczy
W celu uzyskania informacji lub w razie
danym kraju nie ma takiego centrum
Zastrzegamy sobie prawo do zmian!
WIELE SATYSFAKCJI Z
KORZYSTANIA KUCHENKI
pie
http://microwave.gorenje.com

75
MANUAL DE UTILIZARE RO
CARACTERISTICI
Consum ................................................................................................................. 230V~50Hz, 1400W
Capacitate ................................................................................................................................... 900W
.............................. 1000W
...............................0W
............................................................................................................. 2450MHz
Dimensiuni exterioare .................................................................. 510mm(L) x 303mm(H) x 400mm(W)
Dimensiuni cavitate cuptor ........................................................... 330mm(L) x 212mm(H) x 336mm(W)
Capacitate cuptor ......................................................................................................................... 24 litri
Greutate ....................................................................................................................... Approx. 15,0 kg
Nivel de zgomot: ............................................................................................................. Lc < 58 dB (A)
Cuptoarele
cu radio-ul, televizorul sau alte echipamente
(waste electrical and electronic
equipment - WEEE).
Directiva prescrie cadrul pentru o
a)
b)
valorificarea aparatelor vechi.
departe de cuptorul cu microunde;
c)
1.
a)
Instalare
1.
-l din
interiorul aparatului.
-l la loc.
2.
b)
pe
-
-
un alt aparat.
-
2.
a) -ul este setat.
-
b) Verif
-
nu va porni.
3. Acest cuptor are o greutate de 15,0
-i suporta
greutatea.
4. -un loc unde
5.
6. Di
7.
8.

76
ACEST APARAT TREBUIE
b)
c)
Pentru acest cuptor este nevoie de o putere
de alimentare de 1.5 KVA, de aceea este
i un tehnician atunci
dvs.
Cuptorul este protejat de o
IMPORTANT Cablurile sunt colorate
1. -
Albastru Neutru
Maro Activ
aceasta sunt la locul lor.
Deoarece culorile cabluri
2.
cuptorul pentru
produse care nu sunt alimentare, sau
terminalul marcat cu litera E sau cu simbolul
pentru a steriliza anumite lucruri.
3.
Cablul albastru trebuie conectat la terminalul
deoarece se poate strica.
marcat cu litera N
4.
maro trebuie conectat la terminalul marcat cu
e bucate
litera L
etc.
5.
importante
conservelor, deoarece cuptoarele cu
pentru a reduce riscul de arderi,
iar alimentele care nu sunt bine conservate
roundelor:
6.
1.
a utiliza cuptorul
2.
recipientele sigilate (cum ar fi, de exemplu,
pot exploda, de aceea nu este recomandat
aproximativ un minut.
7. m ar fi
3. Cuptorul trebuie utilizat doar pentru
4.
8.
corpul aparatului.
5.
9.
e
deteriorat.
6.
10.
a)
inflamabile.

77
IMPORTANT CE VASE NU TREBUIE
MICROUNDE:
-
etal.
-
-
-
-
-
termometre speciale pentru cuptoarele cu
microunde.
11. Instrumentele pentru microunde trebuie
12.
alimentelor.
13.
-un recipient.
vasele din cuptor, c
capacul de pe vas.
14.
cons-
temperatura.
15.
-60 de
acesta s-a oprit.
16.
plastic.
17.

78
PANOU DE COMENZI
1. 10 minute
2. 1 minut
3. 10 secunde
4. Afisaj
5.
6. Ceas/Timer
7. Start/Resetare
1. Sistem de blocare a usii
2. Geam
3. Ventilare
4. Inel rotativ
5. Tava
6. Panou de comenzi
7. Grill

79
Greutatea alimentelor congelate nu trebuie
Instructiuni de funtionare
sa depaseasca 2 kg.
1. Incalzire cu un singur buton
4. Grill
Apasati butonul doar o data pentru a porni
Aceasta functie are doua optiuni. Puteti
incalzirea este o modalitate rapida de a
alege intre cele doua apasand pe butonul
incalzi un pahar cu apa etc.
Exemplu: Pentru a incalzi un pahar cu
preparare a mancarii este de 60 de
lapte
minute):
a) Puneti paharul de lapte pe tava de
Optiunea 1: 85% putere grill, afisaj G-1
sticla rotativa si inchideti usa.
Optiunea 2: 50% putere grill, afisaj G-2
b) ApaStart/Reset
Exemplu: Prepararea mancarii folosind
cuptorul cu microunde va functiona la
grill-ul pentru 20 de minute.
100% putere timp de un minut.
a) Apasati "Micr
c) La final veti auzi 5 semnale sonore.
cand pe se afiseaza pe LED "G-1".
b) Setati durata de preparare la "20:00"
2. Incalzire microunde
c) Apasati "Start/Reset"
Aceasta functie are doua optiuni.
Atunci cand utilizati grill-ul, mancarea
a) Incalzire microunde rapida (100%
nu este incalzita de microunde.
putere)
Caldura este raspandita de la
Exemplu: Pentru a incalzi mancarea la
rezistenta de metal din partea
100% putere timp de 5 minute
superioara a cuptorului.
1.
Atunci cand functia grill functioneaza,
2. Start/Reset
durata de preparare este impartita in
b) Functionare manuala incalzire
doua etape. Dupa prima etapa,
microunde
programul se va opri automat si se vor
Exemplu: Pentru a incalzi mancarea la
auzi doua semnale sonore, pentru a va
70% putere timp de 10 minute
avertiza ca trebuie sa deschideti usa
1. Apasati butonul ,
cuptorului si sa intoarceti mancarea.
selectat
Inchideti usa, dupa ce ati intors
2.
mancarea. Apasati butonul
3. Start/Reset
"Start/Reset" si procesul de preparare
a mancarii va continua cu cea de-a
Exista 5 niveluri de putere, iar durata cea mai
doua etapa. Daca nu vreti sa intoarceti
lunga de preparare la microunde este de 90
mancarea, cuptorul va porni singur
minute.
dupa un minut de pauza.
5. Gatire combinata
Cu acest produs aveti mai multe variante de
gatire combinata.
Optiunea 1 : Gatire combinata (50%
LED-ul va afisa "C-1"
Optiunea 2 : Gatire combinata (50% grill +
LED-ul va afisa "C-2".
3. Auto-dezghetare
Exemplu : Gatirea mancarii folosind
Selectati greutatea alimentelor congelate,
optiunea 2 pentru 15 minute.
iar acest lucru va va ajuta sa reglati
a)
automat nivelul de putere si timpul.
cand pe LED apare "C-2"
Exemplu: dezghetare 0.5kg de carne
b) Setati durata de preparare pentru
congelata.
"15:00"
a) Apasati pentru a
c) Apasati "Start/Reset"
selecta "DEF".
Optiune 3: Gatire combinata (50%
b) Introduceti greutatea apasand butonul
microunde + 50% grill)
"1min" (1kg) si butonul "10 sec"
LED-ul va afisa "C-3"
(0.1kg).
Pentru grill rapid etc.
c) Apasati " Start/Reset ".
Nr.
Atingeri
"Micro"
Putere
microunde
Afisaj
1
100%
P100
2
70%
P70
3
50%
P50
4
30%
P30
5
10%
P10

80
Exemplu: Prepararea mancarii folosind
optiunea 2 pentru 15 minute.
a)
cand pe LED apare "C-2"
b) Setati timpul de gatire pentru "15:00"
c) Apasati "Start/Reset"
6. Gatire cu convectie
Acest cuptor poate fi utilizat ca un cuptor cu
convectie, si poate fi programat pentru a
ajunge la temperatura dorita pentru
preincalzire. Temperatura este setata din
diferita.
Examplu:
a)
pentru a alege temperatura de
convectie pana cand pe afisaj clipeste
b)
Atunci cand pre-incalzirea este gata,
aparatul se va opri. Doua semnale sonore
va vor aminti sa puneti mancarea in cuptor.
Setati durata dorita de preparare, precum si
temperatura. Continuati gatitul. Cea mai
lunga durata de pre-incalzire este de 30 de
minute.
Exemplu: Gatire cu convectie, preincalzire
etare duratei de gatit la 20
minute.
a)
pentru a aleger gatirea cu convectie,
b) Setati durata de gatit la 20 minute
c)
7. Auto-Meniu
Trebuie doar sa selectati tipul si greutatea
alimentelor, si va va ajuta sa reglati automat
puterea si durata.
Exemplu: Auto preparare 0.4 kg peste
a)
pana cand se afiseaza "A-5".
b) Introduceti greutatea apasand pe
butonul "1 min" (1 kg) si pe butonul
"10 sec" (0.1 kg).
c) Apasati "Start/Reset".
Numar
atingeri
"1min"
Menu, Weight (kg)
A-1
Reincalzire
A-2
Cartofi
A-3
Pizza
1
0,1
0,2
0,1
2
0,15
0,3
0,2
3
0,2
0,4
0,25
4
0,25
0,5
0,30
5
0,3
0,6
0,35
6
0,35
0,7
0,40
7
0,4
0,9
0,45
8
0,45
1,1
0,50
9
0,5
1,3
0,55
10
0,6
1,5
0,60
Numar
atingeri
"1min"
Menu, Weight (kg)
A-4
Carne
A-5
Peste
A-6
Pui
1
0,1
0,2
0,2
2
0,2
0,3
0,4
3
0,3
0,4
0,6
4
0,4
0,5
0,8
5
0,5
0,6
1,0
6
0,6
0,8
7
0,8
1,0
8
1,0
8. Ceas
Cuptorul are un ceas digital cu formatul 24
de ore, Pentru a seta timpul de exemplu la
4:30pm:
a) Apasati butonul "Clock/Timer". Afisajul
incepe sa clipeasca, reglati ora cu
butoanele "1 Min" si "10 Sec".
b) Apasati "Clock/Timer" din nou, reglati
minutele cu butoanele "1Min" si "10
Sec".
c) Apasati "Clock/Timer" din nou si
ceasul va fi setat.
d) Daca schimbati ora, repetati procedura
de mai sus.
9. Timer
Aceasta va permite sa setati cuptorul cu
microunde sa porneasca si sa se opreasca
la un timp dinainte stabilit.
Ceasul trebuie setat inainte de a folosi
aceasta functie.
Exemplu: ora curenta este 16:30, iar dvs.
doriti sa inceapa gatitul la ora 18:15 cu 70%
putere, pentru 10 minute:
a) Apasati "Clock/Timer", setati timpul la
"18:15" apasand pe butoanele "1Min"
si "10 Sec" , (ca atunci cand setati ora)
b)
selecta 70% putere.
c) Setati durata de gatit la 10.
d) Apasati "Start/Reset"
Daca nu setati puterea si durata de
gatire si apasati direct butonul start,






