Gorenje GMO-20 DW – page 4
Manual for Gorenje GMO-20 DW
Table of contents
61
MANUAL DE UTILIZARE RO
Înainte de a utiliza cuptorul, vă rugăm să citiţi aceste instrucţiuni cu atenţie.
CARACTERISTICI
Consum ..................................................................................... 230V~50Hz, 1280W
Capacitate ........................................................................................................ 800W
Frecvenţă de operare ................................................................................. 2450MHz
Dimensiuni exterioare .................................... 470mm(L) x 397mm(W) x 282mm(H)
Dimensiuni cavitate cuptor ............................. 315mm(L) x 330mm(W) x 195mm(H)
Capacitate cuptor ............................................................................................ 20 litri
Greutate ........................................................................................... Approx. 11,5 kg
Nivel de zgomot ................................................................................. Lc < 58 dB (A)
Acest aparat este marcat corespunzător directivei europene 2002/9/CE în privinŝa aparatelor
electrice şi electronice vechi (waste electrical and electronic equipment - WEEE).
Directiva prescrie cadrul pentru o preluare înapoi, valabilă în întreaga UE, şi valorificarea
aparatelor vechi.
ÎNAINTE DE A SUNA LA SERVICE
1.
Dacă cuptorul nu funcţionează, dacă afişajul nu se aprinde sau dacă se stinge:
a)
Verificaţi dacă cuptorul este în priză. Dacă ştecherul nu este bine fixat, scoateţi-l din priză , aşteptaţi
10 secunde şi puneţi-l la loc.
b)
Verificaţi dacă siguranţele sunt bune sau dacă nu este un scurt circuit. Dacă totul este în regulă,
verificaţi priza cu un alt aparat.
2.
Dacă nu porneşte:
a)
Verificaţi dacă timer-ul este setat.
b)
Verificaţi dacă uşa este bine închisă. Dacă aceasta nu este închisă, cuptorul nu va porni.
DACĂ CUPTORUL TOT NU FUNCŢIONEAZĂ NICI DUPĂ CE AŢI VERIFICAT SITUAŢIILE DE MAI SUS,
CHEMAŢI
CEA MAI APROPIATĂ UNITATE DE SERVICE.
INTERFERENŜE RADIO
Cuptoarele cu microunde pot avea interferenţe cu radio-ul, televizorul sau alte echipamente similare.
Interferenţele pot fi eliminitate sau reduse, dacă urmaţi următoarele proceduri:
a)
Curăţaţi uşa sau garnitura;
b)
Puneţi aparatul de radio sau TV cât mai departe de cuptorul cu microunde;
c)
Folosiţi o antenă corect instalată pentru radio, televizor etc., pentru a obţine un semnal cât mai bun.
INSTALARE
1.
Scoateţi toate materialele de ambalare din interiorul aparatului.
2.
Verificaţi cuptorul după despachetare, pentru a vedea dacă:
-
uşa este bine aliniată,
-
uşa nu este deteriorată,
-
nu sunt crestături sau găuri pe geamul de la uşă şi pe ecran,
-
nu sunt crestături în interiorul aparatului,
-
în cazul unor defecţiuni ca cele de mai sus NU folosiţi cuptorul.
62
3.
Acest cuptor are o greutate de 15.5 kg şi trebuie plasat pe o suprafaţă orizontală, suficient de puternică
pentru a-i suporta greutatea.
4.
Aparatul nu trebuie pus într-un loc unde sunt temperaturi ridicate şi aburi.
5.
NU PUNEŢI nimic pe cuptor.
6.
Distanţa dintre zidurile laterale şi cuptor trebuie să fie de cel puţin 8 cm, iar distanţa dintre zidul din spate
şi cuptor trebuie să fie de cel puţin 10 cm pentru o ventilare corectă.
7.
NU SCOATEŢI axul de rotire al platoului.
8.
Nu lăsaţi copiii nesupravegheaţi atunci când utilizează aparatul.
ATENŜIE
– ACEST APARAT TREBUIE ÎMPĂMÂNTAT
Cablul de alimentare trebuie să ajungă cu uşurinţă la priză.
Pentru acest cuptor este nevoie de o putere de alimentare de 1.3 KVA, de aceea este recomandat să
consultaţi un tehnician atunci când instalaţi aparatul.
ATENŜIE:
Cuptorul
este protejat de o siguranţă internă de 250V 10 Amp.
IMPORTANT
– Cablurile sunt colorate conform următorului cod:
Verde şi galben
Pământ
Albastru
Neutru
Maro
Activ
Deoarece culorile cablurilor pot să nu corespundă cu marcajele de pe priza dvs., trebuie procedat în felul
următor:
Cablul verde şi galben trebuie conectat la terminalul marcat cu litera
E
sau cu simbolul de pământ colorat
în verde.
Cablul albastru trebuie conectat la terminalul marcat cu litera
N
sau colorat în negru. Cablul maro trebuie
conectat la terminalul marcat cu litera
L
sau colorat în roşu.
INSTRUCŜIUNI IMPORTANTE
ATENŢIE – pentru a reduce riscul de arderi, şocuri electrice, incendiu, accidente sau energie excesivă a
microundelor:
1.
Citiţi cu atenţie aceste instrcţiuni, înainte de a utiliza cuptorul
2.
Unele produse cum ar fi ouăle întregi şi recipientele sigilate (cum ar fi, de exemplu, borcanele închise de
sticlă şi biberoanele) pot exploda, de aceea nu este recomandat să le încălziţi în cuptorul cu microunde.
Pentru detalii, consu
ltaţi o carte de bucate.
3.
Cuptorul trebuie utilizat doar pentru scopurile menţionate în instrucţiuni.
4.
Nu lăsaţi copiii nesupravegheaţi atunci când utilizează aparatul.
5.
Nu utilizaţi cuptorul dacă nu funcţionează corect, dacă a căzut pe jos sau dacă este deteriorat.
6.
Pentru a reduce riscul de incendii în cavitatea cuptorului respectaţi următoarele instrucţiuni:
a)
Nu gătiţi prea mult mâncarea. Supravegheaţi funcţionarea aparatului dacă aţi introdus în interior
hârtie, plastic sau alte materiale care ajută la prepararea mâncării, dar pot fi inflamabile.
b)
Înainte de a pune pungile în cuptor îndepărtaţi legăturile de sârmă.
c)
Dacă materialele din interior iau foc, lăsaţi uşa închisă, scoateţi aparatul din priză sau opriţi
alimentarea cu curent de la
siguranţă.
INSTRUCŜIUNI GENERALE PENTRU SIGURANŜA DVS.
Mai jos sunt câteva instrucţiuni şi precauţii de care trebuie să ţineţi seama atât pentru siguranţa dvs., cât şi
pentru a asigura o funcţionare cât mai bună a aparatului:
1.
Atunci când folosiţi cuptorul, asiguraţi-vă că tava de sticlă şi suportul pe care stă aceasta sunt la locul lor.
2.
Cuptorul nu trebuie folosit în alt scop decât acela de a prepara mâncarea. Nu folosiţi cuptorul pentru a
usca rufe, hârtie sau alte produse care nu sunt alimentare, sau pentru a steriliza anumite lucruri.
3.
Cuptorul nu trebuie pornit dacă este gol, deoarece se poate strica.
4.
Nu folosiţi cavitatea cuptorului ca spaţiu de depozitare pentru hârtie, cărţi de bucate etc.
5.
Nu folosiţi cuptorul pentru pregătirea conservelor, deoarece cuptoarele cu microunde nu sunt echipate în
acest sens, iar alimentele care nu sunt bine conservate pot dăuna sănătăţii.
6.
Ouăle cu coajă pot exploda, de aceea nu este bine să le preparaţi în cuptor. Chiar şi ouăle curăţate pot
exploda
uneori în timpul preparării, de aceea este bine să folosiţi un capac când gătiţi ouă. După ce
terminaţi, mai lăsaţi capacul pe vas timp de aproximativ un minut.
7.
Nu gătiţi alimente în membrană cum ar fi gălbenuşul de la ou, cartofii, ficatul de pui, înainte de a le fi
înţepat de câteva ori cu o furculiţă.
8.
Nu puneţi nimic în fantele de aerisire de pe corpul aparatului.
63
9.
Nu îndepărtaţi piese din cuptor cum ar fi picioruşele, şuruburile şi altele asemănătoare.
10.
Nu puneţi alimentele direct pe farfuria de sticlă. Alimentele trebuie să stea în/pe vase speciale pentru
gătit.
IMPORTANT
– CE VASE NU TREBUIE FOLOSITE ÎN CUPTORUL CU MICROUNDE:
-
Nu folosiţi tigăi de metal sau vase cu mânere de metal.
-
Nu folosiţi vase ce au margini de metal.
-
Nu folosiţi pungi de plastic legate cu sârmă.
-
Nu folosiţi vase din melamină, deoarece conţin un material care absoarbe energia microundelor.
Vasele pot crăpa, iar procesul de preparare va fi încetinit.
-
Nu folosiţi pentru gătit sticle cu gât îngust, deoarece pot exploda.
-
Nu folosiţi termometre obişnuite pentru carne sau prăjituri. Pe piaţă există termometre speciale pentru
cuptoarele cu microunde.
11.
Instrumentele pentru microunde trebuie folosite în concordanţă cu instrucţiunile producătorului.
12. Cuptorul nu t
rebuie folosit pentru prăjirea alimentelor.
13.
Nu uitaţi că cuptorul cu microunde încălzeşte numai lichidul dintr-un recipient. De aceea nu uitaţi că
atunci când scoateţi vasele din cuptor, chiar dacă nu sunt calde, mâncarea sau lichidele din interior sunt
fierbinţi şi vor emite aburi atunci când luaţi capacul de pe vas.
14.
Testaţi dvs. temperatura alimentelor şi a lichidelor, mai ales dacă gătiţi pentru bebeluşi. Este
recomandabil să nu consumaţi alimentele imediat ce le-aţi scos din cuptor, ci să le lăsaţi câteva minute şi
să le amestecaţi pentru a distribui în mod egal temperatura.
15.
Mâncarea care conţine un amestec de apă cu grăsime trebuie să stea cam 30-60 de secunde în cuptor
după ce acesta s-a oprit. Astfel, amestecul nu va bolborosi dacă puneţi o lingură în el.
16.
Nu trebuie să uitaţi că anumite alimente cum ar fi budincile, gemul, carnea tocată etc., se încălzesc
foarte repede. Dacă preparaţi mâncăruri cu conţinut mare de grăsime sau zahăr nu folosiţi recipiente din
plastic.
17.
Vasele se pot încinge, mai ales dacă au fost acoperite cu o folie din plastic. Nu uitaţi să folosiţi mănuşile
pentru protecţie.
64
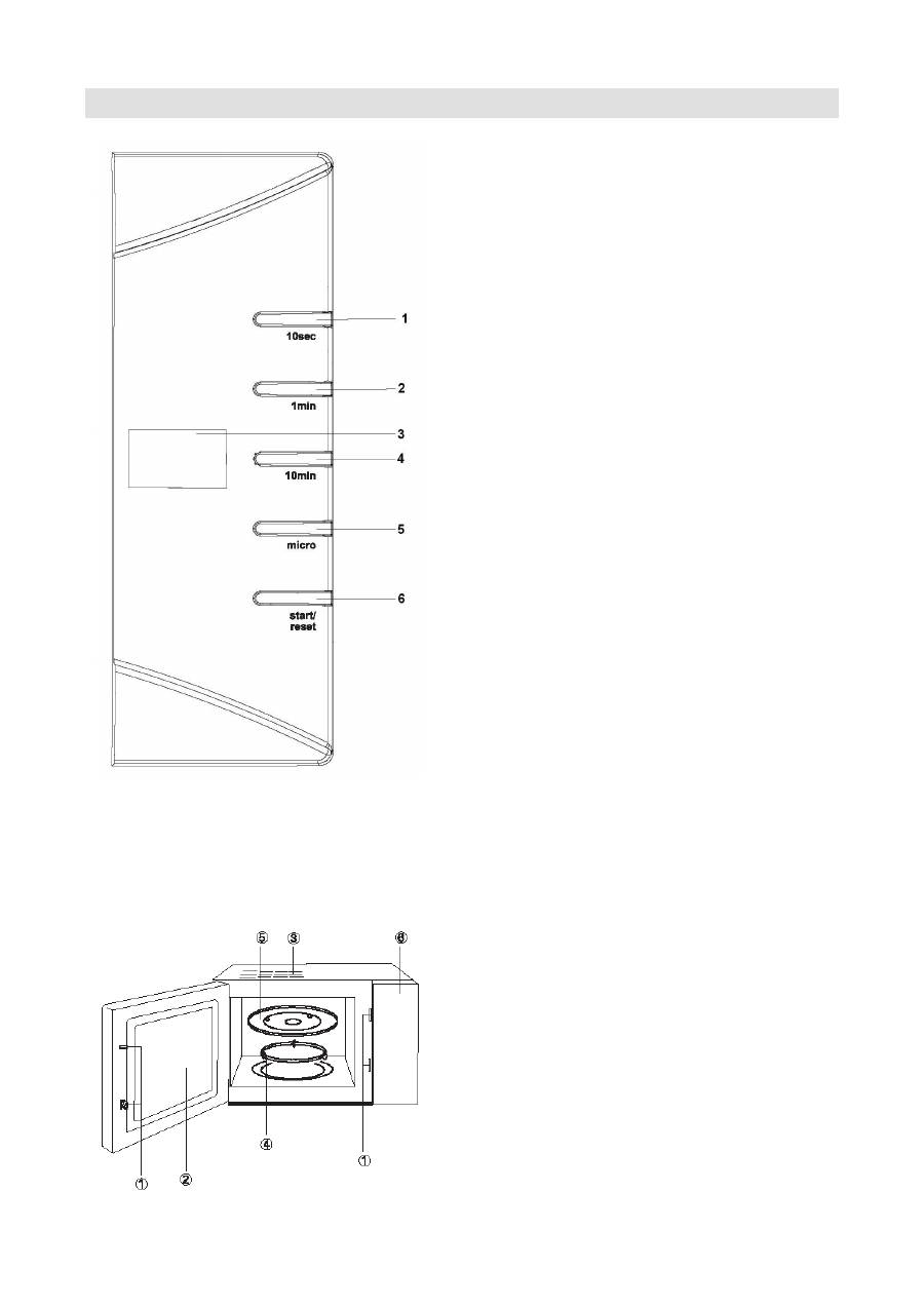
PANOU DE COMENZI
1
- Sistem de blocare a usii
2
- Geam
3
- Ventilare
4
- Inel rotativ
5
- Tava
6
- Panou de comenzi
1 -
buton selectare timp 10 Sec
2 -
buton selectare timp 1 Min
3 -
afisaj
4 -
buton selectare timp 10 Min
5 -
buton selectare functie
MICRO
6 -
buton
START/RESET
65
Instructiuni de funtionare
1. Incalzire cu un singur buton
Apasati butonul doar o data pentru a porni incalzirea
– este o modalitate rapida de a incalzi un pahar cu
apa etc.
Exemplu: Pentru a incalzi un pahar cu lapte
a) Puneti paharul de lapte pe tava de sticla rotativa si inchideti usa.
b)
Apasati butonul »START/RESET«, cuptorul cu microunde va functiona la 100% putere timp de un
minut.
c) La final veti auzi 5 semnale sonore.
2. Incalzire microunde
Aceasta functie are doua optiuni.
a) Incalzire microunde rapida (100% putere)
Exemplu: Pentru a incalzi mancarea la 100% putere timp de 5 minute
1.
Setati timpul la »5:00«
2.
Apasati »START/RESET«
b) Functionare manuala incalzire microunde
Exemplu: Pentru a incalzi mancarea la 70% putere timp de 10 minute
1.
Apasati butonul »MICRO«, selectati »70%« putere;
2. Set
ati timpul la »10:00«
3.
Apasati »START/RESET«
Exista 5 niveluri de putere, iar durata cea mai lunga de preparare la microunde este de 59 minute.
Nr. atingeri
Putere microunde
Afisaj
1
100%
P10
2
70%
P7
3
50%
P5
4
30%
P3
5
10%
P1
3. Auto-dezghetare
Selectati greutatea alimentelor congelate, iar acest lucru va va ajuta sa reglati automat nivelul de putere
si timpul.
Exemplu: dezghetare 0.5kg de carne congelata.
a) Apasati "MICRO" pentru a selecta "DEF".
b) Introduceti greutatea apasand butonul "1min" (1kg) si butonul "10 sec" (0.1kg).
c) Apasati " START/RESET ".
Greutatea alimentelor congelate nu trebuie sa depaseasca 2 kg.
4. START/RESET
a) Daca apasati butonul "START/RESET" pe durata functionarii, aceasta se va opri.
b) Daca se alege un program inainte de a apasa start, apasarea pe acest buton va anula programul
setat.
5. Sistem de blocare pentru copii
Pentru a activa acest sistem, apasati butoanele "1 Min" si "10 Sec" in acelasi timp, 2 secunde. Pentru a
debloca aparatul, faceti la fel.
66
CURĂŜARE ŞI ÎNTREŜINERE
1.
Opriţi cuptorul şi scoateţi-l din priză înainte de a-l curăţa.
2.
Interiorul cuptorului trebuie să fie tot timpul curat. Dacă pe pereţi se depun resturi de mâncare sau
lichide, ştergeţi-le cu o cârpă umedă. Puteţi folosi şi un detergent neutru, dacă cuptorul este foarte
murdar. Nu vă recomandăm utilizarea unor detergenţi puternici sau abrazivi.
3.
Exteriorul trebuie curăţat cu o cârpă umedă. Pentru a nu deteriora părţile din interior, nu lăsaţi apa să se
scurgă în fantele de ventilare.
4.
Panoul de comenzi nu trebuie să se ude. Curăţaţi-l cu o cârpă moale puţin umezită. Nu folosiţi detergent,
substanţe abrazive sau spayuri pentru panoul de comenzi.
5.
Dacă se adună abur în interior, sau în jurul uşii, stergeţi cu o cârpă moale. Acest lucru se poate întâmpla
dacă cuptorul funcţionează într-un mediu umed, şi nu reprezintă un semn de defectare a aparatului.
6.
Din când în când trebuie să curăţaţi tava de sticlă. Spălaţi-o cu apă caldă cu detergent neutru sau în
maşina de spălat vasele.
7.
Inelul şi cavitatea interioară trebuie curăţate în mod regulat pentru a evita zgomotul excesiv. Partea de
jos se şterge cu detergent neutru, apă sau soluţie de curăţat geamurile, după care se şterge. Inelul poate
fi spălat cu apă călduţă cu detergent neutru sau în maşina de spălat. Vaporii care se acumulează în
timpul gătitului nu influenţează suprafaţa de jos sau roţile de la inel. Dacă scoateţi inelul, aveţi grijă să îl
puneţi la loc exact în aceeaşi poziţie.
8.
Mirosul neplăcut din cuptor poate fi îndepărtat amestecând într-un vas o cană de apă cu suc şi coajă de
lămâie. Lăsaţi vasul să se încălzească în cuptor timp de 5 minute, apoi ştergeţi cu o cârpă moale şi
curată.
9.
Dacă trebuie să înlocuiţi becul din cuptor, chemaţi un tehnicina autorizat.
Mediul înconjurător
Nu aruncaţi aparatul împreună cu deşeurile casnice atunci când nu mai este utilizabil, ci înmânaţi-l la un
punct oficial de colectare pentru reciclare. Astfel ajutaţi la conservarea mediului.
Garanŝie & service
Dacă aveţi nevoie de informaţii sau aveţi o problemă, contactaţi Centrul Relaţii Clienţi Gorenje din ţara
dumneavoastră (veţi găsi numărul de telefon în broşura de garanţie tradusă în mai multe limbi). Dacă nu
există niciun Centru de Relaţii Clienţi în ţara dumneavoastră, mergeţi la dealer-ul local Gorenje sau
contactaţi Departamentul de Service al Aparatelor Domestice Gorenje
Numai pentru uz personal!
VA DORESTE SA FOLOSITI CU PLACERE ACEST APARAT Mai multe informatii privind gatitul la microunde, grill si sfaturi utile puteti gasi pe : : http://microwave.gorenje.com
67
NÁVOD NA OBSLUHU SK
Návod na obsluhu si pozorne prečítajte a odložte pre prípad budúceho použitia.
TECHNICKÉ ÚDAJE
Spotreba energie: .................................................................... 230V~50Hz, 1280W
Výkon: ............................................................................................................. 800W
Pracovná frekvencia: ................................................................................ 2450MHz
Vonkajšie rozmery: ....................................... 470mm(Š) X 397mm(H) X 282mm(V)
Vnútorné rozmery rúry: ................................. 315mm(Š) X 330mm(H) X 195mm(V)
Obsah rúry: .................................................................................................. 20 litrov
Hmotnosť: ...................................................................................... Pribliţne 11,5 kg
Deklarovaná hodnota emisie hluku je: ................................................. < 58 dB (A)
Toto zariadenie je oznaţené podľa Európskej smernice 2002/96/EC o Doslúņilých elektrických
a
elektronických zariadení (WEEE).
Táto smernica urţuje v rámci Európskej únie pokyny pre vrátenie a recykláciu starých elektrických
a
elektronických zariadení.
SK ÔR AKO SA OBRÁTITE NA SERVIS
1.
Ak rúra nefunguje, displej nezobrazuje alebo zobrazenie zmizne:
a)
Skontrolujte, ĉi je rúra správne pripojená. Ak nie, odpojte zástrĉku zo zásuvky, poĉkajte 10 sekúnd
a
opäť ju správne pripojte.
b)
Skontrolujte poistky pre daný obvod a hlavný istiĉ. Ak sa javia byť v poriadku, skúste skontrolovať
zásuvku pripojenìm iného zariadenia.
2.
Ak mikrovlnná energia nepracuje:
a)
Skontrolujte, ĉi sú nastavené hodiny.
b)
Skontrolujte, ĉi sú dvere správne zatvorené. Inak mikrovlnná energia nebude prúdiť do rúry.
AK SA PO
DĽA VYŠSIE UVEDENÝCH POKYNOV NEPODARÍ ODSTRÁNIŤ PROBLÉM, OBRÁŤTE
SA NA NAJBLIŢŠÍ SERVIS.
R UŃENIE
Mikrovlnná rúra môţe spôsobiť rušenie vášho rádia, TV alebo podobného zariadenia. Ak nastane toto
rušenie môţete ho odstrániť alebo znìţiť nasledovnými opatreniami.
a)
Vyĉistite dvere a tesnenie rúry.
b)
Rádio, TV, atć. umiestnite ĉo najćalej od mikrovlnnej rúry.
c)
Na dosiahnutie silného signálu pouţite správne nainštalovanú anténu pre vaše rádio, TV, atć.
IN ŃTALÁCIA
1.
Skontrolujte, ĉi ste odstránili všetky obalové materiály z vnútra dverì.
2.
Po vybalenì rúry skontrolujte, ĉi nie je poškodená:
- Ned
osadanie dverì
-
Poškodenie dverì
- Vydutia alebo diery v
okne dverì alebo obrazovke
-
Vydutia vo vnútri rúry
Ak nájdete jedno z vyššie uvedených poškodenì,
NEPOUŅÍVAJTE
rúru.
Toto zariadenie pre domáce pouņitie na ohrievanie jedla a nápojov pouņíva elektromagnetickú
energiu, len pre domáce pouņitie.
68
3.
Mikrovlnná rúra váţi 15.5 kg a musì byť umiestnená na silnom vodorovnom povrchu, ktorý unesie túto
hmotnosť.
4.
Rúru neumiestňujte na miestach s vysokou teplotou a parou.
5.
Na rúru
NEUMIESTŅUJTE
ţiadne predmety.
6.
Pre dostatoĉnú ventiláciu nechajte po stranách rúry minimálne 8 cm voľný priestor a vzadu 10 cm.
7.
N
EODSTRAŅUJTE
hnacì hriadeľ otoĉného taniera.
8.
Tak ako pri kaţdom zariadenì je pri pouţìvanì deťmi potrebný dozor.
VAROVANIE
-T
OTO ZARIADENIE MUSÍ BYŤ UZEMNENÉ.
9.
Zásuvka by mala byť v malej vzdialenosti.
10.
Táto rúra poţaduje 1.3 KVA pre jej vstup, pri inštalácii je odporúĉané konzultácia s kvalifikovaným
pracovnìkom.
UPOZORNENIE:
Táto rúra je chránená vnútornou 250V,10 Amp poistkou.
DÔLEŅITÉ
Vodiĉe v sieťovej šnúre sú sfarbené nasledovne:
Zelený a ņltý:
Zem
Modrý:
Neutr
álny
Hnedý:
Fáza
Pretoţe farby vodiĉov sieťovej šnúry zariadenia nemusia súhlasiť s farebným oznaĉenìm vašej zásuvky,
pokraĉujte nasledovne:
-
Zelený a ţltý vodiĉ musì byť pripojený ku konektoru oznaĉeným pìsmenom
E
alebo symbolom
uzemnenia, zelená alebo zeleno-ţltá farba.
-
Modrý vodiĉ musì byť pripojený ku konektoru oznaĉeným pìsmenom
N
alebo ĉiernou farbou.
-
Hnedý vodiĉ musì byť pripojený ku konektoru oznaĉeným pìsmenom
L
alebo ĉervenou farbou.
DÔLEŅITÉ BEZPEŢNOSTNÉ POKYNY
VAROVANIE:
Pri pouţìvanì zariadenia v kombinovanom reţime, by mali deti pouţìvať rúru len pod
dohľadom dospelých kvôli generovaným teplotám; (Len pre modely s funkciou grilovania)
VAROVANIE:
Ak sú dvere alebo tesnenie dverì poškodené, rúru nesmiete pouţìvať, pokiaľ nebude
opravená kompetentnou osobou;
VAROVANIE:
Pre kaţdého, okrem kompetentnej osoby, je nebezpeĉné vykonávať opravy a údrţbu, ktorá
zahŕňa demontáţ krytu, ktorý chráni pred mikrovlnnou energiou.;
VAROVANIE:
Tekutiny a
iné potraviny nesmú byť ohrievané v uzatvorených nádobách, pretoţe môţu
explodov
ať.
WARNING:
Deti môţu pouţìvať rúru bez dozoru len keć boli oboznámené so všetkými pokynmi
a
pochopili moţné riziká pri nesprávnom pouţitì;
Rúra musì mať dostatoĉnú ventiláciu. Dodrţte 10 cm voľný priestor v zadu; 15 cm po stranách a 30cm
z hora. Neodstra
ňujte noţiĉky rúry a neblokujte ventilaĉné otvory.
Pouţìvajte len kuchynský riad urĉený na pouţitie v mikrovlnnej rúre.
Keć ohrievate potraviny v plastových alebo papierových obaloch, dávajte pozor, aby sa nevznietili;
Ak spozorujete dym, vypnite alebo odpojte zariadenie a
dvere nechajte zatvorené na uhasenie ohňa;
Mikrovlnné ohrievanie môţe mať za následok oneskorené prevretie, preto bućte pri narábanì s nádobou
opatrný;
Obsah fľaše pre kojencov a detské poháre premiešajte alebo pretrepte a pred podávanìm deťom
skontrolujte teplotu na zabránenie popálenia;
Vajcia v
škrupine a celé vajcia na tvrdo neohrievajte v mikrovlnnej rúre, pretoţe môţu explodovať, dokonca
aj po skonĉenì ohrievania;
Na ĉistenie povrchov dverì, tesnenia dverì, interiéru rúry pouţite len jemné nebrúsne mydlá, alebo ĉistiace
prostriedky aplikované špongiou alebo jemnou tkaninou.
Rúra by mala byť ĉistená pravidelne a mali by byť odstránené všetky zvyšky pokrmov;
Neudrţiavanie rúry v ĉistých podmienkach môţe viesť k poškodeniu povrchu, ktorý môţe nepriaznivo
ovplyvniť ţivotnosť zariadenia a môţe byť výsledkom nebezpeĉnej situácie;
Ak je sieťová šnúra poškodená, musì byť vymenená výrobcom, servisom alebo podobne oprávnenou
osobou na zabránenie rizika.
69
BEZPEŢNOSTNÉ POKYNY PRE VŃEOBECNÉ POUŅITIE
Niţšie sú uvedené, tak ako pri všetkých spotrebiĉoch, urĉité zásady na ovládanie a bezpeĉnosť na zaistenie
špiĉkového výkonu tejto rúry:
1.
Pri pouţìvanì rúry vţdy majte na svojom mieste všetky potrebné súĉasti (otoĉný sklený tanier, valĉekový
prstenec a spojky).
2.
Rúru pouţìvajte len na prìpravu pokrmov, nepouţìvajte na sušenie obleĉenia, papiera alebo iných
nepotravinových predmetov a na sterilizovanie.
3.
Rúru nepouţìvajte, keć je prázdna. Toto ju môţe poškodiť.
4.
Rúru nepouţìvajte ako odkladacì priestor, naprìklad papiera, knìh, atć.
5.
Nevarte ţiadny pokrm s blanou, ako je ţĺtok, zemiaky, kurĉa, atć, bez niekoľkonásobného prepichnutia
vidliĉkou.
6. Do
vonkajšìch otvorov nevkladajte ţiadne predmety.
7.
Neodstraňujte ţiadne ĉasti rúry ako sú noţiĉky, skrutky, atć.
8.
Pokrm nevarte priamo na otoĉnom tanieri. Pokrm umiestnite do/na správny kuchynský riad.
DÔLEŅITÉ
-
V MIKROVLNNEJ RÚRE NEPOUŢÍVAJTE
-
Nepouţìvajte kovové panvice alebo riad s kovovými rúĉkami.
-
Nepouţìvajte riad s kovovými ozdobami.
-
Nepouţìvajte plastové vrecká uzatvorené drôtom.
-
Nepouţìvajte melamìnový riad ak obsahuje materiál, ktorý pohlcuje mikrovlnnú energiu. To môţe
spôsobiť prasknutie riadu alebo opálenie a spomaľuje rýchlosť varenia.
-
Nepouţìvajte staroţitný riad. Glazúra nie je vhodná pre mikrovlnné pouţitie. Šálky typu „Corelle
Livingware
“ by nemali byť pouţité.
-
Nepouţìvajte na varenie nádoby s obmedzeným otvorom, pretoţe môţu explodovať.
-
Nepouţìvajte beţné mäsové a pekárske teplomery.
-
Existujú teplomery výslovne na mikrovlnné varenie. Tieto môţu byť pouţité.
9. M
ikrovlnný riad by mal byť pouţìvaný len s pokynmi výrobcu.
10.
Nepokúšajte sa smaţiť pokrmy v rúre.
11.
Zapamätajte si, ţe mikrovlnná rúra ohrieva len tekutinu v nádobe. Preto kryt nádoby nie je po vybratì
z
rúry horúci. Zapamätajte si, ţe pokrm/tekutina vnútri uvoľnì rovnaké mnoţstvo pary po otvorenì krytu
ako pri beţnom varenì.
12.
Vţdy skontrolujte teplotu vareného pokrmu, obzvlášť ak ohrievate alebo varìte pokrm/tekutinu pre deti.
Je vhodné nikdy nekonzumovať pokrm ihneć po vybratì z rúry, ale ho nechať niekoľko minút odstáť
a
premiešať, aby sa rovnomerne rozloţilo teplo.
13. Pokrm obsahuje zmes tuku a
vody, napr. vývar by ste mali nechať odstáť 30-60 sekúnd v rúre po
dokonĉenì. To umoţnì zmesi vyrovnať teplotu a zamedziť bublaniu keć ponorìte lyţicu do
pokrmu/tekutiny alebo pridáte bujón.
14.
Keć pripravujete/varìte pokrm/tekutinu a pamätáte, ţe sú urĉité pokrmy, naprìklad puding, dţem a mleté
mäso, ktoré sa zohrejú veľmi rýchlo. Keć ohrievate alebo varìte pokrmy s vysokým obsahom tuku alebo
cukru, nepouţìvajte plastové nádoby.
15.
Kuchynský riad sa môţe zohriať z dôvodu prenosu tepla z ohrievaného pokrmu. Zvlášť pri riade
s
plastovými povrchmi. Preto na vybratie nádoby môţu byť potrebné kuchynské rukavice.
16.
Znìţenie rizika vzniku ohňa v rúre:
a)
Pokrm neprevárajte. Ak sú v rúre umiestnené papierové, plastové alebo iné horľavé materiály
potrebné pri varenì, neustále kontrolujte mikrovlnnú rúru.
b)
Pred vloţenìm vreciek do mikrovlnnej rúry z nich odstráňte uzatváracie drôty.
c)
Ak by sa materiály vnútri rúry mali zapáliť, nechajte dvere rúry zatvorené, odpojte rúru z elektrickej
zásuvky, vypnite stenový istiĉ alebo vypnite hlavný istiĉ v poistkovej skrini.
70
POPIS ZARIADENIA OVLÁDACÍ PANEL
1
-
Bezpeĉnostný uzatváracì systém dverì
2
-
Okno rúry
3
-
Vetracie otvory rúry
4
-
Valĉekový prstenec
5
-
Otoĉný tanier
6
-
Ovládacì panel
1 -
tlaĉidlo výberu ĉasu 10 Sec
2 -
tlaĉidlo výberu ĉasu 1 Min
3 -
displej
4 -
tlaĉidlo výberu ĉasu 10 Min
5 -
tlaĉidlo výberu funkcie MICRO
6 -
tlaĉidlo
START/RESET
71
Pokyny k obsluhe
1.
Tlaţidlo jednoduchého ohrievania
Iba jedným stlaĉenìm tlaĉidla môţete spustiť jednoduché ohrievanie. Je to veľmi výhodné na rýchle
zohriatie pohára vody atć.
Prìklad: Zohriatie pohára mlieka
a)
Pohár mlieka poloţte na otoĉný tanier a zatvorte dvere.
b)
Stlaĉte tlaĉidlo »START/RESET«. Mikrovlnná rúra bude pracovať 1 minútu na 100% výkon.
c)
Keć je zohrievanie ukonĉené, zaznie 5 pìpnutì.
2. M
ikrovlnný ohrev
Táto funkcia má dva varianty.
a)
Rýchle mikrovlnné ohrievanie (100% výkon)
Prìklad: Ohrievanie pokrmu 5 minút na 100% výkon
1.
Ĉas nastavte na »5:00«
2.
Stlaĉte »START/RESET«
b) M
anuálne nastavenie mikrovlnného ohrievania
Prìklad: Ohrievanie pokrmu 10 minút na 70% výkon
1.
Stlaĉte tlaĉidlo »MICRO« a zvoľte »70%« výkon;
2.
Ĉas nastavte na »10:00«
3.
Stlaĉte »START/RESET«
Obsahuje
5 výkonových úrovní a najdlhńí mikrovlnný ţas varenia je 59 minút.
Počet stlačení
Mikrovlnný výkon
Zobrazenie
1
100%
P10
2
70%
P7
3
50%
P5
4
30%
P3
5
10%
P1
3.
Automatické rozmrazovanie podľa hmotnosti
Vyberte hmotnosť zmrazeného pokrmu, ĉo vám automaticky pomôţe nastaviť výkon a ĉas.
Prìklad: rozmrazenie 0.5kg zmrazeného mäsa.
a)
Stlaĉenìm "MICRO" zvoľte "DEF".
b)
Vstupnú hmotnosť nastavìte stlaĉenìm tlaĉidla "1min" (1kg) a tlaĉidla "10 sec" (0.1kg).
c)
Stlaĉte " START/RESET ".
Hmotnosş zmrazeného pokrmu musí byş menej ako 2 kg.
4. Start/Reset
a)
Poĉas ĉinnosti rúry stlaĉenìm tlaĉidla "START/RESET" zastavìte ĉinnosť rúry.
b)
Ak bol nastavený program, stlaĉenìm tohto tlaĉidla ho zrušìte.
5.
Detská bezpeţnostná zámka
Detskú bezpeĉnostnú zámku aktivujete súĉasným stlaĉenìm tlaĉidla "1 Min" a "10 Sec" na 2 sekundy.
Opätovným súĉasným stlaĉenìm "1 Min" a "10 Sec" na 2 sekundy deaktivujete detskú bezpeĉnostnú
zámku.
72
STAROSTLIVOSŞ O VAŃU MIKROVLNNÚ RÚRU
1.
Pred ĉistenìm vypnite rúru a odpojte sieťovú zástrĉku z elektrickej zásuvky.
2.
Interiér rúry udrţiavajte ĉistý. Keć sa kúsky pokrmu a tekutìn dostanú na steny rúry, utrite ich navlhĉenou
tkaninou. Neodporúĉame pouţìvať nešetrné saponáty alebo brúsne ĉistiĉe.
3.
Exteriér rúry by ste mali ĉistiť navlhĉenou tkaninou. Na zabránenie operaĉných ĉastì vnútri rúry by sa
nemala dostať voda do ventilaĉných otvorov.
4.
Nedovoľte, aby namokol ovládacì panel. Ĉistite jemnou mierne navlhĉenou tkaninou. Na ĉistenie
ovládacieho panelu nepouţìvajte saponáty, brúsne ĉistiĉe alebo sprejové ĉistiĉe.
5.
Ak sa para nahromadì vnútri alebo okolo vonkajšej ĉasti dverì rúry, utrite ju jemnou tkaninou. Toto môţe
nastať, keć je rúra pouţìvaná v podmienkach s vysokou vlhkosťou a nie je indikovaná porucha
zariadenia.
6.
Niekedy je nutné vyĉistiť otoĉný tanier. Umyte ho v teplej mydlovej vode alebo v umývaĉke riadu.
7.
Valĉekový prstenec a interiér rúry by mal byť pravidelne ĉistený na zabránenie nadbytoĉnému hluku.
Spodnú plochu utrite jemným saponátom, vodou alebo ĉistiĉom okien a osušte. Valĉekový prstenec
môţe byť umytý v miernej mydlovej vode alebo v umývaĉke riadu. Poĉas opakovaného pouţìvania sa
zbierajú v rúre výpary ale nijako neovplyvňujú spodnú plochu a kolieska valĉekového prstenca.
Keć vyberiete valĉekový prstenec na ĉistenie, potom ho správne vloţte späť.
8.
Na odstránenie pachov s rúry pouţite pohár vody so šťavou a kôrou citróna v hlbokej mise. Zapnite
mikrovlnný ohrev na 5 minút, potom dôkladne utrite a osušte jemnou tkaninou.
9.
Keć je potrebné vymeniť ţiarovku osvetlenia interiéru rúry, obráťte sa na predajcu.
Ņivotné prostredie
Nevyhadzujte spotrebiĉ po ukonĉenì ţivotnosti s beţným domácim odpadom, ale odovzdajte ho v oficiálnej
miestnej zberni na recykláciu. Týmto konanìm pomôţete chrániť ţivotné prostredie.
Záruka & servis
Ak potrebujete informácie, alebo ak máte problém, sa spojte so strediskom pre starostlivosť o zákaznìkov
Gorenje vo vašej krajine (ĉìslo telefónu nájdete na záruĉnom liste). Ak sa vo vašej krajine nenachádza
stredisko pre starostlivosť o zákaznìkov, navštìvte miestneho predajcu Gorenje, alebo sa spojte servisné
oddelenie spoloĉnosti Gorenje domáce spotrebiĉe.
Len pre pouņitie v domácnosti!
VEĽA RADOSTI PRI POUŅÍVANÍ SPOTREBIŢAVÁM PRAJE Ćalšie doporuĉenie pre peĉenie a grilovanie v mikrovlnnej rúre s ćalšìmi uţitoĉnými informáciami nájdete na web stránke: http://microwave.gorenje.com
73
Návod na pouņití CZ
Pečlivě si pročtěte tento návod na použití a uložte ho!
Specifikace
Spotřeba el. energie:................................................................. 230V~50Hz,1280W
Výkon: ............................................................................................................. 800W
Funkĉnì frekvence: .................................................................................... 2450MHz
Vnějšì rozměry: ........................................ 470 mm (Š) × 397 mm (H) × 282 mm (V)
Rozměry komory (vnitřnì ĉásti) trouby: .... 315 mm (Š) × 330 mm (H) × 195 mm (V)
Objem trouby: ................................................................................................
20 litrů
Hmotnost bez obalu: ......................................................................
přibliţně 11,5 kg
Hladina akustického výkonu vyzařovaná spotřebiĉem: ......................... < 58 dB (A)
Tento přístroj je oznaţen v souladu s evropskou směrnicí 2002/96/ES o elektrickém a
elektronickém odpadu (waste electrical and electronic equipment - WEEE). Směrnice obsahuje
nařízení o sběru a nakládání s odpadky elektrického a elektronického charakteru, které platí v EU.
Neņ zavoláte opraváře
1. V
přìpadě, ţe mikrovlnná trouba vůbec nefunguje, nebo se nerozsvìtì displej, popř. zhasne:
a) Zkontrolujte, jestli
je trouba správně připojená do elektrické sìtě. Pokud nenì, vytáhněte zástrĉku ze
zásuvky a vyĉkejte 10 vteřin; poté ji znovu zastrĉte.
b) Zkontrolujte, jestli
je pojistka elektrického vedenì neporušená, nebo jestli nevypadla pojistka
v domě. Pokud jsou všechny pojistky funkĉnì, vyzkoušejte zásuvku zapojenìm jiného přìstroje.
2. V
přìpadě, ţe mikrovlnná trouba nehřeje, tj. nevytvářì mikrovlnný paprsek:
a) Zkontrolujte, jestli
jsou programovacì hodiny správně nastavené.
b) Zkontrolujte, jestli
jsou dvìřka správně zavřená a bezpeĉnostnì zámek uzamĉen. Pokud tomu tak nenì,
trouba nebude fungovat.
V
případě, ņe se vám pomocí tohoto návodu nepodařilo odstranit závadu, spojte se
s
autorizovaným opravářem.
Poznámka:
Poruchy funkce přijímaţš (interference)
Mikrovlnná trouba můţe způsobit poruchu funkce vašeho rádiového nebo televiznìho přijìmaĉe, popř. jiných
obdobných přìstrojů. V přìpadě, ţe se vyskytne interference, můţete tuto poruchu snìţit, přìpadně zcela
odstranit,
následovně:
a)
Oĉistěte dveře a povrch těsněnì v troubě.
b)
Umìstěte rušený přijìmaĉ co moţná nejdále od mikrovlnné trouby.
c)
Své rádio nebo televizi vybavte vhodnou anténou, kterou umìstěte tak, aby zajistila silný přìjem signálu.
Instalace
1.
Nejdřìve zkontrolujte, jestli jste z vnitřku trouby vyndali veškerý obalový materiál.
2.
Po jeho odstraněnì zkontrolujte troubu, jestli nedošlo k jejìmu poškozenì, např.:
-
ohnuté dveře,
Přístroj je urţen pouze k pouņití v domácnosti, a to na ohřívání pokrmš a nápojš pšsobením
elektromagnetické energie. Přístroj pouņívejte pouze ve vnitřních prostorách.
74
-
poškozené dveře,
-
poškozenì nebo nerovnosti ve skle (okénku) na dveřìch nebo na displeji,
-
nerovnosti ve vnitřku trouby.
Jakmile
zjistìte některé z uvedených poškozenì, přestaňte troubu pouţìvat.
3.
Mikrovlnná trouba váţì přibliţně 11,5 kg; postavte ji na rovnou a dostateĉně pevnou plochu, která unese
váhu trouby.
4.
Troubu poloţte co nejdále od tepelných zdrojů a páry.
5. N
a hornì stěnu trouby nic nepokládejte.
6.
Pro správnou cirkulaci vzduchu kolem přìstroje by mělo být: kolem trouby alespoň 8 cm a nad nì 10 cm
volného prostoru.
7. Neodn
ìmejte pohonnou hřìdel otoĉného talìře uvnitř trouby.
8. Pokud
mikrovlnnou troubu pouţìvajì děti, musejì být pod peĉlivým dohledem dospělých osob.
UPOZORNĚNÍ:
TENTO PŘÍSTROJ MUSÍ BÝT ELEKTRICKY UZEMNĚN.
9.
Zásuvka, do které zapojujete přìstroj, musì být v blìzkosti přìstroje, aby se dala snadno připojit zástrĉka.
10.
Trouba potřebuje 1,3 kVA přìkonu. Doporuĉujeme vám, abyste se při instalaci trouby poradili
s
opravářem, přìpadně s vhodným odbornìkem.
POZOR:
Trouba je vybavena vlastnì pojistkou, a to 250 V, 10 A.
DŠLEŅITÉ
Barvy drátů v elektrickém kabelu majì následujìcì význam:
Zeleno-
ņlutá:
drát uzemnění
Modrá:
neutrální drát
Hnědá:
fáze
Je moţné, ţe barvy drátů neodpovìdajì barevnému oznaĉenì na terminálech zástrĉky, proto dbejte na
následujìcì informaci:
-
Drát zeleno-ţluté barvy připojte na terminál zástrĉky, který je oznaĉen pìsmenem
E
nebo symbolem
uzemněnì.
-
Drát modré barvy připojte na terminál zástrĉky, který je oznaĉen pìsmenem
N
nebo má ĉernou barvu.
-
Drát hnědé barvy připojte na terminál zástrĉky, který je oznaĉen pìsmenem
L
nebo má hnědou barvu.
D šleņité bezpeţnostní pokyny
UPOZORNĚNÍ:
Kdyţ přìstroj pracuje v kombinovaném reţimu, mohou jej děti pouţìvat pouze pod přìsným
dozorem dospělých osob (platì jen pro přìstroje s funkcì grilu). Hrozì nebezpeĉì popálenì
z důvodu vysokých teplot.
UPOZORNĚNÍ:
Pokud jsou dveře nebo jejich těsněnì poškozené, přìstroj nepouţìvejte, dokud ho neopravì
přìslušný odbornìk.
UPOZORNĚNÍ:
Jakékoliv opravy, prováděné pod krytem, který chránì uţivatele před mikrovlnnými
paprsky, jsou nebezpeĉné. Proto vám radìme, abyste je přenechali odbornìkům.
UPOZORNĚNÍ:
Tek
uté nebo jiné potraviny neohřìvejte ve volně nebo těsně uzavřených nádobách,
protoţe můţe dojìt k jejich prasknutì.
UPOZORNĚNÍ:
Děti mohou přìstroj pouţìvat bez dohledu dospělé osoby pouze tehdy, kdyţ si dokáţou
samy přeĉìst návod k mikrovlnné troubě a dokáţou také troubu pouţìvat v souladu s tìmto návodem.
Kolem mikrovlnné trouby zajistěte dostatek mìsta pro cirkulaci vzduchu. Za mikrovlnnou troubou musì být
minimálně 10 cm, po stranách 15 cm a nad nì alespoň 30 cm volného prostoru. Nedemontujte patky
mik
rovlnné trouby; proudìcìmu vzduchu ponechte volný průchod.
Pouţìvejte jen pomůcky, které se do mikrovlnné trouby hodì z hlediska bezpeĉnosti.
Při ohřìvánì potravin v umělohmotných nebo papìrových obalech nebo nádobách kontrolujte kvůli vlastnì
bezpeĉnosti proces ohřìvánì: takový materiál se můţe snadno vznìtit.
Pokud se vyskytne kouř, ihned vypněte přìstroj a zástrĉku vytáhněte ze zásuvky; dvìřka nechte otevřená a
přìpadný oheň uhaste.
Pokud v
mikrovlnné troubě ohřìváte nápoje, poĉìtejte s tìm, ţe můţe být nápoj během krátké doby ohřátý
na bod varu
– proto bućte opatrnì.
Aby nedošlo ke vzniku popálenin, ještě před pouţitìm promìchejte obsah dětských lahvì, přìpadně lahvì
s
pokrmem pro děti; před pouţitìm zkontrolujte teplotu pokrmu.
V
mikrovlnné troubě neohřìvejte ĉerstvá nebo uvařená vejce ve skořápce, protoţe mohou prasknout
(explodovat!), i kdyţ budou z trouby jiţ vytaţena.
Při ĉištěnì povrchu dveřì, těsněnì a vnitřku trouby pouţìvejte jen jemné a neagresivnì ĉisticì prostředky,
které rozetřete houbiĉkou nebo měkkým hadřìkem.
Pravidelně ĉistěte troubu a odstraňujte přìpadné nánosy jìdel.
75
Pokud troubu nebudete ĉistit pravidelně, můţe se jejì vnitřnì povrch opotřebovat, a zkrátit tak ţivotnost vašì
trouby
– navìc vzniká zvýšené riziko při pouţitì přìstroje.
Pokud dojde k
poškozenì elektrického kabelu, můţe poškozený kabel vyměnit pouze výrobce, pracovnìk
autorizovaného servisu nebo jiný vhodný odbornìk.
Bezpeţnostní návody při kaņdodenním pouņívání přístroje
V
dalšìm textu jsou uvedena některá pravidla a bezpeĉnostnì opatřenì, na která stejně jako u jiných přìstrojů
musì být brán zřetel, aby přìstroj fungoval bezvadně, úĉinně a dlouhodobě bez problémů:
1. Pokud je
mikrovlnná trouba v ĉinnosti, musì být skleněný talìř, drţáky válce, spojka a dráţky vţdy na
svém mìstě.
2.
Nepouţìvejte troubu pro ţádné jiné úĉely neţ pro přìpravu jìdel; v mikrovlnné troubě nesušte obleĉenì,
papìr nebo jiné předměty a nepouţìvejte ji pro sterilizaci.
3.
Nikdy nezapìnejte troubu, pokud je prázdná, protoţe byste ji mohli poškodit.
4. V
mikrovlnné troubě neskladujte ţádný předmět: např. papìr, recepty atd.
5.
Nevařte pokrmy s blánou nebo slupkou, např. vajeĉné ţloutky, brambory, kuřecì játra atd., aniţ byste
předtìm blánu nebo slupku na vìce mìstech před vařenìm propìchli.
6.
Nevkládejte ţádné předměty do otvorů na vnějšì straně trouby.
7.
Nikdy nedemontujte ĉásti trouby, např. patky, zámek, šroubky atd.
8.
Nevařte pokrmy přìmo na skleněném talìři v troubě. Neţ pokrm vloţìte do trouby, dejte jej do vhodné
nádoby.
DŠLEŅITÉ:
K
uchyňské nádobì, jehoţ pouţitì v mikrovlnné troubě je zakázáno:
-
Nepouţìvejte kovové pánve nebo nádoby s kovovými drţadly.
-
Nepouţìvejte nádobì s hranami potaţenými kovem.
-
Nepouţìvejte papìrem potaţené kovové drátky k zavìránì igelitových sáĉků.
-
Nepouţìvejte nádobì z melaminu, protoţe obsahuje materiál, který absorbuje mikrovlnné paprsky. To
můţe způsobit, ţe nádoba praskne nebo se spálì, kromě toho můţe zpomalit proces ohřìvánì nebo
vařenì.
-
Nepouţìvejte nádobì bez vhodné ochrany, která je urĉená k pouţìvánì v mikrovlnné troubě.
Nepouţìvejte ani uzavřené nádobì s rukojetì.
-
Nepřipravujte pokrmy nebo nápoje v nádobì se zúţeným okrajem, např. láhev, která můţe při ohřìvánì
prasknout.
-
Nepouţìvejte klasické teploměry na maso a cukrovì. Pouţìvat můţete pouze teploměry, které jsou
urĉeny k pouţitì v mikrovlnných troubách.
9.
Pomůcky pro mikrovlnnou troubu pouţìvejte pouze v souladu s návody jejich výrobce.
10.
Nepokoušejte se v mikrovlnné troubě smaţit potraviny.
11. Dbejte na to, aby se v t
roubě ohřál pouze obsah nádoby a ne samotná nádoba, ve které se obsah
nacházì. Můţe se totiţ stát, ţe po nadzvednutì pokliĉky se obsah v nádobě odpařuje nebo z něj střìkajì
kapky, přestoţe samotná poklice nenì horká.
12.
Před pouţitìm vţdy zkontrolujte teplotu pokrmu, obzvlášť pokud je pokrm urĉen dětem. Doporuĉujeme
v
ám, abyste nikdy neochutnávali pokrmy přìmo z trouby. Nejdřìve nádobu vyjměte a obsah promìchejte,
aby se teplota rovnoměrně rozdělila.
13.
Pokrmy, které obsahujì emulzi omastku a vody, např. polévkový základ, musejì v troubě zůstat ještě 30
aţ 60 sekund po vypnutì. Vývar přestane vřìt a nebude bublat, pokud jej promìcháte, nebo do něj vloţìte
polévkovou kostku (např. masox).
14.
Při přìpravě pokrmů dávejte pozor, aby se některé druhy pokrmů, např. vánoĉnì pudink, marmeláda nebo
mleté maso, neohřály přìliš rychle. K ohřìvánì nebo vařenì pokrmů, které obsahujì většì mnoţstvì tuku,
nepouţìvejte umělohmotné nádobì.
15.
Pomůcky, které pouţìváte při přìpravě pokrmů v mikrovlnné troubě, se mohou velmi zahřát, protoţe
pokrmy
vyluĉujì teplo. Zejména to platì v přìpadě, kdy je hornì ĉást nádoby přikrytá umělohmotnou poklicì
nebo krytem. Na přenesenì takové nádoby budete potřebovat kuchyňské rukavice.
16.
Abyste snìţili riziko poţáru v mikrovlnné troubě:
a)
Dejte pozor, abyste pokrmy nevařili přìliš dlouho. Peĉlivě kontrolujte průběh ohřìvánì, pokud se
v
troubě nacházejì papìrové nebo umělohmotné pomůcky, přìpadně nádobì z hořlavého materiálu.
b)
Neţ poloţìte sáĉek do mikrovlnné trouby, odstraňte drátky, které slouţì k jeho uzavìránì.
c)
Pokud předmět v troubě zaĉne hořet, nechte dvìřka trouby zavřená, vypněte troubu, vytáhněte
zástrĉku ze zásuvky nebo vypněte hlavnì pojistku na pojistkovém panelu.
76
Diagram trouby
1
-
Zavìránì dvìřek
2
- Okno trouby
3
-
Průduchy nebo
ventilátor cirkulace vzduchu
4
-
Prstenec skleněného talìře
5
-
Skleněný talìř
6
-
Kontrolnì panel
1 -
Tlaĉìtko nastavenì ĉasu s intervalem 10 s
2 -
Tlaĉìtko nastavenì ĉasu s intervalem 1 min
3 -
Displej
4 -
Tlaĉìtko nastavenì ĉasu s intervalem 10 min
5 -
Tlaĉìtko nastavenì reţimu vařenì
6 -
Tlaĉìtko startu nebo vypnutì funkce
77
Návod k pouņití
1.
Ohřívání stisknutím jednoho tlaţítka
Základnì vařenì v mikrovlnné troubě spustìte pouhým stiskem jednoho tlaĉìtka. Tato funkce je velice
uţiteĉná a umoţňuje rychlý ohřev, např. sklenky vody.
Přìklad: Ohřìvánì sklenice mléka
a)
Sklenici mléka postavte na skleněný otoĉný talìř do trouby a zavřete dvìřka.
b)
Stiskněte tlaĉìtko „START/RESET“ a mikrovlnná trouba bude pracovat 1 minutu se
100% výkonem.
c)
Po ukonĉenì ohřevu trouba upozornì uţivatele pěti zvukovými signály.
2.
Ohřev mikrovlnnými paprsky
Tato funkce nabìzì moţnosti:
a)
Rychlý ohřev s mikrovlnnými paprsky (100% výkon)
Přìklad: Vařenì se 100% výkonem na 5 minut.
1.
Nastavte ĉas na „5:00“.
2.
Stiskněte tlaĉìtko „START/RESET“.
b)
Ohřìvánì s mikrovlnnými paprsky v ruĉnìm reţimu
1.
Stiskněte tlaĉìtko „MICRO/GRILL“ a nastavte poţadovaný výkon 70 %.
2.
Nastavte ĉas na „10:00:00“.
3.
Stiskněte tlaĉìtko „START/RESET“.
Nastavit můţete 5 úrovnì výkonu ohřìvánì, na dobu ne delšì neţ 59 minut a 50 vteřin.
Poţet stiskš na tlaţítko
Výkon mikrovlnných paprskš
Informace na displeji
1
100 %
P10
2
70 %
P7
3
50 %
P5
4
30 %
P3
5
10 %
P1
3.
Automatické rozmrazování přizpšsobené hmotnosti potraviny
Přìklad: Rozmrazovánì 0,5 kg zmrzlého masa.
a)
Stisknutìm tlaĉìtka „MICRO“ vyberte „DEF“.
b)
Stisknutìm tlaĉìtka „1Min“ (1 kg) a „10Sec“ (0,1 kg) vloţte hmotnost potraviny.
c)
Stiskněte tlaĉìtko „START/RESET“.
Hmotnost zmrzlé potraviny nesmí přesahovat 2 kg.
4.
Tlaţítko „START/RESET“
a) Pokud
během funkce přìstroje stisknete tlaĉìtko „START/RESET“, proces vařenì nebo peĉenì se
přerušì.
b)
Jestliţe jste původně nastavili programovaný reţim, bude tento program stisknutìm tlaĉìtka
„START/RESET“ zrušen.
5.
Funkce „dětský zámek“
Pokud
chcete aktivovat funkci dětského zámku, stiskněte souĉasně tlaĉìtka „1 Min“ a „10 Sec“ a drţte je
dvě vteřiny. Pokud chcete tuto funkci vypnout, postup zopakujte.
Péţe a údrņba mikrovlnné trouby
1.
Neţ zaĉnete ĉistit mikrovlnnou troubu, vytáhněte zástrĉku ze zásuvky.
2.
Vnitřek trouby udrţujte vţdy v ĉistotě. Pokud ĉásteĉky pokrmu nebo tekutiny, které střìkajì na stěny nebo
dno trouby,
zaschnou, otřete je navlhĉeným hadřìkem. Nedoporuĉuje se pouţìvánì hrubých ĉisticìch
nebo agresivnìch prostředků.
3.
Vnějšì povrch trouby ĉistěte navlhĉeným hadřìkem. Aby nedošlo k poškozenì vnitřnìch stěn mikrovlnné
trouby, dbejte
na to, aby se do průduchů nevylila voda.
4.
Kontrolnì panel nesmì přijìt do kontaktu s vodou. Ĉistěte ho měkkým a navlhĉeným hadřìkem.
K ĉištěnì kontrolnìho panelu nepouţìvejte mycì nebo agresivnì ĉisticì prostředky ani prostředky ve spreji.
78
5. Pokud se
na vnitřnìm nebo vnějšìm povrchu trouby objevì pára, otřete ji měkkým hadřìkem. To se můţe
stát v přìpadě, ţe mikrovlnnou troubu pouţìváte ve vlhkých mìstnostech, v ţádném přìpadě se nejedná o
poruchu trouby.
6.
Obĉas vyjměte také skleněný talìř z trouby a oĉistěte jej. Skleněný talìř (podstavec) myjte teplou vodou
nebo v
myĉce.
7.
Loţiskový prstenec a dno (spodnì povrch) vnitřnì ĉásti trouby je třeba pravidelně ĉistit, v opaĉném
přìpadě můţe trouba pracovat hluĉně. Jednoduše oĉistěte dno v troubě jemným ĉisticìm prostředkem,
vodou
nebo prostředkem na ĉištěnì skla a nechte uschnout. Loţiskový prstenec můţete omývat teplou
vodou nebo v
myĉce na nádobì. Po dlouhodobém pouţìvánì trouby se na koleĉkách loţiskového
prstence objevì výpary, které se uvolňujì při vařenì; nemajì ţádný vliv na jeho funkci. Při vyjmutì
loţiskového prstence z dráţky na dně komory (vnitřku trouby) dejte pozor, abyste ho zase správně
umìstili.
8.
Přìpadný nepřìjemný pach z trouby můţete odstranit tak, ţe do hluboké nádoby na přìpravu pokrmů
v
troubě nalijete šálek vody a nakrájìte kůru z jednoho citronu. Nádobu vloţte na pět minut do mikrovlnné
trouby a troubu
zapněte. Po vypnutì peĉlivě otřete a vysušte vnitřek trouby a oĉistěte jej měkkým
hadřìkem.
9.
Pokud je potřeba vyměnit ţárovku v troubě, obraťte se prosìm na svého prodejce.
Ņivotní prostředí
A
ţ přìstroj doslouţì, nevyhazujte jej do běţného komunálnìho odpadu, ale odevzdejte jej do
sb
ěrny urĉené pro recyklaci. Pomůţete tìm chránit ţivotnì prostředì
Záruka a servis
Pokud byste
měli jakýkoliv problém nebo byste potřebovali nějakou informaci, kontaktujte Středisko péĉe o
zákaznìky spoleĉnosti Gorenje ve své zemi (telefonnì ĉìslo střediska najdete v letáĉku s celosvětovou
zárukou).
Pokud se ve vašì zemi Středisko péĉe o zákaznìky nenacházì, můţete kontaktovat mìstnìho dodavatele
výrobků Gorenje nebo oddělenì Service Department of Gorenje Domestic Appliances.
Jen pro osobní uņití!
PŘEJEME VÁM PŘÍJEMNÉ CHVÍLE PŘI POUŅÍVÁNÍ MIKROVLNNÉ TROUBY – VAŃE Dalšì informace o peĉenì v mikrovlnné troubě bez nebo s pouţitìm grilu a jiné uţiteĉné rady najdete n a našich stránkách: htpp://microwave.gorenje.com
79
ИНСТРУКЦИИ ЗА УПОТРЕБА BG
Внимателно прочетете инструкциите и запазете за бъдещо позоваване.
ТЕХНИЧЕСКИ ХАРАКТЕРИСТИКИ
Захранване: ............................................................................ 230V~50Hz, 1280W
Изходяща мощност на микровълните: ........................................................ 800W
Честота на микровълните: ..................................................................... 2450MHz
Външни размери: ....................................... 470mm(W) X 397mm(D) X 282mm(H)
Вътрешни размери на фурната: ............... 315mm(W) X 330mm(D) X 195mm(H)
Вместимост на фурната: ......................................................................... 20 литра
Тегло: ................................................................................................ Около 11,5 кг
Ниво на шума: ................................................................................... Lc< 58 dB(A)
ПРЕДИ ДА СЕ ОБАДИТЕ В СЕРВИЗА
1.
В случай, че фурната изобщо не функционира, изображенията на дисплея не се появяват или
изчезнат:
a)
Проверете дали фурната е добре включена в електрическата мрежа. Ако не е, изключете
захранващия кабел от електрическия контакт, изчакайте 10 секунди и отново включете, като се
уверите, че е включен правилно.
b)
Проверете цялото помещение за изгорял електрически предпазител или изключил главен
прекъсвач. Ако функционират правилно, проверете с друг уред дали контактът е в изправност.
2.
Ако микровълновата фурна не функционира:
a)
Проверете дали е задействан таймера.
b)
Проверете дали вратата е плътно затворена, с което се задейства съединяване на
електрическата верига. Ако вратата не е добре затворена, захранването е блокирано и не
може да задейства фурната.
АКО ГОРНИТЕ ДЕЙСТВИЯ НЕ ДОВЕДАТ ДО ВКЛЮЧВАНЕ, ОБЪРНЕТЕ СЕ КЪМ НАЙ-
БЛИЗКИЯ ОТОРИЗИРАН СЕРВИЗ.
СМУЩЕНИЯ НА РАДИО ВЪЛНИТЕ
Микровълновата фурна може да предизвика смущения в работата на вашето радио, телевизор или
подобни уреди. Възникалото смущение може да бъде отстранено или намалено посредством
следните процедури:
a)
Почистете вратата и изолиращата повърхност на фурната.
b)
Поставете радиото, телевизора и т.н. на възможно най-голямо разстояние от микровълновата
фурна.
c)
Използвайте правилно монтирана антена за вашите приемници, за да си осигурите добро
приемане на сигнала.
Уредът е предназначен за използване в домашни условия за загряване на храна и напитки
чрез използване на електромагнитна енергия, да се използва само в помещения.
Уредът е обозначен съгласно Европейска директива 2002/96/EC, касаеща излязло от
употреба електрическо и електронно оборудване (ИУЕЕО).
Директивата очертава основните принципи, валидни в Европа, за връщане и рециклиране
на излязло от употреба елекрическо и електронно оборудване.
80
МОНТАЖ
1.
Уверете се, че всички опаковъчни материали са отстранени от вътрешността на уреда.
2.
След като разопаковате фурната, проверете за видими дефекти, напр.:
-
Подвисване на вратата
-
Повредена врата
-
Вдлъбнатини или дупчици върху прозореца на вратата и мрежата.
-
Вдлъбнатини във вътрешността на фурната
Ако са налице видими повреди, НЕ използвайте фурната.
3.
Микровълновата фурна е с тегло 15.5 кг и трябва да бъде поставена на хоризонтална повърхност,
способна да издържи тежестта й.
4.
Поставете фурната далеч от източници на висока температура и пара.
5.
НЕ
поставяйте предмети върху фурната.
6.
За да осигурите добра вентилация на уреда, поставете го така, че страничните стени на корпуса
да е на разстояние най-малко 8 см, а задната му част най-малко на 10 см от стена.
7.
НЕ вадете въртящия водач на стъклената поставка.
8.
Както и при всеки друг уред, използването му от деца трябва да става под родителско
наблюдение.
ВНИМАНИЕ
-
УРЕДЪТ ТРЯБВА ДА БЪДЕ ЗАЗЕМЕН
9.
Електрическият контакт трябва да е разположен в близост, за да се предотврати опъване на
захранващия кабел.
10.
Необходимата входяща мощност за фурната е 1.3 KVA. Препоръчваме консултация със сервизен
техник при монтажа й.
ВНИМАНИЕ
: Фурната е оборудвана с 250V,10 Amp прекъсвач за вътрешна защита.
ВАЖНО
Проводниците в главния захранващ кабел са оцветени съгласно следния код:
Зелени и жълти:
Заземяване
Сини:
Нула
Кафяви:
Под напрежение
Тъй като е възможно цветовете на проводниците в главния захранващ кабел на уреда да не
съвпадат с цветовите обозначения, показващи изводите на щепсела, процедирайте по следния
начин:
-
Проводникът, оцветен в зелено и жълто трябва да се свърже с извода на щепсела, обозначен с
буквата F или обозначен със символ за заземяване, оцветен в зелено или зелено и жълто.
-
Проводникът, оцветен в синьо трябва да се свърже към извода, който е обозначен с буква N или е
оцветен в черно.
-
Проводникът, оцветен в кафяво се свързва към извода, обозначен с буква L или е оцветен в
червено.
ВАЖНИ ИНСТРУКЦИИ ЗА БЕЗОПАСНОСТ
ВНИМАНИЕ:
При използване на уреда в комбинация между грил и микровълни, поради високата
температура, която фурната развива, децата да използват уреда под родителски контрол; (само за
модели, с грил функция)
ВНИМАНИЕ:
Ако вратата или уплътненията на вратата са повредени, не използвайте уреда, докато
не бъде отремонтиран от компетентно лице;
ВНИМАНИЕ:
Извършването на обслужване или отстраняване на повреда, при които се налага
премахване на покритие, служещо за предпазване от излагане на микровълни е опасно и следва да
се извършва единствено от компетентно лице.
ВНИМАНИЕ:
не загрявайте течности или друга храна в запечатани съдове/бутилки поради опасност
от екслодиране.
ВНИМАНИЕ:
Използване на фурната от деца без родителско наблюдение да се допуска едва
когато са получили достатъчно инструкции как да използват уреда безопасно и са разбрали
опасностите от неправилно използване.
Осигурете достатъчен приток на въздух до фурната. Задната страна на корпуса да е разположен
на 10 см от стена; страничните да са разположени на 15 см от стени; горната страна да е на
разстояние 30 см от друга повърхност. Не махайте крачетата на фурната, не блокирайте
вентилационните изходи на уреда.
Използвайте единствено съдове и прибори, подходящи за употреба в микровълнови фурни.






