Stiebel Eltron SNU 5 SLi с 01.09.2007: Notitie
Notitie: Stiebel Eltron SNU 5 SLi с 01.09.2007
17
Ne
der
land
s
Notitie
18
an
tit
ro
pf
co
m
fo
rt
85
°C
35
55
65
Eco
SHU
5
SL
i -
M
on
tag
es
ch
ablone
| M
oun
ting
Templ
ate
| G
ab
ar
it de
mon
tag
e |
M
on
tag
esj
ablo
on
| S
zablon
mon
tażo
wy
| M
on
tážní
šablon
a |
Sz
er
elő
sablon
|
Русский
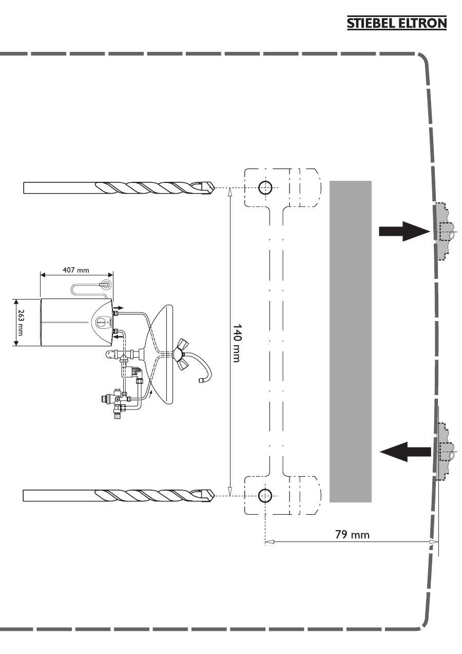
C26_02_06_0097
19
an
tit
ro
pf
co
m
fo
rt
85
°C
35
55
65
Eco
SHU
5
SL
i -
M
on
tag
es
ch
ablone
| M
oun
ting
Templ
ate
| G
ab
ar
it de
mon
tag
e |
M
on
tag
esj
ablo
on
| S
zablon
mon
tażo
wy
| M
on
tážní
šablon
a |
Sz
er
elő
sablon
|
Русский
C26_02_06_0097
Table of contents
- CAG B H F E D
- 1. Gebrauchsanleitung
- 2. Montageanleitung
- 3. Störungsbeseitigung
- Notizen
- 1. Operating Instructions
- 2. Installation Instructions
- 3. Defect Rectification
- 1. Instructions d’utilisation
- 2. Instructions de montage
- 3. Dépannage
- 1. Gebruiksaanwijzing
- 2. Montageaanwijzing
- 3. Verhelpen van storingen
- Notitie
- 1. Instrukcja obsługi
- 2. Instrukcja montażu
- 5. Gwarancja
- Notatka
- 1. Návod k použití
- 2. Instrukce k montáži
- 3. Odstraňování závad
- 1. Kezelési utasítás
- 2. Szerelési utasítás
- 3. Hibaelhárítás
- 1.
- 2.
- 3.
Top 10 manuals
100.00
NZXT HALE90 1000W99.99
Samsung SM-R38099.97
AEG BSB 18C99.97
Dell 2700W99.97
Smeg KSEC70X99.96
Beurer HDE 4099.96
Pyramida KH 50 v.299.96
MSI CSM-H81M-P3299.96
AEG HR 562799.95
Melissa 640-048
