Sanus Systems WMS2: Montageanleitung für Modell: WMS2
Montageanleitung für Modell: WMS2: Sanus Systems WMS2

DEUTSCH
D I E E I N H E I T V O N F O R M U N D F U N K T I O N
Montageanleitung für Modell: WMS2
Wir freuen uns, dass Sie sich für das Modell WMS2 von Sanus Systems entschieden haben. Die Halterung Modell WMS2 ist für
Regallautsprecher mit einer Tiefe von maximal 12" (30,5 cm) und einem Gewicht von 15 US-Pfund (6,8 kg) geeignet.
Sicherheitshinweis: Wenn Sie diese Anweisungen nicht verstehen oder Zweifel an der Sicherheit der Montage haben, rufen Sie einen
Fachmann an oder wenden Sie sich telefonisch an Sanus Systems unter +1-800-359-5520 (USA) oder +31-(0)40-266-8619 (Europa). Sie
können auch unsere Website besuchen: www.sanus.com. Prüfen Sie sorgfältig, ob Teile fehlen oder defekt sind. Unsere Kundendienstmitarbeiter
können Ihnen bei Fragen zur Montage und bei fehlenden oder beschädigten Teilen schnell weiterhelfen. Ersatzteile für bei autorisierten
Fachhändlern gekaufte Sanus-Produkte werden direkt an Ihre Adresse versendet. Verwenden Sie niemals beschädigte Teile! Unsachgemäße
Montage kann Schäden am Gerät und schwere Verletzungen hervorrufen. Verwenden Sie das Produkt nicht für andere als von Sanus Systems
explizit genannte Zwecke. Sanus Systems haftet nicht für Schäden oder Verletzungen, die durch unsachgemäße Montage, fehlerhaften
Zusammenbau oder unsachgemäße Nutzung entstehen. Bitte rufen Sie Sanus Systems an, bevor Sie Produkte beim Händler reklamieren.
Erforderliche Werkzeuge: Bohrmaschine, Bohrer 3/16" (0,5 cm) und Steckschlüsselsatz
Mitgelieferte Teile und Zubehör: Einige Teile sind nicht in Originalgröße abgebildet*
(2) Drehgelenk - c* (2) Fuß - d*
(2) Wandplatte – a* (2) Abdeckung – b* (2) Verlängerung - e* (2) Arm - f*
(8) Holzschraube - g (2) Gewindebolzen - h (4) Hutmutter - i
(2) Gelenkzapfen - j (2) Gelenkmutter - k (6) Lange Einstellschraube - l
(2) Kurze Einstellschraube - m (1) Inbusschlüssel - o
(2) Kappe - n
Sanus Systems 2221 Hwy 36 West, Saint Paul, MN 55113 USA
Kundendienst: 800.359.5520. Ergänzende Sanus-Produkte finden Sie unter www.sanus.com.

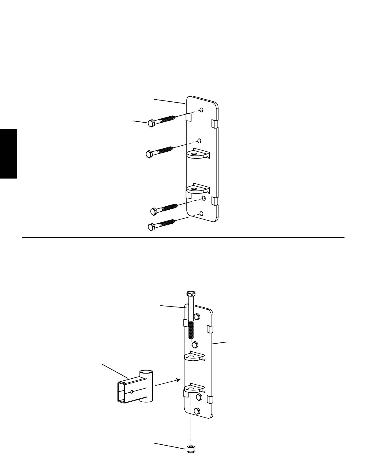
Schritt 1: Montage der Wandplatte
Die Wandplatte (a) muss an einem Holzbalkenträger montiert werden. Die Wandplatte muss mit der flachen Seite zur Wand zeigen und
die beiden Nasen müssen sich dichter an der Unterseite befinden. Die Wandplatte als Schablone zur Markierung der 4 Montagebohrungen
für die Holzschrauben (g) zwischen den beiden Kanten des gefundenen Holzbalkenträgers verwenden. An den markierten Stellen vier
Bohrungen mit einer Tiefe von 2,5" (6,4 cm) mit einem Bohrer 3/16" (0,5 cm) vorbohren. Die Wandplatte mit den vier Holzschrauben
an der Wand montieren. Jede Holzschraube mit einem passenden Steckschlüssel festziehen. Siehe Abbildung 1.
VORSICHT: Die Holzschrauben nur so weit festziehen, dass die Wandplatte fest gegen die Wand drückt. DIE
HOLZSCHRAUBEN NICHT ÜBERDREHEN!
Abbildung 1
a
g
DEUTSCH
Schritt 2: Drehgelenk installieren
Einen Gelenkzapfen (j) durch die obere Nase in der Wandplatte (a), das Drehgelenk (c), die untere Nase in der Wandplatte führen und
schließlich in die Gelenkmutter (k) eindrehen. Die Gelenkmutter mit dem geeigneten Steckschlüssel festziehen. Siehe Abbildung 2.
Abbildung 2
j
a
c
k

Schritt 3: Arm anbringen
Den Arm (f) in das Drehgelenk (c) einführen, so dass die Bohrung im Arm direkt über der Bohrung im Drehgelenk liegt. Eine Hutmutter (i)
auf
den Gewindebolzen (h) drehen und fest anziehen. Den Gewindebolzen durch die Bohrungen im Drehgelenk und Arm stecken. Die andere
Hutmutter am Gewindebolzen befestigen. Jede Hutmutter mit dem geeigneten Steckschlüssel festziehen. Eine lange Einstellschraube (l)
durch die Bohrung an der Ober- und Unterseite des Drehgelenks eindrehen. Mit den langen Einstellschrauben wird die Neigung des Arms
gesteuert. Mit einem Inbusschlüssel (o) festziehen, bis der Arm den gewünschten Neigungswinkel erreicht hat. Siehe Abbildung 3.
Abbildung 3
l
DEUTSCH
i c
h
f
i
l
Schritt 4: Abdeckung anbringen
Die Abdeckung (b) so verschieben, dass sie auf der Wandplatte (a) einrastet. Siehe Abbildung 4.
a
Abbildung 4
b

Schritt 5: Fuß und Verlängerung anbringen
Den Fuß (d) über den Arm (f) schieben, bis er in einen der drei Schlitze im Arm passt. Die Verlängerung (e) in den Arm hineinschieben.
Den Fuß und die Verlängerung so anpassen, dass der Lautsprecher fest sitzt. Nachdem alle Teile korrekt positioniert sind, eine lange
Einstellschraube (l) in den Fuß eindrehen und mit dem Inbusschlüssel (o) fest anziehen. Eine kurze Einstellschraube (m) in den Arm
eindrehen und mit dem Inbusschlüssel fest anziehen, so dass die Verlängerung fest montiert ist. Siehe Abbildung 5.
Abbildung 5
Hinweis: Den Lautsprecher an der
Halterung erst dann loslassen, wenn alle
Einstellschrauben fest angezogen sind!
Schlitz
d
DEUTSCH
e
f
m
l
Schritt 6: Kappe anbringen
Die Verlängerung (e) mit der Kappe (n) verschließen. Weitere Hinweise siehe Abbildung 6.
Abbildung 6
e
n
Sanus Systems 2221 Hwy 36 West, Saint Paul, MN 55113 USA
Kundendienst: 800.359.5520. Ergänzende Sanus-Produkte finden Sie unter www.sanus.com.
Оглавление
- International Assembly Instructions for model WMS2
- Assembly Instructions for Model: WMS2
- Instrucciones de ensamblaje del modelo: WMS2
- Montageanleitung für Modell: WMS2
- Instructions de montage pour le modèle : WMS2
- Istruzioni di montaggio per il modello WMS2
- Инструкция по сборке крепления модели WMS2
- モデルの組み立て説明書: WMS2
- WMS2 型号装配说明

