Sanus Systems VMCC1: Инструкция по сборке крепления модели VMCC1
Инструкция по сборке крепления модели VMCC1: Sanus Systems VMCC1
PYCCKO
Инструкция по сборке крепления модели VMCC1
Благодарим Вас за приобретение изделия компании Sanus Systems VMCC1. Крепление VMCC1 предназначено для
установки колонки центрального канала под настенными креплениями для плоскопанельных телевизоров Sanus
VMSA, VMAA, VMAA18, VMAA26, VMDD или VMDD26.
Внимание:
Если Вам непонятны приведенные ниже инструкции, или если возникают любые сомнения по поводу безопасности
использования установленного устройства, обратитесь к квалифицированному специалисту или в компанию Sanus по
телефону 800-359-5520 (США) или 31 (0) 20 5708938 (Европа). Вы также можете посетить наш веб-сайт www.sanus.com.
Тщательно проверьте наличие всех деталей и отсутствие заводского брака. Сотрудники нашей службы работы с покупателями
незамедлительно помогут Вам решить все вопросы, связанные с установкой устройства, а также с недостающими либо
поврежденными деталями. Запасные части к изделиям компании Sanus, приобретенным через уполномоченных агентов по
продаже, будут доставлены непосредственно по указанному Вами адресу. Не используйте бракованные детали. Неправильная
установка устройства может привести к травмированию людей и порче имущества. Это изделие может применяться
исключительно в целях, указанных производителем. Компания Sanus Systems не несет ответственности за вред здоровью или
материальный ущерб, причиненный вследствие неправильной сборки, монтажа и эксплуатации устройства. Решив вернуть
изделие в магазин, где Вы его приобрели, обратитесь, пожалуйста, сначала в компанию Sanus Systems.
Необходимые инструменты:
Крестообразная отвертка и трубный ключ.
Детали устройства и крепежные детали: Детали изображены в реальном размере.
Левый верхний удлинитель (a) – 1 шт. Правый верхний удлинитель (b) – 1 шт.
Нижний удлинитель (c) – 2 шт. Осевая скоба (d) – 2 шт.
Крепежная скоба (e) – 2 шт.
Крепежная скоба колонки (f) – 2 шт.
Опорная планка (g) – 1 шт.
Винт M4 x 10 (h) – 2 шт. Винт M4 x 30 (i) – 2 шт. Винт 1/4 - 20 x 3/8 (j) – 10 шт. Винт 1/4 - 20 x 5/8 (k) – 10 шт.
Шайба установочная (l) – 2 шт.
Гайка 1/4-20 (m) - 8 шт.
Винт 1/4 - 20 x 1500 (n) – 2 шт.
Sanus Systems
2221 Hwy 36 West, Saint Paul, MN 55113 USA 16.11.05
Служба работы с покупателями: 800.359.5520. См. дополнительные изделия производства Sanus на веб-сайте www.sanus.com
VMCC1ins_010606_ML.indd 43
1/16/06 10:32:31 AM
PYCCKO
Информация по сборке для устройств VMSA, VMAA, VMAA18 и VMAA26 приведена в пунктах Шаг 1-6. Информация
по сборке для устройств VMDD и VMDD26 приведена в пунктах Шаг 7-12.
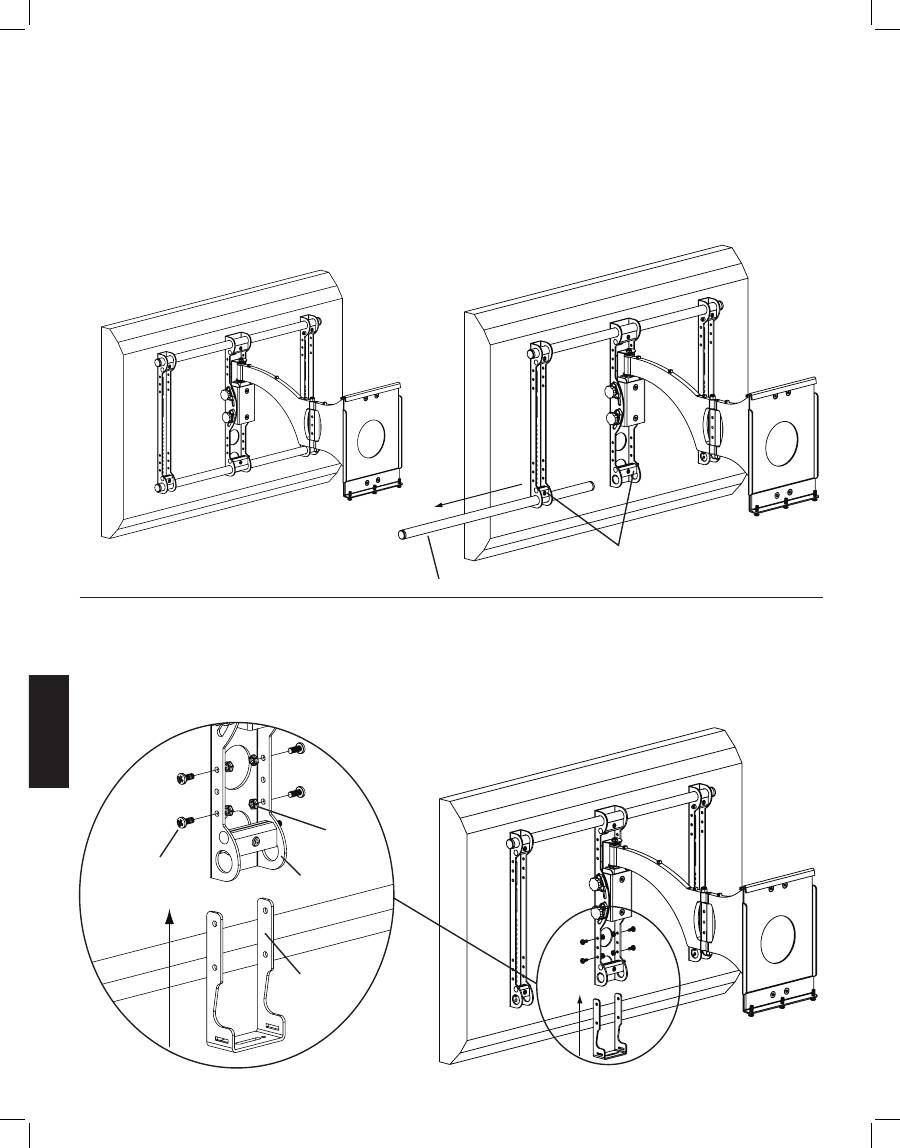
Шаг 1. Снятие крепления с настенной крепежной пластины и удаление нижней поперечной трубки из крепления.
Снимите крепление с настенной крепежной пластины. Ослабьте шестигранные винты в трех нижних зажимных
устройствах и выньте нижнюю поперечную трубку из крепления. См. рисунки 1a и 1b ниже.
Рисунок 1а
Рисунок 1b
зажимное приспособление
поперечная трубка
Шаг 2. Крепление осевых скоб
Установите осевую скобу (d) так, чтобы она соответствовала осевому узлу на креплении. Вставьте винт 1/4 - 20 x 5/8 (k)
через осевую скобу, осевой узел в гайку 1/4 - 20 (m). Аналогично зафиксируйте осевую скобу с помощью всех четырех
винтов 1/4 - 20 x 5/8 и четырех гаек 1/4 - 20. Затяните все винты с помощью крестообразной отвертки. См. рисунок 2 ниже.
Увеличенное изображение
Рисунок 2
m
k
осевой узел
d
VMCC1ins_010606_ML.indd 44
1/16/06 10:32:31 AM
PYCCKO
Шаг 3. Установка крепежных скоб
Проденьте нижнюю поперечную трубку через крепежную скобу (e), осевой узел, вторую крепежную скобу и через
вторую крепежную скобу для монитора. Затяните все три зажимные устройства, когда поперечная трубка пройдет
через вторую крепежную скобу для монитора. См. рисунок 3 ниже.
Рисунок 3
крепежная скоба для монитора
крепежная скоба
для монитора
e
осевой узел
поперечная трубка
e
Шаг 4. Установка опорной планки
Проденьте опорную планку (g) через крепежную скобу (e), осевую скобу (d) и через вторую крепежную скобу.
Опорная планка должна быть центрирована по настенному креплению. Завинтите каждый винт 1/4 - 20 x 5/8 (k) через
отверстия внизу осевой скобы так, чтобы они достигли нижней части опорной планки. См. рисунок 4 ниже.
Рисунок 4
Увеличенное изображение
g
d
e
e
k
VMCC1ins_010606_ML.indd 45
1/16/06 10:32:32 AM
PYCCKO
Шаг 5. Конфигурирование креплений колонки
Сконфигурируйте крепления колонки, как показано на рисунке ниже. Затяните все винты с помощью крестообразной
отвертки. Повторите то же самое для другого крепления колонки. Собранные удлинители могут быть отрегулированы
по вертикали для регулировки положения колонки по вертикали. Глубина колонки регулируется с помощью ряда
передних или задних отверстий в крепежной скобе колонки (f). Верхние удлинители регулируются с помощью прорези
вверху для регулировки глубины колонки. Примечание: нижние удлинители иногда могут не использоваться. В этом
случае крепежная скоба колонки (f) может прикрепляться непосредственно к верхним удлинителям (a,b)
Конфигурация 1
Конфигурация 2
a
b
j
j
c
c
f
j
j
f
Шаг 6. Присоединение креплений колонки к сборке
Завинтите винт 1/4 - 20 x 3/8 (j) через каждый верхний удлинитель (a,b) в крепежную скобу (e). Затяните, чтобы закрепить
верхний удлинитель. Завинтите винт 1/4 - 20 x 5/8 (k) через каждый верхний удлинитель. Пока не затягивайте винты 1/4
- 20 x 5/8, их следует затянуть до упора в нижнюю часть опорной планки после установки колонки.
Примечание: Для колонок, которые имеют резьбовые вставки на расстоянии от 4,4 см до 39,4 см, используйте конфигурацию 1.
Если резьбовые вставки расположены на растоянии больше 39,4 см, выступы крепежных скоб колонки должны быть
обращены в противоположные стороны. На рисунке 6 крепежные скобы колонки обращены прямо друг к другу.
Увеличенное изображение
Рисунок 6
e
a,b
j
k
VMCC1ins_010606_ML.indd 46
1/16/06 10:32:32 AM
PYCCKO
Инструкция по сборке для настенных креплений плоскопанельных телевизоров VMDD и VMDD26
Шаг 7. Снятие крепления с настенной крепежной пластины и удаление нижней поперечной трубки из крепления.
Снимите крепление с настенной крепежной пластины. Ослабьте шестигранные винты в четырех нижних зажимных
устройствах и выньте нижнюю поперечную трубку из крепления. См. рисунок 7 ниже.
Рисунок 7
зажимные
поперечная
устройства
трубка
Шаг 8. Крепление осевых скоб
Если резьбовые вставки колонки расположены на расстоянии от 3,8 см до 14,5 см, НЕТ необходимости использовать
опорную планку (g) для установки.
Установите осевую скобу (d) так, чтобы она соответствовала осевому узлу на креплении. Вставьте винт 1/4 - 20 x
5/8 (k) через внешнюю сторону осевой скобы и осевой узел в гайку 1/4 - 20 (m). Вставьте винт 1/4 - 20 x 1.5 (n) через
внутреннюю сторону осевой скобы, установочную шайбу (l) и внутреннюю сторону смежной осевой скобы. Завинтите
его в гайку 1/4 20. Проденьте опорную планку через прорези в каждой осевой скобе, она должна быть центрирована
по настенному креплению. См. рисунок 8 ниже.
Увеличенное изображение
Рисунок 8
k
m
m
l
осевой узел
осевой узел
n
d
d
VMCC1ins_010606_ML.indd 47
1/16/06 10:32:33 AM
PYCCKO
Шаг 9. Установка крепежных скоб
Примечание: Если опорная планка не была установлена на шаге 8, установите здесь только поперечную трубку.
Проденьте нижнюю поперечную трубку через крепежную скобу монитора, первую крепежную скобу (e), оба осевых узла,
вторую крепежную скобу и через вторую крепежную скобу для монитора. Затяните все четыре зажимные устройства, когда
поперечная трубка пройдет через вторую крепежную скобу для монитора. Завинтите каждый винт 1/4 - 20 x 5/8 (k) через
каждое отверстие внизу осевой скобы (d) так, чтобы они достигли нижней части опорной планки (g). См. рисунок 9 ниже.
Рисунок 9
Увеличенное изображение
g
d
k
Шаг 10. Конфигурирование креплений колонки без установки опорной планки. При использовании опорной планки, см.
конфигурацию в шаге 5.
Сконфигурируйте крепления колонки, как показано ниже. Затяните все винты с помощью крестообразной отвертки.
Повторите то же самое для другого крепления колонки. См. рисунки внизу. Удлинители (a,b,c) могут быть отрегулированы
по вертикали для регулировки положения колонки по вертикали. Глубина колонки регулируется с помощью ряда
передних или задних отверстий в крепежной скобе колонки (f). Верхние удлинители регулируются с помощью прорези
вверху для регулировки глубины колонки. Примечание: нижние удлинители иногда могут не использоваться.
Конфигурация 3
Конфигурация 4
a
b
j
j
c
c
j
j
f
f
VMCC1ins_010606_ML.indd 48
1/16/06 10:32:34 AM
PYCCKO
Шаг 11. Присоединение креплений колонки к сборке без установки опорной планки
Завинтите винт 1/4 - 20 x 3/8 (j) через каждый верхний удлинитель (a,b) и через прорезь осевой скобы (d) в гайку
1/4 - 20 (m). Затяните, чтобы закрепить верхний удлинитель. См. рисунок 11 ниже.
Примечание: для колонок, которые имеют резьбовые вставки на расстоянии от 9,5 см до 14,5 см от выступов крепежных
скоб колонки, они должны быть обращены в разные стороны. Если резьбовые вставки расположены на расстоянии от
3,8 см до 9,5 см, выступы крепежных скоб колонки должны быть обращены прямо друг к другу. В приведенном ниже
примере, крепежные скобы колонки сконфигурированы для резьбовых вставок на расстоянии от 9,5 см до 14,5 см.
Увеличенное изображение
Рисунок 11
d
m
a
b
j
Шаг 12. Присоединение креплений колонки к сборке с установкой опорной планки
Завинтите винт 1/4 - 20 x 3/8 (j) через каждый верхний удлинитель (a,b) в крепежную скобу (e). Затяните, чтобы закрепить верхний
удлинитель к крепежной скобе. Завинтите винт 1/4 - 20 x 5/8 (k) через каждый верхний удлинитель. Пока не затягивайте винты
1/4 - 20 x 5/8, их следует затянуть до упора в нижнюю часть опорной планки после установки колонки. См. рисунок 12 ниже.
Примечание: для колонок, которые имеют резьбовые вставки на расстоянии от 14,5 см до 39,4 см, выступы крепежных
скоб колонки должны быть обращены друг к другу. Если резьбовые вставки расположены на расстоянии больше
39,4 см, выступы крепежных скоб колонки должны быть обращены в противоположные стороны. В приведенном ниже
примере, крепежные скобы колонки сконфигурированы для резьбовых вставок на расстоянии от 14,5 см до 39,4 см.
Увеличенное изображение
Рисунок 12
e
a,b
j
k
VMCC1ins_010606_ML.indd 49
1/16/06 10:32:35 AM
PYCCKO
Шаг 13. Установка колонки центрального канала на VMCC1
Передвигайте крепежные скобы (e) пока крепежные скобы колонки (f) не будут выровнены с резьбовыми вставками
в задней части колонки. Выберите подходящие для колонки центрального канала винты, ввинчивая вручную винты
M4 x 10 (h), M5 x 10 (i) или 1/4 - 20 x 3/8 (j) в резьбовые вставки в задней части колонки. Выбрав подходящий винт,
вставьте его через каждую крепежную скобу колонки и ввинтите его в колонку центрального канала. Затяните все
винты с помощью крестообразной отвертки. См. рисунок 13 ниже.
Теперь можно отрегулировать положение колонки относительно телевизора, перемещая ее влево или вправо. Определив
положение, затяните установленные на шаге 6 винты 1/4 - 20 x 5/8 (k) до упора в нижнюю часть опорной планки.
Для регулировки вертикального положения колонки, ослабьте винты 1/4 - 20 x 3/8 в верхних и нижних удлинителях и
установите колонку центрального канала в нужное положение.
См. шаг 5 для регулировки глубины колонки.
Рисунок 13
колонка
f
j
Sanus Systems
2221 Hwy 36 West, Saint Paul, MN 55113 USA 16.11.05
Служба работы с покупателями: 800.359.5520. См. дополнительные изделия производства Sanus на веб-сайте www.sanus.com
VMCC1ins_010606_ML.indd 50
1/16/06 10:32:36 AM

