Eneo HDB-1080Z03IR B: DE DE EN EN FR FR PL PL RU RU
DE DE EN EN FR FR PL PL RU RU: Eneo HDB-1080Z03IR B

Installation
DE
DE
EN
EN
FR
FR
PL
PL
RU
RU
ATTENTION . N´UTILISEZ JAMAIS CETTE CAMÉRA
1) dans l´EAU.
2) dans les zones dans lesquelles des chocs ou des vibrations peuvent
entraver le bon fonctionnement de la mise au point automatique.
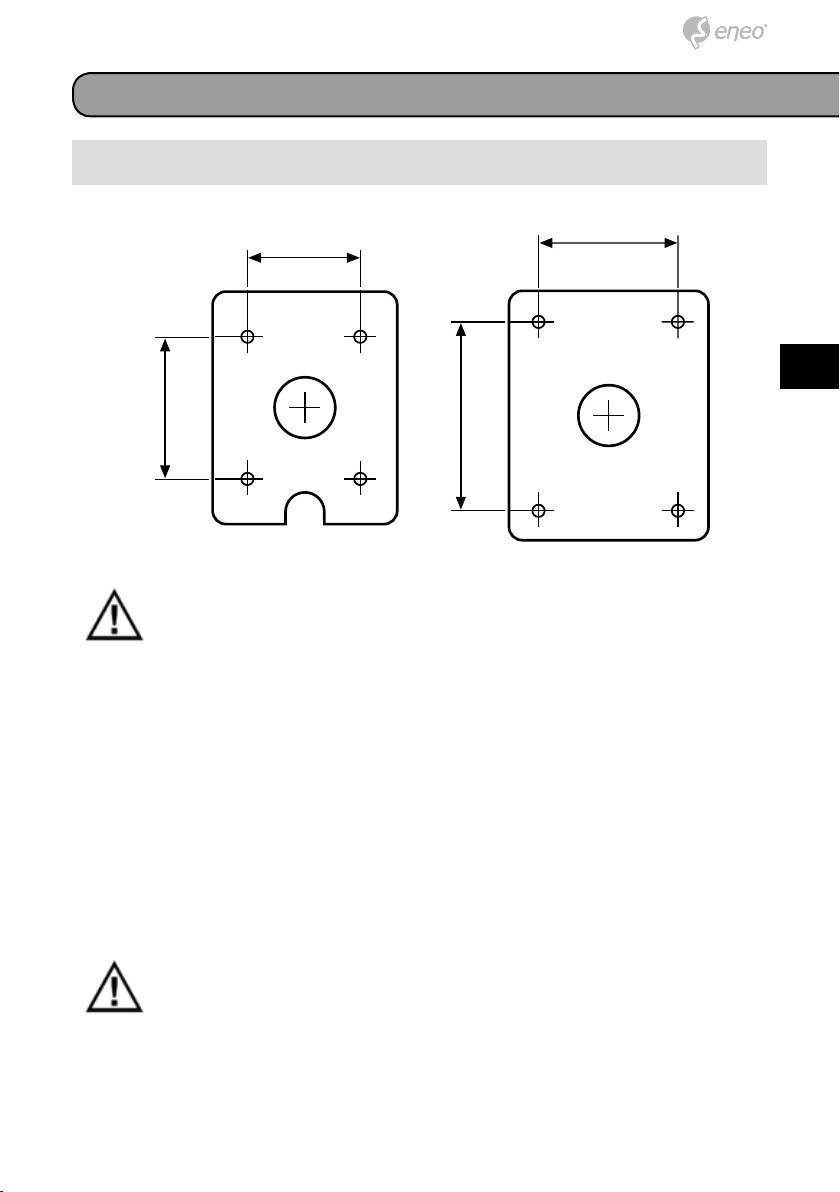
1) Effectuer les perçages en utilisant le gabarit ci-joint.
2) Insérer les vis d´ancrage dans les perçages.
2a) Easy Bracket : Positionner l´ EASY
BRACKET à l´endroit foré. Fixer
l´EASY BRACKET à l´aide des vis
de fixation murale.
3. Acheminez le câble vers le point de connexion.
Veillez à ne PAS endommager, déformer ou exposer le câble dans une
zone dangereuse.
La caméra peut fonctionner en 24AC ou en 12VDC ainsi qu’avec une alimentation
bitension. En cas d’utilisation d’une alimentation électrique 12VDC ou 24VAC, veuil-
lez procéder comme suit :
27
27
56
76
45
57
56
76
45
57
Support Easy Bracket et support standard

• Assurez-vous que l´alimentation secteur est déconnectée.
• Respectez la séquence de mise sous tension.
Connectez d´abord le connecteur basse tension (AC24V ou DC12V), puis l´adapta-
teur CA aux sorties de courant alternatif afin d´éviter une réinitialisation inopportune
due à une instabilité de l´alimentation et des dommages en cas de surtension sans
charge. Il est fortement recommandé de respecter la polarité de la connexion pour
l’alimentation de 12 VCC, dans le cas contraire les DELs infrarouges ne s’activeront
pas la nuit.
4a) Easy Bracket : Accrocher le support
4b) Support standard : Positionner les
de fixation ⓘ à l´attache ⓚ.
pieds de support (4x) ⓔ sur les
perçages.
5a) Easy Bracket : Fixer le pied de
5b) Standard Bracket : Fixez le support à
support ⓓ sur l´ EASY BRACKET
l´aide de vis de fixation murale.
à l´aide des boulons (4x) à travers
l´orifice de montage du pied (4x) ⓔ.
6. Réglez l’angle de la caméra (panoramique, inclinaison).
Le panoramique est limité à +/- 80°.
L’inclinaison est limitée à une fourchette de 0° (2°) min ~ 90° max. pour une ins-
tallation murale (au plafond) par rapport au plafond lorsque l’inclinaison du module
caméra est à 0°, c’est-à-dire lorsque l’image est alignée horizontalement.
2828

