JVC KD-DB711: ~
~ : JVC KD-DB711

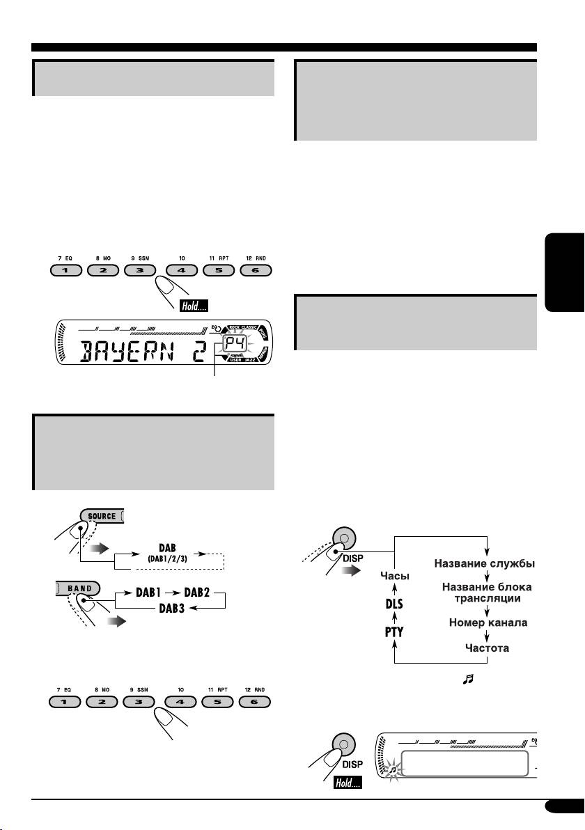
Операции с тюнером DAB
Прослушивание тюнера DAB
Настройка на блок трансляции вручную
~
В действии ! слева...
РУCCKИЙ
1
Ÿ
2
Выберите частоты желаемых блоков
трансляции.
! Начните поиск блока
трансляции.
Что такое система “DAB”?
Система DAB обеспечивает качество звука,
сравнимое с качеством звука компакт-
При обнаружении блока трансляции
диска, без помех и искажений. Кроме
поиск прекращается.
того, она поддерживает передачу текста,
Чтобы остановить поиск, нажмите
графических изображений и данных.
эту же кнопку еще раз.
В процессе передачи DAB совмещает
несколько программ (называемых
“службами”), формируя единый “блок
⁄ Выберите службу для
трансляции”. Кроме того, каждая “служба”,
прослушивания (основную или
называемая “основной службой”, может
дополнительную).
состоять из отдельных компонентов
(называемых “дополнительными
службами”). Типичный блок трансляции
состоит из шести или более программ
(служб), транслируемых одновременно.
Данный приемник может выполнять
следующие операции:
•
Автоматическое отслеживание той же
самой программы прием на альтернативных
частотах (см. раздел “DAB AF” на стр. 24).
14
RU12-19_KD-DB711[EY]f.indd 14RU12-19_KD-DB711[EY]f.indd 14 1/10/05 5:10:33 PM1/10/05 5:10:33 PM

Сохранение служб DAB
Отслеживание той же
Для каждого диапазона частот можно
самой программы (прием на
запрограммировать шесть служб DAB
альтернативных частотах)
(основных).
1 Выполните действия с ~ по ⁄ на
Можно продолжать прослушивание одной
и той же программы с помощью функции
стр. 14, чтобы выбрать нужную
приема на альтернативных частотах.
службу.
В настройках, установленных на заводе-
2 Выберите запрограммированный
изготовителе, прием на альтернативных
номер (1 – 6) для которого
частотах включен.
необходимо выполнить сохранение.
Информацию об отключении приема на
альтернативных частотах см. раздел “DAB AF”
на стр. 24.
РУCCKИЙ
Прочие основные
возможности DAB
7 PTY Search
• Операции в точности соответствуют
Запрограммированный номер мигает
описанию для радиостанций FM RDS на
некоторое время.
стр.11 и 12 .
• Невозможно сохранять коды PTY
отдельно для тюнера DAB и для тюнера
Настройка на
FM.
запрограммированную
7 Резервный прием TA
• Операции в точности соответствуют
службу DAB
описанию для радиостанций FM RDS на
стр. 12.
7
Изменение отображаемой информации
1
2
3 Выберите номер (1 – 6) нужной
запрограммированной службы
DAB (основной).
• Когда отображается значок :
Mожно установить функцию Dynamic
Label Segment (DLS = информация
радиотекста DAB).
Если выбранная основная служба содержит
Значок DLS
дополнительные службы, нажмите
отображается на время.
эту кнопку еще раз для настройки на
дополнительные службы.
15
RU12-19_KD-DB711[EY]f.indd 15RU12-19_KD-DB711[EY]f.indd 15 1/10/05 5:10:33 PM1/10/05 5:10:33 PM

Операции с дисками
Воспроизведение диска
Все дорожки будут
воспроизводиться
последовательно до тех
пор, пока не произойдет
смена источника или не
будет извлечен диск.
• При установке звукового компакт-диска
О дисках MP3 и WMA
или CD-текста:
РУCCKИЙ
“Дорожки” MP3 и WMA (Windows
®
Media
Audio) (слова “файл” и “дорожка”
взаимозаменяемы в данном руководстве)
записываются в “папки”.
Общее время
Общее количество
• При установке дисков MP3 или WMA:
воспроизведения
дорожек
вставленного
вставленного
диска
диска
CD-текст: Название диска/исполнитель
= Название дорожки появляется
автоматически (см. стр. 18).
Общее количество
Общее количество
папок
файлов
Истекшее время
Номер текущей
Информация диска
воспроизведения
дорожки
автоматически (см. стр. 18)
отображается.
Останов воспроизведения и извлечение
Выбранный номер папки
диска
Истекшее время
Номер текущей
воспроизведения
дорожки
* Загорается индикатор MP3 или WMA, в
зависимости от первого найденного файла.
16
RU12-19_KD-DB711[EY]f.indd 16RU12-19_KD-DB711[EY]f.indd 16 1/10/05 5:10:34 PM1/10/05 5:10:34 PM

Быстрая перемотка дорожки вперед или
Непосредственное определение
назад
местоположения дорожки (для компакт-
диска) или папки (для дисков MP3 или WMA)
Прокрутка вперед.
Выбор номера 01 – 06:
Прокрутка назад.
Выбор номера 07 – 12:
Переход к следующим/предыдущим
дорожкам
• Для использования функции поиска папок
К следующим
на дисках MP3 или WMA необходимо
дорожкам.
присвоить папкам номера из 2-х цифр,
РУCCKИЙ
добавляемые в начало имен папок: 01, 02,
03 и т.д.
• Выбор определенной дорожки в папке
Переход к началу текущей дорожки, а
(для дисков MP3 или WMA) после
затем к предыдущим дорожкам.
выбора папки:
Переход к следующим или предыдущим
папкам (только для диска MP3 или WMA)
1
Запрещение извлечения диска
Можно заблокировать диск в загрузочном
отсеке.
2
К следующим
папкам.
К предыдущим папкам.
Для отмены блокировки повторите эту же
процедуру.
17
RU12-19_KD-DB711[EY]f.indd 17RU12-19_KD-DB711[EY]f.indd 17 1/10/05 5:10:34 PM1/10/05 5:10:34 PM

Изменение информации на дисплее
При воспроизведении звукового компакт-диска или CD-текста
1
*
Если текущим диском является звуковой компакт-диском, появляется надпись
РУCCKИЙ
“NO NAME”.
При воспроизведении диска MP3 или WMA
• Если для параметра “TAG DISP” установлено значение “TAG ON” (см. стр. 24)
2
*
Если в файле MP3 или WMA нет тегов ID3, появляется имя папки и имя файла. В
этом случае индикатор TAG не загорается.
• Если для параметра “TAG DISP” установлено значение “TAG OFF”
18
RU12-19_KD-DB711[EY]f.indd 18RU12-19_KD-DB711[EY]f.indd 18 1/12/05 6:56:23 PM1/12/05 6:56:23 PM

Выбор режимов воспроизведения
В одно и то же время возможна работа только в одном из следующих режимов
воспроизведения.
1
2 Выберите необходимый режим воспроизведения.
Повторное воспроизведение
Режим Повторное воспроизведение
TRK RPT: Текущая дорожка.
• Загорается индикатор RPT.
РУCCKИЙ
FLDR RPT*: Всех дорожек текущей папки.
• Загораются индикатор
и
RPT.
RPT OFF: Отмена.
Пример: Если во время воспроизведения
диска MP3 выбрано “TRK RPT”
Воспроизведение в произвольном
Режим Воспроизведение в
порядке
произвольном порядке
FLDR RND*: Все дорожки текущей папки,
затем дорожки следующей
папки и т.д.
• Загораются индикаторы
RND и
.
DISC RND: Для всех дорожек на диске.
• Загораются индикаторы
Пример: Если во время воспроизведения
RND и
.
диска MP3 выбрано “DISC RND”
RND OFF: Отмена.
* Только при воспроизведении дисков MP3 или WMA.
19
RU12-19_KD-DB711[EY]f.indd 19RU12-19_KD-DB711[EY]f.indd 19 1/12/05 6:56:26 PM1/12/05 6:56:26 PM






