Gorenje GMO-23 Ora Ito W – page 4
Manual for Gorenje GMO-23 Ora Ito W
Table of contents
- SPECIFICATIONS Radio interference Before you call for service Installation
- IMPORTANT Important safety instructions Safety instructions for general use
- 16. To reduce the risk of fire in the oven cavity:
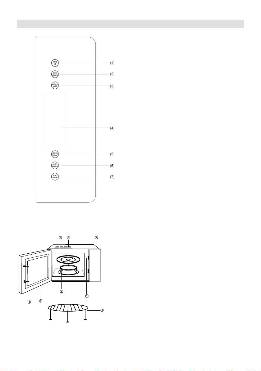
- Computer control panel Feature diagram
- Operation Instruction 6. Auto-Menu
- 10. Start/Reset
- Care of your microwave oven Environment Guarantee & service

61
6.
n egy kis
7. -
-
-
-
8.
9.
Krnyezetvdelem
A feleslegess vlt kszlk szelektv
hulladkknt kezelend. Krjk, hivatalos
jrahasznost gyjthelyen adja le, gy
hozzjrul a krnyezet vdelmhez.
A
N!
-
oldalon:
http://microwave.gorenje.com

62
INSTRUKCJA PL
Charakterystyki techniczne
Zasilanie elektryczne .............................................................................................. 230V~50Hz,1280W
............................................................................................................................. 900W
Mo ................................................................................................. 1200W
.......................................................................................................... 2450MHz
Wyrzne: ................................................................. X 303mm(V) X 405mm(G)
Wymiary w ....................................................... 330mm(Sz) X 212mm(V) X 330mm(G)
............................................................................................................... 23
Waga netto: ...................................................................................................................... ,5 kg
................................................................................................................ Lc < 58 dB (A)
radiowych i elewizyjnych
telewizyjnych,
a)
uszczelek.
b)
jak najdalej od kuchenki mikrofalowej.
Przed wezwaniem serwisu
c)
1.
umieszczenie
a)
w warunkach gospodarstwa domowego.
kuchenki z gniazdka zasilania
elektrycznego i po 10 sekundach
b)
Instalacja
1.
elektryczne.
2. odzi
drzwiczek.
a)
2.
b)
posiada
-
przeciwnym razie emisja enerii
- uszkodzone drzwiczki,
- wgniecenia lub dziury w szkle (oknie) na
problemu, mimo wykonania w/w
- wgniecenia w komorze kuchenki.
autoryzowanego punktu serwisowego.
e z
elektronicznych (waste electrical and
electronic equipment - WEEE).

63
3.
14,5
UWAGA: Podczas korzystania z funkcji
mikrofale + grill dochodzi do znacznego
4.
wzrostu temperatury. W tym wypadku
wysokich temperatur i pary.
5.
niczego.
6.
fu
UWAGA:
bokach
UWAGA: Wykonywanie jakichkolwiek
7. podstawy
obrotowej talerza.
8.
mikrofalowej przez dzieci powinno
wykwalifikowana.
UWAGA: Cieczy
9.
10. Kuchenka mikrofalowa wymaga mocy 1,3
UWAGA:
kVA
orady pracownika punktu
serwisowego lub wykwalifikowanej osoby.
sensorycznymi lub
UWAGA: Kuchenka mikrofalowa jest
poinstruowane na temat korzystania z tego
WANE:
Ni
ego:
Zieleno- uziemienie
Niebieski: neutralny
dostateczne
8 cm
przestrzeni, po bokach przynajmniej 10 cm
10 cm. Usu
- przewodnik koloru zielono-
E
zabronione.
lub symbolem uziemienia.
-
N
przeznaczonych do zastosowania w
kuchenkach mikrofalowych.
-
L
pojemnikach plastykowych lub

64
Mikrofalowe
3. Nie
4.
one podgrzewane.
itp.
5.
6.
7.
8.
na szklanym talerzu.
Do czyszczenia drzwiczek kuchenki,
odpowiedniego naczynia.
:
szmatek.
-
metalowymi uchwytami.
- n
- klamer drucianych powlekanych
uszkodzenia jej powierzchni, co z kolei
-
W przypadku uszkodzenia przewodu
em. Co
za
producent, autoryzowany serwis lub
odpowiednio do tego celu wykwalifikowana
-
osoba.
-
butelek
kuchenki
-
(po
Zapewni to bezpieczne i najskuteczniejsze
kuchenkach mikrofalowych.
9. w
1.
10.
umieszczone na swoim miejscu.
2.
11.

65
12.
13.
- 60
lub dodaniu kostki Maggi
14.
przygotowywaniem. Do podgrzewania
z
tworzyw sztucznych..
15.
onnych, podczas
16.
a)
podgrzewa
b)
c) nki
wtyczki z gniadzka lub przez
tablicy rozdzielczej.

66
Opis kuchenki
1.
2. -
3.
(mikrofale, rozmaraanie, ruszt i
kombinacja)/ Cooking mode (microwave,
defrost, grill and combination)
4.
5. Ustawien/
Time set and Timer
6.
7. / Start
reset function
1.
2. Okno kuchenki
3. Odwietrznik
4.
5. Szklany talerz
6.
7. Ruszt do grilowania

67
3.
1.
jednego przycisku
pot
gotownia. Funkcja ta jest bardzo wygodna i
podgrzanie szklanki wody itp.
a)
Podgrzanie szklanki melka
a)
menu".
na szklanym talerzu obrotowym i
b)
b) Start/Reset"
przyciski "1min" (1 kg) i "10sec" (0,1
kg).
c) Kuchenka zostanie uruchomiona,
"Start/Reset".
c)
2. Podgrzewanie przy pomocy
4. Grill
mikrofali
przycisk Meni automatycznego
a) Szybkie podgrzewanie mikrofalami
60 min)
czas
85% mocy grillowania, na
-1
1.
50% mocy grillowania, na
"5:00".
-2
2. ".
b)
grillu, 20 minut
a)
1.
menu"
mikrofali np. 70%;
-1".
2.
b)
3. Start/Reset".
c)
n
emanuje
wynosi 60 minut.
poziomach, po
"Micro"
A
sugarak
Felirat a
1
100%
P100
2
70%
P70
3
50%
P50
4
30%
P30
5
10%
P10

68
5. Kombinowane
kombinacji mikrofali i grilla.
55%
mikrofale + 45% grill
zostanie
komunikat "C-2".
30%
mikrofale + 70% grill
zostanie -1".
2, 15 minut
a)
gotowania" ,
-2".
b)
c)
6. Menu automatyczne
ali.
ryby
a)
-5".
b)
sec" (0,1 k
"0,4".
c)
Liczba
na
przycisk
"1min"
A-1
A-2
Warzywa
A-3
Makaron
1
0,1
0,1
1
2
0,2
0,2
2
3
0,3
0,3
4
0,4
0,4
5
0,5
0,5
6
0,6
Liczba
na przycisk
"1min"
A-4
A-5
Ryba
A-6
1
0,2
0,2
0,2
2
0,3
0,3
0,4
3
0,4
0,4
0,6
4
0,5
0,5
0,8
5
0,6
0,6
1,0
6
0,8
0,8
7
1,0
1,0
7. Zegar dygitalny
Kuchenka jest zaopatrzona w zegar
dygitalny. W celu ustawienia czasu
1.
2. zycisk
minuty.
3.
Nowo ustawiony czas zostanie
4.
8. Timer
iwia dowolne ustawienie
W tym momencie jest 16:30. Z
18:15. Chcemy aby
minut.
a)
na 18:15 (identyczny proces jak
podczas ustawiania zegara).
b)
c)
minut
d)
przycisku "Sta

69
9.
przyciski " " i
" -
10. Start / Reset
wyd
a)
b) W przypadku ustawienia
automatycz
iejsce.
8.
kuchenki zastanie zanulowane w chwili
mikrofalowej czyszczenie i
Po zak
konserwacja
1.
9.
2.
serwisowym.
resu eksploatacyjnego
3.
Gwarancja i serwis naprawczy
W celu uzyskania informacji lub w razie
4.
aerosolu.
5.
powierzchniach kuchenki osiada para,
uszkodzenia.
6.
WIELE SATYSFAKCJI Z
KORZYSTANIA KUCHENKI
7.
Dodat
http://microwave.gorenje.com

70
MANUAL DE UTILIZARE RO
CARACTERISTICI
Consum ................................................................................................................. 230V~50Hz, 1280W
Capacitate ................................................................................................................................... 900W
.............................. 1200W
............................................................................................................. 2450MHz
Dimensiuni exterioare .................................................................. 510mm(L) x 303mm(H) x 405mm(W)
Dimensiuni cavitate cuptor ........................................................... 330mm(L) x 212mm(H) x 330mm(W)
Capacitate cuptor ......................................................................................................................... 23 litri
Greutate ....................................................................................................................... Approx. 14,5 kg
Nivel de zgomot: .............................................................................................................. Lc < 58 dB (A)
cu radio-ul, televizorul sau alte echipamente
(waste electrical and electronic
equipment - WEEE).
Directiva prescrie cadrul pentru o
a)
valorificarea aparatelor vechi.
b)
departe de cuptorul cu microunde;
c)
1.
e stinge:
a)
Instalare
1. i toate materialele de ambalare din
-
interiorul aparatului.
-l la loc.
2.
b)
-
-
un alt aparat.
-
2.
a) -ul este setat.
- nu sunt cr
b)
-
nu va porni.
3. Acest cuptor are o greutate de 14,5
-i suporta
greutatea.
4. Aparatul -un loc unde
5.
6.
cm pentru o ventilare
7.
8.

71
ACEST APARAT TREBUIE
a)
Pentru acest cuptor este nevoie de o putere
inflamabile.
de alimentare de 1.3 KVA, de aceea este
b) cuptor
c)
Cuptorul este protejat de o
IMPORTANT Cablurile sunt colorate
Albastru Neutru
dvs.
Maro Activ
1. -
terminalul marcat cu litera E sau cu simbolul
aceasta sunt la locul lor.
Cablul albastru trebuie conectat la terminalul
2.
marcat cu litera N
maro trebuie conectat la terminalul marcat cu
litera L
produse care nu sunt alimentare, sau
pentru a steriliza anumite lucruri.
importante
3.
deoarece se poate strica.
ATEN pentru a reduce riscul de arderi,
4.
etc.
1.
5.
a utiliza cuptorul
conservelor, deoarece cuptoarele cu
2.
recipientele sigilate (cum ar fi, de exemplu,
iar alimentele care nu sunt bine conservate
pot exploda, de aceea nu este recomandat
6.
3. Cuptorul trebuie utilizat doar pentru
4.
aproximativ un minut.
fizice, mentale sau senzoriale reduse sau
7.
sunt lipsite de
ivire la utilizarea aparatului
8. re de pe
corpul aparatului.
5.
9.
deteriorat.
6.
10.
cavitatea cuptorului respecta

72
IMPORTANT CE VASE NU TREBUIE
MICROUNDE:
-
-
-
-
l care absoarbe energia
-
-
termometre speciale pentru cuptoarele cu
microunde.
11. Instrumentele pentru microunde trebuie
12.
alimentelor.
13.
e numai lichidul dintr-un recipient.
capacul de pe vas.
14.
-
temperatura.
15.
-60 de
-a oprit.
16.
cum ar fi budincile, gemul, ca
plastic.
17.

73
PANOU DE COMENZI
1. TIMP SUS
2. TIMP JOS
3. Microunde / Dezghetare / Grill /
Grill dublu
4. fereastra afisaj
5. Ceas / Cronometru
6. AUTO / MENIU
7. PORNIT / ANULARE
1. Sistem de blocare a usii
2. Geam
3. Ventilare
4. Inel rotativ
5. Tava
6. Panou de comenzi
7. Grill

74
4. Grill
Instructiuni de funtionare
Aceasta functie are doua optiuni. Puteti
1. Incalzire cu un singur buton
alege intre cele doua apasand pe butonul
Apasati butonul doar o data pentru a porni
u" (durata maxima de
incalzirea este o modalitate rapida de a
preparare a mancarii este de 60 de minute):
incalzi un pahar cu apa etc.
Optiunea 1: 85% putere grill, afisaj G-1
Exemplu: Pentru a incalzi un pahar cu
Optiunea 2: 50% putere grill, afisaj G-2
lapte
Exemplu: Prepararea mancarii folosind
a) Puneti paharul de lapte pe tava de
grill-ul pentru 20 de minute.
sticla rotativa si inchideti usa.
a)
b) Start/Reset
cand pe se afiseaza pe LED "G-1".
cuptorul cu microunde va functiona la
b) Setati durata de preparare la "20:00"
100% putere timp de un minut.
c) Apasati "Start/Reset"
c) La final veti auzi 5 semnale sonore.
Atunci cand utilizati grill-ul, mancarea
nu este incalzita de microunde.
2. Incalzire microunde
Caldura este raspandita de la
Aceasta functie are doua optiuni.
rezistenta de metal din partea
a) Incalzire microunde rapida (100%
superioara a cuptorului.
putere)
Atunci cand functia grill functioneaza,
Exemplu: Pentru a incalzi mancarea la
durata de preparare este impartita in
100% putere timp de 5 minute
doua etape. Dupa prima etapa,
1.
programul se va opri automat si se vor
2. Start/Reset
auzi doua semnale sonore, pentru a va
b) Functionare manuala incalzire
avertiza ca trebuie sa deschideti usa
microunde
cuptorului si sa intoarceti mancarea.
Exemplu: Pentru a incalzi mancarea la
Inchideti usa, dupa ce ati intors
70% putere timp de 10 minute
mancarea. Apasati butonul
1. Apasati butonul ,
"Start/Reset" si procesul de preparare
a mancarii va continua cu cea de-a
2. Set
doua etapa. Daca nu vreti sa intoarceti
3. Start/Reset
mancarea, cuptorul va porni singur
dupa un minut de pauza.
Exista 5 niveluri de putere, iar durata cea mai
5. Gatire combinata
lunga de preparare la microunde este de 60
minute.
Cu acest produs aveti mai multe variante de
gatire combinata.
Optiunea 1 : Gatire combinata (55%
microunde + 45% grill)
LED-ul va afisa "C-1"
Optiunea 2 : Gatire combinata (30%
microunde + 70% grill)
LED-ul va afisa "C-2".
Exemplu: Prepararea mancarii folosind
optiunea 2 pentru 15 minute.
3. Auto-dezghetare
a)
Selectati greutatea alimentelor congelate,
cand pe LED apare "C-2"
iar acest lucru va va ajuta sa reglati
b) Setati timpul de gatire pentru "15:00"
automat nivelul de putere si timpul.
c) Apasati "Start/Reset"
Exemplu: dezghetare 0.5kg de carne
6. Auto-Meniu
congelata.
a) Apasati pentru a
selecta "DEF".
re
b) Introduceti greutatea apasand butonul
"1min" (1kg) si butonul "10 sec"
(0.1kg).
Exemplu: Auto preparare 0.4 kg peste
c) Apasati " Start/Reset ".
a)
Greutatea alimentelor congelate nu trebuie
pana cand se afiseaza "A-5".
sa depaseasca 2 kg.
Nr. Atingeri
"Micro"
Putere
microunde
Afisaj
1
100%
P100
2
70%
P70
3
50%
P50
4
30%
P30
5
10%
P10

75
b) Introduceti greutatea apasand pe
butonul "1 min" (1 kg) si pe butonul
"10 sec" (0.1 kg).
c) Apasati "Start/Reset".
Numar
atingeri
"1min"
Menu, Weight (kg)
A-1
Orez
A-2
Legume
A-3
1
0,1
0,1
1
2
0,2
0,2
2
3
0,3
0,3
4
0,4
0,4
5
0,5
0,5
6
0,6
Numar
atingeri
"1min"
Menu, Weight (kg)
A-4
Carne
A-5
Peste
A-6
Pui
1
0,2
0,2
0,2
2
0,3
0,3
0,4
3
0,4
0,4
0,6
4
0,5
0,5
0,8
5
0,6
0,6
1,0
6
0,8
0,8
7
1,0
1,0
dupa ce ati programat ceasul, aparatul
va incepe sa lucreze ca un ceas.
La 18:15 se vor auzi 10 sunete sonore
si aparatul se va opri.
9. Blocare pentru copii
Pentru a activa sistemul de blocare pentru
copii, apasati " TIMP SUS " si " TIMP JOS "
in acelasi timp, timp de 2 secunde.
Apasati " TIMP SUS " si " TIMP JOS " in
acelasi timp timp de doua secunde din nou,
pentru a debloca aparatul.
10. Start/Reset
a) In perioada de functionare apasati
butonul "Start/Reset" pentru a opri
functionarea.
b) Daca a fost setat un program inainte
de a apasa start, apasati acest buton
pentru a anula orice setare.
1. -
de a-
2. ie tot timpul
7. Ceas
Cuptorul are un ceas digital cu formatul 24
-
de ore,
Pentru a seta timpul de exemplu la 4:30pm:
a) Apasati butonul "Clock/Timer". Afisajul
incepe sa clipeasca, reglati ora cu
puternici sau abrazivi.
butoanele "1 Min" si "10 Sec".
3. Exteri
b) Apasati "Clock/Timer" din nou, reglati
minutele cu butoanele "1Min" si "10
Sec".
ventilare.
c) Apasati "Clock/Timer" din nou si
4.
ceasul va fi setat.
-
d) Daca schimbati ora, repetati procedura
razive
de mai sus.
sau spayuri pentru panoul de comenzi.
5.
8. Timer
Aceasta va permite sa setati cuptorul cu
microunde sa porneasca si sa se opreasca
-
la un timp dinainte stabilit.
Ceasul trebuie setat inainte de a folosi
aparatului.
aceasta functie.
6.
Exemplu: ora curenta este 16:30, iar dvs.
-
doriti sa inceapa gatitul la ora 18:15 cu 70%
putere, pentru 10 minute:
7.
a) Apasati "Clock/Timer", setati timpul la
"18:15" apasand pe butoanele "1Min"
si "10 Sec" , (ca atunci cand setati ora)
b)
selecta 70% putere.
c) Setati durata de gatit la 10.
d) Apasati "Start/Reset"
Daca nu setati puterea si durata de
gatire si apasati direct butonul start,

76
la
8.
-
mi
9.
-l la un punct oficial de colectare pentru
-
Departamentul de Service al Aparatelor
Domestice Gorenje
NUMAI PENTRU UZ PERSONAL!
VA DORESTE SA FOLOSITI CU
PLACERE ACEST APARAT
Mai multe informatii privind gatitul la
microunde, grill si sfaturi utile puteti gasi pe
:
:
http://microwave.gorenje.com

77
U SK
ia.
Spotreba energie: ................................................................................................... 230V~50Hz,1280W
......................................................................................................................................... 900W
................................................................................................................................ 1200W
............................................................................................................. 2450MHz
zmery: ......................................................................X 303mm(V) X 405mm(H)
................................................................X 212mm(V) X 330mm(H)
Ob ............................................................................................................................... 23 litrov
....................................................................................................................Pribl4,5 kg
.................................................................................... < 58 dB(A)
b)
o
c)
a
re
In
1.
2.
1.
-
alebo zobrazenie zmizne:
-
a)
- Vydutia alebo diery v
obrazovke
a
-
b)
a
3. ,5 kg a
v
2.
4. vysokou
a)
teplotou a parou.
b) Skontroluj
5.
predmety.
6.
a vzadu 10 cm.
7.
taniera.
8.
el
VAROVANIE-
9. malej vzdialenosti.
10. 3 KVA pre jej vstup,
s
UPOZORNENIE:
a) ry.

78
nasledovne:
pa
Zem
nevznietili;
Ak spozorujete dym, vypnite alebo odpojte
zariadenie a
nasledovne:
-
E alebo
pred
symbolom uzemn
zeleno-
-
Vajcia v
N alebo
neohrievajte v
-
ohrievania;
L alebo
pokyny
mali
ky pokrmov;
VAROVANIE:
v
zariadenia a
modely s funkciou grilovania)
VAROVANIE:
osobou;
VAROVANIE:
mikrovlnnou energiou.;
VAROVANIE: Tekutiny a
a
WARNING:
1. majte na svojom
spojky).
2.
na sterilizovanie.
3.
4.
5. blanou, ako je
8 0 cm
10cm z

79
6.
predmety.
7.
15.
prenosu tepla z
8.
pri riade s
riad.
-
16.
a)
-
s
-
-
b)
-
c)
prasknutie riad
a
vypnite
-
poistkovej skrini.
-
s
explo
-
teplomery.
-
9.
s
10.
11.
len tekutinu v
12. okrmu,
z
a
teplo.
13. Pokrm obsahuje zmes tuku a vody, napr.
-60
14.
a

80
1.
2.
3.
4. Okno displeja
5.
6. AUTO / MENU
7. START / RESET
POPIS ZARIADENIA
1.
2.
3.
4.
5.
6.
7.






