Gorenje GMO-23 Ora Ito – page 2
Manual for Gorenje GMO-23 Ora Ito
Table of contents
- SPECIFICATIONS Radio interference Before you call for service Installation
- IMPORTANT Important safety instructions Safety instructions for general use
- 16. To reduce the risk of fire in the oven cavity:
- Computer control panel Feature diagram
- Operation Instruction 6. Auto-Menu
- 10. Start/Reset
- Care of your microwave oven Environment Guarantee & service

21
Uputstva za rukovanje
1. Priprema namirnica jednim
pritiskom na dugme
im kuvanjem.
Funkcija je veoma pogodna
Primer:
a)
b) Pritisnite dugme "Start/Reset" i
raditi 1 minut
100% snagom.
c)
pisaka.
2. Priprema namirnica mikrotalasnim
zracima
a) Brzo grejanje mikrotalasnim zracima
(100% snaga)
Primer: Kuvanje 100% snagom 5
minuta.
1. Podesite vreme na "5:00".
2. Pritisnite " Start/Reset ".
b) Grejanje mikrotalasnim zracima sa
1. Pritisnite dugme "Micro"
,odaberite 70% nivo snage;
2. Podesite vreme na "10:00".
3. Pritisnite " Start/Reset ".
a snage zagrevanja, a
Broj pritisaka
na dugme
"Micro"
Snaga
mikrotalasnih
zraka
Ispis na
ekranu
1
100%
P100
2
70%
P70
3
50%
P50
4
30%
P30
5
10%
P10
b) Pritiskom na dugmad "1min" (1 kg) i
"10sec" (0,1 kg) stavite masu u
c) Pritisnite dugme "Start/Reset".
Masa zamrznute hrane mora biti
manja od 2 kg.
4. R
Ova funkcija ima dva moda
odabrati pritiskom na dugme
"Micro"
kuvanja je 60 minuta).
Mod 1: 85% snaga je
ispisano G-1
Mod 2: 50% snaga je
ispisano G-2.
Primer:
minuta.
a) Pritiskajte dugme "Micro"
sve dok se na ekranu LED
"G-1".
b) Podesite vreme kuvanja na "20:00".
c) Pritisnite dugme "Start/Reset".
u
emituje metalni
priprema
na dva stepena; posle prve polovine
preki
vreme da namirnicu koji pripremate na
namirnicu, ponovo zatvorite vrata
Reset"
n
nastaviti sa radom posle jednog
minuta.
5. Kombinovano delovanje
kombinovane pripreme hrane.
ost 1: Kombinovano delovanje
(55% mikrotalasni zraci + 45% ). Na
-1".
3.
(30% mikrotalasni zraci + 70% ). Na
na masu
-2".
S obzirom na odabranu masu zamrznute
Primer: Priprema namirnice sa
hrane,
adekvatne snage i vremena zagrevanja.
a) Dugme "Micro" pritiskajte
Primer:
sve dok se na ekranu LED ne pojavi
mesa.
"C-2".
a) Pritiskom na dugme "Micro
b) Podesite vreme na "15:00".
menu" odaberite "0,1".
c) Pritisnite dugme "Start/Reset".

22
6. Auto meni
Morate odabrati samo vrstu hrane i masu, a
pe
snage i vremena delovanja.
Primer: Automatsko kuvanje 0,4 kg ribe.
a) Pritiskajte dugme "Micro"
sve doA-5".
b)
min"(1 kg) i "10 sec" (0,1 kg), dok se
c) Pritisnite dugme " Start/Reset ".
Br.
Pritisaka
na tipku
"1min"
Masa (Kg), Meni
A-1
A-2
A-3
Rezanci
1
0,1
0,1
1
2
0,2
0,2
2
3
0,3
0,3
4
0,4
0,4
5
0,5
0,5
6
0,6
Br.
Pritisaka
na tipku
"1min"
Masa
(Kg), Meni
A-4
Meso
A-5
Riba
A-6
Piletina
1
0,2
0,2
0,2
2
0,3
0,3
0,4
3
0,4
0,4
0,6
4
0,5
0,5
0,8
5
0,6
0,6
1,0
6
0,8
0,8
7
1,0
1,0
a) Pritisnite dugme "Clock/Timer" i
dugmadima "1 min" i "10 sec" podesite
vreme na 18:00 (isti postupak kao kod
b) Pritiskom na dugme "Micro
menu" odaberite 70% snagu.
c) Podesite vreme kuvanja na 10 minuta.
d) Pritisnite dugme "Start/Reset".
Ako ne podesite vreme kuvanja i ako
neposredno po po
delovanja pritisnete dugme
samo kao sat (budilnik). U 18:15
9.
1.
pred decom, istovremeno
pritisnite dugmad " Izbor vremena +" i "
Izbor vremena -
ponovite postupak.
10.
1. Ako u toku delovanja aparata pritisnete
dugme "Start/Reset", rad
se prekinuti.
2. Ako ste prethodno podesili
programirano delovanje.
7. Sat
-
1. Pritisnite dugme "Clock/Timer". Natpis
n
sec".
2. Ponovo pritisnite dugme "Clock/Timer"
i podesite minute dugmadima "1 min" i
"10 sec".
3. Ponovo pritisnite dugme "Clock/Timer"
4.
ponovite gornji postupak.
8. Tajmer
mirnica.
kuvanje sa 70% snage,
10 minuta.

23
mikrotalasne
8. Ako treba zameniti sijalicu u rerni, molimo
rerne
Vas da se obratite servisu.
1.
2.
Simbol na proizvodu ili na njegovoj
proizvodom ne sme postupati kao sa otpadom
3.
e potencijalne negativne posledice na
u ventilacione otvore.
4. Nemojte dopustiti da se kontrolna tabla
otpadom ovog proizvoda. Za dobijanje detaljnih
informacija o tretmanu, odbacivanju I ponovnom
Za
tupite u kontakt sa
5.
kojoj ste kupili ovaj proizvod.
Garancija i servis
mikrotalasnu rernu koristite u veoma
rerne.
6. Povremeno treba izvaditi i stakleni tanjir i
prodavcu Gorenja, ili odelu Gorenja za male
sudova.
7. Rotacioni tanjir i dno (donju pov
Nije za komercialnu upotrebu!
toploj vo
na njegovo delovanje. Kada vadite rotacioni
rerne), pazite da ga pravilno vratite.
8.
posudu za pripremu namirnica u
iseckanu koru jednog limuna. Posudu zatim
ostavite pet minut
MNOG
krpom.
VAM
Za dodatne preporuke
savetima na internet strani:
http://microwave.gorenje.com

24
.
............................................................................. 230V~50Hz,1280W
.............................................................................................................................. 900W
........................................................................................................................... 1200W
.......................................................................................................... 2450MHz
........................................................... 51303mm(V) X 405mm
........................................................ 330X 212mm(V) X 330mm(G)
............................................................................................................ 23
............................................................................................ 4,5 kg
.............................................................................................................. Lc<58 dB (A)
-
1.
a)
-
a)
-
2.
a)
1.
2.
-
-
electrical and electronic equipment -
WEEE).

25
-
-
3.
4.
14,5
5.
6.
7.
8 0 cm.
8.
9.
10.
11.
1,3
8 cm
0
1
-
- -
E
-
N
-
L

26
6.
7.
8.
-
-
-
-
-
-
-
1.
9.
2.
10.
11.
3.
4.
.
5.
12.

27
13.
14.
15.
16.
a)
)

28
1.
2. -
3.
(
)
4.
5.
6.
7.
1.
2.
3.
4.
5.
6.
7.

29
1.
:
Start/Reset"
)
2.
1.
2. tart/Reset".
1. "Micro
menu"
2.
3. ".
60 .
"Micro"
1
100%
P100
2
70%
P70
3
50%
P50
4
30%
P30
5
10%
P10
"Micro"
) ".
4.
;
menu" ( 60
).
1: 85% ,
G-1
2: 50% ,
G-2.
:
20 .
a)
-1".
"20:00".
,
;
"Start/Reset"
5.
3.
: (55%
+ 45% ).
"C-1".
: (30%
+ 70% ).
"C-2".

30
:
2, 15 .
a)
-2".
4.
: 0,4 .
a)
menu"
a "A-5".
"1 min"(1 kg) "10 sec"
(0,1 kg),
"0,4".
) "Start/Reset ".
.
"1min"
(Kg),
A-1
A-2
A-3
1
0,1
0,1
1
2
0,2
0,2
2
3
0,3
0,3
4
0,4
0,4
5
0,5
0,5
6
0,6
.
"1min"
(Kg),
A-4
A-5
A-6
1
0,2
0,2
0,2
2
0,3
0,3
0,4
3
0,4
0,4
0,6
4
0,5
0,5
0,8
5
0,6
0,6
1,0
6
0,8
0,8
7
1,0
1,0
4.
8.
: 16:30,
18:15,
70% , 10 .
a)
c"
9.
"
" -
10. Start / Reset (" /
7.
")
-
1.
16:30, :
"Start/Reset",
1. "Clock/Timer".
2.
"1 min" "10 sec".
"Start/Reset"
2.
"Clock/Timer"
"1 min" "10 sec".
3.
"Clock/Timer"

31
8.
-
1.
2.
9.
3.
4.
5.
6.
7.
web
:
http://microwave.gorenje.com

32
OWNERS INSTRUCTION MANUAL EN
Read the Instructions carefully and Keep for Future Reference.
SPECIFICATIONS
Power consumption: ............................................................................................... 230V~50Hz,1280W
Output: ......................................................................................................................................... 900W
Grill Heater: ............................................................................................................................... 1200W
Operating Frequency: ............................................................................................................ 2450MHz
Outside Dimensions: .................................................................. 510mm(W) X 303mm(H) X 405mm(D)
Oven Cavity Dimensions: ........................................................... 330mm(W) X 212mm(H) X 330mm(D)
Oven Capacity: ......................................................................................................................... 23 litres
Uncrated Weight: .......................................................................................................... Approx. 14,5 kg
Noise level: ..................................................................................................................... Lc < 58 dB(A)
Radio interference
Microwave oven may cause interference to your
radio, TV, or similar equipment. When
interference occurs, it may be eliminated or
reduced by the following procedures.
a) Clean the door and sealing surface of the
oven.
b) Place the radio, TV, etc. as far away from
your microwave oven as possible.
c) Use a properly installed antenna for your
Before you call for service
radio, TV, etc. to get a strong signal
1. If the oven will not perform at all, the display
reception.
does not appear or the display disappeared:
a) Check to ensure that the oven is
Installation
plugged in securely. If it is not, remove
1. Make sure all the packing materials are
the plug from the outlet, wait 10
removed from the inside of the door.
seconds and plug it in again securely.
2. Inspect the oven after unpacking for any
b) Check the premises for a blown circuit
visual damage such as:
fuse or a tripped main circuit breaker.
- Misaligned Door
If these seem to be operating properly,
- Damaged Door
test the outlet with another appliance.
- Dents or Holes in Door Window and
2. If the microwave power will not function:
Screen
a) Check to see whether the timer is set.
- Dents in Cavity
b) Check to make sure that the door is
If any of the above are visible, DO NOT
securely closed to engage the safety
use the oven.
interlocks. Otherwise, the microwave
3. This Microwave Oven weighs 14,5 kg and
energy will not flow into the oven.
must be placed on a horizontal surface
If none of the above rectify the situation,
strong enough to support this weight.
then contact the nearest authorized
4. The oven must be placed away from high
service agent.
temperature and steam.
5. DO NOT place anything on top of the oven.
The appliance for household use for heating
6. Keep the oven at least 8 cm away from both
food and beverages using electromagnetic
sidewalls and 10 cm away from rear wall to
energy, for indoor use only.
ensure the correct ventilation.
7. DO NOT remove the turn -table drive shaft.
8. As with any appliance, close supervision is
necessary when used by children.
WARNING-THIS APPLIANCE MUST BE
EARTHED.
This appliance is marked according to the
European directive 2002/96/EC on Waste
Electrical and Electronic Equipment
(WEEE).
This guideline is the frame of a European-
wide validity of return and recycling on
Waste Electrical and Electronic
Equipment.

33
9. The plug socket should be within easy
the appliance by a person responsible for
reach of the power cord
their safety.
10. This oven requires 1.3 KVA for its input
The oven must have sufficient air flow.
consultation with service engineer is
Keep 8 cm space at back; 10 cm at both
suggested when installing the oven.
sides and 10 cms from top of the oven.
CAUTION: This oven is protected internally
Don't remove oven's feet, do not block air
by a 250V,10 Amp Fuse.
events of the oven.
Only use utensils that are suitable for use in
microwave ovens.
IMPORTANT
When heating food in plastic or paper
The wires in this mains lead are coloured in
containers, keep an eye on the oven due to
accordance with the following code:
the possibility of ignition;
Green-and-yellow: Earth
Blue: Neutral
If smoke is observed, switch off or unplug
Brown: Live
the appliance and keep the door closed in
As the colours of the wires in the mains leads
order to stifle any flames;
of the appliance may not correspond with the
Microwave heating of beverages can result
coloured markings indentifying the terminals
in delayed eruptive boiling, therefore care
in your plug, proceed as follows:
must be taken when handling the container;
- The wire which is coloured green-and-
The contents of feeding bottles and baby
yellow must be connected to the terminal in
food jars shall be stirred or shaken and the
the plug which is marked with the letter E or
temperature checked before consumption,
by the earth symbol coloured green of
in order to avoid burns;
green-and-yellow.
Eggs in their shell and whole hard-boiled
- The wire which is coloured blue must be
eggs should not be heated in microwave
connected to the terminal which is marked
ovens since they may explode, even after
with the letter N or coloured black.
microwave heating has ended;
- The wire which is coloured brown must be
When cleaning surfaces of door, door seal,
connected to the terminal which is marked
cavity of the oven, use only mild,
with the letter L or coloured red.
nonabrasive soaps, or detergents applied
with a sponge or soft cloth.
Important safety instructions
The oven should be cleaned regularly and
any food deposits removed;
WARNING: When the appliance is
Failure to maintain the oven in a clean
operated in the combination mode, children
condition could lead to deterioration of the
should only use the oven under adult
surface that could adversely affect the life of
supervision due to the temperatures
the appliance and possibly result in a
generated; (Only for the model with grill
hazardous situation;
function)
If the supply cord is damaged, it must be
WARNING: If the door or door seals are
replaced by the manufacturer, its service
damaged, the oven must not be operated
agent or similarly qualified persons in order
until it has been repaired by a competent
to avoid a hazard.
person;
WARNING: It is hazardous for anyone
Safety instructions for general
other than a competent person to carry out
any service or repair operation that involves
use
the removal of a cover which gives
Listed below are, as with all appliances,
protection against exposure to microwave
certain rules to follow and safeguards to
energy;
assure top performance from this oven:
WARNING: liquids and other foods must
1. Always have the glass tray, roller arms,
not be heated in sealed containers since
coupling and roller track in place when
they are liable to explode.
operating the oven.
WARNING: This appliance is not intended
2. Do not use the oven for any reason other
for use by persons (including children) with
than food preparation, such as for drying
reduced physical, sensory or mental
clothes, paper, or any other nonfood items,
capabilities, or lack of experience and
or for sterilizing purposes.
knowledge, unless they have been given
3. Do not operate the oven when empty. This
supervision or instruction concerning use of
could damage the oven.

34
4. Do not use the oven cavity for any type of
straight from the oven but allow it to stand
storage, such a papers, cookbooks, etc.
for a few minutes and stir food/liquid to
5. Do not cook any food surrounded by a
distribute heat evenly.
membrane,such as egg yolks, potatoes,
13. Food containing a mixture of fat and water,
chicken livers, etc without first being pierced
e.g.stock,should stand for 30-60 seconds in
several times with a fork.
the oven after it has been turned off. This is
6. Do not insert any object into the openings
to allow the mixture to settle and to prevent
on the outer case.
bubbling when a spoon is placed in the
7. Do not at any time remove parts from the
food/liquid or a stock cube is added.
oven such as the feet, coupling, screws,
14. When preparing/cooking food/liquid and
etc.
remember that there are certain foods, e.g.
8. Do not cook food directly on the glass tray.
Christmas puddings, jam and mincemeat,
Place food in/on proper cooking utensil
which heat up very quickly. When heating
before placing in the oven.
or cooking foods with a high fat or sugar
IMPORTANT-COOKWARE NOT TO USE
content do not use plastic containers.
IN YOUR MICROWAVE OVEN
15. Cooking utensil may become hot because
- Do not use metal pans or dishes with
of heat transferred from the heated food.
metal handles.
This is especially true if plastic wrap has
- Do not use anything with metal trim.
been covering the top and handles of the
- Do not use paper covered wire twist-ties
utensil. Potholders may be needed to
on plastic bags.
handle the utensil.
- Do not use melamine dishes as they
16. To reduce the risk of fire in the oven cavity:
contain a material which will absorb
a) Do not overcook food. Carefully attend
microwave energy. This may cause the
microwave oven if paper, plastic, or
dishes to crack or char and will slow
other combustible materials are placed
down the cooking speed.
inside the oven to facilitate cooking.
- Do not use Centura Tableware. The
b) Remove wire twist-ties from bags
glaze is not suitable for microwave use.
before placing bag in oven.
Corelle Livingware closed handle cups
c) If materials inside the oven should
should not be used.
ignite, keep oven door closed, turn the
- Do not cook in a container with a
oven off at the wall switch, or shut off
restricted opening, such as a pop bottle
power at the fuse or circuit breaker
or salaed oil bottle, as they may explode
panel.
if heated in a microwave oven.
- Do not use conventional meat or candy
thermometers.
- There are the thermometers available
specifically for microwave cooking.
These may be used.
9. Microwave utensils should be used only in
accordance with manufacturer's
instructions.
10. Do not attempt to deep-fry foods in this
oven.
11. Please remember that a microwave oven
only heats the liquid in a container rather
than the container itself.Therefore, even
though the lid of a container is not hot to the
touch when removed from the oven, please
remember that the food/liquid inside will be
releasing the same amount of steam and/or
spitting when the lid is removed as in
conventional cooking.
12 Always test the temperature of cooked food
yourself especially if you are heating or
cooking food/liquid for babies. It is
advisable never to consume food/liquid

35
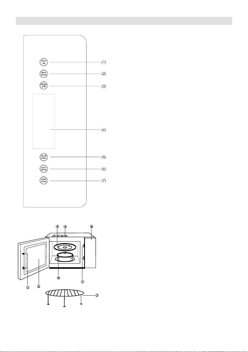
Computer control panel
1. TIME UP
2. TIME DOWN
3. Micro/defrost/Grill/Double Grill/Comb
4. Display Window
5. Clock / Timers
6. AUTO / MENU
7. START / RESET
Feature diagram
1. Door Safety Lock System
2. Oven Window
3. Oven Air Vent
4. Roller Ring
5. Glass Tray
6. Control Panel
7. Grill rack

36
Operation Instruction
1. Single Button Heating
Only with a single press of a button, you
can start simple cooking, it is very
convenient and quick to heat a glass of
water etc.
Example: To heat a glass of milk
a) Put a glass of milk onto the glass
turntable and close the door.
b)
microwave oven will work on 100%
power for 1 minutes.
c) You will hear 5 beeps when cooking is
completed.
2. Microwave Heating
This function has two options.
a) Quick microwave heating (100%
power)
Example: To heat food on 100% power for
5 minutes
1.
2.
b) Manual-operation microwave heating
Example: To heat food on 70% power for
10 minutes
1. Press "Micro" button,
2.
3.
There are 5 power levels and the longest
microwave cooking time is 60 minutes.
Touching
times "Micro"
Microwave
power
Display
1
100%
P100
2
70%
P70
3
50%
P50
4
30%
P30
5
10%
P10
4. Grill
This function has two options. You may
select between the two by pressing the
"Micro" button (the longest
cooking time is 60 minutes):
Option 1: 85% grill power, display G-1
Option 2: 50% grill power, display G-2
Example: Cooking food using the grill for
20 minutes
a) Press "Micromenu" until LED
displayed "G-1".
b) Set cooking time "20:00"
c) Press "Start/Reset"
When grilling, food is not heated by
microwaves. Heat is rediated from the metal
heater at the top of the oven.
When grill is working, the cooking time is
devided into 2 stages. after the 1st stage,
program will automatically pause and sound
2 beeps, indicating you to open the oven
and turn over the food. Close the door after
turning the food. Press "Start/Reset" button
and the cooking will continue for the 2nd
stage. If you do not want to turn over the
food, the oven will re-start automatically
after 1 min pause.
5. Combination Cooking
With this appliance you can select between
two options of combination cooking.
Option 1: Combination cooking (55%
microwave + 45% grill)
LED will display "C-1"
Option 2: Combination cooking (30%
microwave + 70% grill)
LED will display "C-2".
Example: Cooking food using option 2 for
15 minutes.
a) Press "Micro" untl the
LED displays "C-2"
b) Set cooking time for "15:00"
c) Press "Start/Reset"
3. Auto weight defrost
Select the weight of the frozen food, it will
6. Auto-Menu
automatically help you to adjust the power
You only need to select food type and
level and time.
weight, it will help you to automatically
Example: defrost 0.5 kg of frozen meat.
adjust power and time.
a) Press "Micro" to select
Example: Auto cooking 0.4 kg fish
"0,1".
a) Press "Micro" button until
b) Imput weight by pressing "1min" (1kg)
"A-5" displayed.
and "10 sec" (0.1kg) button.
b) Input the weight by pressing the button
c) Press "Start/Reset".
"1 min" (1 kg) and the button "10 sec"
Weight of frozen food must be less than
(0.1 kg).
2 kg.
c) Press "Start/Reset".

37
Touching
Times
"1min"
Menu, Weight (kg)
A-1
Rice
A-2
Vegetable
A-3
Noodle
s
1
0,1
0,1
1
2
0,2
0,2
2
3
0,3
0,3
4
0,4
0,4
5
0,5
0,5
6
0,6
Touching
Times
"1min"
Menu, Weight (kg)
A-4
Meat
A-5
Fish
A-6
Chicken
1
0,2
0,2
0,2
2
0,3
0,3
0,4
3
0,4
0,4
0,6
4
0,5
0,5
0,8
5
0,6
0,6
1,0
6
0,8
0,8
7
1,0
1,0
9. Child-safety-lock
To activate the child safety lock, press
"Time up" and "Time down" at the same
time for 2 seconds.
Press press "Time up" and "Time down" at
the same time for 2 seconds again, it will
unlock the machine.
10. Start/Reset
a) In the course of operation, press
"Start/Reset" button will stop operation.
b) If any program was set before pressing
start, press this button will cancel all
the set program.
7. Clock
The oven has a 24-hour digital clock,
To set the time for example to 4:30pm:
a) Press the "Clock/Timer" button.
Display will start flashing, adjust the
hour with "1 Min" and "10 Sec"
buttons.
b) Press "Clock/Timer" again, adjust the
minutes with buttons "1Min" and "10
Sec".
c) Press "Clock/Timer" again and the
clock will be set.
d) If you want to change the time, repeat
the procedure above.
8. Timer
This allows you to set the microwave oven
to start and finish cooking at pre-set time.
The clock must be set before you use this
feature.
Example: The current time is 16:30 and
you want to start cooking at 18:15 on 70%
power for 10minutes:
a) Press "Clock/Timer", set the time to
"18:15" by pressing "1Min" and "10
Sec" buttons, (same procedure as
setting clock)
b) Press "Micro" to select
70% power.
c) Set cooking time to 10 minutes.
d) Press "Start/Reset"
If you do not set the power and cooking
time and directly press the start button once
you have programmed the time, the
appliance will only work as a clock.
At 18:15 there will be 10 bleeps and the
appliance will switch off.

38
Centre in your country (you find its phone
Care of your microwave oven
number in the worldwide guarantee leaflet). If
1. Turn the oven off and remove the power
there is no Customer Care Centre in your
plug from the wall socket before cleaning.
country, go to your local Gorenje dealer or
2. Keep the inside of the oven clean. When
contact the Service department of Gorenje
food splatters of spilled liquids adhere to
domestic appliances.
oven walls,wipe with a damp cloth. The use
of harsh detergent or abrasives is not
For personal use only!
recommended.
3. The outside oven surface should be
cleaned with a damp colth. To prevent
damage to the operating parts inside the
oven, water should not be allowed to seep
into the ventilation openings.
4. Do not allow the Control Panel to become
wet. Clean with a soft, damp cloth, Do not
use detergents, abrasives or spray-on
cleaners on the control Panel.
5. If steam accumulates inside or around the
outside of the oven door, wipe with a soft
cloth.This may occur when the microwave
oven is operated under high humidity
conditions and in no way indicates
malfunction of the unit.
6. It is occasionally necessary to remove the
glass tray for cleaning. Wash the tray in
warm sudsy water or in a dishwasher.
7. The roller ring and oven cavity floor should
be cleaned regularly to avoid excessive
noise. Simply wipe the bottom surface of
the oven with mild detergent, water or
window cleaner and dry. The roller ring may
be washed in mild sudsy water or sish
washer. Cooking vapours collect during
repeated use but in no way affect the
bottom surface or roller ring wheels.
When removing the roller ring from cavity
floor for cleaning, be sure to replace it in the
proper position.
8. Remove odors from your oven by
combining a cup of water with the juice and
skin of one lemon in a deep microwaveable
bowl. Microwave for 5 minutes, wipe
thoroughly and dry with a soft cloth.
8. When it becomes necessary to replace the
oven light, please consult a dealer to have it
replaced.
Environment
Do not throw away the appliance with the normal
household waste at the end of its life, but hand it
in at an official collection point for recycling. By
doing this, you help to preserve the environment.
WISHES YOU A LOT OF PLEASURE
Guarantee & service
WHILE USING YOUR APPLIANCE
If you need information or if you have a problem,
please contact the Gorenje Customer Care
Additional recommendations for cooking with
microwave, grill and useful advices can be
found on web side:
http://microwave.gorenje.com

39
GEBRAUCHSANWEISUNG DE
Gebrauch auf.
Technische Daten
Stromaufnahme ...................................................................................................... 230V~50Hz,1280W
Ausgangsleistung ........................................................................................................................ 900W
........................................................................................................................... 1200W
Betriebsfrequenz: ................................................................................................................... 2450MHz
............................................................................. 510mm (B) X 303mm (H) X 405mm (T)
ums: ................................................................ 330mm (B) X 212mm (H) X 330mm (T)
Volumen: ......................................................................................................................................... 23 l
Masse ohne Verpackungsmaterial: ...................................................................................... ca. 14,5 kg
Schallpegel niveau: ...................................................................................................... Lc < 58 dB (A)
die Mikrowellenenergie nicht
freigesetzt.
Wenn
genannten Tips nicht beseitigen konnten,
wenden Sie sich bitte an den
nahegelegenen autorisierten Kundendienst.
bei Rundfunk-, Fernseh- und andere
Bevor Sie den Kundendienst
anrufen
1.
vermindern:
funktioniert, wenn auf dem Display kein
a)
Text sichtbar sind oder wenn das Display
Dichtungen am Mikrowellenherd.
erlischt:
b) Stellen Sie Ihr Rundfunk- oder
a)
Fernsehge
Mikrowellenherd fachgerecht an das
Mikrowellenherd auf.
elektrische Versorgungsnetz
c) - bzw.
angeschlossen ist. Wenn nicht, ziehen
Sie den Stecker aus der Steckdose,
warten Sie 10 Sekunden und stecken
Sie den Stecker wieder in die
Steckdose.
Bemerkung:
b)
durchgebrannt bzw. ob der Stromkreis
im Haushalt bestimmt und zwar zum Erhitzen
an der Hauptsicherung unterbrochen
ist. Wenn an den Sicherungen keine
elektromagnetischer Energie. Verwenden Sie
Steckdose mit einem anderen
Aufstellung
Mikrowellenherd nicht heizt, d.h. wenn
er keine Mikrowellenenergie abgibt:
1.
a)
Verpackungsmaterial aus dem
richtig eingestellt ist.
b)
2. fen Sie beim Entfernen der
geschlossen und die
Sicherheitsverriegelung eingeschnappt
ist. Wenn das nicht der Fall ist, wird
wie z.B.:
Elektro-
electrical and electronic equipment -
WEEE) gekennzeichnet. Die Richtlinie
-

40
-
-
-
dem Buchstaben N oder mit schwarzer
-
an;
Display,
- e den braunen Leiter an die
-
mit dem Buchstaben L oder mit roter Farbe
Wenn Sie irgendeinen der oben genannten
Mikrowellenherd nicht benutzen.
Wichtige Sicherheitshinweise
3. Der Mikrowellenherd wiegt 14,5 kg; stellen
HINWEIS:
Sie ihn auf eine waagrechte Unterlage, die
cht
auszuhalten.
Temperaturen nur u
4. Den Mikrowellenherd in ausreichender
Aufsicht erwachsener Personen
Wasserdampf aufstellen.
Grillfunktion).
5.
HINWEIS:
Mikrowellenherd aufbewahren.
6.
werden, bis es von einem autorisierten
Mikrowellenherdes mindestens 8 cm und
Kundendienstfachmann instandgesetzt
worden ist.
7. Die Antriebswelle des Drehgestells NICHT
HINWEIS: Jegliche Reparatur- oder
entfernen.
Kundendienstarbeiten, bei welchen die
8.
unter Aufsicht Erwachsener benutzen.
HINWEIS:
GEERDET WERDEN!
9. Die Steckdose, an welche der
HINWEIS:
Nahrungsmittel in dicht verschlossenen
10. 3 kVA
Eingangsleistung. Wir empfehlen Ihnen,
HINWEIS: :
Mikrowellenherdes mit einem
physischen, sensorischen oder psychischen
Kundendienst-Fachmann oder einem
en bzw. Ohne jegliche Erfahrung
entsprechendem anderen Fachmann zu
oder Vorwissen nur dann geeignet, wenn
beraten.
eine angemessene Aufsicht oder
ACHTUNG:
sichergestellt ist. Achten Sie darauf, dass
spielen.
WICHTIG
Luftzirkulation um den Mikrowellenherd
haben folgende Bedeutung:
8 cm,
-gelb: Erdungsleiter
an den Seiten mindestens 10 cm und
Blau: Neutralleiter
10 cm
Braun:
Leiter
entfernen und d
bedecken.
eventuell nicht ganz den Kennzeichnungen
mikrowellentaugliches Geschirr und
entsprechen, beachten Sie bitte Folgendes:
- -gelben Leiter an
Beim Erhitzen von Speisen in Kunststoff-
mit dem Buchstaben E oder dem
Vorgang wegen Brandgefahr
Erdungssymbol gekennzeichnet ist.
beaufsichtigen.






