Gorenje GMO-23 DGW – page 4
Manual for Gorenje GMO-23 DGW
Table of contents
- SPECIFICATIONS Radio interference Before you call for service Installation
- IMPORTANT Important safety instructions Safety instructions for general use
- 16. To reduce the risk of fire in the oven cavity:
- Computer control panel Feature diagram
- Operation Instruction 6. Auto-Menu
- 10. Start/Reset Care of your microwave oven
- 9. When it becomes necessary to replace the oven light, please consult a dealer to have it replaced.

INSTRUKCJA OBSŁUGI PL
Instrukcję obsługi należy uważnie przeczytać i zachować.
Charakterystyki techniczne
Zasilanie elektryczne...............................................................................................230V~50Hz,1280W
Moc użyteczna.............................................................................................................................800W
Moc grilowania, grzałka grilowa.................................................................................................. 1200W
Częstotliwość robocza: .......................................................................................................... 2450MHz
Wymiary zewnętrzne:................................................................ 510mm(Šz) X 400mm(G) X 303mm(V)
Wymiary wnętrza (komory):....................................................... 330mm(Sz) X 330mm(G) X 212mm(V)
Pojemność kuchenki: ............................................................................................................... 23 litrόw
Waga netto: ..................................................................................................................... około 14,5 kg
Urządzenie to oznaczono zgodnie z
Zakłócenia w odbiorze fal
europejską wytyczną 2002/96/EG o
radiowych i elewizyjnych
zużytych urządzeniach elektrycznych i
elektronicznych (waste electrical and
Kuchenka mikrofalowa może spowodować
electronic equipment - WEEE).
zakłócenia w działaniu odbiornikόw
Wytyczna ta określa ramy
telewizyjnych, radiowych itp. By usunąć lub
obowiązującego w całej Unii Europejskiej
zmniejszyć zakłócenia, należy:
odbioru i wtórnego wykorzystania
a) Oczyścić drzwiczki kuchenki i powierzchnie
starych urządzeń.
uszczelek.
b) Umieścić odbiorniki televizyjne lub radiowe
jak najdalej od kuchenki mikrofalowej.
Przed wezwaniem serwisu
c) Wyposażenie odbiornikόw w anteny i
1. Jeśli kuchenka nie działa, jeśli wyświetlacz
umieszczenie ich w sposόb, ktόry umożliwi
wyłączył się lub nie wyświetla komunikatόw:
najsilniejszy odbiόr sygnału.
a) Należy sprawdzić czy urządzenie jest
prawidłowo podłączone do sieci
Ostrzeżenie:
zasilania elektrycznego. Jeśli nie,
Urządzenie przeznaczone jest tylko do użytku
należy wyciągnać przewόd elektryczny
w warunkach gospodarstwa domowego.
kuchenki z gniazdka zasilania
Oddziaływanie energii elektromagnetycznej,
elektrycznego i po 10 sekundach
służy wyłącznie do podgrzewania żywności
powtόrnie włączyć urządzenie.
oraz napojów. Kuchenki należy używać tylko
b) Należy sprawdzić bezpieczniki i
w zamkniętych pomieszczeniach.
gniazdko przewodu zasilającego.
Gniazdko najłatwiej sprawdzić,
Instalacja
podłączając do niego inne urządzenie
1. Należy przekonać się, że opakowanie
elektryczne.
zostało usunięte, przede wszystkim z
2. Jeśli kuchenka nie grzeje tzn. nie dochodzi
wnętrza komory i z wewnętrznej strony
do emisji energii mikrofalowej, należy:
drzwiczek.
a) Sprawdzić ustawienie timera.
2. Po rozpakowaniu kuchenki należy upewnić
b) Sprawdzić, czy drzwiczki kuchenki
się, że kuchenka nie posiada
zostały domknięte a zamki
następujących uszkodzeń:
bezpieczeństwa zamknięte. W
- pochyłe drzwiczki,
przeciwnym razie emisja enerii
- uszkodzone drzwiczki,
mikrofalowej została uniemożliwiona.
- wgniecenia lub dziury w szkle (oknie) na
W przypadku nie możności
drzwiczkach lub wyświetlaczu,
rozwiązania problemu, mimo
- wgniecenia w komorze kuchenki.
wykonania w/w czynności , należy
Kuchenki mikrofalowej nie należy używać, jeśli
zwrόcić się do autoryzowanego
znalezione zostanie ktόreś z podanych wyżej
punktu serwisowego.
uszkodzeń.
3. Ciężar kuchenki mikrofalowej wynosi około
14,5 kg; zaleca się, aby kuchenkę
61

mikrofalową umieścić na twardej, stabilnej
Ważne wskazόwki
powierzchni poziomej, ktόra będzie w stanie
utrzymać jej ciężar.
bezpieczeństwa
4. Kuchenkę należy umieścić zdala od źrόdeł
• UWAGA: Podczas korzystania z funkcji
wysokich temperatur i pary.
mikrofale + grill dochodzi do znacznego
5. Na kuchence nie powinno stawiać się
wzrostu temperatury. W tym wypadku
niczego.
zaleca się, by dzieciom podczas
6. Kuchenka mikrofalowa powinna być
użytkowania kuchenki towarzyszyła osoba
ustawiona tak, aby jej tylna część oddalona
dorosła (tylko dla kuchenek posiadających
była od ściany o co najmniej 10 cm,
funkcję grilowania).
natomiast przedmioty lub ściany po jej
• UWAGA: Jeśli uszkodzone są drzwiczki
bokach winny być w odległości przynajmniej
lub powierzchnie uszczelniające, kuchenka
8 cm. Taki sposób ustawienia kuchenki
nie powinna być uruchamiana do czasu jej
gwarantuje najlepszą wentylację.
naprawy przez wykwalifikowaną osobę.
7. NIE WOLNO USUWAĆ podstawy
• UWAGA: Wykonywanie jakichkolwiek
obrotowej talerza.
czynności serwisowych lub naprawczych
8. Podobnie jak w przypadku innych urządzeń
związanych ze zdejmowaniem ktόrejkolwiek
elektrycznych, używanie kuchenki
z pokryw lub części obudowy, dających
mikrofalowej przez dzieci powinno
osłonę przed energią mikrofalową jest
przebiegać pod kontrolą rodziców lub osoby
niebezpieczne dla każdego i łączy się z
dorosłej.
ryzykiem. Dlatego tego rodzaju czynności
OSTRZEŻENIE: URZĄDZENIE NALEŻY
powinna dokonywać wyłącznie osoba
UZIEMIĆ
wykwalifikowana.
9. Gniazdko przewodu zasilającego kuchenkę,
• UWAGA: Cieczy i innych artykułόw
musi być łatwo dostępne.
żywnościowych nie wolno ogrzewać w
10. Kuchenka mikrofalowa wymaga mocy 1,5
szczelnych pojemnikach, gdyż są one
kVA – przed podłączeniem należy
podatne na eksplozję.
zasięgnąć porady pracownika punktu
• UWAGA: Dzieciom można zezwolić na
serwisowego lub wykwalifikowanej osoby.
samodzielną obsługę urządzenia tylko
UWAGA: Kuchenka mikrofalowa jest
wtedy, gdy uzyskały one odpowiednie
zabezpieczona. Posiada ona wewnętrzny
wskazόwki, umożliwiające bezpieczne
bezpiecznik o właściwościach: 250 V, 10A.
używanie kuchenki i gdy zdają sobie
sprawę z zagrożeń wynikających z
WAŻNE:
niewłaściwego jej użytkowania.
Kolor i znaczenie poszczególnych
• Kuchenka mikrofalowa powinna działać w
przewodnikόw przewodu zasilającego:
warunkach umożliwiających dostateczne
Zieleno-żόłty: uziemienie
krążenie powietrza. Dlatego musimy za
Niebieski: neutralny
kuchenką zapewnić co najmniej 10 cm
Brązowy: prąd
przestrzeni, po bokach przynajmniej 15 cm
Ponieważ kolor przewodnikόw może
a nad nią 30 cm. Usuwanie nóżek kuchenki
odbiegać od kolorόw podanych w gniazdku,
oraz pokrywanie odwietrzników jest
należy uwzględnić co następuje:
zabronione.
- przewodnik koloru zielono-żόłtego należy
• Do gotowania należy używać wyłącznie
podłączyć na końcόwkę oznaczoną literą E
naczyń i przyrządόw specjalnie
lub symbolem uziemienia.
przeznaczonych do zastosowania w
- przewodnik koloru niebieskiego należy
kuchenkach mikrofalowych.
podłączyć na końcόwkę oznaczoną literą N
• Podczas podgrzewania żywności w
lub oznaczoną kolorem czarnym.
pojemnikach plastykowych lub
- przewodnik koloru brązowego należy
papierowych, należy często sprawdzać
podłączyć na końcόwkę oznaczoną literą L
proces gotowania ze względu na możliwość
lub oznaczoną kolorem czerwonym.
zapłonu pojemnikόw.
• W przypadku pojawienia się dymu,
wyłączyć kuchenkę lub odłączyć ją od sieci
zasilania i nie otwierać drzwiczek, by
stłumić możliwe płomienie.
• Mikrofalowe podgrzewanie napojόw może
powodować opόźnione nagłe wykipienie,
62

dlatego też zaleca się uważne
4. W wnętrzu kuchenki nie należy
manipulowanie naczyniami w których były
przechowywć przedmiotόw, a w
one podgrzewane.
szczególności książek kucharskich, gazet
• Po podgrzaniu pożywienia dla dzieci
itp.
(niemowląt) w butelkach lub słoikach (bez
5. Potrawy, które posiadają błonę, czy otacza
zakrętki i smoczka), należy zawartość
ich skórka tj. żółtka, ziemniaki, wątróbki
dobrze wymieszać lub wstrząsnąć. Przed
drobiowe i tym podobne, należy przed
podaniem pożywienia należy sprawdzić
gotowaniem kilkakrotnie nakłóć widelcem.
jego temperaturę, aby uniknąć możliwości
6. Do otworów znajdujących się po
oparzeń.
zewnętrznej stronie kuchenki nie wolno
• Nie należy gotować jajek w skorupie ani
wkładać żadnych przedmiotów.
podgrzewać ugotowanych jajek na twardo,
7. Z kuchenki nie wolno usuwać żadnych
gdyż mogą pęknąć, nawet po
części, takich jak nóżki, śruby, złącza itp.
zakończonym już podgrzewaniu.
8. Potraw nie należy gotować bezpośrednio
• Do czyszczenia drzwiczek kuchenki,
na szklanym talerzu.
powierzchni uszczelniających oraz wnętrza,
Żywność zawsze należy włożyć do
należy używać łagodnych środkόw
odpowiedniego naczynia.
czyszczacych oraz gąbek lub miękkich
szmatek.
WAŻNE: W kuchence mikrofalowej nie należy
używać:
• Kuchenkę mikrofalową należy
- naczyń metalowych lub naczyń z
systematycznie i dokładnie czyścić, oraz
metalowymi uchwytami.
usunąć z jej wnętrza resztki jedzenia.
- naczyń z metalowym wykończeniem lub
• Nieregularna pielęgnacja kuchenki
dekoracją.
mikrofalowej może spowodować
- klamer drucianych powlekanych
uszkodzenia jej powierzchni, co z kolei
papierem do wiązania worków foliowych.
może ujemnie wpłynąć na wiek trwania
- naczyń z melaminu, ponieważ zawierają
urządzenia, oraz może wywołać
one substancje wchłaniające energię
niebezpieczeństwo.
mikrofalową. Grozi to pęknięciem
• W przypadku uszkodzenia przewodu
naczynia lub jego zwęgleniem. Co
zasilającego, wymiany może dokonać
więcej, przedłuża to czas
producent, autoryzowany serwis lub
przygotowywania żywności.
odpowiednio do tego celu wykwalifikowana
- naczyń, ktόrych powierzchnia nie jest
osoba.
przystosowana do użycia w kuchence
mikrofalowej. Nie należy również używać
Wskazόwki dotyczące
zamkniętych filiżanek z uchwytami.
bezpiecznego użytkowania
- pojemników o małych otworach lub
butelek z wąskimi szyjkami, gdyż mogą
kuchenki
one podczas podgrzewania pęknąć.
Poniżej podane zostały niektόre zasady i
- zwykłych termometrów do mięsa lub
wskazόwki dotyczące bezpieczeństwa, ktόre
wypieków. Na rynku dostępne są
(podobnie jak w przypadku użytkowania innych
specjalne termometry, które
urządzeń elektrycznych) należałoby uwzględnić.
przystosowane są do zastosowania w
Zapewni to bezpieczne i najskuteczniejsze
kuchenkach mikrofalowych.
działanie kuchenki.
9. Przyrządy przeznaczone do użycia w
1. Podczas działania kuchenki talerz
kuchence mikrofalowej należy używać
obrotowy, nośniki rolek, podstawek
zgodnie z instrukcją obsługi ich producenta.
(sprzęgło) i pierścień zawsze powinny być
10. Kuchenka mikrofalowa nie nadaje się do
umieszczone na swoim miejscu.
smażenia potraw.
2. Kuchenki należy używać wyłącznie do
11. Należy pamiętać, iż energia mikrofalowa nie
przyrządzania potraw. Nie wolno używać jej
nagrzewa naczyń w których
do suszenia ubrań, papieru lub innych
przygotowywana jest żywność. Mimo iż
przedmiotów. Nie nadaje się ona również
naczynie, będzie na dotyk chłodne,
do procesu sterylizacji przedmiotów czy
temperatura artykułu żywnościowego
żywności.
będzie tak samo wysoka jak po zwykłym
3. Nie wolno włączać pustej kuchenki, gdyż
gotowaniu. Dlatego po odsłonięciu
może to spowodować jej uszkodzenie.
(chłodnej) przykrywki potrawa będzie
parować.
63

12. Przed spożyciem należy sprawdzić
temperaturę żywności, szczególnie jeśli
chodzi o artykuły żywnościowe dla dzieci i
niemowląt. Radzi się, aby po wyjęciu
żywności z kuchenki poczekać kilka minut,
potrawę należy przemieszać lub wstrząsnąć
aby temperatura pożywienia była
rόwnomiernie rozprowadzona.
13. Żywność zawierającą tłuszcze i wodę
należy po wyłączeniu się kuchenki
przetrzymać w niej przez kolejnych 30 - 60
sekund. Spowoduje to uspokojenie się
składników. Potrawa po wstawieniu do niej
łyżki lub dodaniu kostki Maggi nie będzie
się pienić.
14. Należy pamiętać, że czas przygotowywania
niektórych potraw (np. budyniu wigilijnego,
marmolady lub mielonego mięsa), jest
krótszy w porównaniu z ich tradycyjnym
przygotowywaniem. Do podgrzewania
potraw zawierających dużą ilość tłuszczu
lub cukru nie wolno używać naczyń z
tworzyw sztucznych..
15. Mimo, iż energia mikrofalowa nie nagrzewa
naczyń, naczynie może absorbować ciepło
pochodzące z potrawy. Najczęściej pojawia
się to w przypadku pokrycia żywności folią.
By zapobiec poparzeniom, zaleca się
używanie rękawiczek ochronnych, podczas
wyjmowania naczyń z kuchenki.
16. Aby zmniejszyć możliwość wystąpienia
pożaru w komorze kuchenki:
a) Należy dokładnie określić czas
przygotowywania żywności i uważać
by jej nie podgrzewać za długo.
Uważnie należy sprawdzać proces
podgrzewania żywności jeśli używamy
do tego przyrządów papierowych, z
tworzyw sztucznych lub innych łatwo
palnych materiałów.
b) Należy usunąć druciane spinki czy
sznurki, którymi związana jest
pakowana w woreczkach żywność.
c) Nie wolno otwierać drzwiczek kuchenki
w przypadku zapalenia się wsadu.
Kuchenkę należy natychmiast odciąć
od zasilania prądu przez wyciągnięcie
wtyczki z gniadzka lub przez
odkręcenie bezpiecznika z głównej
tablicy rozdzielczej.
64

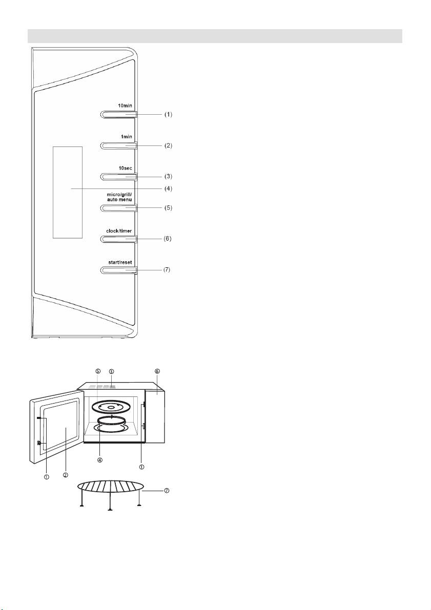
Opis kuchenki
1. 10 minut
2. 1 minuta
3. 10 sekund
4. Wyświetlacz
5. Mikrofale/Gril/Meni automatycznego
gotowania
6. Zegar/Timer
7. Start/ Reset
1. Ochronny system zatrzaskόw drzwi
2. Okno kuchenki
3. Odwietrznik
4. Pierścień łożyska
5. Szklany talerz
6. Panel sterujący
7. Ruszt do grilowania
65

3. Automatyczne rozmrażanie zależne
Instrukcja obsługi
od ciężaru żywności
1. Podgrzewanie przez naciśnięcie
Należy wybrać masę zamrożonego artykułu
jednego przycisku
żywnościowego, kuchenka sama określi
Kuchenka umożliwia, by jednym
optymalną siłę oddziaływania mikrofali i
naciśnięciem przycisku rozpocząć proces
potrzebny czas do przygotowania żywności.
gotownia. Funkcja ta jest bardzo wygodna i
Przykład: Rozmrażanie 0,5 kg
pomocna, gdyż pozwala na szybkie
zamrożonego mięsa.
podgrzanie szklanki wody itp.
a) By dokonać wyboru "DEF", należy
Przykład: Podgrzanie szklanki melka
nacisnąć przycisk "Micro…Auto
a) Szklankę z mlekiem należy umieścić
menu".
na szklanym talerzu obrotowym i
b) Trzeba podać masę artykułu
zamknąć drzwiczki kuchenki.
żywnościowego. Do tego służą
b) Naciśnięciem przycisku "Start/Reset"
przyciski "1min" (1 kg) i "10sec" (0,1
uruchamia się kuchenkę, ktόra będzie
kg).
oddziaływała przez kolejną minutę
c) Kuchenka zostanie uruchomiona,
100% siłą mikrofali.
naciśnięciem przycisku "Start/Reset".
c) Zakończony program oznajmi 5
Masa zamrożonego artykułu żywnościowego nie
sygnałόw dźwiękowych.
może przekraczać 2 kg.
2. Podgrzewanie przy pomocy
4. Grill
mikrofali
W zakres tej funkcji wchodzą dwa sposoby.
W zakresie tej funkcji istnieją dwie
Aby z niej skorzystać należy nacisnąć
możliwości.
przycisk "Mikrofale…Meni automatycznego
a) Szybkie podgrzewanie mikrofalami
gotowania" (najdłuższy czas gotowania to
(100% siły oddziaływania)
60 min)
Przykład: Gotowanie – czas 5 minut, siła
Sposób 1: 85% mocy grillowania, na
oddziaływania mikrofali 100%.
wyświetlaczy wyświetla się komunikat G-1
1. Należy określić czas gotowania np.
Sposób 2: 50% mocy grillowania, na
"5:00".
wyświetlaczy wyświetla się komunikat G-2
2. Nacisnąć "Start/Reset".
Przykład: Przygotowanie żywności na
b) Podgrzewanie mikrofalami z ręcznym
grillu, 20 minut
ustawieniem ich siły oddziaływania
a) Należy nacisnąć przycisk
1. Należy nacisnąć przycisk "Micro…Auto
"Mikrofale…Meni automatycznego
menu" i wybrać siłę oddziaływania
gotowania" , aż na wyświetlaczu LED
mikrofali np. 70%;
pojawi się komunikat "G-1".
2. Nastawić czas np. na "10:00".
b) Ustawić czas gotowania "20:00".
3. Nacisnąć "Start/Reset".
c) Nacisnąć przycisk "Start/Reset".
Podczas grillowania, żywność w kuchence
Wybierać można spośrόd 5 poziomόw siły
nie ogrzewa sie dzięki mikrofalom. Ciepło
oddziaływania, najdłuższy czas działania
emanuje stalowa grzałka umieszczona w
wynosi 60 minut.
górnej części kuchenki.
Podczas działania grilla, gotowanie
A
Gombnyomá
(grillowanie) może przebiagać w dwóch
mikrohullámú
Felirat a
sok száma
poziomach, po zakończeniu pierwszej
sugarak
kijelzőn
"Micro"
teljesítménye
połowy grillowania program samoistnie
wyłączy się. Dwa sygnały dźwiękowe
1 100% P100
zasygnalizują, iż nastąpił czas, aby
2 70% P70
odwrucić żywność. Po odwruceniu artykułu
3 50% P50
spożywczego należy zamknąć drzwiczki i
4 30% P30
nacisnąć przycisk "Start/Reset". Program
5 10% P10
będzie kontynuowany. Jeśli zaś nie chcemy
odwrucić żywności, program z działaniem
po upływie jednej.
66

5. Kombinowane oddziaływanie
Ciężar. Rodzaj żywności Liczba
naciśnięć
Kuchenka umożliwia dwa sposoby
A-4
A-5
A-6
na przycisk
przygotowywania żywności za pomocą
Mięso
Ryba
Drób
"1min"
kombinacji mikrofali i grilla.
1 0,2 0,2 0,2
Sposób 1: Łączne oddziaływanie (55%
2 0,3 0,3 0,4
mikrofale + 45% grill). Na wyświetlaczu
3 0,4 0,4 0,6
zostanie
4 0,5 0,5 0,8
wyświetlony komunikat "C-2".
5 0,6 0,6 1,0
Sposób 2: Łączne oddziaływanie (30%
6 0,8 0,8
7 1,0 1,0
mikrofale + 70% grill). Na wyświetlaczu
zostanie wyświetlony komunikat "C-1".
7. Zegar dygitalny
Przykład: Przygotowanie żywności, sposób
Kuchenka jest zaopatrzona w zegar
2, 15 minut
dygitalny. W celu ustawienia czasu
a) Należy nacisnąć przycisk
(przykładowo 16:30)należy:
"Mikrofale…Meni automatycznego
1. Nacisnąć przycisk "Zegar/Timer".
gotowania" , aż na wyświetlaczu LED
Komunikat na wyświetlaczu zacznie
pojawi się komunikat "C-2".
mrugać. Naciskając przycisk "1 min" i
b) Ustawić czas gotowania "15:00".
"10 sec" ustawiamy godzinę.
c) Nacisnąć przycisk "Start/Reset".
2. Ponownie nacisnąć przycisk
6. Menu automatyczne
"Zegar/Timer". Za pomocą przycisków
"1 min" i "10 sec", należy ustawić
Należy wybrać tylko rodzaj żywności i jej
minuty.
ciężar. Kuchenka sama dostosuje siłę i
3. Nacisnać przycisk "Zegar/Timer".
czas oddziaływania mikrofali.
Nowo ustawiony czas zostanie
Przykład: Automatyczne gotowanie 0,4kg
wyświetlony.
ryby
4. Aby ustawić zegar, należy za każdym
a) Należy naciskać przycisk
razem powtórzyć w/w kolejność.
"Mikrofale…Meni automatycznego
gotowania" , aż na wyświetlaczu
8. Timer
pojawi się komunikat "A-5".
Timer umożliwia dowolne ustawienie
b) Ciężar żywności określa się za
rozpoczęcia i zakończenia działania
pomocą przycisków "1 min"(1 kg) i "10
kuchenki. Aby skorzystać z tej funkcji
sec" (0,1 kg). Należy naciskać
należy upewnić się, że zegar kuchenki
odpowiedni przycisk, aż na
został dokładnie ustawiony.
wyświetlaczu pojawi się komunikat
"0,4".
Przykład: W tym momencie jest 16:30. Z
c) Nacisnąć przycisk "Start/Reset".
przygotowaniem żywności chcemy
rozpocząć o godzinie 18:15. Chcemy aby
Ciężar. Rodzaj żywności Liczba
kuchenka działała o mocy 70% przez 10
naciśnięć
minut.
na
A-1
A-2
A-3
przycisk
a) Należy nacisnąć przycisk "
Ryż
Warzywa
Makaron
"1min"
Zegar/Timer". Za pomocą przycisków
1 0,1 0,1 1
"1 min" i "10 sec" należy ustawić czas
2 0,2 0,2 2
na 18:15 (identyczny proces jak
3 0,3 0,3
podczas ustawiania zegara).
4 0,4 0,4
b) Naciskając przycisk "Mikrofale…Meni
5 0,5 0,5
automatycznego gotowania" należy
6 0,6
wybrać moc działania kuchenki 70%.
c) Należy ustawić czas gotowania 10
minut
d) Nacisnąć przycisk "Start/Reset".
Jeśli moc i czas działania (kroki b i c) nie
zostaną ustawione, po naciśnięciu
przycisku "Start/Reset", kuchenka działać
będzie jako budzik. O godzinie 18:15
włączy się 10 sygnałow dźwiękowych, po
czym urządzenie wyłaczy się.
67

9. Zabezpieczenie/ blokada działania
7. Aby zapobiec powstawaniu hałasu podczas
pracy kuchenki, należy regularnie czyścić
W celu włączenia zabezpieczenia, należy
pierścień łożyska i dolną część komory
nacisnąć i przytrzymać przez 2 sekundy
kuchenki. Zaleca się, aby wnętrze kuchenki
przyciski "1 min" i "10 sec". W celu
czyścić łagodnymi środkami, wodą lub
wyłączenia tej funkcji należy powtórzyć
środkiem do mycia powierzchni szklanych.
działanie.
Po czym, należy ją starannie wysuszyć.
10. Start / Reset
Podczas przygotowywania żywności w
wnętrzu kuchenki kumuluje się para, która
a) W przypadku naciśnięcia przycisku
wydostaje się z potraw. Para nie wywiara
Start/ Reset podczas działania
żadnego wpływu ani na wewnętrzne
kuchenki, kuchenka wyłączy się.
powierzchnie kuchenki ani na pierścień
b) W przypadku ustawienia
łożyska. Po usunięciu pierścienia łożyska
automatycznego właczenia się
podczas czyszczenia kuchenki należy
kuchenki, zaprogramowane działanie
uważać aby później został on
kuchenki zastanie zanulowane w chwili
umiejscowiony prawidłowo na pierwotne
nacisnięcia przycisku "Start/ Reset".
miejsce.
8. W celu usunięcia nieprzyjemnych
Pielęgnacja kuchenki
zapachów w kuchence należy umieścić w
mikrofalowej – czyszczenie i
niej głębokie naczynie (przystosowane do
użytku w kuchence mikrofalowe) z wodą.
konserwacja
Do wody należy wycisnąć sok jednej
1. Przed przystąpieniem do czyszczenia
cytryny i dodać pozostałą skόrkę. Gotować
należy kuchenkę obowiazkowo wyłaczyć i
przez 5 minut. Po zakończonym gotowaniu
wyciągnąć kabel zasilający z gniazdka.
należy kuchenkę dokładnie i starannie
2. Wnętrze kuchenki powinno być zawsze
osuszyć za pomocą miękkiej ściereczki.
czyste. Jeżeli po zakończonym gotowaniu
9. Przed zamianą żarówki w kuchence
na ściankach kuchenki zostały okruchy
mikrofalowej neleży zasięgnąć rady u
potraw lub krople płynu, powinno się je
sprzedawcy lub w autoryzowanym
wytrzeć wilgotną szmatką. Do czyszczenia
zakładzie serwisowym.
należy używać łagodnych środkόw
czyszczących. Nie zaleca się używania
Wyłącznie do własnego użytku!
silnych detergentów oraz środków
ściernych.
Dodatkowe zalecenia i wskazówki dotyczące
3. Powierzchnię zewnętrzną należy czyścić
pieczenia za pomocą mikrofali i grilla
wilgotną ściereczką. Aby zapobiec
znajduja się na stronie internetowej:
uszkodzeniom lub awarii części
znajdujących się wewnątrz kuchenki, należy
http://microwave.gorenje.com
uważać by woda lub inne płyny nie dostały
się do odwietrzników.
4. Nie wolno zmoczyć panelu sterującego.
Należy czyścić go miękką, wilgotną
ściereczką. Nie powinno się używać silnych
środków czyszczących, środków ściernych,
jak również środków czyszczących w
aerosolu.
5. Jeśli na wewnętrznych lub zewnętrznych
powierzchniach kuchenki osiada para,
należy zetrzeć ją miękką ściereczką. Para
pojawia się, gdy kuchenka umieszczona
WIELE SATYSFAKCJI Z
jest w środowisku bardzo wilgotnym. Nie
oznacza to jednak usterki jej działania lub
KORZYSTANIA KUCHENKI
jej uszkodzenia.
MIKROFALOWEJ ŻYCZY PAŃSTWU
6. Od czasu do czasu należy oczyścić rόwnież
szklany talerz. Można umyć go w ciepłej
wodzie i płynem do naczyń lub w zmywarce
do naczyń.
68

MANUAL DE UTILIZARE RO
Înainte de a utiliza cuptorul, vă rugăm să citiţi aceste instrucţiuni cu atenţie.
CARACTERISTICI
Consum .................................................................................................................230V~50Hz, 1280W
Capacitate.................................................................................................................................... 800W
Grill…………………………………………………………………………………. ..............................1200W
Frecvenţă de operare............................................................................................................. 2450MHz
Dimensiuni exterioare ..................................................................510mm(L) x 400mm(W) x 303mm(H)
Dimensiuni cavitate cuptor ...........................................................330mm(L) x 330mm(W) x 212mm(H)
Capacitate cuptor.........................................................................................................................23 litri
Greutate........................................................................................................................Approx. 14,5 kg
Acest aparat este marcat corespunzător
Interferenţe radio
directivei europene 2002/9/CE în privinţa
Cuptoarele cu microunde pot avea interferenţe
aparatelor electrice şi electronice vechi
cu radio-ul, televizorul sau alte echipamente
(waste electrical and electronic
similare. Interferenţele pot fi eliminitate sau
equipment - WEEE).
reduse, dacă urmaţi următoarele proceduri:
Directiva prescrie cadrul pentru o
a) Curăţaţi uşa sau garnitura;
preluare înapoi, valabilă în întreaga UE, şi
b) Puneţi aparatul de radio sau TV cât mai
valorificarea aparatelor vechi.
departe de cuptorul cu microunde;
c) Folosiţi o antenă corect instalată pentru
radio, televizor etc., pentru a obţine un
Înainte de a suna la service
semnal cât mai bun.
1. Dacă cuptorul nu funcţionează, dacă
Instalare
afişajul nu se aprinde sau dacă se stinge:
a) Verificaţi dacă cuptorul este în priză.
1. Scoateţi toate materialele de ambalare din
Dacă ştecherul nu este bine fixat,
interiorul aparatului.
scoateţi-l din priză , aşteptaţi 10
2. Verificaţi cuptorul după despachetare,
secunde şi puneţi-l la loc.
pentru a vedea dacă:
b) Verificaţi dacă siguranţele sunt bune
- uşa este bine aliniată,
sau dacă nu este un scurt circuit. Dacă
- uşa nu este deteriorată,
totul este în regulă, verificaţi priza cu
- nu sunt crestături sau găuri pe geamul
un alt aparat.
de la uşă şi pe ecran,
2. Dacă nu porneşte:
- nu sunt crestături în interiorul aparatului,
a) Verificaţi dacă timer-ul este setat.
- în cazul unor defecţiuni ca cele de mai
b) Verificaţi dacă uşa este bine închisă.
sus NU folosiţi cuptorul.
Dacă aceasta nu este închisă, cuptorul
3. Acest cuptor are o greutate de 14,5 kg şi
nu va porni.
trebuie plasat pe o suprafaţă orizontală,
suficient de puternică pentru a-i suporta
Dacă cuptorul tot nu funcţionează nici după
greutatea.
ce aţi verificat situaţiile de mai sus, chemaţi
4. Aparatul nu trebuie pus într-un loc unde
cea mai apropiată unitate de service.
sunt temperaturi ridicate şi aburi.
5. NU PUNEŢI nimic pe cuptor.
6. Distanţa dintre zidurile laterale şi cuptor
trebuie să fie de cel puţin 8 cm, iar distanţa
dintre zidul din spate şi cuptor trebuie să fie
de cel puţin 10 cm pentru o ventilare
corectă.
7. NU SCOATEŢI axul de rotire al platoului.
8. Nu lăsaţi copiii nesupravegheaţi atunci când
utilizează aparatul.
69

ATENŢIE – ACEST APARAT TREBUIE
b) Înainte de a pune pungile în cuptor
ÎMPĂMÂNTAT
îndepărtaţi legăturile de sârmă.
c) Dacă materialele din interior iau foc,
Cablul de alimentare trebuie să ajungă cu
lăsaţi uşa închisă, scoateţi aparatul din
uşurinţă la priză.
priză sau opriţi alimentarea cu curent
Pentru acest cuptor este nevoie de o putere
de la siguranţă.
de alimentare de 1.5 KVA, de aceea este
recomandat să consultaţi un tehnician atunci
Instrucţiuni generale pentru
când instalaţi aparatul.
siguranţa dvs.
ATENŢIE: Cuptorul este protejat de o
siguranţă internă de 250V 10 Amp.
Mai jos sunt câteva instrucţiuni şi precauţii de
IMPORTANT – Cablurile sunt colorate
care trebuie să ţineţi seama atât pentru siguranţa
conform următorului cod:
dvs., cât şi pentru a asigura o funcţionare cât mai
bună a aparatului:
Verde şi galben Pământ
1. Atunci când folosiţi cuptorul, asiguraţi-vă că
Albastru Neutru
tava de sticlă şi suportul pe care stă
Maro Activ
aceasta sunt la locul lor.
Deoarece culorile cablurilor pot să nu
2. Cuptorul nu trebuie folosit în alt scop decât
corespundă cu marcajele de pe priza dvs.,
acela de a prepara mâncarea. Nu folosiţi
trebuie procedat în felul următor:
cuptorul pentru a usca rufe, hârtie sau alte
Cablul verde şi galben trebuie conectat la
produse care nu sunt alimentare, sau
terminalul marcat cu litera E sau cu simbolul
pentru a steriliza anumite lucruri.
de pământ colorat în verde.
3. Cuptorul nu trebuie pornit dacă este gol,
Cablul albastru trebuie conectat la terminalul
deoarece se poate strica.
marcat cu litera N sau colorat în negru. Cablul
4. Nu folosiţi cavitatea cuptorului ca spaţiu de
maro trebuie conectat la terminalul marcat cu
depozitare pentru hârtie, cărţi de bucate
litera L sau colorat în roşu.
etc.
5. Nu folosiţi cuptorul pentru pregătirea
Instrucţiuni importante
conservelor, deoarece cuptoarele cu
microunde nu sunt echipate în acest sens,
ATENŢIE – pentru a reduce riscul de arderi,
iar alimentele care nu sunt bine conservate
şocuri electrice, incendiu, accidente sau energie
pot dăuna sănătăţii.
excesivă a microundelor:
6. Ouăle cu coajă pot exploda, de aceea nu
1. Citiţi cu atenţie aceste instrcţiuni, înainte de
este bine să le preparaţi în cuptor. Chiar şi
a utiliza cuptorul
ouăle curăţate pot exploda uneori în timpul
2. Unele produse cum ar fi ouăle întregi şi
preparării, de aceea este bine să folosiţi un
recipientele sigilate (cum ar fi, de exemplu,
capac când gătiţi ouă. După ce terminaţi,
borcanele închise de sticlă şi biberoanele)
mai lăsaţi capacul pe vas timp de
pot exploda, de aceea nu este recomandat
aproximativ un minut.
să le încălziţi în cuptorul cu microunde.
7. Nu gătiţi alimente în membrană cum ar fi
Pentru detalii, consultaţi o carte de bucate.
gălbenuşul de la ou, cartofii, ficatul de pui,
3. Cuptorul trebuie utilizat doar pentru
înainte de a le fi înţepat de câteva ori cu o
scopurile menţionate în instrucţiuni.
furculiţă.
4. Nu lăsaţi copiii nesupravegheaţi atunci când
8. Nu puneţi nimic în fantele de aerisire de pe
utilizează aparatul.
corpul aparatului.
5. Nu utilizaţi cuptorul dacă nu funcţionează
9. Nu îndepărtaţi piese din cuptor cum ar fi
corect, dacă a căzut pe jos sau dacă este
picioruşele, şuruburile şi altele
deteriorat.
asemănătoare.
6. Pentru a reduce riscul de incendii în
10. Nu puneţi alimentele direct pe farfuria de
cavitatea cuptorului respectaţi următoarele
sticlă. Alimentele trebuie să stea în/pe vase
instrucţiuni:
speciale pentru gătit.
a) Nu gătiţi prea mult mâncarea.
Supravegheaţi funcţionarea aparatului
IMPORTANT – CE VASE NU TREBUIE
dacă aţi introdus în interior hârtie,
FOLOSITE ÎN CUPTORUL CU
plastic sau alte materiale care ajută la
MICROUNDE:
prepararea mâncării, dar pot fi
- Nu folosiţi tigăi de metal sau vase cu
inflamabile.
mânere de metal.
- Nu folosiţi vase ce au margini de metal.
70

- Nu folosiţi pungi de plastic legate cu
sârmă.
- Nu folosiţi vase din melamină, deoarece
conţin un material care absoarbe energia
microundelor. Vasele pot crăpa, iar
procesul de preparare va fi încetinit.
- Nu folosiţi pentru gătit sticle cu gât
îngust, deoarece pot exploda.
- Nu folosiţi termometre obişnuite pentru
carne sau prăjituri. Pe piaţă există
termometre speciale pentru cuptoarele cu
microunde.
11. Instrumentele pentru microunde trebuie
folosite în concordanţă cu instrucţiunile
producătorului.
12. Cuptorul nu trebuie folosit pentru prăjirea
alimentelor.
13. Nu uitaţi că cuptorul cu microunde
încălzeşte numai lichidul dintr-un recipient.
De aceea nu uitaţi că atunci când scoateţi
vasele din cuptor, chiar dacă nu sunt calde,
mâncarea sau lichidele din interior sunt
fierbinţi şi vor emite aburi atunci când luaţi
capacul de pe vas.
14. Testaţi dvs. temperatura alimentelor şi a
lichidelor, mai ales dacă gătiţi pentru
bebeluşi. Este recomandabil să nu
consumaţi alimentele imediat ce le-aţi scos
din cuptor, ci să le lăsaţi câteva minute şi să
le amestecaţi pentru a distribui în mod egal
temperatura.
15. Mâncarea care conţine un amestec de apă
cu grăsime trebuie să stea cam 30-60 de
secunde în cuptor după ce acesta s-a oprit.
Astfel, amestecul nu va bolborosi dacă
puneţi o lingură în el.
16. Nu trebuie să uitaţi că anumite alimente
cum ar fi budincile, gemul, carnea tocată
etc., se încălzesc foarte repede. Dacă
preparaţi mâncăruri cu conţinut mare de
grăsime sau zahăr nu folosiţi recipiente din
plastic.
17. Vasele se pot încinge, mai ales dacă au
fost acoperite cu o folie din plastic. Nu uitaţi
să folosiţi mănuşile pentru protecţie.
71

PANOU DE COMENZI
1. 10 minute
2. 1 minut
3. 10 secunde
4. Afisaj
5. Micro/Grill/Auto meniu
6. Ceas/Timer
7. Start/Resetare
1. Sistem de blocare a usii
2. Geam
3. Ventilare
4. Inel rotativ
5. Tava
6. Panou de comenzi
7. Grill
72

Greutatea alimentelor congelate nu trebuie
Instructiuni de funtionare
sa depaseasca 2 kg.
1. Incalzire cu un singur buton
4. Grill
Apasati butonul doar o data pentru a porni
Aceasta functie are doua optiuni. Puteti
incalzirea – este o modalitate rapida de a
alege intre cele doua apasand pe butonul
incalzi un pahar cu apa etc.
"Micro…Auto menu" (durata maxima de
Exemplu: Pentru a incalzi un pahar cu
preparare a mancarii este de 60 de minute):
lapte
Optiunea 1: 85% putere grill, afisaj G-1
a) Puneti paharul de lapte pe tava de
Optiunea 2: 50% putere grill, afisaj G-2
sticla rotativa si inchideti usa.
Exemplu: Prepararea mancarii folosind grill-
b) Apasati butonul »Start/Reset«,
ul pentru 20 de minute.
cuptorul cu microunde va functiona la
a) Apasati "Micro…Auto menu" pana
100% putere timp de un minut.
cand pe se afiseaza pe LED "G-1".
c) La final veti auzi 5 semnale sonore.
b) Setati durata de preparare la "20:00"
c) Apasati "Start/Reset"
2. Incalzire microunde
Atunci cand utilizati grill-ul, mancarea
Aceasta functie are doua optiuni.
nu este incalzita de microunde.
a) Incalzire microunde rapida (100%
Caldura este raspandita de la
putere)
rezistenta de metal din partea
Exemplu: Pentru a incalzi mancarea la
superioara a cuptorului.
100% putere timp de 5 minute
Atunci cand functia grill functioneaza,
1. Setati timpul la »5:00«
durata de preparare este impartita in
2. Apasati »Start/Reset«
doua etape. Dupa prima etapa,
b) Functionare manuala incalzire
programul se va opri automat si se vor
microunde
auzi doua semnale sonore, pentru a va
Exemplu: Pentru a incalzi mancarea la
avertiza ca trebuie sa deschideti usa
70% putere timp de 10 minute
cuptorului si sa intoarceti mancarea.
1. Apasati butonul "Micro…Auto menu",
Inchideti usa, dupa ce ati intors
selectati »70%« putere;
mancarea. Apasati butonul
2. Setati timpul la »10:00«
"Start/Reset" si procesul de preparare
3. Apasati »Start/Reset«
a mancarii va continua cu cea de-a
doua etapa. Daca nu vreti sa intoarceti
Exista 5 niveluri de putere, iar durata cea mai
mancarea, cuptorul va porni singur
lunga de preparare la microunde este de 60
dupa un minut de pauza.
minute.
Nr.
5. Gatire combinata
Putere
Atingeri
Afisaj
Cu acest produs aveti mai multe variante de
microunde
"Micro"
gatire combinata.
1 100% P100
Optiunea 1 : Gatire combinata (55%
2 70% P70
microunde + 45% grill)
LED-ul va afisa "C-1"
3 50% P50
Optiunea 2 : Gatire combinata (30%
4 30% P30
microunde + 70% grill)
5 10% P10
LED-ul va afisa "C-2".
Exemplu: Prepararea mancarii folosind
3. Auto-dezghetare
optiunea 2 pentru 15 minute.
Selectati greutatea alimentelor congelate,
a) Apasati "Micro…Auto meniu" pana
iar acest lucru va va ajuta sa reglati
cand pe LED apare "C-2"
automat nivelul de putere si timpul.
b) Setati timpul de gatire pentru "15:00"
Exemplu: dezghetare 0.5kg de carne
c) Apasati "Start/Reset"
congelata.
a) Apasati "Micro…Auto menu" pentru a
6. Auto-Meniu
selecta "DEF".
Acest aparat vă oferă posibilitatea de a
b) Introduceti greutatea apasand butonul
alege între două metode de gătire
"1min" (1kg) si butonul "10 sec"
combinată.
(0.1kg).
Exemplu: Auto preparare 0.4 kg peste
c) Apasati " Start/Reset ".
73

a) Apasati butonul "Micro…Auto menu"
Daca nu setati puterea si durata de
pana cand se afiseaza "A-5".
gatire si apasati direct butonul start,
b) Introduceti greutatea apasand pe
dupa ce ati programat ceasul, aparatul
butonul "1 min" (1 kg) si pe butonul
va incepe sa lucreze ca un ceas.
"10 sec" (0.1 kg).
La 18:15 se vor auzi 10 sunete sonore
c) Apasati "Start/Reset".
si aparatul se va opri.
9. Blocare pentru copii
Numar
Menu, Weight (kg)
atingeri
A-1
A-2
A-3
Pentru a activa sistemul de blocare pentru
"1min"
Orez
Legume
Găluşte
copii, apasati "1 Min" si "10 Sec" in acelasi
1 0,1 0,1 1
timp, timp de 2 secunde.
2 0,2 0,2 2
Apasati "1 Min" si "10 Sec" in acelasi timp
3 0,3 0,3
timp de doua secunde din nou, pentru a
4 0,4 0,4
debloca aparatul.
5 0,5 0,5
6 0,6
10. Start/Reset
a) In perioada de functionare apasati
Menu, Weight (kg) Numar
butonul "Start/Reset" pentru a opri
atingeri
A-4
A-5
A-6
functionarea.
"1min"
Carne
Peste
Pui
b) Daca a fost setat un program inainte
1 0,2 0,2 0,2
de a apasa start, apasati acest buton
2 0,3 0,3 0,4
pentru a anula orice setare.
3 0,4 0,4 0,6
4 0,5 0,5 0,8
5 0,6 0,6 1,0
Curăţare şi întreţinere
6 0,8 0,8
1. Opriţi cuptorul şi scoateţi-l din priză înainte
7 1,0 1,0
de a-l curăţa.
2. Interiorul cuptorului trebuie să fie tot timpul
7. Ceas
curat. Dacă pe pereţi se depun resturi de
Cuptorul are un ceas digital cu formatul 24
mâncare sau lichide, ştergeţi-le cu o cârpă
de ore,
umedă. Puteţi folosi şi un detergent neutru,
Pentru a seta timpul de exemplu la 4:30pm:
dacă cuptorul este foarte murdar. Nu vă
a) Apasati butonul "Clock/Timer". Afisajul
recomandăm utilizarea unor detergenţi
incepe sa clipeasca, reglati ora cu
puternici sau abrazivi.
butoanele "1 Min" si "10 Sec".
3. Exteriorul trebuie curăţat cu o cârpă umedă.
b) Apasati "Clock/Timer" din nou, reglati
Pentru a nu deteriora părţile din interior, nu
minutele cu butoanele "1Min" si "10
lăsaţi apa să se scurgă în fantele de
Sec".
ventilare.
c) Apasati "Clock/Timer" din nou si
4. Panoul de comenzi nu trebuie să se ude.
ceasul va fi setat.
Curăţaţi-l cu o cârpă moale puţin umezită.
d) Daca schimbati ora, repetati procedura
Nu folosiţi detergent, substanţe abrazive
de mai sus.
sau spayuri pentru panoul de comenzi.
5. Dacă se adună abur în interior, sau în jurul
8. Timer
uşii, stergeţi cu o cârpă moale. Acest lucru
Aceasta va permite sa setati cuptorul cu
se poate întâmpla dacă cuptorul
microunde sa porneasca si sa se opreasca
funcţionează într-un mediu umed, şi nu
la un timp dinainte stabilit.
reprezintă un semn de defectare a
Ceasul trebuie setat inainte de a folosi
aparatului.
aceasta functie.
6. Din când în când trebuie să curăţaţi tava de
Exemplu: ora curenta este 16:30, iar dvs.
sticlă. Spălaţi-o cu apă caldă cu detergent
doriti sa inceapa gatitul la ora 18:15 cu 70%
neutru sau în maşina de spălat vasele.
putere, pentru 10 minute:
7. Inelul şi cavitatea interioară trebuie curăţate
a) Apasati "Clock/Timer", setati timpul la
în mod regulat pentru a evita zgomotul
"18:15" apasand pe butoanele "1Min"
excesiv. Partea de jos se şterge cu
si "10 Sec" , (ca atunci cand setati ora)
detergent neutru, apă sau soluţie de curăţat
b) Apasati "Micro…Auto menu" pentru a
geamurile, după care se şterge. Inelul poate
selecta 70% putere.
fi spălat cu apă călduţă cu detergent neutru
c) Setati durata de gatit la 10.
sau în maşina de spălat. Vaporii care se
d) Apasati "Start/Reset"
acumulează în timpul gătitului nu
74

influenţează suprafaţa de jos sau roţile de
la inel. Dacă scoateţi inelul, aveţi grijă să îl
puneţi la loc exact în aceeaşi poziţie.
8. Mirosul neplăcut din cuptor poate fi
îndepărtat amestecând într-un vas o cană
de apă cu suc şi coajă de lămâie. Lăsaţi
vasul să se încălzească în cuptor timp de 5
minute, apoi ştergeţi cu o cârpă moale şi
curată.
9. Dacă trebuie să înlocuiţi becul din cuptor,
chemaţi un tehnicina autorizat.
NUMAI PENTRU UZ PERSONAL!
Mai multe informatii privind gatitul la
microunde, grill si sfaturi utile puteti gasi pe
:
:
http://microwave.gorenje.com
VA DORESTE SA FOLOSITI CU
PLACERE ACEST APARAT
75

NÁVOD NA OBSLUHU SK
Návod na obsluhu si pozorne prečítajte a odložte pre prípad budúceho použitia.
TECHNICKÉ ÚDAJE
Spotreba energie: ...................................................................................................230V~50Hz,1280W
Výkon:..........................................................................................................................................800W
Výkon grilu:................................................................................................................................1200W
Pracovná frekvencia:.............................................................................................................. 2450MHz
Vonkajšie rozmery:....................................................................... 510mm(Š) X400mm(H) X 303mm(V)
Vnútorné rozmery rúry: ............................................................... 330mm(Š) X 330mm(H) X 212mm(V)
Obsah rúry:...............................................................................................................................23 litrov
Hmotnosť:................................................................................................................... Približne 14,5 kg
Toto zariadenie je označené podľa
b) Rádio, TV, atď. umiestnite čo najďalej od
Európskej smernice 2002/96/EC
mikrovlnnej rúry.
o Doslúžilých elektrických
c) Na dosiahnutie silného signálu použite
a elektronických zariadení (WEEE).
správne nainštalovanú anténu pre vaše
Táto smernica určuje v rámci Európskej
rádio, TV, atď.
únie pokyny pre vrátenie a recykláciu
starých elektrických a elektronických
Inštalácia
zariadení.
1. Skontrolujte, či ste odstránili všetky obalové
materiály z vnútra dverí.
Skôr ako sa obrátite na servis
2. Po vybalení rúry skontrolujte, či nie je
poškodená:
1. Ak rúra nefunguje, displej nezobrazuje
alebo zobrazenie zmizne:
- Nedosadanie dverí
- Poškodenie dverí
a) Skontrolujte, či je rúra správne
- Vydutia alebo diery v okne dverí alebo
pripojená. Ak nie, odpojte zástrčku zo
zásuvky, počkajte 10 sekúnd a opäť ju
obrazovke
- Vydutia vo vnútri rúry
správne pripojte.
Ak nájdete jedno z vyššie uvedených
b) Skontrolujte poistky pre daný obvod
poškodení, NEPOUŽÍVAJTE rúru.
a hlavný istič. Ak sa javia byť
3. Mikrovlnná rúra váži 14,5 kg a musí byť
v poriadku, skúste skontrolovať
umiestnená na silnom vodorovnom
zásuvku pripojením iného zariadenia.
2. Ak mikrovlnná energia nepracuje:
povrchu, ktorý unesie túto hmotnosť.
4. Rúru neumiestňujte na miestach s vysokou
a) Skontrolujte, či sú nastavené hodiny.
teplotou a parou.
b) Skontrolujte, či sú dvere správne
zatvorené. Inak mikrovlnná energia
5. Na rúru NEUMIESTŇUJTE žiadne
predmety.
nebude prúdiť do rúry.
Ak sa podľa vyšsie uvedených pokynov
6. Pre dostatočnú ventiláciu nechajte po
nepodarí odstrániť problém, obráťte sa na
stranách rúry minimálne 8 cm voľný priestor
najbližší servis.
a vzadu 10 cm.
7. NEODSTRAŇUJTE hnací hriadeľ otočného
Toto zariadenie pre domáce použitie na
taniera.
ohrievanie jedla a nápojov používa
8. Tak ako pri každom zariadení je pri
elektromagnetickú energiu, len pre domáce
používaní deťmi potrebný dozor.
použitie.
VAROVANIE-TOTO ZARIADENIE MUSÍ
BYŤ UZEMNENÉ.
9. Zásuvka by mala byť v malej vzdialenosti.
Rušenie
10. Táto rúra požaduje 1.5 KVA pre jej vstup,
Mikrovlnná rúra môže spôsobiť rušenie vášho
pri inštalácii je odporúčané konzultácia
rádia, TV alebo podobného zariadenia. Ak
s kvalifikovaným pracovníkom.
nastane toto rušenie môžete ho odstrániť alebo
UPOZORNENIE: Táto rúra je chránená
znížiť nasledovnými opatreniami.
vnútornou 250V,10 Amp poistkou.
a) Vyčistite dvere a tesnenie rúry.
76

DÔLEŽITÉ
• Mikrovlnné ohrievanie môže mať za
Vodiče v sieťovej šnúre sú sfarbené
následok oneskorené prevretie, preto buďte
nasledovne:
pri narábaní s nádobou opatrný;
Zelený a žltý: Zem
• Obsah fľaše pre kojencov a detské poháre
Modrý: Neutrálny
premiešajte alebo pretrepte a pred
Hnedý: Fáza
podávaním deťom skontrolujte teplotu na
Pretože farby vodičov sieťovej šnúry
zabránenie popálenia;
zariadenia nemusia súhlasiť s farebným
• Vajcia v škrupine a celé vajcia na tvrdo
označením vašej zásuvky, pokračujte
neohrievajte v mikrovlnnej rúre, pretože
nasledovne:
môžu explodovať, dokonca aj po skončení
- Zelený a žltý vodič musí byť pripojený ku
ohrievania;
konektoru označeným písmenom E alebo
• Na čistenie povrchov dverí, tesnenia dverí,
symbolom uzemnenia, zelená alebo
interiéru rúry použite len jemné nebrúsne
zeleno-žltá farba.
mydlá, alebo čistiace prostriedky aplikované
- Modrý vodič musí byť pripojený ku
špongiou alebo jemnou tkaninou.
konektoru označeným písmenom N alebo
• Rúra by mala byť čistená pravidelne a mali
čiernou farbou.
by byť odstránené všetky zvyšky pokrmov;
- Hnedý vodič musí byť pripojený ku
• Neudržiavanie rúry v čistých podmienkach
konektoru označeným písmenom L alebo
môže viesť k poškodeniu povrchu, ktorý
červenou farbou.
môže nepriaznivo ovplyvniť životnosť
zariadenia a môže byť výsledkom
Dôležité bezpečnostné
nebezpečnej situácie;
• Ak je sieťová šnúra poškodená, musí byť
pokyny
vymenená výrobcom, servisom alebo
• VAROVANIE: Pri používaní zariadenia
podobne oprávnenou osobou na
v kombinovanom režime, by mali deti
zabránenie rizika.
používať rúru len pod dohľadom dospelých
kvôli generovaným teplotám; (Len pre
Bezpečnostné pokyny pre
modely s funkciou grilovania)
všeobecné použitie
• VAROVANIE: Ak sú dvere alebo tesnenie
dverí poškodené, rúru nesmiete používať,
Nižšie sú uvedené, tak ako pri všetkých
pokiaľ nebude opravená kompetentnou
spotrebičoch, určité zásady na ovládanie
osobou;
a bezpečnosť na zaistenie špičkového výkonu
• VAROVANIE: Pre každého, okrem
tejto rúry:
kompetentnej osoby, je nebezpečné
1. Pri používaní rúry vždy majte na svojom
vykonávať opravy a údržbu, ktorá zahŕňa
mieste všetky potrebné súčasti (otočný
demontáž krytu, ktorý chráni pred
sklený tanier, valčekový prstenec a spojky).
mikrovlnnou energiou.;
2. Rúru používajte len na prípravu pokrmov,
• VAROVANIE: Tekutiny a iné potraviny
nepoužívajte na sušenie oblečenia, papiera
nesmú byť ohrievané v uzatvorených
alebo iných nepotravinových predmetov a
nádobách, pretože môžu explodovať.
na sterilizovanie.
• WARNING: Deti môžu používať rúru bez
3. Rúru nepoužívajte, keď je prázdna. Toto ju
dozoru len keď boli oboznámené so
môže poškodiť.
všetkými pokynmi a pochopili možné riziká
4. Rúru nepoužívajte ako odkladací priestor,
pri nesprávnom použití;
napríklad papiera, kníh, atď.
5. Nevarte žiadny pokrm s blanou, ako je
• Rúra musí mať dostatočnú ventiláciu.
žĺtok, zemiaky, kurča, atď, bez
Dodržte 10 cm voľný priestor v zadu; 15 cm
niekoľkonásobného prepichnutia vidličkou.
po stranách a 30cm z hora. Neodstraňujte
6. Do vonkajších otvorov nevkladajte žiadne
nožičky rúry a neblokujte ventilačné otvory.
predmety.
• Používajte len kuchynský riad určený na
7. Neodstraňujte žiadne časti rúry ako sú
použitie v mikrovlnnej rúre.
nožičky, skrutky, atď.
• Keď ohrievate potraviny v plastových alebo
8. Pokrm nevarte priamo na otočnom tanieri.
papierových obaloch, dávajte pozor, aby sa
Pokrm umiestnite do/na správny kuchynský
nevznietili;
riad.
• Ak spozorujete dym, vypnite alebo odpojte
DÔLEŽITÉ-V MIKROVLNNEJ RÚRE
zariadenie a dvere nechajte zatvorené na
NEPOUŽÍVAJTE
uhasenie ohňa;
77

- Nepoužívajte kovové panvice alebo riad
iné horľavé materiály potrebné pri
s kovovými rúčkami.
varení, neustále kontrolujte mikrovlnnú
- Nepoužívajte riad s kovovými ozdobami.
rúru.
- Nepoužívajte plastové vrecká
b) Pred vložením vreciek do mikrovlnnej
uzatvorené drôtom.
rúry z nich odstráňte uzatváracie drôty.
- Nepoužívajte melamínový riad ak
c) Ak by sa materiály vnútri rúry mali
obsahuje materiál, ktorý pohlcuje
zapáliť, nechajte dvere rúry zatvorené,
mikrovlnnú energiu. To môže spôsobiť
odpojte rúru z elektrickej zásuvky,
prasknutie riadu alebo opálenie
vypnite stenový istič alebo vypnite
a spomaľuje rýchlosť varenia.
hlavný istič v poistkovej skrini.
- Nepoužívajte starožitný riad. Glazúra nie
je vhodná pre mikrovlnné použitie. Šálky
typu „Corelle Livingware“ by nemali byť
použité.
- Nepoužívajte na varenie nádoby
s obmedzeným otvorom, pretože môžu
explodovať.
- Nepoužívajte bežné mäsové a pekárske
teplomery.
- Existujú teplomery výslovne na
mikrovlnné varenie. Tieto môžu byť
použité.
9. Mikrovlnný riad by mal byť používaný len
s pokynmi výrobcu.
10. Nepokúšajte sa smažiť pokrmy v rúre.
11. Zapamätajte si, že mikrovlnná rúra ohrieva
len tekutinu v nádobe. Preto kryt nádoby nie
je po vybratí z rúry horúci. Zapamätajte si,
že pokrm/tekutina vnútri uvoľní rovnaké
množstvo pary po otvorení krytu ako pri
bežnom varení.
12. Vždy skontrolujte teplotu vareného pokrmu,
obzvlášť ak ohrievate alebo varíte
pokrm/tekutinu pre deti. Je vhodné nikdy
nekonzumovať pokrm ihneď po vybratí
z rúry, ale ho nechať niekoľko minút odstáť
a premiešať, aby sa rovnomerne rozložilo
teplo.
13. Pokrm obsahuje zmes tuku a vody, napr.
vývar by ste mali nechať odstáť 30-60
sekúnd v rúre po dokončení. To umožní
zmesi vyrovnať teplotu a zamedziť bublaniu
keď ponoríte lyžicu do pokrmu/tekutiny
alebo pridáte bujón.
14. Keď pripravujete/varíte pokrm/tekutinu
a pamätáte, že sú určité pokrmy, napríklad
puding, džem a mleté mäso, ktoré sa
zohrejú veľmi rýchlo. Keď ohrievate alebo
varíte pokrmy s vysokým obsahom tuku
alebo cukru, nepoužívajte plastové nádoby.
15. Kuchynský riad sa môže zohriať z dôvodu
prenosu tepla z ohrievaného pokrmu.
Zvlášť pri riade s plastovými povrchmi.
Preto na vybratie nádoby môžu byť
potrebné kuchynské rukavice.
16. Zníženie rizika vzniku ohňa v rúre:
a) Pokrm neprevárajte. Ak sú v rúre
umiestnené papierové, plastové alebo
78

OVLÁDACÍ PANEL
1. 10 minút
2. 1 minúta
3. 10 sekúnd
4. Displej
5. Mikrovlny/Gril/Menu automatiky
6. Clock/Timer (Hodiny/Časovač)
7. Štart/Reset
POPIS ZARIADENIA
1. Bezpečnostný uzatvárací systém dverí
2. Okno rúry
3. Vetracie otvory rúry
4. Valčekový prstenec
5. Otočný tanier
6. Ovládací panel
7. Grilovací stojan
79

c) Stlačte " Start/Reset ".
Pokyny k obsluhe
Hmotnosť zmrazeného pokrmu musí byť
menej ako 2 kg.
1. Tlačidlo jednoduchého ohrievania
Iba jedným stlačením tlačidla môžete
4. Gril
spustiť jednoduché ohrievanie. Je to veľmi
Táto funkcia má dve možnosti. Môžete si
výhodné na rýchle zohriatie pohára vody
zvoliť z dvoch možností stlačením tlačidla
atď.
"Micro…Auto menu" (najdlhší čas varenia je
Príklad: Zohriatie pohára mlieka
60 minút):
a) Pohár mlieka položte na otočný tanier
Možnosť 1: 85% výkon grilu, zobrazenie
a zatvorte dvere.
G-1
b) Stlačte tlačidlo »Start/Reset«.
Možnosť 2: 50% výkon grilu, zobrazenie
Mikrovlnná rúra bude pracovať 1
G-2
minútu na 100% výkon.
Príklad: Varenie jedla pomocou grilu na 20
c) Keď je zohrievanie ukončené, zaznie 5
minút.
pípnutí.
a) Stlačte "Micro…Auto menu" kým LED
displej nezobrazí "G-1".
2. Mikrovlnný ohrev
b) Nastavte dobu varenia na "20:00"
Táto funkcia má dva varianty.
c) Stlačte "Štart/Reset"
a) Rýchle mikrovlnné ohrievanie (100%
Pri grilovaní sa jedlo neohrieva
výkon)
mikrovlnami. Teplo sa šíri z kovového
Príklad: Ohrievanie pokrmu 5 minút na
výhrevného telesa na hornej časti rúry.
100% výkon
Pri prevádzke grilu sa doba varenia delí na
1. Čas nastavte na »5:00«
2 fázy. Po prvej fáze sa program
2. Stlačte » Start/Reset «
automaticky zastaví a 2 krát pípne, čím
b) Manuálne nastavenie mikrovlnného
signalizuje, aby ste otvorili dvierka rúry a
ohrievania
otočili jedlo. Po otočení jedla dvierka
Príklad: Ohrievanie pokrmu 10 minút na
zatvorte. Stlačte tlačidlo "Štart/Reset" a
70% výkon
varenie bude pokračovať 2. fázou. Ak
1. Stlačte tlačidlo "Micro…Auto menu"
nechcete jedlo otočiť, rúra sa znovu spustí
a zvoľte »70%« výkon;
po 1 minútovej pauze.
2. Čas nastavte na »10:00«
3. Stlačte » Start/Reset «
5. Kombinované varenie
U tohto spotrebiča môžete vybrať z dvoch
Obsahuje 5 výkonových úrovní a najdlhší
možností kombinovanej prípravy jedla.
mikrovlnný čas varenia je 60 minút.
Možnosť 1 : Kombinované varenie (55%
Počet
mikrovlny + 45% gril)
Mikrovlnný
stlačení
Zobrazenie
LED displej zobrazí "C-1"
výkon
"Micro"
Možnosť 2 : Kombinované varenie (30%
1 100% P100
mikrovlny + 70% gril)
2 70% P70
LED displej zobrazí "C-2".
Príklad: Varenie jedla pomocou možnosti 2
3 50% P50
na 15 minút.
4 30% P30
a) Stlačte "Micro…Auto menu" kým LED
5 10% P10
displej nezobrazí "C-2"
b) Nastavte dobu varenia na "15:00"
3. Automatické rozmrazovanie podľa
c) Stlačte "Štart/Reset"
hmotnosti
Vyberte hmotnosť zmrazeného pokrmu, čo
6. Menu automatiky
vám automaticky pomôže nastaviť výkon
Potrebujete len zvoliť druh jedla a
a čas.
hmotnosť, a spotrebič vám pomôže
Príklad: rozmrazenie 0.5kg zmrazeného
automaticky nastaviť výkon a čas.
mäsa.
Príklad: Automaticke varenie ryby 0,4 kg
a) Stlačením "Micro…Auto menu" zvoľte
a) Stláčajte tlačidlo "Micro…Auto menu"
"DEF".
kým sa nezobrazí "A-5".
b) Vstupnú hmotnosť nastavíte stlačením
b) Zadajte hmotnosť stlačením tlačidla "1
tlačidla "1min" (1kg) a tlačidla "10 sec"
min" (1 kg) a tlačidla "10 sec" (0,1 kg)
(0.1kg).
c) Stlačte "Štart/Reset".
80





