Citizen CX-77IV – страница 4
Инструкция к Калькулятору Citizen CX-77IV

ZNACZENIE SYMBOLI NA WYŚWIETLACZU:
M : Pamięć – : Minus ( lub liczba ujemna)
GT : Suma ogółem E : Błąd przepełnienia
COST : Koszty własne SELL : Cena sprzedaży
MARGIN% : Procent marży
SET : Kurs wymiany / Wprowadzenie poziomu podatki
% : Zapisana do pamięci wysokość podatku
TAX : Suma podatku
+TAX : Cena z podatkiem -TAX : Cena bez podatku
LOCAL : Waluta miejscowa : Waluta uniwersalna
SYMBOLE DRUKOWANE
Symbole drukowane oznaczają:
½
Suma ogółem (wynik)
Druk Włą/Wył
T
M
Wywołanie ogólnej sumy
Dodaj do pamięci
¨
T
M
Odejmij od liczby zapisanej
Czyszczenie ogólnej sumy
½
–
w pamięci
M
= Równa się
Wywołanie z pamięci
M
# Bez wyrównywania lub data
Czyszczenie pamięci
½
%
Procenty
C
Koszt
M
Waluta miejscowa S Cena sprzedaży
M
C
M
Waluta uniwersalna
Marża
C
%
......
Błąd przepełnienia
-Po6-
File name: HP5_Polish.doc DATE: 2005/4/1

ﻕﺍﺭﻭﻷﺍ ﺔﻨﺍﻭﻁﺴﺃ لﻴﻤﺤﺘ ﺔﻴﻔﻴﻜ
.
1
ﻑﻠﺨﻠﻟ
(
1
)
ﻕﺍﺭﻭﻷﺍ ﺔﻠﻤﺎﺤ ﻊﻓﺩﺍ
(
1
.
(
1
)
ﻕﺍﺭﻭﻷﺍ ﺔﻠﻤﺎﺤﺒ
(
2
)
ﻕﺍﺭﻭﻷﺍ ﺔﻨﺍﻭﻁﺴﺃ لﺎﺨﺩﺈﺒ ﻡﻗ
(
2
ﺔﻓﺎﺤ لﺎﺨﺩﺇﻭ ﺹﻘﻤﺒ ﻡﻴﻘﺘﺴﻤ لﻜﺸﺒ
(
2
)
ﻕﺍﺭﻭﻷﺍ ﺔﻨﺍﻭﻁﺴﺃ ﺔﻓﺎﺤ ﻊﻁﻘﺒ ﻡﻗ
(
3
.
(
3
)
ﻕﺍﺭﻭﻷﺍ ﺔﺤﺘﻔﺒ ﻕﺍﺭﻭﻷﺍ ﺔﻨﺍﻭﻁﺴﺃ
ON
[
©
]
ﻕﺍﺭﻭﻷﺍ ﺔﻴﺫﻐﺘ ﺡﺎﺘﻔﻤ ﻰﻠﻋ ﻁﻐﻀﺍ
لﻴﻐﺸﺘﻟ ﻵﺍﺔﻟ ﺔﺒﺴﺎﺤﻟﺍ.
[
]
ﻁﻐﻀﺍ
(
4
CE C
ﻰﺘﺤ ﺝﺭﺨﻴ ﻑﺭﻁ ﻕﺍﺭﻭﻷﺍ ﻥﻤ ﺔﻌﻁﺎﻗ ﻕﺍﺭﻭﻻﺍ .
ﺭﺒﺤﻟﺍ ﺔﻨﺍﻭﻁﺴﺃ ﺭﻴﻴﻐﺘ ﺔﻴﻔﻴﻜ
.
2
ﻉﻭﻨ
)
(
IR-30
)
ﻟﻵﺍ ﻡﺩﺨﺘﺴﺘ ﺔﻌﺒﺎﻁﻟﺍ ﺔﺫﻭﻤﻨﻟﺍ ﺍﺫﻬﺒ ﺝﻨﺍﻭﻁﺴﺃ ﺔﺒﺤ ﺭﻠﺒﺎﻗ ﺔﻟﺍﺯﻺﻟﺔ
ﻭﺃ ﺔﻴﻔﻴﻔﺨ ﺔﻋﺎﺒﻁﻟﺍ ﺕﻨﺎﻜ ﺍﺫﺇ ﺭﺒﺤﻟﺍ ﺔﻨﺍﻭﻁﺴﺃ لﺩﺒﺘﺴﺍ ،ﺔﻅﻭﺤﻠﻤ ﺭﻴﻏ
.
(
ﺝﺩﻴﺭﺘﺭﺎﻜ
ﺓﺩﻴﺩﺠ ﻯﺭﺨﺄﺒ.
ﺀﺎﻔﻁﻹ ﺔﻟﻵﺍ ﺔﺒﺴﺎﺤﻟﺍ.
[OFF]
ﻁﻐﻀﺍ
(
1
.
(
4
)
ﺏﺤﺴﺍ ﺀﺎﻁﻏ ﺔﻟﻵﺍ ﺔﻌﺒﺎﻁﻟﺍ
(
2
ﺎﻬﻌﻓﺭﺒ ﻰﻠﻋﻸﻟ.
)5(
ﻡﻗ ﺔﻟﺍﺯﺈﺒ ﺔﻨﺍﻭﻁﺴﺃ ﺭﺒﺤﻟﺍ
(
3
ﺔﻠﻤﺎﺤﻟﺎﺒ ﺔﻴﻌﻀﻭﻟﺎﺒ ﺔﺒﺴﺎﻨﻤﻟﺍ.
(
5
)
ﻡﻗ ﺏﻴﻜﺭﺘﺒ ﺔﻨﺍﻭﻁﺴﺃ ﺭﺒﺤﻟﺍ
(
4
ﻟﺎﺒﺔﻴﻌﻀﻭ ﺔﻴﻠﺼﻷﺍ.
(
4
)
لﺩﺒﺘﺴﺍ ﺀﺎﻁﻏ ﺔﻟﻵﺍ ﺔﻌﺒﺎﻁﻟﺍ
(
5
-A1-

ﺔﻅﺤﻼﻤ:
ﺔﻌﺒﺎﻁﻟﺍ ﺔﻟﻵﺍ ﺩﺴﻴ ﻭﺃ ﺏﺭﺴﺘﻴ ﺩﻗ ﻪﻨﻷ لﺌﺎﺴ ﺭﺒﺤﺒ ﺍﺩﺒﺃ ﺭﺒﺤﻟﺍ ﺔﻨﺍﻭﻁﺴﺃ ﻸﻤﺘ ﻻ.
( ﻁﻘﻓ.
IR-30
ﺒﺤ ﺝﺩﻴﺭﺘﺭﺎﻜ ﻡﺩﺨﺘﺴﺍﺭ )
ﺕﺎﻴﺭﺎﻁﺒﻟﺍ لﺍﺩﺒﺘﺴﻻ
.
3
ﺢﺘﻓﺍ ﺀﺎﻁﻏ ﺓﺭﺠﺤ ﺕﺎﻴﺭﺎﻁﺒﻟﺍ.
1(
ﻡﻗ ﺔﻟﺍﺯﺈﺒ ﺕﺎﻴﺭﺎﻁﺒﻟﺍ ﺔﻤﻴﺩﻘﻟﺍ.
2(
ﺔﻴﺒﻁﻘﻟﺍﻭ ﻩﺎﺠﺘﻻﺎﺒ
(
UM-3 / AA BATTERY x 4
ﻡﻗ لﺎﺨﺩﺈﺒ ﺕﺎﻴﺭﺎﻁﺒﻟﺍ ﺓﺩﻴﺩﺠﻟﺍ )
3(
ﺢﻴﺤﺼﻟﺍ.
لﺩﺒﺘﺴﺍ ﺀﺎﻁﻐﻟﺍ.
4(
AC
ﻑ ﻴﻜﻤ ﻡﺍﺩﺨﺘﺴﻻ
.
4
ﻡﻗ ﺀﺎﻔﻁﺈﺒ ﺔﻗﺎﻁﻟﺍ.
1 (
ﺱﺒﺎﻘﻟﺎﺒ .
6V / 300mA , (
)
AC
ﻡﻗ ﺒلﺼﻭ ﻑﻴﻜﻤ
2(
ﻥﻴﻴﻌﺘﻟﺍ ﺓﺩﺎﻋﺇ:
.
5
ﻭﺃ ﺽﺭﻌﻟﺍ ﺔﺸﺎﺸﺒ لﻠﺨ ﺏ ﺒﺴﺘ ﺩﻗ ﺔﻴﺌﺎﺒﺭﻬﻜﻟﺍ ﺔﻨﺤﺸﻟﺍ ﻭﺃ ﻲﺴﻴﻁﺎﻨﻐﻤﻭﺭﻬﻜﻟﺍ لﺨﺩﺘﻟﺍ
ﻱﺭﺌﺍﺩ لﻜﺸﺒ ﺏﺒﺩﻤ ﻡﻠﻗ ﺔﻤﻗ ﻡﺩﺨﺘﺴﺍ ،ﺍﺫﻫ ﺙﺩﺤ ﺍﺫﺇ
ﺃ ﻥﺍﺩﻘﻓﺓﺭﻜﺍﺫﻟﺍ ﻯﻭﺘﺤﻤ لﻴﺩﻌﺘ ﻭ.
{
ﺔﻴﺭﺎﻁﺒﻟﺍ ﺓﺭﺠﺤ لﻔﺴﺃ .
[RESET
]
ﺭﺯ ﻰﻠﻋ ﻁﻐﻀﻠﻟ
(
ﻪﺒﺎﺸﻤ ﺏﺒﺩﻤ ﺀﻲﺸ ﻱﺃ ﻭﺃ
)
RESET
-A2-
File name: HP5_Arabic.doc DATE: 2005/4/1

ﺢﻴﺘﺎﻔﻤﻟﺍ ﻑﺼﻭ
ﺩﺍﺩﻋﻷﺍ ﺢﻴﺘﺎﻔﻤ
[0]~[9]
ﺔﻠﺨﺩﻤﻟﺍ ﺩﺍﺩﻋﻷﺍ ﻥﻴﻴﻌﺘ
ﺔﻴﺭﺸﻌﻟﺍ ﺔﻟﺯﻨﻤﻟﺍ ﺡﺎﺘﻔﻤ
[ • ]
ﺔﻴﺭﺸﻌﻟﺍ ﺔﻟﺯﻨﻤﻟﺍ ﻥﻴﻴﻌﺘ
ON
لﻴﻐﺸﺘﺔﺒﺴﺎﺤﻟﺍ ﺔﻟﻵﺍ
]
لﻴﻐﺸﺘﻟﺍ /لﺎﺨﺩﻹﺍ ﻑﺫﺤ /ﻑﺫﺤﻟﺍ ﺡﺎﺘﻔﻤ:
[
CE C
ﺔﻠﺨﺩﻤ ﺩﺍﺩﻋﺃ ﺭﺨﺁ ﻑﺫﺤﻟ ﺎﻬﻴﻠﻋ ﻁﻐﻀﻟﺎﺒ ﻡﻗ) ﺩﺩﻌﻟﺍ
CE:
ﺽﻭﺭﻌﻤﻟﺍ (ﺔﻔﻴﻅﻭ ﺡﺎﺘﻔﻤ ﻱﺃ ﻰﻠﻋ ﻁﻐﻀﻟﺍ لﺒﻗ.
ﺓﺭﻜﺍﺫﻟﺍ ﺕﺎﻴﻭﺘﺤﻤ ﺍﺩﻋ ﺀﻲﺸ لﻜ ﻑﺫﺤﻟ ﺎﻬﻴﻠﻋ ﻁﻐﻀﻟﺎﺒ ﻡﻗ.
C:
ﺔﻗﺎﻁﻟﺍ ﻑﺎﻘﻴﺇ
]OFF[
ﺔﺒﺴﺎﺤﻟﺍ ﺔﻟﻵﺍ ﻑﺎﻘﻴﺇ
-A3-

[×] [
÷
]
ﺔﻴﺒﺎﺴﺤﻟﺍ ﺢﻴﺘﺎﻔﻤﻟﺍ
[+] [–]
ﻲﻟﺍﻭﺘﻟﺍ.
ﻰﻠﻋ ﺔﻤﺴﻘﻟﺍﻭ
ﻊﻤﺠﻟﺎﺒ ﻡﺎﻴﻘﻟﺍ ﺏﺭﻀﻟﺍﻭ ﺡﺭﻁﻟﺍﻭ
ﻱﻭﺎﺴﻴ ﺡﺎﺘﻔﻤ
[ = ]
ﺔﻴﻭﺌﻤﻟﺍ ﺔﺒﺴﻨﻟﺍ ﺡﺎﺘﻔﻤ
[%]
ﺔﻓﺎﻀﻺﻟ لﻴﻭﺤﺘﻟﺍ ﻙﻟﺫﻜﻭ
ﺔﻴﺭﺸﻌﻟﺍ ﺔﻤﻴﻘﻠﻟ ﺔﻴﻭﺌﻤﻟﺍ ﺔﺒﺴﻨﻟﺍ لﻴﻭﺤﺘ.
ﻡﺼﺨﻟﺍ ﺏﺎﺴﺤﻭ.
ﺓﺭﺎﺸﻹﺍ ﺭﻴﻴﻐﺘ ﺡﺎﺘﻔﻤ
[+/–]
ﺩﺨﺘﺴﻴﺩﺩﻌﻠﻟ ﺔﻴﺭﺒﺠﻟﺍ ﺓﺭﺎﺸﻹﺍ ﺭﻴﻴﻐﺘﻟ ﻡ /ﺽﻭﺭﻌﻤﻟﺍ لﻤﺎﻌﻟﺍ.
ﺔﻴﺭﺸﻌﻟﺍ ﺔﻟﺯﻨﻤﻟﺍ ﺩﺩﺤﻤ:
]TAB[
:ﻡﺌﺎﻌﻟﺍ ﻱﺭﺸﻌﻟﺍ ﻁﻤﻨﻟﺍ
F
ﺕﺒﺎﺜﻟﺍ ﻱﺭﺸﻌﻟﺍ ﻁﻤﻨﻟﺍ
:
0 2 3
ﻊﻤﺠﻟﺍ ﻁﻤﻨ– ﻡﺘﻴ ﻡﺎﻴﻘﻟﺍ ﺕﺎﺒﺎﺴﺤﺒ ﻊﻤﺠﻟﺍ ﺡﺭﻁﻟﺍﻭ ﻡﺎﻅﻨﺒ
A
:
ﻱﺭﺸﻋ ﻲﻟﺁ ﻭﺫ ﻥﻴﺘﻟﺯﻨﻤ ﺙﻴﺤﺒ ﻻ ﻥﻭﻜﻴ لﺎﺨﺩﺇ ﺔﻟﺯﻨﻤﻟﺍ ﺔﻴﺭﺸﻌﻟﺍ
ﺎﺒﻠﻁﺘﻤ.
ﻔﻤﺭﻴﻭﺩﺘﻟﺍ ﺩﻴﺩﺤﺘ ﺡﺎﺘ
[5/4]
ﺕﺎﻨﺎﺨﻠﻟ
(
T
)
ﻭﺃ ﻊﻴﻤﺠﺘﻟﺍ
(
5/4
)
ﻊﻴﻤﺠﺘﻟﺍﻭ ،
(
S
)
ﺭﻴﻭﺩﺘﻠﻟ ﻡﺩﺨﺘﺴﻴ
ﺔﻴﺭﺸﻌﻟﺍ ﺓﺩﺩﺤﻤﻟﺍ ﺎﻘﺒﺴﻤ ﺔﺠﻴﺘﻨﻟﺎﺒ.
ﻲﻟﺎﻤﺠﻹﺍ ﻉﻭﻤﺠﻤﻟﺍ ﺡﺎﺘﻔﻤ
]GT[
ﻕﺭﻭﻟﺍ ﺔﻴﺫﻐﺘ ﺡﺎﺘﻔﻤ
[
©
]
ﻕﺭﻭﻟﺍ ﺔﻨﺍﻭﻁﺴﺃ ﻡﻴﺩﻘﺘ
ﺕﺎﻨﺎﻴﺒﻟﺍ ﺔﻋﺎﺒﻁ ﺡﺎﺘﻔﻤ
]#/P[
ﻋﺎﺒﻁﻟ ﻡﺩﺨﺘﺴﻴﺔ ﺭﺜﺅﻴ ﻻ ﻪﻨﻜﻟﻭ ﺽﻭﺭﻌﻤﻟﺍ ﻯﻭﺘﺤﻤﻟﺍ ﻰﻠﻋ
ﻡﺎﻗﺭﻷﺍ ﺔﻋﺎﺒﻁ ﻡﺘﻴ
ﺔﻠﺴﻠﺴﺘﻤﻟﺍ ﻡﺎﻗﺭﻷﺍﻭ ﺦﻴﺭﺍﻭﺘﻟﺍ لﺜﻤ ﺕﺎﺒﺎﺴﺤ.
ﺔﻗﺭﻭﻠﻟ ﺭﺴﻴﻷﺍ ﺏﻨﺎﺠﻟﺍ ﻰﻠﻋ ﺭﺎﺴﻴﻟﺍ ﻥﻤ.
ﺔﻋﺎﺒﻁﻟﺍ ﻁﻤﻨ ﺩﻴﺩﺤﺘ
]PRINT[
-A4-
File name: HP5_Arabic.doc DATE: 2005/4/1

ﺎﻬﺘﻋﺎﺒﻁ ﻡﺘﺘﺴﻭ ﺽﺭﻌﻟﺍ ﺔﺸﺎﺸ ﻰﻠﻋ ﺞﺌﺎﺘﻨﻟﺍﻭ ﺕﻼﺨﺩﻤﻟﺍ ﺭﻬﻅﺘﺴ.
ﺓﺭﻜﺍﺫﻠﻟ ﺩﺌﺍﺯﻟﺍ ﺡﺎﺘﻔﻤ
]M[+
لﻜﺸﺒ ﺔﺒﺴﺘﺤﻤﻟﺍ ﺔﺠﻴﺘﻨﻟﺍ ﻭﺃ ﺽﻭﺭﻌﻤﻟﺍ ﺩﺩﻌﻟﺍ ﻊﻴﻤﺠﺘﺒ ﻡﻭﻘﻴ ﺭﺸﺎﺒﻤ
ﺓﺭﻜﺍﺫﻟﺎﺒ.
ﺓﺭﻜﺍﺫﻠﻟ ﺏﻟﺎﺴﻟﺍ ﺡﺎﺘﻔﻤ
[
−
]M
ﺓﺭﻜﺍﺫﻟﺍ ﻥﻤ ﺔﺒﺴﺘﺤﻤﻟﺍ ﺔﺠﻴﺘﻨﻟﺍ ﻭﺃ ﺽﻭﺭﻌﻤﻟﺍ ﺩﺩﻌﻟﺍ ﺡﺭﻁﺒ ﻡﻭﻘﻴ
ﺔﻨﺯﺨﻤﻟﺍ.
ﺓﺭﻜﺍﺫﻟﺍ ﺀﺎﻋﺩﺘﺴﺍ ﺡﺎﺘﻔﻤ /ﺓﺭﻜﺍﺫﻟﺍ ﻑﺫﺤ ﺡﺎﺘﻔﻤ
]MRC[
ﻭ ﺽﺭﻌﻟﺍ ﺔﺸﺎﺸﻟ ﺓﺭﻜﺍﺫﻟﺍ ﻯﻭﺘﺤﻤ ﻲﻋﺩﺘﺴﻴ /ﺔﻋﺎﺒﻁﻟﺍ ﻕﺭﻭ ﻭﺃ.
ﺸﺎﺸ ﻰﻠﻋ ﺎﻬﺘﺎﻴﻭﺘﺤﻤ ﺀﺎﻋﺩﺘﺴﺍ ﺩﻌﺒ ﺓﺭﻜﺍﺫﻟﺍ ﻯﻭﺘﺤﻤ ﻑﺫﺤﻴ ﺔ
ﻭ ﺽﺭﻌﻟﺍ /ﺔﻋﺎﺒﻁﻟﺍ ﻕﺭﻭ ﻭﺃ.
ﺔﻠﻤﻌﻟﺍ لﻴﻭﺤﺘ ﺡﺎﺘﻔﻤ
][] LOCAL[
ﺔﻴﻤﻟﺎﻌﻟﺍ ﺔﻠﻤﻌﻟﺍ ﻰﻟﺇ ﺔﻴﻠﺤﻤﻟﺍ ﺔﻠﻤﻌﻟﺍ لﻴﻭﺤﺘﺒ ﻡﻭﻘﻴ.
:
ﺔﻴﻠﺤﻤﻟﺍ ﺔﻠﻤﻌﻟﺍ ﻰﻟﺇ ﺔﻴﻤﻟﺎﻌﻟﺍ ﺔﻠﻤﻌﻟﺍ لﻴﻭﺤﺘﺒ ﻡﻭﻘﻴ.
:
LOCAL
ﻑﺭﺼﻟﺍ ﺭﻌﺴ ﺩﻴﺩﺤﺘ ﺡﺎﺘﻔﻤ /ﺔﺒﻴﺭﻀﻟﺍ لﺩﻌﻤ ﺩﻴﺩﺤﺘ ﺡﺎﺘﻔﻤ
]SET[
STORE
ﺎﺘﻔﻤ ﺡﺇﻓﺎﻀ ﺔﺔﺒﻴﺭﻀﻟﺍ
[
]
+TAX
ﺩﺨﺘﺴﻴ ﻡﺒﻴﺭﻀﻟﺍ ﻎﻠﺒﻤ ﺔﻓﺎﻀﻹ ﺔﻠﻋ ﻰﺩﻌﻟﺍ ﺩﻭﺭﻌﻤﻟﺍﺽ
RECALL
ﺎﺘﻔﻤ ﺡﺴﺤ ﺏﺎﺔﺒﻴﺭﻀﻟﺍ
[
]
-TAX
ﺩﺨﺘﺴﻴ ﻡﺒﻴﺭﻀﻟﺍ ﻎﻠﺒﻤ ﻡﺴﺤﻟ ﺔﻠﻋ ﻰﺩﻌﻟﺍ ﺩﻌﻤﻟﺍﺽﻭﺭ
ﺵﻤﺎﻬﻟﺍ ﺡﺎﺘﻔﻤ
/
ﺔﻔﻠﻜﺘﻟﺍ
/
ﻊﻴﺒﻟﺍ ﺭﻌﺴ
]SELL[
ﺭﻟﺍﻭ ﻊﻴﺒﻟﺍ ﺭﻌﺴﻭ ﺔﻔﻠﻜﺘﻟﺍ ﺏﺎﺴﺤﻟ ﻡﺩﺨﺘﺴﻴ
[COST]
ﻎﻠﺒﻤﺵﻤﺎﻬﻟﺍ
[MARGIN]
ﻥﻴﺩﻨﺒ ﻱﻷ ﺔﻤﻴﻘﻟﺍ لﺎﺨﺩﺇ
ﺔﻨﺯﺍﻭﻤﻟﺍ ﺩﻨﺒ ﻰﻠﻋ لﻭﺼﺤﻟﺍ
-A5-

ﻲﻠﻴﺎﻤ ﺽﺭﻌﻟﺍ ﺔﺸﺎﺸ ﺕﺍﺭﺎﺸﺇ ﻲﻨﻌﺘ:
–
: ﺏﻟﺎﺴ)ﻲﺒﻠﺴ ﻭﺃ(
M
:ﺓﺭﻜﺍﺫﻟﺍ
E
: ﺩﺌﺍﺯ ﻕﻓﺩﺘ ﺄﻁﺨ
GT
: ﻲﻟﺎﻤﺠﻹﺍ ﻉﻭﻤﺠﻤﻟﺍ
SELL
: ﻊﻴﺒﻟﺍ ﺭﻌﺴ
COST
: ﺔﻔﻠﻜﺘ
MARGIN%
: ﺵﻤﺎﻬﻠﻟ ﺔﻴﻭﺌﻤﻟﺍ ﺔﺒﺴﻨﻟﺍ
SET
: ﺍ لﺩﻌﻤ ﻭﺃ ﻑﺭﺼﻟﺍ ﺭﻌﺴ ﻥﻴﻴﻌﺘﺔﺒﻴﺭﻀﻟ
TAX
: ﺔﺒﻴﺭﻀﻟﺍ ﻎﻠﺒﻤ
%
: ﺔﺒﻴﺭﻀﻟﺍ لﺩﻌﻤ ﻅﻔﺤ ﻡﺘ
-TAX
: ﺔﺒﻴﺭﻀ ﻼﺒ ﺭﻌﺴﻟﺍ
+TAX
: ﺔﺒﻴﺭﻀﻟﺍ لﻤﺎﺸ ﺭﻌﺴﻟﺍ
: ﺔﻴﻠﺤﻤ ﺔﻠﻤﻋ : ﺔﻴﻤﻟﺎﻋ ﺔﻠﻤﻋ
LOCAL
ﺔﻋﻭﺒﻁﻤﻟﺍ ﺯﻭﻤﺭﻟﺍ
ﻲﻠﻴﺎﻤ ﺔﻋﻭﻨﺘﻤﻟﺍ ﺯﻭﻤﺭﻟﺍ ﻲﻨﻌﺘ:
½
(
ﺔﺠﻴﺘﻨﻟﺍ
)
ﻲﻟﺎﻤﺠﻹﺍ
لﻴﻐﺸﺘ ﺔﻋﺎﺒﻁ /ﻑﺎﻘﻴﺇ
T
M
ﺎﻤﺠﻹﺍ ﻉﻭﻤﺠﻤﻟﺍ ﺔﻤﻴﻗ ﺀﺎﻋﺩﺘﺴﺍﻲﻟ
ﺓﺭﻜﺍﺫﻠﻟ ﺔﻓﺎﻀﻹﺍ
¨
T
M
ﻲﻟﺎﻤﺠﻹﺍ ﻉﻭﻤﺠﻤﻟﺍ ﺔﻤﻴﻗ ﻑﺫﺤ
ﺓﺭﻜﺍﺫﻟﺍ ﻥﻤ ﺡﺭﻁﻟﺍ
½
–
M
ﻱﻭﺎﺴﻴ
=
ﺓﺭﻜﺍﺫﻟﺍ ﺀﺎﻋﺩﺘﺴﺍ
M
ﺦﻴﺭﺎﺘ ﻭﺃ ﺔﻓﺎﻀﻺﻟ لﺒﺎﻗ ﺭﻴﻏ
#
ﺓﺭﻜﺍﺫﻟﺍ ﻑﺫﺤ
½
%
ﺔﻴﻭﺌﻤ ﺔﺒﺴﻨ
C
ﺔﻔﻠﻜﺘ
M
ﺔﻴﻠﺤﻤ ﺔﻠﻤﻋ
S
ﻊﻴﺒﻟﺍ ﺭﻌﺴ
M
C
M
ﺔﻴﻤﻟﺎﻋ ﺔﻠﻤﻋ
ﺵﻤﺎﻫ
C
%
......
ﺩﺌﺍﺯ ﻕﻓﺩﺘ ﺄﻁﺨ
-A6-
File name: HP5_Arabic.doc DATE: 2005/4/1

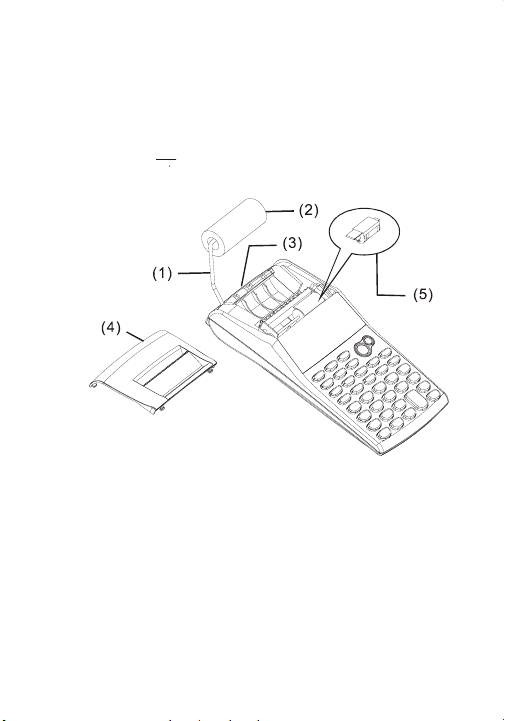
1. BAGAIMANA CARA MEMASANG KERTAS GULUNG
1) Tekan penyangga kertas (1) ke arah belakang.
2) Pasang kertas gulung (2) ke penyangga kertas (1).
3) Potong tepian kertas gulung (2)dengan gunting secara lurus dan
masukkan tepian kertas gulung tersebut ke lubang kertas (3).
ON
4) Tekan [
] untuk menghidupkan kalkulator. Tekan tombol
CE C
pemasangan kertas [
©
] sampai akhir kertas keluar dari pemotong
kertas.
2. BAGAIMANA CARA MENGGANTI PENGGULUNG TINTA
Printer pada model ini menggunakan penggulung tinta yang dapat
dibuang setelah habis (IR-30) (tipe cartridge). Jika impresinya terlalu
ringan atau buram, ganti penggulung tinta dengan yang baru.
1) Tekan [OFF] untuk mematikan kalkulator.
2) Buka tutup printer (4).
3) Lepas penggulung tinta (5) dengan mencabutnya.
4) Pasangkan gulungan tinta yang baru (5) pada tempatnya di posisi
yang benar.
5) Pasangkan kembali tutup printer (4) pada posisi semula.
Catatan:
Jangan pernah masukkan penggulung tinta dengan tinta cair karena
dapat menyumbat printer. Pakailah hanya tinta cartridge (IR-30).
- In 1-
File name: HP5_Indonesia.doc DATE: 2005/3/29

3. UNTUK MENGGANTI BATERAI
1) Buka tutup baterai.
2) Ganti baterai yang telah habis.
3) Masukkan baterai baru (BATERAI UM-3 / AA x 4) dengan arah yang
benar
4) Pasangkan kembali tutup baterai.
4. UNTUK MENGGUNAKAN ADAPTOR AC
1) Matikan power.
2) Hubungkan Adaptor AC (6V / 300mA , ) ke lubangnya.
5. MERESET:
Gangguan Elektromagnetik atau elektrostatik dapat mengakibatkan layar
berfungsi tidak normal atau isi dari memori hilang atau terhapus. Jika hal
tersebut terjadi, gunakan ujung bolpoint (atau benda runcing sejenis)
untuk menekan tombol [RESET
{
] pada dasar kotak baterai.
RESET
-In2-
File name: HP5_Indonesia.doc DATE: 2005/3/29

PERINCIAN TOMBOL-TOMBOL DAN SWITCH
[0]~[9]
Tombol nomor
Memasukkan nomor- nomor.
[ • ]
Tombol titik desimal
Memasukkan titik desimal.
ON
[
]
Tombol power on / Hapus semua / Tombol power on
CE C
ON :
Nyalakan kalkulator.
CE :
Tekan untuk menghilangkan nomor yang
dimasukkan terakhir (nomor yang ditampilkan)sebelum
tombol fungsi lainnya ditekan.
C:
Tekan untuk menghilangkan semua nomor kecuali
isi-isi memori.
[OFF]
Power mati
Matikan kalkulator.
- In 3-
File name: HP5_Indonesia.doc DATE: 2005/3/29

[+] [–]
Tombol aritmatika
[×] [
÷
] Menampilkan penjumlahan, pengurangan, perkalian, dan
pembagian secara berturutan.
[ = ]
Tombol sama dengan
Mendapatkan hasil dari perkalian atau pembagian.
[%]
Tombol persentasi
Menukar hitung persentasi ke nilai desimal. Dan juga,
Tukar hitung untuk pertambahan dan penghitungan
diskon.
[+/–]
Tombol pertukaran tanda
Digunakan untuk mengubah tanda aljabar dari nomor
/operasi yang ditampilkan.
[TAB]
Pilihan Poin Desimal
F
: Model Floating desimal.
0 2 3
: Model Fixed desimal.
A
: Model ADD – Hitungan Penambahan dan
pengurangan ditampilkan dengan 2 digit decimal
otomatis sehingga pemasukan desimal point tidak
diperlukan.
[5/4]
Tombol pilihan Rounding
Digunakan untuk arah round-up (
S
), round-off (
5/4
), atau
round-off (
T
) untuk digit desimal yang terpilih
sebelumnya pada hasil.
[GT]
Tombol total keseluruhan
Mendapatkan jumlah total dari penjumlahan dan
pengurangan.
[
©
]
Tombol penggulung kertas
Menjalankan kertas gulung.
[#/P]
Data printout key
Digunakan untuk mencetak isi tampilan namun tidak
mempengaruhi penghitungan seperti tanggal dan
nomor-nomor serial. Figur dicetak pada sisi kiri kertas.
[PRINT]
Pemilih Model Print
Masukan dan hasil akan ditampakkan pada layar dan
akan dicetak keluar.
-In4-
File name: HP5_Indonesia.doc DATE: 2005/3/29

[M+]
Tombol memori tambah
Mengumpulkan nomor yang ditampilkan atau jumlah
yang dihitung secara langsung ke memori.
[M−]
Tombol memori kurang
Mengurangi nomor yang ditampilkan atau jumlah yang
dihitung dari ruang memori.
[MRC]
Tombol Pemanggil Memori / Tombol Penghapus
Memori
Menampilkan isi dari memori ke layar dan/ atau kertas
cetak.
Menghilangkan isi dari memori setelah menampakkannya
ke layar dan/ atau kertas cetak.
[ ] [LOCAL]
Tombol pertukaran kurs
: Penukaran hitung kurs lokal ke kurs dunia.
LOCAL : Penukaran hitung kurs dunia ke kurs lokal .
[SET]
Tombol Seting Nilai Kurs / Tombol Pengatur Tarif
Pajak
STORE
[
+TAX
]
Tombol Tambah Pajak
Digunakan untuk menambahkan jumlah pajak pada figur
yang ditampakkan.
RECALL
[
]
Tombol Kurang Pajak
-TAX
Digunakan untuk menambahkan jumlah pajak pada figur
yang ditampakkan.
[SELL]
Nilai jual / Harga / Tombol Margin
[COST] Digunakan untuk menghitung harga, nilai jual dan
[MARGIN] jumlah batas keuntungan. Masukkan nilai dari segala 2
bilangan untuk mendapatkan bilangan imbang.
- In 5-
File name: HP5_Indonesia.doc DATE: 2005/3/29

SIMBOL-SIMBOL PADA LAYAR DIARTIKAN SEBAGAI BERIKUT:
M : Memori – : Minus ( atau negatif)
GT : Total Keseluruhan E : Kesalahan Overflow
COST : Harga SELL : Nilai jual
MARGIN% : Persentasi batas
SET : Pertukaran kurs / Penyetelan kurs pajak
% : T Tarif Pajak yang tersimpan TAX : Jumlah Pajak
+TAX : Harga termasuk Pajak -TAX : Harga tanpa Pajak
LOCAL : Kurs Lokal : Kurs Universal
SIMBOL-SIMBOL YANG DICETAKKAN
Simbol-simbol yang bervariasi diartikan sebagai berikut:
½
Total (hasil)
Print ON/Off
T
M
Recall nilai Grand Total
Memori Tambah
¨
T
M
Hapus nilai Grand Total
Memori kurang
½
–
M
= Sama dengan
Recall Memori
M
# Non jumlah atau tanggal
Hapus Memori
½
%
Persentasi
C
Biaya
M
Kurs Lokal S Harga jual
M
C
M
Kurs Universal
Margin
C
%
......
Overflow-kesalahan
-In6-
File name: HP5_Indonesia.doc DATE: 2005/3/29

1.
1)
向后推動打印卷筒紙支架(1)。
2)
安裝打印卷筒紙(2)至支架(1)上。
3)
用剪刀把打印紙(2)的邊緣剪齊,并且將打印紙的邊緣插入打印紙導槽(3)。
ON
4)
按[
]打開計算機電源。按送紙鍵[
©
]直到打印紙末端露出打印紙切割
CE C
口。
2.
本印表機使用拋棄式墨水滾筒器 (IR-30) (墨水夾型式)。若打印顏色太淡或
模糊難辨識時,請更換新的墨水滾筒器。
1)
按[OFF]關閉計算機電源。
2)
滑動移除印表機蓋(4) 。
3)
向上推動移除墨水滾筒器(5)。
4)
安裝新的墨水滾筒器(5)至拖架的適當位置處。
5)
將印表機蓋(4)放置回原處。
勿自行填充墨水滾筒器中的墨水,以避免損害或阻塞印表機。請使用專用的
墨水夾(IR-30)。
-C1-
File name: HP5_Chniese.doc DATE: 2005/4/1

3.
1)
打開電池蓋。
2)
移除電力已耗盡的電池。
3)
依極性的方向安裝新的電池
(UM-3 / AA BATTERY x 4)
。
4)
放回電池蓋。
4.
1)
關閉電源。
2)
連接交流變壓器(6V / 300mA , )至插孔處。
5.
電磁干擾或靜電因素可能造成顯示畫面不正常,或記憶器內容流失,或其他
不明現象。若發生這些現象,使用一球型尖筆(或相似的尖銳物體)壓按電池
槽裡的[RESET
{
]按鈕。
RESET
-C2-
File name: HP5_Chniese.doc DATE: 2005/4/1

[0]~[9]
設置輸入的數字。
[ • ]
設置小數點。
ON
[
]
CE C
ON :
打開計算機電源。
CE :
在按下任何功能鍵之前,按此鍵可以清除最后一個輸
入數字(顯示數字)。
C:
按下此鍵可以清除儲存器內容之外的所有內容。
[OFF]
關閉計算機電源。
[+] [–]
[×] [
÷
]
用以執行加法,減法,乘法和除法。
-C3-
File name: HP5_Chniese.doc DATE: 2005/4/1

[ = ]
護得計算的結果。
[%]
把百分比改變成為十進制值。同時為增加和折扣計算變換。
[+/–]
用以改變顯示數字与運算數的代數符號。
[TAB]
F
:
浮點模式。
0 2 3
:
固定小數位模式。
A
:
加算機模式
-
自動在加法與減法計算中加入貨幣小數
點。
[5/4]
用以使計算結果無條件進位
(
S
)
、四捨五入
(
5/4
)
或無條件捨
去
(
T
)
至預設的小數位。
[GT]
用以護得一連串計算的加總值。
[
©
]
使卷筒紙向前捲動。
[#/P]
用以打印出顯示的數值,但不影響計算結果,例如日期或序
號等。數字將被列印在打印紙的左側。
[PRINT]
用以使輸入與計算結果數值顯示並打印輸出。
[M+]
+
把顯示的數字或計算的結果直接累加到儲存器中。
[M−]
-
從諸存器中減去顯示的數字或計算結果。
[MRC]
呼出儲存器內容以顯示和/或打印。
呼出儲存器內容顯示和/或打印之后,清除記憶的內容。
-C4-
File name: HP5_Chniese.doc DATE: 2005/4/1

[ ] [LOCAL]
:
把當地貨幣換算成為萬用貨幣。
LOCAL :
把萬用貨幣換算成為當地貨幣。
[SET]
STORE
[
+TAX
]
用以計算顯示數值的含稅價格。
RECALL
[
]
-TAX
用以計算顯示數值的不含稅價格。
[SELL]
[COST]
用于計算成本、售價與利潤。輸入任意 2 個數值以
[MARGIN]
求得第 3 值。
-C5-
File name: HP5_Chniese.doc DATE: 2005/4/1

M :
儲存器
– :
負號
GT :
加總
E :
溢位
/
錯誤
COST :
成本
SELL :
售價
MARGIN% :
利潤率
SET :
匯率比值
/
稅率比值
% :
儲存的稅率值
TAX :
稅收的量
+TAX :
含稅價格
-TAX :
不含稅價格
LOCAL :
當地貨幣
:
萬用貨幣
各种符號意義如下:
½
結果值
打印模式
/
不打印模式
T
M
呼出加總值
添加到儲存器
¨
T
M
清除加總值
從儲存器減去
½
–
M
=
等號
呼除儲存器數值
M
#
非加或者日期
清除儲存器數值
½
%
百分比
C
成本
M
當地貨幣
S
售價
M
C
M
萬用貨幣
利潤
C
%
......
溢位錯誤
-C6-
File name: HP5_Chniese.doc DATE: 2005/4/1

1. ΤΡΟΠΟΣ ΤΟΠΟΘΕΤΗΣΗΣ ΤΟΥ ΡΟΛΟΥ ΧΑΡΤΙΟΥ
1) Σπρώξτε προς τα πίσω την υποδοχή χαρτιού (1).
2) Τοποθετείστε το ρολό χαρτιού (2) στην υποδοχή χαρτιού (1).
3) Κόψτε ευθεία µε το ψαλίδι την άκρη του ρολού χαρτιού (2) και εισάγετε
την άκρη του ρολού χαρτιού στην υποδοχή χαρτιού (3).
ON
4) Πατήστε το [
] για να ανοίξετε την αριθµοµηχανή. Πατήστε το
CE C
πλήκτρο τροφοδοσίας χαρτιού [
©
], µέχρι το άκρο του χαρτιού να
προεκβάλλει από τον κόπτη χαρτιού.
2. ΤΡΟΠΟΣ ΑΛΛΑΓΗΣ ΤΟΥ ΚΥΛΙΝ∆ΡΟΥ ΜΕΛΑΝΙΟΥ
Ο εκτυπωτής του µοντέλου αυτού χρησιµοποιεί έναν κύλινδρο µελανιού
(IR-30) µίας χρήσης (τύπου κασέτας). Εάν οι εκτυπώσεις είναι πάρα πολύ
ανοιχτόχρωµες ή δυσανάγνωστες, αντικαταστήστε τον κύλινδρο µελανιού
µε έναν νέο.
1) Πατήστε το [OFF] για να κλείσετε την αριθµοµηχανή.
2) Αποσπάστε ολισθαίνοντας το κάλυµµα του εκτυπωτή (4).
3) Αφαιρέστε τον κύλινδρο µελανιού (5), τραβώντας τον επάνω.
4) Τοποθετήστε έναν νέο κύλινδρο µελανιού (5) στην υποδοχή, στην
κατάλληλη θέση.
5) Τοποθετήστε πάλι στην αρχική του θέση το κάλυµµα του εκτυπωτή (4).
Σηµείωση:
Μην γεµίζετε ποτέ τον κύλινδρο µελανιού µε υγρό µελάνι, καθώς αυτό
- Gr1-
File name: HP5_Greek.doc DATE: 2005/4/1

