Kospel SW: GB
GB: Kospel SW

Safety instructions
1. Readandstrictlyfollowthisinstallationandoperatinginstructionstoensurea
longlifeandreliablecylinderoperation.
2. Themanufacturerofthiscylinderwillnotbeliableforanydamagesduetothe
failuretofollowtheinstallationandoperationinstructions.
GB
3. Thecylindermustnotbeinstalledinroomswherethetemperaturemaydrop
0
below0
C.
4. Thecylinderinstallationandinitialstart-upaswellasallelectricalandhydraulic
workmustbeperformedbyaqualiedprofessionalinstaller.
5. Thecylinderisdesignedforverticalinstallationonly(screwonfeet).
6. Thecylindermustbemountedintheplaceandinsuchawaytoavoidroom
oodingcausedbeleakingtankorconnectors.
7. Connectionstothewater,centralheatingandsolarsystempipesmustbemade
inaccordancewithdiagraminthisinstallationinstruction.Failuretoobservethe
installationinstructioninvalidatethewarrantyandmaycausecylinderdamage.
8. Aconnectiontowatersupplysystemmustbemadeinaccordancewiththe
legallybindingstandards.
9. Thecylinderisapressureappliancedesignedforconnectiontothewatersupply
systemwherethewaterpressuredoesn’texceed0,6MPa.Ifthewaterpressure
exceeds0,6MPathepressurereducingvalvebeforecylindermustbetted.
10. Asmallleakfromthesafetyvalvethroughtheoutletpipemayoccur,itisanormal
operatingstateoftheappliance.Theoutletofthepipehastoremainopened.
Donotclogit,asacloggedoutletmaycauseabreakdownofthecylinder.
11. Donotusethecylinderifyoususpectthatthesafetyvalvemaybefaulty.
12. Thetankisequippedwithamagnesiumanode-anadditionalprotectionagainst
corrosion.Theanodeisanoperatingpartthereforeitisexposedtowear.
The conditionof the magnesiumanodeshould be controlledevery 12
months.Theanodemustbereplacedonceevery18months.
0
13. Ratedtemperatureofwaterinthecylindershouldnotexceed80
C.
Thecylinderissuitableforttinganimmersionheaterwiththermostate.g.GRBT
1.4,GRBT2.0.Theimmersionheatermustbettedinlieuofcork1½.
Amaximumlengthofimmersionheater:
- 360mm(Cylindersof100,120,140litres)
- 450mm(Cylindersof200litres)
- 550mm(Cylindersof250,300litres)
- 600mm(Cylindersof400litres)
PL;DE;FR;GB;LV;RU-036_f.456
21

Connection to the central
CW
heating system
ZG2
Cylindermustbettedtothecentral
C
heatingsystembypipeunions1’’or
PG2
¾’’ (SW100 / SW120 / SW140).A
ZG1
cut-offvalvesmustbeinstalledbefore
thepipeunions.
Aowrateofheatingwatermustbe
high enough to maximise cylinder
efciency(seetechnicaldatatable).
PG1
ZB
Itconcernstheforcedcirculationin-
ZW
stallation(withacentralheatingwater
pump).SWcylinderisequippedwith
onecoil.SBcylinderisequippedwith
NW
SB
twocoilsforconnectiontoe.g.boiler
andsolar collectorsystem. SWZand SBZcylinders areequipped withadditional
connectorsforexternalheatexchanger.
Connection to the water
system
Connectiontothewatersystemmustbeperformedaccordingtobindingnormsof
hydraulicinstallation.Thecylinderisapressureappliancedesignedforconnectionto
thewatersupplysystemwherethewaterpressuredoesn’texceed0,6MPa.Ifthewater
pressureexceeds0,6MPathepressurereducingvalvebeforecylindermustbetted.
Pleasefollowthewaterconnectioninstructionsbelow:
- install theT-connection with 6bar safety valve (e.g. ZB-4) and the drain
valvetotheinletttingofcoldwater[1].It’sforbiddentoinstallacut-offvalve
(oranyowreducer)betweentankandthesafetyvalveandonit’soutlet.
Thesafety valvemustbe installedinthat placetolet youquicklysee the
outgoingwater,
- installthecylinderequippedwiththesafetyvalvetothewatersystem,
- installthecut-offvalveoncoldwatersupplypipe.
Hotwateroutletpipemustbeconnectedtothe¾’’tting,whichislocatedintheup-
perpartoftheunit.
Eachcylinderisequippedwith¾’’ttingfordomestichotwatercirculationconnection.
22

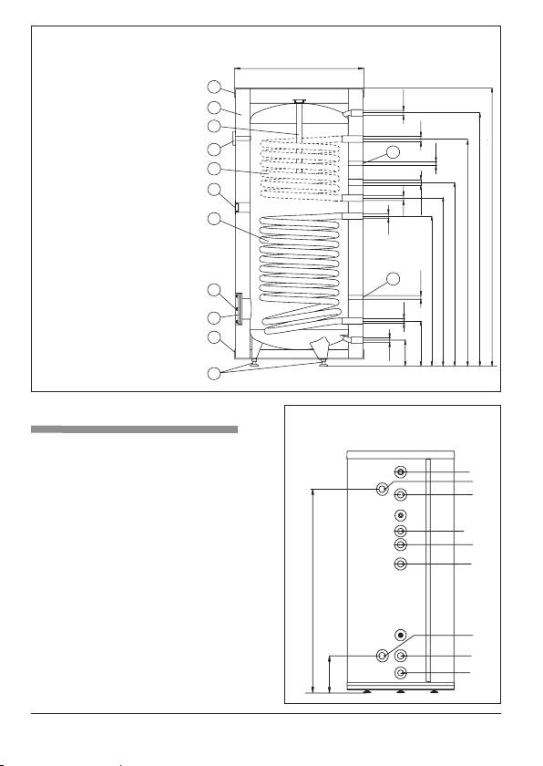
SW Cylinder construction (100/120/140 litres)
ø500
[6] - sensor pipe
[10] - immersion heater tting (cork 1½’’)
16
[11] - heating coil
15
CW
[13] - magnesium anode
[14] - thermometer
[15] - thermal insulation
G3/4
14
G3/4
GB
[16] - upper lid
C
[17] - lower lid
13
ZG1
[18] - feet
ZW - cold water
11
H
G3/4
CW - hot water
G
C - circulation
6
G1/2
ZG1 - heating medium supply
E
PG1 - heating medium return
10
C
A-H - dimensions described in technical
G3/4
data table
PG1
ZW
214
111
G3/4
1817
SB/SBZ/SW/SWZ Cylinder construction (200 litres)
ø595
[6] - sensor pipe
2120
[10] - immersion heater tting (cork 1½’’)
16
[11] - lower heating coil
15
CW
G3/4
[12] - upper heating coil
13
[13] - magnesium anode
G1
ZG2
[14] - thermometer
[15] - thermal insulation
14
6
G1/2
[16] - upper lid
12
[17] - lower lid
C
[18] - feet
10
PG2
[20] - ø150 / 115 access hole
ZG1
G1
[21] - access hole cover
G3/4
1610
ZW - cold water
G1
1464
11
CW - hot water
1291
C - circulation
E
ZG1,ZG2 - heating medium supply
6
G1/2
903
PG1,PG2 - heating medium return
B, E - dimensions described in technical data
813
G1
PG1
table
An upper heating coil (ZG2,PG2
ZW
B
17
tting) and upper sensor pipe are
127
available in SB and SBZ only.
G3/4
18
PL;DE;FR;GB;LV;RU-036_f.456
23

SB/SBZ/SW/SWZ Cylinder construction (250,300,400 litres)
[6] - sensor pipe
ø695 (250, 300)
[10] - immersion heater tting (cork 1½)’’
ø755 (400)
[11] - lower heating coil
16
[12] - upper heating coil
G3/4
15
CW
[13] - magnesium anode
[14] - thermometer
13
G1
ZG2
[15] - thermal insulation
14
[16] - upper lid
6
G1/2
[17] - lower lid
12
C
[18] - feet
10
[20] - ø150 / 115 access hole
PG2
[21] - access hole cover
ZG1
G1
G3/4
ZW - cold water
11
CW - hot water
G1
H
C - circulation
G
ZG1,ZG2 - heating medium supply
F
E
PG1,PG2 - heating medium return
6
D
A-H - dimensions described in technical
G1/2
20
C
data table.
G1
PG1
21
ZW
17
B
An upper heating coil (ZG2,PG2
A
tting) and upper sensor pipe
G3/4
are available in SB and SBZ only.
18
Start up
Muff location for connection an external heat
exchanger (SWZ and SBZ only)
Check outthe pipe connectionsand make
sure that you observe the connection dia-
CW
ZG3(1”)
gramsbeforestart-up.
ZG2
Cylinderlling:
• turnonthevalveoncoldwatersupply
pipe,
C
PG2
• turnonthehotwateroutletvalve(water
outowwithouttheairbubblesindicates
ZG1
thatthetankisfull),
• turnofftheoutletvalves.
I
Turnonthevalvesconnectingcylinderwith
the central and the solar collector heating
PG3(1”)
system.
Checkforwaterandheatingmediumleaks.
PG1
Checkoutthesafetyvalveperformanceinac-
ZW
B
cordancetovalvemanufacturer’sinstruction.
24

Operation
Followtheguidelinesbelowforsafetyandtroublefreecylinderoperation:
• Checkoutthesafetyvalveperformanceonceevery14days.Donotusethe
cylinderifthewaterdoesnotcomeout(itindicatesthatthevalveisbroken).
• Cleaninsideofthecylinderperiodically.Thefrequencyofcleaningdependon
GB
thedegreeofwaterhardness.Thecleaningshouldbedonebyanqualified
person.
• Thewearconditionoftheanodemustbeinspectedannually.
• Theanodemustbereplacedonceevery18months.
- anoderodreplacement[13](100/120/140/250/300/400litrescylinder):take
offtheupperlid[16],takeoutaninsulationring,turnoffthecut-offvalveon
coldwatersupplypipe,turnonthehotwatervalve(mixertap),turnthedrain
valveon,drainasmuchwaterasyoucaneasilyscrewouttheanoderod
(avoidingroomooding),screwoffthecorkandscrewouttheanoderod,
- anoderodreplacement[13](200litrescylinder):takeoffthelid[16],takeout
aninsulationring,turnoffthecut-offvalveoncoldwatersupplypipe,turnon
thehotwatervalve(mixertap),turnthedrainvalveon,drainasmuchwater
asyoucaneasilyscrewouttheanoderod(avoidingroomooding),takeoff
theaccessholecover[21]andscrewouttheanoderod,
0
• Heatupthewaterabove70
Cperiodicallyforhygienereasons.
• Failuresormalfunctionsnotifytotheseller.
• Insulatetheoutletpipeandheatingcoilconnectionpipestominimisetheheat
loss(recommended).
Aboveactivitiesarebeyondofthescopeofwarrantyservice(shouldbedonebyuser).
Cylinder emptying
Followtheguidelinesbelowforsafetycylinderemptying:
• turnoffallvalvesconnectingcylinderwiththeheatingcircuit,
• turnoffthevalveoncylindercoldwatersupplypipe,
• turnonthedrainvalve.
PL;DE;FR;GB;LV;RU-036_f.456
25

Technical data
SW;SWZ
Domestichotwatercylinder SW
SB;SBZ
Storagecapacity
l
100 120 140 200 250 300 400
tank
0,6
Ratedpressure
MPa
coil 1
Ratedtemperature
°C
80
2
Uppercoilsurfacearea
m
- 0,75 0,8 0,9
3
Uppercoilcapacity
dm
- 4,5 5 5,5
29* 31* 34*
SB;SBZ
Uppercoilpower
kW
-
10** 10** 11**
714* 756* 838*
Uppercoilefciency
l/h
-
234** 248** 277**
2
1,2
Lowercoilsurfacearea
m
0,8 1,0 1,1
1,5 1,7
1,0
3
7,4
Lowercoilcapacity
dm
3,6 4,3 6,4
9,1 10
5,8
44*
34* 41* 40*
53* 58*
37*
Lowercoilpower
kW
15**
11** 13** 13**
18** 20**
12**
1071*
825* 1000* 996*
1293* 1420*
918*
Lowercoilefciency
l/h
358**
271** 331** 332**
435** 483**
304**
24hrselectricitylosses***
kWh
1,2 1,3 1,4 2 2,1 2,7 2,4
82
87
100,5
132
Weight(withoutwater)
kg
46 52 54,5
97
99
115
150
A
111 127 124
B 214 258 241 254
740
C 727 822 813
852 856
628
-
-
-
D -
-
903
747
981
986
913
841
953
986
Dimensions
E 817 912
mm
993
837
1071
1076
-
-
-
-
F -
1291
1079
1313
1319
G 1064 1235 1305 1464 1230 1646 1490
H 1195 1365 1435 1610 1380 1615 1660
I - 1334 1116 1350 1377
3/4”ø22Magnesiumanode
500 800 -
450
M8ø33Magnesiumanode -
mm
-
-
-
400
M8ø40Magnesiumanode -
500
400
500
0
*80/10/45
C
heatingwatertemp./supplywatertemp./domesticwatertemp,owrateof
0
}
-
3
**55/10/45
C
heatingwaterthroughthecoil-3m
/h.
0
*** constantwatertemp.(60
C).
26

