Kospel SW: FR
FR: Kospel SW

Les conditions pour un
fonctionnement sûr et
able
FR
1. Lire et suivre attentivement les instructions d’installation etd’utilisation an
d’assurerunfonctionnementperformantetuneduréedevieoptimaledevotre
matériel.
2. Montageetutilisationdepréparateurnonconformeaveccettenoticen’estpas
autorisée-peutprovoquerundysfonctionnementetannulelagarantie.
3. Nepasinstallercettepréparateurdansdeszonesoùlatempératurepeuttomber
endessousde0°C.
4. Installationetexécution detravauxd’installation d’accompagnementdevrait
êtreconéeàuneentreprisespécialisée.
5. Lepréparateurdoitêtreposeausolenpositionsverticale,surlestroispieds
intégrés.
6. L’appareildoitêtreinstallédansuntelendroitetdetellemanière,queencas
dedéversementd’urgenceoudefuiteiln’yavaitpasd’inondationdulocal.
7. Après avoir placé le préparateur, il doit être raccordé à la conduite d’eau,
installationdechauffagecentraleetsolaire,selonleschémadansleprésent
manuel.Installationnonconformeaumoded’emploiannulelagarantieetpeut
provoquerdéfaillance.
8. Leraccordementauréseaud’eaudoitêtreeffectuéeselonlesnormesenvigueur.
9. Lepréparateurpeutêtreinstallésouspressionjusqu’à6bars,encasdepression
supérieureà0,6MPa(6bars),ilfautinstallerobligatoirementunréducteurde
pressionavantlepréparateur.
10. L’égouttementd’eaudutuyaud’évacuationdelasoupapedesécuritéestnormal,
etilnefautpasl’empêcher,carleblocdesoupapepeutprovoquerdéfaillance.
11. Nepasutiliserlepréparateurs’ilexisteunrisquequelasoupapedesécurité
estendommage.
12. Lepréparateurestéquipéd’uneanodeenmagnésium,uneprotectionsupplé-
mentairecontrelacorrosion.L’anodeestunepièced’usure.L’étatdel’anode
doitêtrevériétoutles12mois.Elledoitêtreabsolumentremplacéetousles
18mois.
13. Nepasdépasserlatempératurenominalede80°C!
Lepréparateurpeutêtreéquipéd’unerésistanceélectriqueavecunthermostat(p.ex.
GRBT1.4,GRBT2.0kW).Larésistancedoitêtrevisseràlaplacedebouchon1½”.
Maximallongueurdelarésistancechauffante:
- 360mmpourlepréparateurcapacité100,120,140litres,
- 450mmpourlepréparateurcapacité200litres,
- 550mmpourlepréparateurcapacités250et300litres,
- 600mmpourlepréparateurcapacités400litres.
PL;DE;FR;GB;LV;RU-036_f.456
15

Le raccordement au circuit
CW
de chauffage central
ZG2
Le raccordement au installation de
C
chauffagecentraldoitêtreeffectuée
PG2
avec raccords 1’’ou 3/4’’(SW-100,
ZG1
SW-120,SW-140) et avantlesrac-
cordsilfautinstallerdesrobinetsd’ar-
rêts.Danslessystèmesàcirculation
forcée(pompedechauffagecentral)
pour que le préparateur atteindre
PG1
ZB
lesperformancesindiquéesdansle
ZW
tableau„DonnésTechniques”ledébit
approprié d’eau chauffant doit être
assuré.PréparateurmodèleSWest
NW
modelSB
équipéd’unserpentin,modèleSBest
équipédedeuxserpentinspermettantleraccordementparexemplelachaudièreet
systèmesolaire.ModèlesSWZetSBZsontéquipédesraccordssupplémentaires,
quipeuventêtreutiliséspourconnecterunéchangeurdechaleurexterne.
Raccordement au réseau
d’approvisionnement en eau
Leraccordementauréseaud’eaudoitêtreeffectuéeconformémentaunormesen
vigueur.
Lepréparateurpeutêtreinstallésouspressionjusqu’à6bars,encasdepression
supérieureà0,6MPa(6bars),ilfautinstallerobligatoirementunréducteurdepression
avantlepréparateur.
Lepréparateurdoitêtreconnectéauréseaud’alimentationeneaucommesuit:
- surl’arrivéd’eausanitairefroide[1]ilestobligatoiredemonterunevannetrois
voieavecsoupapedesécurité(6bars)etrobinetdevidange;entreleprépa-
rateuretlasoupapedesécurité,(aussisurdépartdesoupapedesécurité),il
nedoitenaucuncasêtremontéeunevanned’arrêtniaucunétranglement;
soupapedesécuritédoitêtremontedansunetellemanièrequeuneéventuelle
écoulementsd’eaudevraientêtrevisibles,
- préparateuravecsoupapedesécuritémonté,connectezàl’alimentationeneau
- al’arrivéedel’eaufroideilfautinstallerunevanned’arrêt.
Ledépartd’eauchaudesanitairedoitêtreraccordéal’orice3/4”,quiestsituésur
lapartiesupérieuredepréparateur.Chaquepréparateurestmunid’unorice3/4”
conçupourconnecterauréseaudelacirculationd’ecs.
16

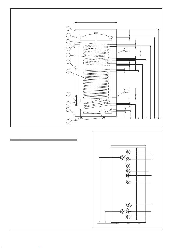
Construction de préparateurs SW-100, SW-120, SW-140
ø500
[6] - doigt de gant
16
[10] - orice pour thermoplongeur
(bouchon 1½’’)
15
CW
[11] - serpentin chauffant
FR
[13] - anode en magnésium
[14] - thermomètre
G3/4
14
G3/4
[15] - isolation thermique
C
[16] - couvercle supérieur
13
ZG1
[17] - couvercle inférieur
[18] - pieds
11
H
ZW - eau froide
G3/4
CW - eau chaude
G
6
C - circulation
G1/2
ZG1 - entre serpentin
E
PG1 - sortie serpentin
10
C
A-H - les dimensions indiquées dans
G3/4
le tableau „Données technique”
PG1
ZW
214
111
G3/4
1817
Construction de préparateurs (200 litres) SB; SBZ; SW; SWZ
ø595
[6] - doigt de gant
2120
[10] - orice pour thermoplongeur
16
(bouchon 1½’’)
CW
G3/4
[11] - serpentin chauffant inférieur
15
[12] - serpentin chauffant supérieur
13
G1
[13] - anode en magnésium
ZG2
[14] - thermomètre
14
[15] - isolation thermique
6
G1/2
[16] - couvercle supérieur
12
C
[17] - couvercle inférieur
10
[18] - pieds
PG2
[20] - trappe de visite ø150/115
ZG1
G1
G3/4
1610
[21] - couvercle de trappe de visite
G1
1464
ZW - eau froide
11
CW - eau chaude
1291
E
C - circulation
6
ZG1, ZG2 - entre serpentin
G1/2
903
PG1, PG2 - sortie serpentin
813
B,E - les dimensions indiquées dans
G1
PG1
le tableau „Données technique”
ZW
B
17
Serpentin supérieur (raccords ZG2,
127
PG2) et doigt de gant supérieur se trou-
vent que dans les modèles SB et SBZ.
G3/4
18
PL;DE;FR;GB;LV;RU-036_f.456
17

Construction de préparateurs (200, 250, 300, 400 litres) SB; SBZ; SW; SWZ
[6] - doigt de gant
ø695 (250, 300)
[10] - orice pour thermoplongeur (bou-
ø755 (400)
chon 1½’’)
16
[11] - serpentin chauffant inférieur
G3/4
[12] - serpentin chauffant supérieur
15
CW
[13] - anode en magnésium
13
G1
[14] - thermomètre
ZG2
[15] - isolation thermique
14
6
G1/2
[16] - couvercle supérieur
12
[17] - couvercle inférieur
C
[18] - pieds
10
PG2
[20] - trappe de visite ø150/115
ZG1
[21] - couvercle de trappe de visite
G1
G3/4
11
ZW - eau froide
G1
H
CW - eau chaude
G
C - circulation
F
ZG1, ZG2 - entre serpentin
E
PG1, PG2 - sortie serpentin
6
D
G1/2
A,I - les dimensions indiquées dans le
20
C
tableau „Données technique”
G1
PG1
21
ZW
17
Serpentin supérieur (raccords
B
ZG2, PG2) et doigt de gant su-
A
G3/4
périeur se trouvent que dans les
18
modèles SB et SBZ.
La mise en service
Emplacement des raccords pour connexion
d’une préparateur externe, dans SWZ et SBZ
Avantlamiseenservicedupréparateur,vé-
CW
ZG3(1”)
rieroptiquementlaabilitédeconnexionde
ZG2
l’appareiletsaconformitéaveclesschémas.
Préparateurilfautremplird’eau:
C
- ouvrirlavanned’arrivéed’eaufroide,
PG2
- ouvrirlerobinetd’eauchauded’unpoint
depuisage(sortied’eausansbullesd’air
ZG1
signifiequelepréparateurestentière-
mentremplid’eau),
I
- fermer le robinet d’eau chaude des
pointsdepuisage,
PG3(1”)
Ouvrez lesvannes de liaisond’installation
solaire et chauffage avec le préparateur.
PG1
Vérifierleserragedesconnexions.Vérifier
ZW
B
lefonctionnementdelasoupapedesécurité
(conformémentauxinstructionsdufabricant).
18

Exploitation
Préparateur sont sûr et able en fonctionnement, à condition de respecter les
principessuivants:
FR
• Tousles14joursvérifiezlefonctionnementdelasoupapedesécurité,(s’iln’y
apasdel’écoulementd’eaulasoupapen’estpasefficace,lepréparateurd’ecs
nedoitpasêtreenservice).
• Detempsentempsenleverlesdépôtsdecalcairedupréparateur.Lafréquence
dépenddeladuretédel’eaudansvotrerégion.Cetteopérationdoitêtreeffectuée
parunprofessionnel.
• Unefoisparanilfautcontrôlel’étatdel’anodeenmagnésium.
• Toutles18moisilfautabsolumentremplacerl’anodeenmagnésium.
- Remplacementdel’anode[13](toutlepréparateursàexception200litres):
enlever le couvercle supérieure [16],retirez lematelasisolant, fermer la
vanned’arrêtsurl’arrivéd’eaufroide,ouvrirlavanned’eauchaudeaurobinet,
ouvrirlavannedevidange,vidangervotreinstallationd’eauanquevous
puissiezdévisserl’anodesanscauserdesinondationsdanslelocal,dévisser
lebouchonetenleverl’anode.
- Remplacementdel’anode[13](préparateur200litres):enleverlecouvercle
supérieure[16],retirezlematelasisolant,fermerlavanned’arrêtsurl’arrivé
d’eaufroide,ouvrir lavanned’eauchaudeaurobinet,ouvrirlavannede
vidange,vidangervotreinstallation d’eauanquevouspuissiezdévisser
l’anodesanscauserdesinondationsdanslelocaldevisertrappedevisite
[21]etdévisserl’anode,
• Pourdesraisonsd’hygiène,l’eaudevraitêtrechaufféepériodiquementau-dessus
de70°C.
• Chaqueanomaliedefonctionnementdoitêtrevériéeparunprofessionnel.
• Ilestrecommandéd’isolertoutlestuyaux,pouréviteraumaximumlespertes
dechaleur.
Cesmanoeuvresdevront êtreeffectuéesparvossoinsetnerentrepasdansle
cadredelagarantie.
Vidange du préparateur
Pourviderleballond’eau,ilfaut:
• Fermerlesvannesderaccordementdupréparateuraveccircuitdechauffage.
• Fermezlavannesurl’arrivéd’eaufroideaupréparateur.
• Ouvrezlavannedevidange.
PL;DE;FR;GB;LV;RU-036_f.456
19

Donnés Techniques
SW;SWZ
Préparateurd’eauchaudesanitaire SW
SB;SBZ
Capaciténominale
l
100 120 140 200 250 300 400
Ballon
0,6
Pressionnominale
MPa
Serpentin 1
Températurenominale
°C
80
2
Surfaceserpentinsupérieur
m
- 0,75 0,8 0,9
3
Volumeserpentinsupérieur
dm
- 4,5 5 5,5
29* 31* 34*
SB;SBZ
Puissanceserpentinsupérieur
kW
-
10** 10** 11**
714* 756* 838*
Efcacitéserpentinsupérieur
l/h
-
234** 248** 277**
2
1,2
Surfaceserpentininférieur
m
0,8 1,0 1,1
1,5 1,7
1,0
3
7,4
Volumeserpentininférieur
dm
3,6 4,3 6,4
9,1 10
5,8
44*
34* 41* 40*
53* 58*
37*
Puissanceserpentininférieur
kW
15**
11** 13** 13**
18** 20**
12**
1071*
825* 1000* 996*
1293* 1420*
918*
Efcacitéserpentininférieur
l/h
358**
271** 331** 332**
435** 483**
304**
Perted’énergie(24h)***
kWh
1,2 1,3 1,4 2 2,1 2,7 2,4
82
87
100,5
132
Poidsàvide
kg
46 52 54,5
97
99
115
150
A
111 127 124
B 214 258 241 254
740
C 727 822 813
852 856
628
D -
-
-
-
-
903
747
981
986
913
841
953
986
Dimension
E 817 912
mm
993
837
1071
1076
-
-
-
-
F -
1291
1079
1313
1319
G 1064 1235 1305 1464 1230 1646 1490
H 1195 1365 1435 1610 1380 1615 1660
I - 1334 1116 1350 1377
Anodeenmagnésium3/4"ø22
500 800 -
450
AnodeenmagnésiumM8ø33 -
mm
-
-
-
400
AnodeenmagnésiumM8ø40 -
500
400
500
*80/10/45°C
températured’eauchauffant/températuredel’eaud’alimentation/température
-
}
3
**55/10/45°C
d’ecs;débitd’eauchauffantdansleserpentin3m
/h.
***Enmaintenantlatempératureconstantedel’eau60°C
20

