ABUS TVHD80100 Operating instructions – page 9
Manual for ABUS TVHD80100 Operating instructions
Table of contents
- User guide

Afspelen
Druk in het hoofdmenu op Afspelen, om video-opnames
te zoeken na een gebeurtenis of een markering of om de
opgeslagen beelden te bekijken.
Opname plannen
De volgende instellingen zijn beschikbaar:
161
Alle / A1 –
A4
Camera waarop u wilt zoeken
Video Type
Schema, bewegingsdetectie, alarm resp.
bewegingsdetectie en/of alarm,
handmatige opname, alle opnamen
Bestand
Type
Geblokkeerd, vrijgegeven, alles
Start Tijd
Stop Tijd
Voer de datum en de tijd in
Klik op Zoeken om opnamen te zoeken die voldoen
aan de gekozen instellingen. De resultaten worden
weergegeven:
Kies een opname door op de regel te klikken en
vervolgens op „Afspelen”-symbool.
Opmerking
In de weergavemodus kunt u op elk moment
terugkeren naar de gebeurteniszoekfunctie door
met de rechtermuisknop te klikken en „Video
zoeken” te selecteren.
Opmerking
De submenu’s „Markering” en „Foto” zijn vrijwel
identiek met het hierboven beschreven menu en
worden daarom niet afzonderlijk beschreven.
In het submenu „Markering” wordt niet gezocht op
opnametype maar op de naam of een trefwoord uit
de naam van de markeringen
Bij Evenement
Klik op de tab „Bij Evenement”:
Er wordt een lijst weergegeven met alle
gebeurtenistypes.
Selecteer bij „Gebeurtenistype” of er moet worden
gezocht naar opnames bij beweging
(„Bewegingsdetectie”).
Kies door het activeren van de checkbox een of
meerdere camera’s.
Klik op Zoeken.
Kies op de verschijnende lijst een of meerdere
gebeurtenisopnames. Klik op Details voor gedetailleerde
informatie over de opname’s.
.

Backup
Backup
Opname plannen
162
Opmerking
Met de exportfunctie kunnen belangrijke opnamen
naar aangesloten externe media worden
gekopieerd zoals bv.
USB-media
USB-harde schijf
DVD-brander etc.
3. Klik op Export om naar het scherm voor exporteren
te gaan.
1. Kies in het uitklapmenu het medium waar de
gegevens naartoe meten worden gekopieerd
2. Wanneer het gewenste medium niet in de lijst staat,
klikt u op Ververs.
Wanneer het medium dan nog steeds niet wordt
weergegeven, koppelt u de recorder los van de re-
corder en maakt u de verbinding opnieuw. Raadpleeg
hiervoor de handleiding van de fabrikant.
3. Klik op Backup om te beginnen met exporteren. De
Bij de selectie „Exporteer” worden alle opnames van
voortgang van het proces wordt weergegeven
de geselecteerde periode geëxporteerd. Let op dat
hierbij niet meer dan 24 uur kunnen worden
geëxporteerd.
1. Voer de parameters in, zie pagina 150.
2. Klik op Details om het zoeken te beperken.
De omvang van de verschillende opnamen en de
totale omvang van alle gevonden bestanden wordt
weergegeven.
Door op het „Afspelen”-symbool te klikken, kunt u de
betreffende opname bekijken
Voor het blokkeren of vrijgeven van een bestand klikt
u op het „Vergrendet”-symbool.
Opmerking
Nadat de gegevens zijn geëxporteerd, kunt u de
gegevens op het medium selecteren en afspelen
met de meegekopieerde player. Op die manier
kunt u controleren of het exporteren foutloos is
verlopen.

Backup
Evenement (gebeurtenistype „Beweging”)
Leg de opnameperiode vast waarin u wilt zoeken met
behulp van de keuzevakjes bij „startijd” en „eindtijd”.
Selecteer de camera door het keuzevakje te activeren
resp. te deactiveren en klik op Zoeken.
Bij beide gebeurtenistypes veschijnt na het indrukken van
de knop Zoeken het volgende venster:
Selecteer de bestanden die u wilt exporteren door het
keuzevakje te activeren resp. te deactiveren. Bij „pre-
play” resp. „post-play” kunt u de voor- resp. na-alarmtijd
instellen. Hiermee kunt u de lengte van uw exportvideo
vastleggen.
Klik op Details om de geselecteerde video te bekijken.
Voor gedetailleerde informatie over het venster , zie
Opname Konfiguratie (p. 155).
163
Opmerking
De „pre-play”-opnames/vooralarmopnames
kunnen alleen worden bekeken, indien de opname
is gestart voor het alarm plaatsvond.
Opmerking
De submenu’s „Opname Konfiguratie” en „Foto”
zijn vergelijkbaar en worden daarom niet
afzonderlijk beschreven.

Onderhoud
Onderhoud
164
Opmerking
Het menu dient voor het onderhoud van de recor-
der en mag uitsluitend worden gebruikt door
ervaren gebruikers.
Menu
Instelling
P.
Systeem
Informatie
Apparaatinformatie (serie-
nummer, firmwarestatus etc.)
164
Log Zoeken
In het logbestand kan worden
gezocht volgens bepaalde
criteria, bv. alarm, uitzondering,
bediening of informatie van
opname of informatie
(S.M.A.R.T. status van de har-
de schijf)
164
Configuratie
Instellingen exporteren of im-
porteren
165
Firmware
Upgrade
Firmware-update uitvoeren
165
Standard
Systeemreset
166
Net Detectie
Weergave van de transmissie-
en ontvangerrate van de recor-
der
166
Systeem Informatie
Opmerking
In het informatiemenu worden de technische
gegevens van het apparaat alsook informatie over
de verschillende instellingen van de camera,
opname etc. weergegeven.
Dit is bijvoorbeeld nuttig bij support-vragen.
Log zoeken
Opmerking
Het zoeken naar gebeurtenissen kan aan de hand
van de volgende types/gebeurtenissen/
parameters worden uitgevoerd:
Alles
Alarm
Uitzondering
Werking
Informatie
Filter1
Filter2
Alles
-
Uitzondering
Alles
Video Signaal Verloren
Videosignaal uitzondering
Illegale Inlog
HDD Fol
HDD Fout
IP Conflict
Netwerk Verbroken
Uitzondering opname
Video in-/uitgangssignaal
niet gelijk
Opnamebuffer

Onderhoud
165
Proces
Alle
Power On
Lokaal: Niet geplande
uitschakeling
Lokaal: Uitschakelen,
Herstarten, Aanmelden,
Afmelden
Lokaal: Instellingen
wijzigen
Lokaal: Update
Lokaal: Opname starten
Informatie
Alles
HDD Informatie
HDD S.M.A.R.T.
Start / Stop Opname
Start / Stop Vangst
Verwijder Verlopen Opname
Netwerk HDD Informatie
1. Kies de gebeurtenis waar u in het logbestand naar
wilt zoeken en kies een subparameter.
2. Voer datum en tijd in bij “Start tijd” en “Stop tijd” en
klik op Zoeken.
3. Het resultaat wordt als volgt weergegeven:
Het wisselen van de pagina’s geschiedt via de
navigatiebalk:
(1) (2) (3) (4) (5) (6)
Opmerking
Druk voor het vooruit-, resp. achteruitbladeren op
(3), resp. (2). Druk voor het springen naar de
eerste, resp. laatste pagina op (4), resp. (1).
Om naar een bepaalde pagina te gaan, voer dit in
het veld bij (5) in en bevestig dit met een klik op (6).
Klik op Experteer om het logbestand te kopiëren
naar een USB-medium.
Configuratie
Klik op Details voor gedetailleerde informatie.
Klik op Afspelen wanneer u de opname bij de
gebeurtenis wilt afspelen.
Opmerking
De configuratiebestanden bevatten alle
instellingen van de recorder die u na de eerste
ingebruikname heeft geconfigureerd. Deze be-
standen kunnen op een USB-medium worden
opgeslagen. Hiermee kunt u een tweede recorder
configureren met identieke instellingen.
Firmware Upgrade
Opmerking
Een update kan worden uitgevoerd vanaf een
USB-medium, via het netwerk.
Kopieer het bestand voor de update met de
extensie *.mav naar de hoofdmap van een
USB-stick.
Sluit de USB-stick aan op één van de USB-
aansluitingen van de recorder.
1. Selecteer de USB-aansluiting, klik eventueel op
Ververs.

Onderhoud
2. Selecteer het updatebestand en klik op de knop
Opwaarderen.
3. Wacht tot het systeem opnieuw wordt gestart.
4. Controleer de nieuwe firmwareversie in het menu
Onderhoud / ”System Informatie”.
Standaard
166
Opmerking
Bij deze optie worden de fabrieksinstellingen
hersteld (reset).
Waarschuwing
Alle instellingen die u sinds de inbedrijfstelling
heeft uitgevoerd (camera’s, opname-
instellingen, alarmen enz.) worden daarbij
gewist!
Voorkom verlies door vooraf de instellingen op
te slaan. Na uitvoering van de reset kunt u
deze weer inlezen.
Netzwerk
Opmerking
Hier wordt informatie over het netwerkverkeer en
de netwerkinterfaces weergegeven.
TAB Netwerkbelasting
De hoeveelheid ontvangen en verzonden gegevens
wordt grafisch weergegeven.
In het veld onder de grafiek worden afhankelijk van de
netwerkinstellingen de status en informatie over één,
resp. twee netwerkaansluitingen weergegeven.
TAB Netwerkidentificatie

Onderhoud
Bij „Adres Bestemming” kunt u de verbinding met een
ander apparaat, zoals bijvoorbeeld een computer,
controleren („pingen”). Voer het netwerkadres van het te
controleren apparaat (bijv. 192.168.0.25) in en druk op
Test.
Informatie over twee parameters verschijnen:
167
Parameter
Instelling
Gemiddelde
vertraging
De tijd die het gepingde apparaat
nodig heeft om te antwoorden
Pakker verlies
tarief:
geeft in procent aan, hoeveel
procent van de pakketten niet
werden overgedragen
Opmerking
Bij een hoge pakketverlieswaarde wordt
aanbevolen de „Netwerktest” te herhalen.
Opmerking
Als de hoge pakketverlieswaarde blijft optreden
dient u uw netwerk op defecte bedrading of scha-
de in de leiding te controleren.
Hoe hoger de pakketverlieswaarde is, hoe slechter
de verbinding tussen het gepingde apparaat en de
recorder is.
Klik op Netwerk, om uw netwerkinstellingen te
wijzigen (zie p.142).
TAB Netwerk Status
Overzicht van de bandbreedte.
Met een klik op Actualiseren kunt u de gegevens
vernieuwen.
Bij „Netwerk Pakket export” kunt u de instellingen van de
afzonderlijke aansluitingen, resp. - afhankelijk van de
instelling van de aansluiting, exporteren.
3. Selecteer bij „Apparaat Naam” een opslagmedium,
waarop de instellingen moeten worden opgeslagen.
4. Klik op Export.
Na afloop van de voorgangsweergave verschijnt bij
succesvolle initialisatie een tipvenster. Sluit deze met
OK.
Klik op status, om de status van de LAN-
aansluitingen (verbonden/niet verbonden) te laten
weergeven.

Onderhoud
Uitschakelen
168
Opmerking
Selecteren Vergrendel om het menu
blokkeren.
Selecteer Uitzetten om het apparaat het
uitschakelen.
Selecteer Herstarten starten, om een reboot
(uitschakelen, opnieuw inschakelen) uit te
voeren.

Oplossen van storingen
Oplossen van storingen
Lees de onderstaande instructies en opmerkingen door
voordat u contact opneemt met de technische
om de mogelijke oorzaak voor een storing vast te stellen
ondersteuning.
169
Storing
Oorzaak
Oplossing
Geen stroom.
Netkabel is niet aangesloten.
Netkabel goed op het stopcontact aansluiten.
Netschakelaar staat OFF.
Netschakelaar op ON zetten.
Geen spanning op het stopcontact.
Evt. ter controle een ander apparaat op dit
stopcontact aansluiten.
Geen beeld.
Het beeldscherm is niet ingesteld op
ontvangst .
Stel de juiste videomodus in totdat er een
beeld van de recorder verschijnt.
Videokabel niet correct aangesloten.
Videokabel correct aansluiten.
Aangesloten monitor is uitgeschakeld.
Monitor inschakelen.
Geen geluid.
Audiokabels zijn niet correct aangesloten.
Audiokabels correct aansluiten.
Via de audiokabels aangesloten apparatuur
niet ingeschakeld.
Via de audiokabel aangesloten apparatuur
niet ingeschakeld.
Audiokabel beschadigd.
Kabel vervangen.
Harde schijf werkt niet.
Verbindingskabels zijn niet correct
aangesloten.
Kabels correct aansluiten.
Harde schijf defect of niet compatibel.
Harde schijf vervangen door een juiste
versie.
USB-aansluiting werkt niet.
Apparaat wordt niet ondersteund.
Ondersteund USB-apparaat aansluiten,
USB2.0.
Er wordt een USB-hub gebruikt.
USB-apparaat direct aansluiten.
Geen netwerktoegang.
Netwerkkabel los.
Netwerkkabel aansluiten.
Netwerkinstellingen (DHCP, IP-adres etc.) niet
correct.
Netwerkinstellingen controleren en evt.
corrigeren.
Afstandsbediening werkt niet.
Batterijen verkeerd geplaatst (polariteit, +,-) of
leeg.
Vervang de batterijen door nieuwe. Om de
recorder met de afstandsbediening te
bedienen moet de afstandsbediening op de
recorder worden gericht.
Afstandsbediening is te ver van de recorder
verwijderd.
Gebruik de afstandsbediening op een
afstand van maximaal 7 meter.
Er is een obstakel tussen de
afstandsbediening en de recorder.
Verwijder het obstakel.
Te sterke verlichting of TL-buizen.
Sterke invloed van TL-buizen voorkomen.
Opnemen niet mogelijk.
Geen HDD resp. HDD niet geïnitialiseerd.
Harde schijf inbouwen en initialiseren.
Recorder schakelt plotseling uit.
De temperatuur in de recorder is te hoog.
Maak de recorder schoon resp. verwijder al-
le voorwerpen die de ventilatie kunnen
beperken.
Recorder reinigen en onderhouden
Opmerking
De recorder is onderhoudsvrij
Bescherm de recorder tegen stof, vuil en vocht

Technische gegevens
Technische gegevens
Technische wijzigingen en fouten voorbehouden. De afmetingen zijn benaderingen
170
ABUS digitale recorder
TVHD80100
TVHD80110
Videocompressie
H.264
Camera-ingangen
4
8
Monitoruitgangen
Monitor: 1 x VGA, 1 x HDMI
Bedrijfsmodus
Triplex
Resolutie (live kijken)
VGA:
1080P: 1920*1080/60Hz, 1280*1024/60Hz,
720P: 1280*720/60Hz,1024*768/60Hz
HDMI:
1080P: 1920*1080/60Hz, 1280*1024/60Hz,
720P: 1280*720/60Hz,1024*768/60Hz
Resolutie @ beeldfrequentie
per
camera (opname)
352 x 288 @ 25 fps, 704 x 576 @ 25 fps, 1280 x 720 @ 25 fps, 1920 x 1080 @ 25 fps
Totale beeldfrequentie
100 fps
200 fps
Compressieniveaus
6
Na-alarmgeheugen
0–30 sec. / 5–900 sec.
Opslagmedium
2 x 3,5“ SATA HDD
Gegevensback-up
2 x USB 2.0
Weergaven
1 / 2 / 4 / 6 / 8 / 9
Opnamemodi
Handmatig, tijdschema, bewegingsherkenning, alarm, bewegingsherkenning en alarm,
bewegingsherkenning of alarm
Zoekmodi
Naar gebeurtenis, datum & tijd, S.M.A.R.T
Gebruikersniveaus
2 (max. 31 gebruikers)
Netwerkaansluiting
1 x RJ45 10/1000 Mbps
Gelijktijdige netwerktoegang
128 cameraverbindingen
Netwerkfuncties
Live kijken, weergave, gegevensexport
DDNS
√
NTP
√
Alarmering
Akoestisch waarschuwingssignaal, OSD-signaal, e-mail, CMS
Besturing
USB-muis
OSD-talen
Duits, Engels, Frans, Nederlands, Deens,
Pools, Russisch
Stroomvoorziening
12 VDC, 3,3 A, 50~60 Hz
12 VDC, 5,0 A, 50~60 Hz
Opgenomen vermogen
<20 W (zonder harde schijf)
Bedrijfstemperatuur
-10 °C ~ + 55 °C
Afmetingen (bxhxd)
400 x 45 x 275 mm
Gewicht
≤ 4,0 kg zonder harde schijf
Certificeringen
CE
HDD opslagcapaciteit
De benodigde opslagcapaciteit voor opname en bewaking is, naast de fysieke opslagcapaciteit van de gebruikte harde
schijf, afhankelijk van de ingestelde resolutie en de beeldfrequentie van de opname.
Op de meegeleverde cd vindt u een rekenmachine om het benodigde geheugen op een harde schijf te berekenen.
Daarnaast kunt u deze software ook op onze homepage downloaden.
Overzicht van verbinding combinaties
De mogelijkheid bestaat om een Spot-monitor aan te sluiten. In de tabel hieronder kunt u zien welke combinaties
mogelijk zijn. Een vinkje betekent mogelijk, een kruisje betekent niet compatibel met elkaar.

Technische gegevens
171
HDMI
+
VGA
HDMI
only
VGA
only

Afvoeren
Afvoeren
Verwijzing naar de EG-richtlijn voor oude
elektrische- en elektronische apparatuur
In verband met de bescherming van het milieu mag deze
recorder aan het einde van de levensduur niet worden
afgevoerd met het huishoudelijk afval. Dit apparaat kan
worden afgevoerd volgens de geldende landelijke
richtlijnen. Neem de plaatselijk geldende voorschriften
voor de afvoer van deze materialen in acht.
172
Voer dit apparaat af volgens de EG richtlijn voor
elektronisch en elektrotechnisch afval
2002/96/EC - WEEE (Waste Electrical and
Electronic Equipment). Bij vragen kunt u con-
tact opnemen met de verantwoordelijke
instantie in uw gemeente. Adressen voor het
inleveren van uw oude apparatuur krijgt u bv. bij
de gemeente, de plaatselijke reinigingsdiensten
of bij uw leverancier.
EU-richtlijn 2002/95/EG (RoHS-richtlijn)
Dit apparaat voldoet aan de RoHS-richtlijn
Voldoen aan de RoHS-richtlijn betekent dat het product
of component geen van de volgende substanties in een
hogere dan de volgende concentratie bevat in homogene
materialen, tenzij de substantie deel uitmaakt van een
toepassing die van de RoHS-richtlijn is uitgezonderd.
a)0,1 % lood (naar gewicht),
b)Kwik,
c)Zeswaardig chroom,
d)Polybroombifenylen (PBB) en polybroomdifenylethers
(PBDE)
e)0,01 % cadmium (naar gewicht)

Glossarium
Glossarium
Gebruikte vaktermen
1080i
DUAL-STREAM
HDTV beeldsignaal met 1060 pixel en geïnterlinieerde
Dualstream is de naam van een transmissiemethode
beeldopbouw.
voor video. Er worden gelijktijdig twee streams
verzonden, bv. via een netwerk, één stream in hoge en
16:9
één in lage resolutie. De zgn. "main stream" heeft een
Beeldverhouding van een breedbeeldmonitor dat is
4CIF resolutie, de zgn. "substream" slechts CIF.
afgeleid van het bioscoopformaat.
DVR
720p
Digitale videorecorder. Een apparaat voor het opnemen
HDT beeldsignaal van 1280 x 720 pixel en progressieve
van verschillende video- en audiobronnen (analoog en
beeldopbouw.
digitaal). De gegevens worden vóór de opname
RESOLUTIE
gecomprimeerd en vervolgens op bv. een harde schijf
Het standaard PAL televisiesysteem geeft TV beeld weer
opgeslagen.
met 576 lijnen met normaal 768 beeldpunten Hoge
KBOS/CVBS
resolutie TV (HDTV) werkt met minimaal 1280 x 720
Afkorting voor kleur, beeld, onderdrukking en
beeldpunten.
synchronisatie. De eenvoudigste vorm videosignaal, ook
BEELDDIAGONAAL
wel "composiet signaal". De beeldkwaliteit is relatief laag.
Indicatie van de afmetingen van een beeldscherm: de
H.264
afstand van de linkeronderhoek tot de rechterbovenhoek
(MPEG-4 AVC): standaard voor zeer efficiënte
in inch (") of centimeters (cm).
compressie van videosignalen. Wordt onder andere
BROWSER
gebruikt bij Blu-ray en videoconferentiesystemen.
Programma voor het weergeven van pagina’s op het
HDD
World Wide Web (www, onderdeel van internet).
"Hard Disk Drive": harde schijf (gegevensopslag op
CIF
magnetische schijven).
"Common Intermediate Format".
Digitale opslag in computers of DVR’s.
Oorspronkelijk bedoeld voor het omrekenen van PAL
GIGABYTE
naar NTSC. CIF komt overeen met een videoresolutie
Eenheid voor de opslagcapaciteit van opslagmedia
van 352 x 288 pixel, 2 CIF 704 x 288 pixel, 4 CIF 704 x
(HDD, USB, SD/MMC-geheugenkaarten.
576 pixel.
HDVR
CINCH
Hybride DVR. DVR voor de opnamen van analoge
Veelgebruikte busaansluiting voor analoge of KBOS
camera’s en netwerkcamera’s.
videosignalen.
http
DDNS
"Hypertext Transfer Protocol".
"Dynamic Domain-Name-System" vermelding.
Een protocol voor de overdracht van gegevens via
Netwerkservice die de IP-adressen van de gebruikers in
netwerken. Voornamelijk gebruikt voor de weergave van
een database bijhoudt en onderhoud.
internetpagina’s in een browser.
DHCP status
INTERLACED
"Dynamic Host Configuration Protocol".
Geïnterlinieerde opbouw van een videobeeld (TV).
Netwerkprotocol dat het mogelijk maakt om apparatuur
IP-ADRES
(clients) automatisch aan bestaande netwerken te
Een adres in een computernetwerk, gebaseerd op het
koppelen. Hierbij wijzen DHCP-servers (zoals bv. internet
Internet Protocol (IP). Hiermee is het mogelijk om
routers) automatisch het IP-adres, het subnetmasker, de
verschillende apparatuur binnen het netwerk te
gateway de DNS-server en evt. de WINS-server toe aan
adresseren en op die manier exclusief verbinding te
de clients. Aan de kant van de client hoeft daarvoor al-
maken.
leen het automatisch verkrijgen van een IP-adres te wor-
den ingeschakeld.
JPEG
DOMAIN
Compressiemethode voor foto’s met relatief gering
kwaliteitsverlies. De meeste digitale camera’s slaan de
Domein (naamruimte) voor de identificatie van internet-
foto’s in het JPEG formaat op.
pagina’s (bv. www.abus-sc.nl).
173

Glossarium
MPEG
PPPoE
Afkorting voor Moving Picture Experts Group. Het gaat
„PPP over Ethernet” (Point-to-Point protocol).
hierbij om een internationale standaard voor het
Netwerkprotocol voor het opbouwen van een verbinding
comprimeren van bewegende beelden. Op een DVD zijn
via een kieslijn zoals bijvoorbeeld wordt gebruikt bij
de digitale audiosignalen in dit formaat gecomprimeerd
ADSL aansluitingen.
en opgenomen.
PROGRESSIVE
NTP
Aftasting resp. weergave van een beeld per beeldlijn, in
„Network Time Protocol”
tegenstelling tot de geïnterlinieerde beeldopbouw zoals
Een protocol voor het synchroniseren van de tijd via een
bij „interlaced”.
netwerk. Ook SNTP (Simple Network Time Protocol), dit
PTZ
is een vereenvoudigde versie van het protocol.
"Pan-Tilt-Zoom".
NTSC
Draaien, kantelen, zoomen bij gemotoriseerde camera’s.
Standaard voor kleurentelevisie in de VS. Het systeem
USB
verschilt op enkele punten van de Europese norm PAL.
"Universal Serial Bus".
Een volledig NTSC beeld bestaat bv. uit 480 zichtbare
van in totaal 525 lijnen. Er worden per seconde 60 halve
Seriële busaansluiting om bijvoorbeeld opslagmedia bij
beelden weergegeven. In vergelijking met PAL is het
een draaiende PC aan te sluiten. Maximaal bruikbare
systeem gevoeliger voor kleurafwijkingen.
transmissiesnelheid bij USB 2.0: ca. 320 Mbit/sec. (ca.
40 MB/sec.).
PAL
HDMI/VGA
„Phase Alternating Line”. Europese norm voor
kleurentelevisie. Er wordt gebruik gemaakt van 576
"Video Graphics Array". Een bij de PC gebruikelijke inter-
zichtbare beeldlijnen. Met de lijnen die worden gebruikt
face voor analoge videosignalen. Het gaat hierbij in prin-
voor de stuursignalen bestaat een volledig beeld uit 625
cipe om RGB signalen.
lijnen. Er worden per seconde 50 halve beelden
INCH
weergegeven. De fase van het kleurensignaal wisselt
Een maat voor de beeldschermdiagonaal Een inch (")
daarbij van beeldlijn tot beeldlijn.
komt overeen met 2,54 cm. De belangrijkste
PANEL
standaardmaten van 16:9 beeldschermen: 26" (66 cm),
Vakterm voor het inwendige van een vlak beeldscherm
32" (81 cm), 37" (94 cm), 42" (106 cm), 50" (127 cm), 65"
(men spreekt dan van LCD of plasma panels).
(165 cm).
PC
Een "Personal Computer" kan als terminal op afstand
worden gebruikt met de meegeleverde software of met
een browser.
PIXEL
"Picture element". Beeldpunt, beeldelement. De kleinste
eenheid van een digitaal verzonden of weergegeven
beeld.
PIP
"Picture in Picture". Afkorting voor de "Beeld-In-Beeld"
functie waarbij op het beeldscherm gelijktijdig twee
signaalbronnen worden weergegeven. De tweede
signaalbron wordt daarbij over de eerste heen gelegd.
174

Over de ingebouwde harde schijf
Over de ingebouwde harde schijf
De ingebouwde harde schijf (HDD) is zeer gevoelig.
Bedien de recorder volgens de handleiding om storingen
van de harde schijf te voorkomen. Belangrijke opnamen
moeten worden veiliggesteld op externe media om
gegevensverlies te voorkomen.
175
Opmerking
De recorder mag tijdens bedrijf niet worden be-
wogen.
Vocht in de recorder kan condenseren en de
werking van de harde schijf verstoren.
Verwijder nooit de stekker uit het stopcontact
wanneer de recorder is ingeschakeld en
onderbreek de stroomtoevoer nooit via de
zekeringschakelaar.
Verplaats de recorder niet meteen na het
uitschakelen. Voordat u de recorder verplaatst
dient u de volgende stappen te volgen:
1. Wacht na de melding OFF (op de display van
de recorder) ten minste twee minuten
2. Verwijder de stekker uit het stopcontact.
3. Verplaats de recorder.
Bij een stroomstoring terwijl de recorder in
bedrijf is kunnen gegevens op de harde schijf
verloren gaan. Maak altijd gebruik van een UPS!
De harde schijf is zeer gevoelig. Onjuiste
bediening of een ongeschikte omgeving kan de
harde schijf na een bedrijfsduur van enkele
jaren beschadigen. Indicaties daarvoor zijn het
onverwacht stoppen van de weergave of
zichtbare mozaïekeffecten in het beeld. Voor
een defect van de harde schijf zijn er mogelijk
geen aanwijzingen.
Bij een defecte harde schijf is het niet mogelijk
om opnamen af te spelen. In dit geval moet de
harde schijf worden vervangen.

ABUS 4/8-kanaals HD-SDI digitale
recorder
TVHD80100 / TVHD80110
Fabrikant
ABUS Security-Center GmbH & Co. KG
Linker Kreuthweg 5
86444 Affing (Germany)

ABUS
Enregistreur numérique HD-SDI 4/8 canaux
TVHD80100/TVHD80110
Notice d’utilisation
Version 1.0

178
Français
Les recommandations contenues dans cette notice
d’utilisation sont importantes pour la mise en service et
l'utilisation du produit.
Nous vous prions de bien vouloir les respecter. Si vous
étiez amené à revendre le produit, nous vous prions de
bien vouloir transmettre cette notice au nouvel acquéreur.
Nous vous recommandons également de conserver cette
notice d'utilisation afin de pouvoir la consulter à tout mo-
ment.
Le sommaire disponible donne un aperçu du contenu et
renvoie aux pages correspondantes.

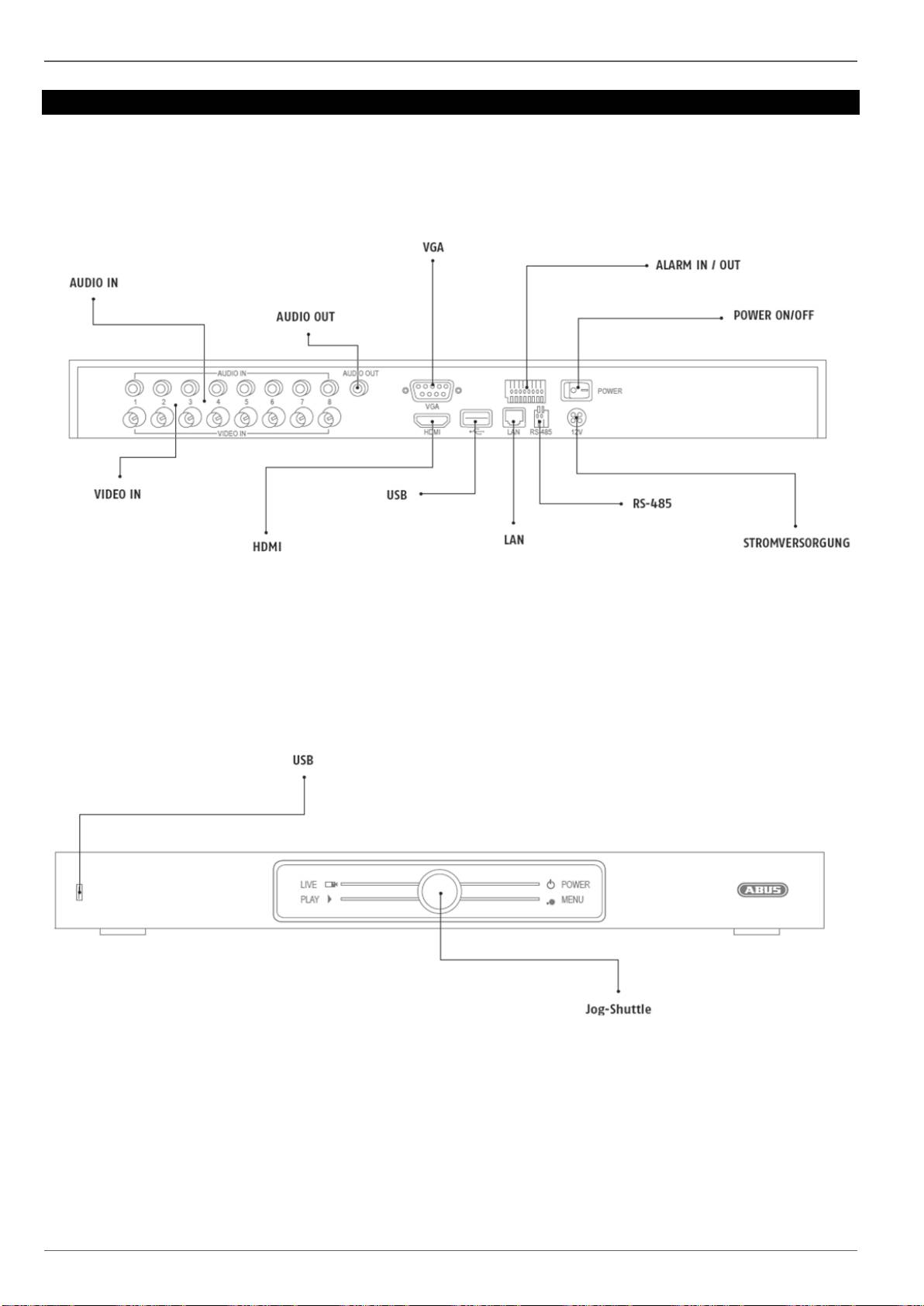
Vue d’ensemble de l’appareil
Panneau arrière
Face avant
179

Commande du système
Commande du système
Généralités
Vous pouvez piloter l’appareil comme suit :
Dispositifs de commande sur le devant de l’appareil
Souris USB
Connecteurs au dos de l’appareil
180
Remarque
Voir la vue d’ensemble, p. 179.
Désignation
Fonction
VIDEO IN:
Entrée BNC pour caméras analogiques
AUDIO IN:
Entrées Cinch
AUDIO OUT:
Sortie audio de type Cinch (synchronisée)
VGA:
Connexion pour moniteur VGA (9 broches),
signal de sortie vidéo
ALARM IN / OUT:
Max. 4 entrées d'alarme, max. 1 sortie relais
POWER ON/OFF:
Interrupteur marche/arrêt de l'appareil
STROMVERSORGUNG
Branchement électrique 12 V CC
RS-485
Connexion pour caméras PTZ
LAN
Connexion RJ45 pour raccordement au ré-
seau
USB
Connexion pour appareils USB
HDMI
Connexion pour moniteur HDMI
USB
Connexion pour appareils USB
JOG-SHUTTLE
Sélection du mode de fonctionnement

