ABUS TVHD80100 Operating instructions – page 18
Manual for ABUS TVHD80100 Operating instructions
Table of contents
- User guide

Konserwacja
341
Wskazówka
Uaktualnienie urządzenia może być wykonane z
nośnika USB lub przez sieć protokołem FTP.
Skopiuj plik uaktualniający z rozszerzeniem
*.mav na pamięć USB-Stick do katalogu
głównego.
Połącz USB-Stick z jednym ze złączy USB w
urządzeniu.
1. Wybierz złącze USB, ew. kliknij Uaktualnij.
2. Wybierz plik uaktualniający, kliknij Uaktualnij.
3. Poczekaj aż urządzenie wykona restart.
4. Ewentualnie sprawdź stan oprogramowania firmware
w menu Konserwacja, w pozycji Informacja.
Resetowanie systemu
Wskazówka
Ta operacja powoduje przywrócenie ustawień
fabrycznych urządzenia (Reset).
Ostrzeżenie
Zostaną skasowane wszystkie ustawienia ,
wykonane od momentu uruchomienia (kamery,
ustawienia zapisu, alarmy itp.)
Zabezpiecz ustawienia, aby uniknąć ich utraty. Po
zresetowaniu urządzenia można je ponownie
wczytać.
Net Detect
Wskazówka
Tu wyświetlane są informacje o ruchu w sieci i
interfejsach sieciowych.
ZAKŁADKA Ruch
Wyświetlana jest graficznie ilość odebranych i wysłanych
danych.
W polu pod grafiką stosownie do ustawie sieci
wyświetlany jest stan i informacje o jednym lub dwóch
złączach sieciowych.
ZAKŁADKA Wykrywanie sieci

Konserwacja
W pozycji „Test sieci“ można sprawdzić połączenie z
innym urządzeniem, np. komputerem (‚ping’). Wprowadź
adres sieciowy sprawdzanego urządzenia (np.
192.168.0.25) i naciśnij Test.
Ukażą się informacje o dwóch parametrach.
342
Parametry
Ustawienie
Średnie
opóźnienie
Czas potrzebny na odpowiedź
pingowanego urządzenia
Współczynnik
straty pakietów:
Pokazuje w procentach, jaka część
pakietów nie została przesłana
Wskazówka
W razie wysokiego współczynnika straty pakietów
wskazane jest powtórzenie „Testu sieci“.
Wskazówka
Jeżeli współczynnik straty pakietów nadal będzie
wysoki, należy sprawdzić, czy okablowanie sieci
jest prawidłowe i czy przewód nie jest uszkodzony.
Im wyższy współczynnik straty pakietów, tym
gorsze połączenie między pingowanym
urządzeniem i nagrywarką.
Kliknij stan, aby wyświetlić stan złącz LAN
(połączone/nie połączone).
Kliknij Sieć, aby zmienić ustawienia sieciowe (patrz
str. 346).
Zakładka Statystyka zasobów sieciowych
Na tej zakładce jest wyświetlana stosowana szerokość
pasma urządzenia.
Za pomocą opcji Aktualizacja można zaktualizować da-
ne.
W pozycji „Eksport pakietów sieciowych“ można
wyeksportować ustawienia poszczególnych złącz, lub
złącza zależnie od ustawień.
1. W pozycji „Nazwa urządzenia“ wybierz nośnik
pamięci, na którym mają być zapisane ustawienia.
2. Kliknij Eksport
Po dojściu wskaźnika postępu do końca w razie
powodzenia inicjalizacji ukazuje się okienko
informacyjne. Zamknij je, klikając OK.

Konserwacja
Zamknij
343
Wskazówka
Wybierz Zablokuj, aby zablokować menu
obsługi.
Wybierz Zamknij, aby wyłączyć urządzenie.
Wybierz Restart, aby ponownie uruchomić sys-
tem (wyłączenie i ponowne włączenie).

Usuwanie zakłóceń
Usuwanie zakłóceń
Przed skontaktowaniem się z serwisem przeczytaj poniższe wskazówki, aby ustalić potencjalną przyczynę zakłócenia.
344
Zakłócenie/usterka
Przyczyna
Rozwiązanie
Brak zasilania elektrycznego
Niepodłączony kabel sieciowy
Podłącz dobrze kabel sieciowy do gniazda
sieciowego
Wyłącznik sieciowy w pozycji OFF
Ustaw wyłącznik sieciowy w pozycji ON
Brak prądu w gnieździe sieciowym
Sprawdź gniazdo, podłączają do niego inne
urządzenie
Brak obrazu
Ekran nie jest ustawiony do odbioru
Ustaw prawidłowy tryb wejściowy wideo tak,
aby został wyświetlony obraz z nagrywarki
Źle podłączony kabel wideo
Podłączyć prawidłowo kabel wideo
Podłączony silnik jest wyłączony
Włącz monitor
Obrazy z kamery tylko CZ/B i
nieostre mimo że
zainstalowana jest kamera
kolorowa
Jeżeli przy uruchamianiu nagrywarki nie jest
podłączona żadna kamera, nagrywarka jest
automatycznie uruchamiana w trybie NTSC.
Jeżeli teraz zostaną podłączone tylko kamery
kolorowe PAL, obraz z nich będzie CZ/B i
nieostry.
Podłącz kamery przed uruchomieniem
nagrywarki. Nagrywarka wykrywa
automatycznie, czy otrzymuje sygnał PAL
czy NTSC i przełącza na prawidłowy tryb.
Można ustawić tryb.
Brak dźwięku
Źle podłączone kable audio
Podłącz prawidłowo kable audio
Urządzenia połączone kablami audio nie są
włączone.
Urządzenia połączone kablem audio nie są
włączone.
Kabel przyłączeniowy audio jest uszkodzony
Wymień kabel
Nie działa twardy dysk
Źle podłączone kable połączeniowe
Podłącz prawidłowo kable
Dysk twardy uszkodzony lub niezgodny z
systemem
Wymień twardy dysk na zalecany
Nie działa złącze USB
Urządzenie nie jest obsługiwane
Podłącz odpowiedni nośnik USB, USB2.0
Został zastosowany koncentrator USB
Podłącz bezpośrednio nośnik USB
Brak dostępu do sieci
Obluzowane złącze kabla sieciowego
Popraw połączenie kabla sieciowego.
Złe ustawienia sieciowe (DHCP, adres IP itd.)
Sprawdź i w razie potrzeby skoryguj
konfigurację sieci.
Nie działa pilot
Baterie włożone nieprawidłowo (+, –) lub
rozładowane
Wymień baterie na nowe. Aby sterować
urządzeniem z pilota, skieruj czujnik pilota
na urządzenie.
Za duża odległość pilota od nagrywarki
Używaj pilota w odległości nie większej niż 7
m
Przeszkoda między pilotem i nagrywarką
Usuń przeszkodę
Za jasne oświetlenie lub świetlówki?
Wyeliminuj silne oświetlenie światem
świetlówek
Zapis niemożliwy
Brak HDD lub HDD nie zainicjalizowany
Zamontuj i wykonaj inicjalizację twardego
dysku
Nagłe wyłączenie
Za wysoka temperatura wewnątrz urządzenia
Oczyść urządzenie lub usu przedmioty
utrudniające wentylację
Czyszczenie i pielęgnacja urządzenia
Wskazówka
Urządzenie jest bezobsługowe.
Chroń urządzenie przed kurzem, brudem i wilgocią.

Dane techniczne
Dane techniczne
Zmiany techniczne i błędy zastrzeżone.
345
Nagrywarka cyfrowa ABUS
TVHD80100
TVHD80110
Kompresja wideo
H.264
Wejścia kamery
4
8
Wyjścia monitora
Monitor: 1 x VGA, 1 x HDMI
Tryb pracy
Tripleks
Rozdzielczość (widok na
żywo)
VGA:
1080P: 1920*1080/60Hz, 1280*1024/60Hz,
720P: 1280*720/60Hz,1024*768/60Hz
HDMI:
1080P: 1920*1080/60Hz, 1280*1024/60Hz,
720P: 1280*720/60Hz,1024*768/60Hz
Rozdzielczość @
Częstotliwość odświeżania
obrazu na
kamerę (zapis)
352 x 288 @ 25 fps, 704 x 576 @ 25 fps, 1280 x 720 @ 25 fps, 1920 x 1080 @ 25
fps
Całkowita częstotliwość
odświeżania obrazu
100 fps
200 fps
Poziomy kompresji
6
Pamięć obrazów po alarmie
0–30 sek. / 5–900 sek.
Nośnik pamięci
2 x 3,5“ SATA HDD
Zabezpieczanie danych
2 x USB 2.0
Widoki
1 / 2 / 4 / 6 / 8 / 9
Tryby zapisu
Ręczny, harmonogram, wykrywanie ruchu, alarm, wykrywanie ruchu i alarm, wykrywanie
ruchu lub alarm
Tryby wyszukiwania
Wg zdarzenia, daty i czasu, S.M.A.R.T
Poziomy uprawnień
użytkowników
2 (maks. 31 użytkowników)
Złącze sieciowe
1 x RJ45 10 / 100 / 1000 Mbps
Jednoczesny dostęp sieciowy
128 połączenia z kamerami
Funkcje sieciowe
Widok na żywo, Odtwarzanie, Eksport danych,
DDNS
√
NTP
√
Alarmowanie
Akustyczny sygnał ostrzegawczy, sygnał OSD, e-mail, CMS
Sterowanie
Mysz USB
Języki OSD
niemiecki, angielski, francuski, holenderski, duński,
polski, rosyjski
Zasilanie napięciowe
12 VDC, 3,3 A, 50~60 Hz
12 VDC, 5,0 A, 50~60 Hz
Pobór mocy
<20 W (bez płyty głównej)
Temperatura robocza
-10 °C ~ + 55 °C
Wymiary (SxWxG)
400 x 45 x 275 mm
Masa
≤ 4,0 kg bez twardego dysku
Certyfikaty
CE
Pojemność HDD
Pojemność pamięci potrzebnej do zapisu i monitorowania zależy od fizycznej pojemności twardego dysku oraz od
ustawionej rozdzielczości i przepływności zapisu.
Na dostarczonej w komplecie płycie CD znajduje się kalkulator do obliczania potrzebnej pojemności twardego dysku.
Oprogramowanie to można pobrać także na naszej stronie domowej razem z oprogramowaniem ABUS CMS.
Przegląd kombinacji połączeń
W poniższej tabeli można sprawdzić, jakie kombinacje połączeń są możliwe. Haczyk oznacza możliwe połączenie,
krzyżyk - niekompatybilne.

Utylizacja
346
HDMI
+
VGA
HDMI
only
VGA
only
Utylizacja
Uwaga: dyrektywa WE o
wyeksploatowanych urządzeniach
elektrycznych i elektronicznych
Ze względu na ochronę środowiska wyeksploatowane
urządzenie nie może być wyrzucane razem z odpadami
domowymi. Utylizacja może być przeprowadzona przez
punkty zbiorcze w kraju użytkownika. Przestrzegaj
lokalnych przepisów w zakresie utylizacji materiałów.
Utylizuj urządzenie zgodnie z Dyrektywą WE o
wyeksploatowanych urządzeniach
elektrycznych i elektronicznych
2002/96/WE - WEEE (Waste Electrical and
Electronic Equipment). W razie wątpliwości
zwracaj się do władz komunalnych
odpowiedzialnych za utylizację. Adresy
punktów odbioru zużytego sprzętu otrzymasz w
lokalnej administracji gminnej lub miejskiej,
lokalnych przedsiębiorstwach utylizacji
odpadów lub u sprzedawcy urządzenia.
Informacja o Dyrektywie WE RoHS
Urządzenie jest zgodne z Dyrektywą RoHS.
Przestrzeganie Dyrektywy RoHS oznacza, że produkt lub
podzespół nie zawiera żadnej z wymienionych niżej
substancji w stężeniach wyższych od podanych
maksymalnych stężeń w homogenicznych materiałach,
chyba że substancja ta jest częścią aplikacji wyłączonej z
zakresu działania Dyrektywy RoHS:
a)0,1 % ołowiu (wagowo),
b)rtęć,
c)chrom sześciowartościowy,
d)bifenyl polibromowany (PBB) i eter difenylowy
polibromowany,
e)0,01 % kadmu (wagowo).

Glosariusz
Glosariusz
Zastosowane pojęcia fachowe
1080i
Domain
Sygnał obrazowy HDTV 1080 pikseli „Interlaced“.
Domena (przestrzeń nazw), służąca do identyfikacji stron
internetowych (np. www.abus-sc.de).
1080p
Podwójny strumień
Sygnał obrazowy HDTV 1080 pikseli „Interlaced“ i
wyświetlanie progresywne.
Dual Stream to jedna z metod transferu danych wideo.
Realizowany jest zapis w wysokiej rozdzielczości przy
16:9
niskiej rozdzielczości transferu np. przez sieć. Tzw. ‚Main
Stosunek boków wyświetlaczy panoramicznych,
Stream’ ma rozdzielczość 4CIF, tzw. ‚Sub Stream’ tylko
nawiązujący do formatu kinowego.
CIF.
720p
DVR
Sygnał HDTV 1280 x 720 pikseli z wyświetlaniem
Digital Video Recorder; urządzenie do zapisu z różnych
progresywnym.
źródeł wideo i audio (analogowych, cyfrowych). Dane do
ROZDZIELCZOŚĆ
zapisu są kompresowane i zapisywane np. na twardych
Typowy system telewizyjny PAL wyświetla obrazy TV z
dyskach.
rozdzielczością 576 linii i 768 punktów obrazowych.
FBAS/CVBS
Telewizja wysokiej rozdzielczości (HDTV) wykorzystuje
„Sygnał koloru, obrazu, wygaszania i synchronizacji“.
1280 x 720 punktów obrazowych.
Najprostszy wariant sygnałów wideo, określany też jako
PRZEKĄTNA EKRANU
„sygnał Composite“. Jakość obrazu jest stosunkowo
Miara wielkości wyświetlacza: odległość między lewym
niewielka.
dolnym i prawym górnym rogiem – w calach lub
H.264
centymetrach.
(MPEG-4 AVC); standard wysokowydajnej kompresji
Przeglądarka WWW
sygnałów wideo. Wykorzystywany m.in. do zapisu na
Program do przeglądania stron WWW.
dyskach Blu-ray lub w systemach wideokonferencyjnych.
CIF
HDD
‚Common Intermediate Format’.
‚Hard Disk Drive’; twardy dysk (pamięć magnetyczna
Pierwotnie przeznaczony do konwersji standardu PAL na
dyskowa)
NTSC. CIF odpowiada rozdzielczości wideo 352 x 288
Cyfrowa pamięć danych w komputerach i urządzeniach
pikseli, 2 CIF 704 x 288 pikseli, 4 CIF 704 x 576 pikseli.
DVR.
CINCH
GIGABYTE
Popularny typ gniazda do analogowych sygnałów audio
Jednostka pojemności nośników pamięci (HDD, USB,
lub sygnałów wideo FBAS.
karty SD/MMC).
DDNS
HDVR
‚Dynamic Domain-Name-System’
Hybrydowy DVR; DVR do zapisu z kamer analogowych i
Usługa sieciowa, przechowująca w bazie danych i
sieciowych.
aktualizująca adresy IP klientów.
http
DHCP
‚Hypertext Transfer Protocol’;
‚Dynamic Host Configuration Protocol’
Metoda transferu danych w sieciach. Stosowany głównie
Protokół sieciowy, umożliwiający automatyczne
do wyświetlania stron WWW w przeglądarce.
włączanie urządzeń (klientów) do istniejących sieci. Przy
INTERLACED
tym serwery DHCP (jak np. ruter internetowy)
Metoda wyświetlania międzyliniowego.
przydzielają automatycznie adres IP, maskę podsieci,
Adres IP
maskę sieci, bramę, serwer DNS i ew. serwer WINS. Po
Adres w sieci komputerowej, oparty na protokole
stronie klienta mus być tylko uaktywnione automatyczne
internetowym (IP), umożliwiającym adresowanie różnych
pobieranie adresu IP.
urządzeń w sieci i w konsekwencji dedykowanego
dostępu do nich.
347

Glosariusz
JPEG
PPPoE
Niskostratna metoda kompresji fotografii. Większość apa-
‚PPP over Ethernet’ (Point-to-Point-Protocol)
ratów cyfrowych zapisuje zdjęcia w formacie JPEG.
Metoda transferu sieciowego do nawiązywania
MPEG
połączenia po łączach komutowanych, stosowana m.in.
Skrót od Moving Picture Experts Group. Jest to
do łącz ADSL.
międzynarodowy standard kompresji obrazów
PROGRESSIVE
ruchomych. Na niektórych płytach DVD cyfrowe sygnały
Liniowe próbkowanie Lub wyświetlanie obrazu, w
audio są kompresowane i zapisywane w tym formacie.
przeciwieństwie do wyświetlania międzyliniowego
NTP
„Interlaced“.
‚Network Time Protocol’
PTZ
Metoda synchronizacji czasu w sieciach. Także
‚Pan-Tilt-Zoom’
uproszczona forma SNTP (Simple Network Time Proto-
Obracanie, pochylanie, zoom w kamerach z silnikami.
col).
RTSP
NTSC
‚Real-Time Streaming Protocol’
Standard TV w USA. Metoda ta różni się w szczegółach
Protokół sieciowy do sterowania ciągłego transferu
od europejskiego systemu PAL. Obraz pełnoekranowy
strumieni lub oprogramowania w sieciach opartych na
NTSC składa się z 480 widzialnych i łącznie 525 linii.
protokole IP.
Wyświetlane jest 60 półobrazów na sekundę. W
porównaniu z systemem PAL system ten jest bardziej
SNMP
podatny na zakłócenia barw.
‚Simple Network Management Protocol’
PAL
Protokół sieciowy, regulujący komunikację między
„Phase Alternating Line“; europejski system telewizji
kontrolowanymi urządzeniami i stacją nadrzędną.
kolorowej. Wykorzystuje 576 widzialnych linii obrazu,
Umożliwia monitorowanie stanu urządzenia przez
razem z liniami wykorzystywanymi do sygnałów
dedykowane oprogramowanie.
zarządzających pełny obraz zajmuje 625 linii.
USB
Wyświetlane jest 50 półobrazów na sekundę. Położenie
‚Universal Serial Bus’
fazowe sygnału kolorowego zmienia się przy tym z linii
Magistrala szeregowa do podłączania np. nośników
na linię.
pamięci w trakcie pracy. Maksymalny użyteczny transfer
PANEL
dla USB 2.0: ok. 320 Mbit/s (ok. 40 MB/s).
Fachowe określenie wewnętrznej technologii stosowanej
VGA
w płaskich wyświetlaczach (panele LCD lub plazmowe).
„Video Graphics Array“. Standardowy interfejs do
PC
analogowych sygnałów wideo w komputerach PC –
„Personal Computer“ może być wykorzystywany jako
zasadniczo chodzi tu o sygnały RGB.
obiekt do zdalnego odczytu za pomocą dostarczonego
CAL (inch)
oprogramowania lub przeglądarki WWW.
Jednostka miary przekątnej ekranu. Jeden cal = 2,54
Piksel
centymetra. Najważniejsze typowe wielkości
„Picture element“. Punkt obrazowy, element obrazu,
wyświetlaczy 16:9: 26 cali (66 cm), 32 cale (81 cm), 37
najmniejsza jednostka cyfrowego transferu i wyświetlania
cali (94 cm), 42 cale (106 cm), 50 cali (127 cm), 65 cali
obrazu.
(165 cm).
PIP
„Picture in Picture“. Skrótowe oznaczenie funkcji „obraz
w obrazie“, w której na ekranie widoczne są jednocześnie
dwa źródła sygnału. Drugie źródło sygnału jest przy tym
nakładane na pierwsze.
348

O wewnętrznym twardym dysku
O wewnętrznym twardym dysku
Wewnętrzny twardy dysk (HDD) jest bardzo wrażliwy. Obsługuj urządzenie zgodnie z poniższymi instrukcjami, aby
uniknąć błędów dyskowych. Ważne zapisy powinny być zabezpieczane na nośnikach zewnętrznych, aby uniknąć
niespodziewanej utraty danych.
349
Wskazówka
Nie przemieszczać urządzenia w trakcie pracy.
Wilgoć we wnętrzu urządzenia może skraplać
się, powodując nieprawidłowe działanie napędu.
Przy włączonym urządzeniu nigdy nie wyciągać
wtyczki sieciowej ani nie przerywać zasilania
wyłącznikiem bezpiecznikowym.
Bezpośrednio po wyłączeniu nie przemieszczać
urządzenia. W celu przemieszczenia urządzenia
wykonać następujące czynności.
1. Po komunikacie OFF (na wyświetlaczu
urządzenia) poczekać co najmniej dwie minuty.
2. Wyciągnąć wtyczkę sieciową..
3. Przenieść urządzenie.
W razie awarii zasilania w trakcie pracy
urządzenia może dojść do utraty danych na
twardym dysku. Używaj zasilacza UPS!
Twardy dysk jest bardzo wrażliwy.
Nieprawidłowa obsługa i nieodpowiednie
środowisko mogą spowodować uszkodzenie
twardego dysku po kilku latach pracy. Objawem
może być nieoczekiwane zatrzymywanie się
odtwarzania lub wyraźne efekty mozaiki na
obrazie. Czasami uszkodzenie twardego dysku
następuje bez wcześniejszych objawów.
W razie uszkodzenia dysku odtworzenie
zapisów jest niemożliwe. W takim przypadku
konieczna jest wymiana twardego dysku.

ABUS
4/8-kanałowa nagrywarka cyfrowa
HD-SDI
TVHD80100 / TVHD80110
Producent
ABUS Security-Center GmbH & Co. KG
Linker Kreuthweg 5
86444 Affing (Niemcy)

ABUS
4-канальный/8-канальный цифровой
рекордер HD-SDI
TVHD80100 / TVHD80110
Инструкция по эксплуатации
Version 1.0

Указания для руководства по эксплуатации
352
Русский
Данная инструкция по эксплуатации содержит важные
указания по вводу в эксплуатацию и обращению с
продуктом.
Примите это во внимание, также при передаче
продукта в пользование третьим лицам.
По этой причине сохраните данную инструкцию для
повторного прочтения!
Вся информация отражена в Содержании с указанием
соответствующих номеров страниц.

Обзор устройства
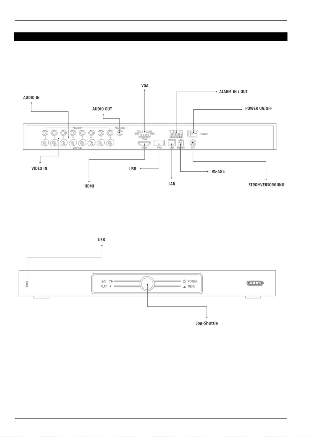
Обзор устройства
Обратная сторона
Вид спереди
353

Системное управление
Системное управление
Общие положения
Управление прибором может осуществляться
следующим образом:
USB-мышью
Разъемы с обратной стороны
354
Название
Функция
VIDEO IN:
Вход BNC для камер HD-SDI
AUDIO IN:
Входы «тюльпан»
AUDIO OUT:
Аудиовыход «тюльпан» (синхронизирован
с видеовыходом)
VGA:
Разъем монитора VGA (9 штырьков),
Выходной видеосигнал
ALARM IN / OUT:
Макс. 4 входа тревоги, макс. 1 выход реле
POWER ON/OFF:
Включение и выключение устройства
STROMVERSORGUNG
Подключение источника питания 12 В
пост. тока
RS-485
разъем для камер PTZ
LAN
Разъем RJ45 для
сетевого соединения
USB
Разъем для USB-устройств
HDMI
HDMI-разъем монитора
USB
Разъем для USB-устройств
JOG-SHUTTLE
Выбор рабочего режима

Системное управление
Bedienung mit der Maus
355
Указания
Дальнейшее описание в данном руководстве
по эксплуатации происходит с использованием
мышки.
Устройство может использоваться с USB-
мышкой. Подключите мышку к разъему USB.
Кнопка
Функция
слева
Один щелчок:
Выбор в меню, активация поля ввода
или вкладки, отображение меню
Quick Set
Двойной щелчок:
Изменение вида экрана Отдельный
экран – Разделенный экран для Live-
отображения и воспроизведения
Щелкнуть и потянуть:
Создание собственных масок или зон
справа
Один щелчок:
Вызов всплывающих меню
Возврат в предыдущее меню
Колесико
прокрутки
В Live-отображении:
показать предыдущую/следующую
камеру

Содержание
Hinweis........................................................................................................................................................................... 51
Technische Daten .......................................................................................................................................................... 52
Entsorgen ....................................................................................................................................................................... 54
Hinweis auf die Elektro- und Elektronik Altgeräte EG-Richtlinie .................................................................................... 54
Hinweis auf RoHS EG-Richtlinie .................................................................................................................................... 54
Glossar ............................................................................................................................................................................ 55
Verwendete Fachbegriffe ............................................................................................................................................... 55
Über das interne Festplattenlaufwerk .......................................................................................................................... 57
Device overview ............................................................................................................................................................. 61
System operation ........................................................................................................................................................... 62
General information ....................................................................................................................................................... 62
Connections on the rear of the device ........................................................................................................................... 62
Mouse operation ............................................................................................................................................................ 63
Quick guide..................................................................................................................................................................... 67
Before you start .............................................................................................................................................................. 67
Installing the HDD .......................................................................................................................................................... 67
Establishing the connections ......................................................................................................................................... 67
Configuring the device ................................................................................................................................................... 67
Important safety information ........................................................................................................................................ 68
Explanation of symbols .................................................................................................................................................. 68
Proper use ..................................................................................................................................................................... 68
General information ....................................................................................................................................................... 68
Power supply ................................................................................................................................................................. 68
Overloading / overvoltage .............................................................................................................................................. 69
Cables ............................................................................................................................................................................ 69
Installation location / operating environment ................................................................................................................. 69
Remote control ............................................................................................................................................................... 69
Care and maintenance ................................................................................................................................................... 70
Accessories .................................................................................................................................................................... 70
Putting into operation ..................................................................................................................................................... 70
Children and the device ................................................................................................................................................. 70
Introduction .................................................................................................................................................................... 71
General information ....................................................................................................................................................... 71
Unpacking the device ..................................................................................................................................................... 71
Scope of delivery ........................................................................................................................................................... 71
On-screen keyboard ...................................................................................................................................................... 72
Starting the device ......................................................................................................................................................... 72
Switching off, locking and rebooting the device ............................................................................................................. 72
Status displays ............................................................................................................................................................... 73
General information ....................................................................................................................................................... 73
Display on the monitor ................................................................................................................................................... 73
Setup wizard ................................................................................................................................................................... 74
Setting up the system .................................................................................................................................................... 74
Setting up the administrator ........................................................................................................................................... 74
Time / Date .................................................................................................................................................................... 74
Network Settings ............................................................................................................................................................ 75
HDD Management ......................................................................................................................................................... 75
356

Содержание
Обзор устройства ...................................................................................................................................................... 353
Системное управление ............................................................................................................................................. 354
Общие положения ...................................................................................................................................................... 354
Разъемы с обратной стороны ................................................................................................................................... 354
Bedienung mit der Maus .............................................................................................................................................. 355
Краткая инструкция ................................................................................................................................................... 360
Перед первым использованием ............................................................................................................................... 360
Установка жесткого диска ......................................................................................................................................... 360
Подключение .............................................................................................................................................................. 360
Конфигурация прибора .............................................................................................................................................. 360
Важные указания по технике безопасности ......................................................................................................... 361
Описание символов ................................................................................................................................................... 361
Применение по назначению ...................................................................................................................................... 361
Общие положения ...................................................................................................................................................... 361
Электропитание.......................................................................................................................................................... 361
Перегрузка/Перенапряжение .................................................................................................................................... 362
Кабель ......................................................................................................................................................................... 362
Место установки/условия эксплуатации .................................................................................................................. 362
Техническое обслуживание и уход ........................................................................................................................... 363
Ввод в эксплуатацию ................................................................................................................................................. 363
Дети ............................................................................................................................................................................. 363
Введение ...................................................................................................................................................................... 364
Общая информация ................................................................................................................................................... 364
Распаковка .................................................................................................................................................................. 364
Объем поставки .......................................................................................................................................................... 364
Клавиатура монитора ................................................................................................................................................ 365
Включение прибора ................................................................................................................................................... 365
Выключение, блокировка, перезагрузка прибора ................................................................................................... 365
Отражение статуса ..................................................................................................................................................... 366
Общие положения ...................................................................................................................................................... 366
Индикация на мониторе ............................................................................................................................................. 366
Настройка системы .................................................................................................................................................... 367
Настройка Администратора ...................................................................................................................................... 367
Системное время и дата ........................................................................................................................................... 367
Настройки сети ........................................................................................................................................................... 368
Управление жестким диском ..................................................................................................................................... 368
Запись камеры ............................................................................................................................................................ 368
Отображение ............................................................................................................................................................... 369
Обзор ........................................................................................................................................................................... 369
Символы состояния ................................................................................................................................................... 369
Всплывающее меню при управлении мышью ......................................................................................................... 369
Вкладка выбора в изображении камеры .................................................................................................................. 370
357

Содержание
Настройки ................................................................................................................................................................... 371
Настройка выхода камеры ........................................................................................................................................ 371
Воспроизведение в режиме Отображения ........................................................................................................... 372
Общие положения ...................................................................................................................................................... 372
Экран Воспроизведения ........................................................................................................................................... 372
Управление с помощью панели управления .......................................................................................................... 372
Меню прибора ............................................................................................................................................................. 374
Обзор меню ................................................................................................................................................................ 374
Описание меню .......................................................................................................................................................... 374
Настройки .................................................................................................................................................................... 375
Описание меню .......................................................................................................................................................... 375
Конфигурация ............................................................................................................................................................. 376
Обзор .......................................................................................................................................................................... 376
Основные настройки ................................................................................................................................................. 376
Понятия ...................................................................................................................................................................... 377
Стуктура сети ............................................................................................................................................................. 378
Конфигурация сети .................................................................................................................................................... 378
Предупреждение ........................................................................................................................................................ 382
Пользователь ............................................................................................................................................................. 382
OSD ............................................................................................................................................................................. 384
PTZ .............................................................................................................................................................................. 384
Движение .................................................................................................................................................................... 384
Действие ..................................................................................................................................................................... 384
Личная зона ................................................................................................................................................................ 385
Контроль саботажа .................................................................................................................................................... 386
Потеря видео .............................................................................................................................................................. 387
Настройка ................................................................................................................................................................... 388
Расписание ................................................................................................................................................................. 388
Запись TAB ................................................................................................................................................................. 389
Вкладка Захват TAB ................................................................................................................................................... 389
Дополнительные установки ...................................................................................................................................... 390
Меню «Отпуск» .......................................................................................................................................................... 390
Жесткие диски ............................................................................................................................................................ 391
Установка жесткого диска ......................................................................................................................................... 391
Параметры управления жестким диском ................................................................................................................ 391
Настройка жестких дисков камер.............................................................................................................................. 392
S.M.A.R.T..................................................................................................................................................................... 392
Проверка состояния жесткого диска ........................................................................................................................ 392
Запись ......................................................................................................................................................................... 393
Продолжительность ................................................................................................................................................... 394
Событие ...................................................................................................................................................................... 394
Резерв. Копия .............................................................................................................................................................. 395
Продолжительность ................................................................................................................................................... 395
Событие (тип события «тревожный вход») ............................................................................................................. 396
Техническое обслуживание ..................................................................................................................................... 397
Сведения о системе ................................................................................................................................................... 397
Протокол Поиск .......................................................................................................................................................... 397
Импорт/ экспорт .......................................................................................................................................................... 398
Обновление ................................................................................................................................................................ 399
Сеть ............................................................................................................................................................................. 399
Завершение работы ................................................................................................................................................... 401
Индикация .................................................................................................................................................................. 401
358

Содержание
Настройки: Запись ..................................................................................................................................................... 401
Настройки: Сеть ......................................................................................................................................................... 401
Настройки: Сигнализация ......................................................................................................................................... 401
Устранение неисправностей .................................................................................................................................... 402
Очистка устройства и уход ...................................................................................................................................... 402
Указание ...................................................................................................................................................................... 402
Технические характеристики ................................................................................................................................... 403
Утилизация .................................................................................................................................................................. 404
Ссылка на директиву ЕС по утилизации старого электрического и электронного оборудования. .................... 404
Ссылка на директиву ЕС RoHS ................................................................................................................................. 404
Глоссарий .................................................................................................................................................................... 405
Используемые термины ............................................................................................................................................ 405
О внутреннем жестком диске .................................................................................................................................. 407
359

Краткая инструкция
Краткая инструкция
Перед первым использованием
До начала эксплуатации необходимо провести
следующую подготовку:
1. Следуйте общим положениям, указаниям по
технике безопасности, инструкциям по установке
и подключению.
2. Проверьте содержание упаковки на полноту
комплектации и наличие повреждений.
3. Вставьте батареи в пульт управления.
360
Указание
Следуйте указаниям в отдельной краткой
инструкции.
Установка жесткого диска
Предупреждение
Выключите прибор и изолируйте его от
электросети!
Учтите необходимое заземление для
избежания статического разряжения.
1. Установите один или несколько жестких дисков,
см. отдельную краткую инструкцию.
2. Сначала установите соединение с главной
платой (малый штекер).
3. Подсоедините кабель электропитания (большой
штекер, 5-проводной).
4. Проверьте штекерный разъем на
прочность/надежность подключения.
5. Закройте корпус.
Указание
Используйте исключительно жесткие диски,
разрешенные для видеозаписи и работы в
круглосуточном режиме 7 дней в неделю.
Подключение
Указание
Учтите минимальный радиус при прокладке
кабеля! Кабель не сгибать!
Конфигурация прибора
1. Соедините все датчики с тревожными входами.
2. Подключите монитор к VGA- или HDMI-разъему.
3. Подключите мышь к разъему USB
4. Создайте сетевое подключение, после этого
устройство запустится автоматически.
Указание
Следуйте указаниям в отдельной краткой
инструкции.
Выполните отдельные шаги «Помощника
Настроек», см. стр.16
Выполните конфигурацию следующих настроек в
данной последовательности:
Выбор языка пользовательского интерфейса
Настройки Администратора
Настройка времени (дата, время...)
Настройки сети
Управление жестким диском (установки и
т.д.)
Настройки записи
Указание
Ознакомьтесь с информацией на сайте
ABUS (www.abus.com) о наличии
последнихобновлений встроенного
программного обеспечения для данного
прибора и установите их.
Указание
Последующее изменение даты или времени
может привести к потере данных!

