Levenhuk Vegas 10x52 Binoculars: instruction
Class: Optics
Type:
Manual for Levenhuk Vegas 10x52 Binoculars

Levenhuk Vegas Binoculars
User Manual
Návod k použití
Bedienungsanleitung
Instrukcja obsługi
Инструкция по эксплуатации
Посібник користувача
Radost zaostřit
Mit Vergnügen näher dran!
Radość przybliżania
Приближает с удовольствием
Наближує з радістю


Levenhuk Vegas binoculars
EN
Caution:
Never look directly at the Sun through these binoculars, as this may
cause permanent eye damage and even blindness.
Waterproof binoculars
Waterproof binoculars may be used in any weather conditions as they
resist water, moisture and snow.
How to adjust interpupillary distance
The distance between the eyes is called “interpupillary distance”. It var-
ies from person to person. To achieve perfect alignment of lens to your
eyes, follow these simple steps:
• Hold your binoculars in the normal viewing position.
• Grasp each barrel rmly. Move the barrels closer together or further
apart until you see a single circular eld. Always reset your binoculars to
this position before using. Most binoculars have a graduated area at the
top of the centre hinge for reference in subsequent use in setting interpu-
pillary distance.
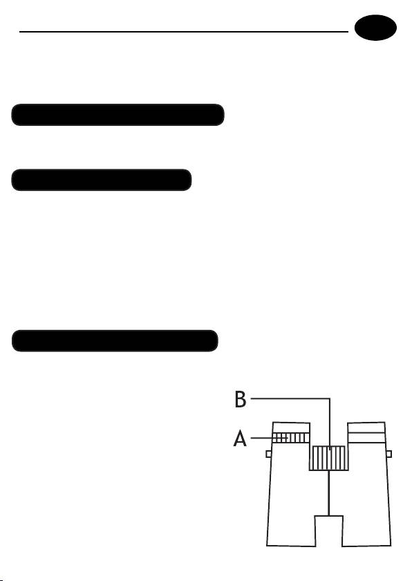
Diopter setting and central focusing
• Adjust the diopter scale on the right
eyepiece to “0”. Look through the
binoculars at an object about 50 meters
away.
• Shut the right barrel of the binoculars
from the front end and turn the central
focusing wheel (B) until you get the
sharp image in the left eyepiece.
• Keep both eyes open during this
procedure.

EN
• Now shut the left barrel and turn the right eyepiece until the image
becomes sharp again.
• Now the binoculars are correctly adjusted according to your vision. You
can vary the focus using the centre focusing wheel and both eyes will
always remain in focus. Make note of the diopter adjustment on the right
side, for future use.
Twist-up eyecups
Unlike the regular fold-down eyecups, twist-up eyecups may be used by
anyone, as they can be easily adjusted for observations with or with-
out eyeglasses. The eyecups can be xed at any length. By rotating the
oculars, you can extend them if you are not wearing eyeglasses, which
will bring your eyes closer to the lens, thus providing an improved eld of
view.
Cleaning
1. Blow away any dust or debris on the lens (or use a soft lens brush).
2. To remove dirt or ngerprints, clean the lens with a soft cotton cloth
gently rubbing in a circular motion. Use of a coarse cloth or unnecessary
rubbing may scratch the lens surface or coating and eventually cause
permanent damage to the binoculars.
3. To thoroughly clean your binoculars you may use a photographic type
lens cleaning uid. Always apply the uid to the cleaning cloth, never
directly onto the lens.
Important! Never try to disassemble the binoculars and clean it from
inside.
International Warranty
All Levenhuk telescopes, cameras for telescopes, microscopes and binoculars
are warranted to be free of defects in materials and workmanship for three years
from date of retail purchase. All Levenhuk accessories are warranted to be free of
defects in materials and workmanship for six months from date of retail purchase.
All Levenhuk accessories are warranted to be free of defects in materials and
workmanship for six months from date of retail purchase.

EN
Levenhuk will repair or replace such product or part thereof which, upon inspection
by Levenhuk, is found to be defective in materials or workmanship. As a condition to
the obligation of Levenhuk to repair or replace such product, the product must be
returned to Levenhuk together with proof of purchase satisfactory to Levenhuk.
A Return Authorization (RA) Number must be obtained in advance of return. Contact
the local Levenhuk branch to receive the RA number to be displayed on the outside
of your shipping container. All returns must be accompanied by a written statement
setting forth the name, address and telephone number of the owner, including a
description of any claimed defects. Parts or products for which replacement is made
will become the property of Levenhuk.
The customer will be responsible for all costs of transportation and insurance to and
from Levenhuk or its authorized dealers and will be required to prepay such costs.
Levenhuk will use reasonable efforts to repair or replace any product covered by this
warranty within thirty days of receipt. If a repair or replacement will require more
than thirty days, Levenhuk will notify the customer accordingly. Levenhuk reserves
the right to replace any product that has been discontinued from its product line
with a new product of comparable value and function.
This warranty does not apply to any defects or damages resulting from alteration,
modication, neglect, misuse, usage of improper power sources, damage in
transportation, abuse, or any cause other than normal use, or to malfunction or
deterioration due to normal wear.
Levenhuk disclaims all warranties, express or implied, whether of merchantability or
tness for a particular use, except as expressly set forth herein. The sole obligation
of Levenhuk under this limited warranty will be to repair or replace the covered
product, in accordance with the terms set forth herein. Levenhuk disclaims liability
for any loss of prots, loss of information, or for any general, special, direct,
indirect or consequential damages which may result from breach of any warranty, or
arising out of the use or inability to use any Levenhuk product.
Any warranties which are implied and which cannot be disclaimed will be limited
in duration to a term of three years for telescopes, cameras for telescopes,
microscopes and binoculars or six months for accessories from the date of retail
purchase.
Some states/provinces do not allow the exclusion or limitation of incidental or
consequential damages, so the above limitations and exclusions may not apply to
you. This warranty gives you specic legal rights, and you may have other rights
which vary from state to state or province to province.
Levenhuk reserves the right to modify or discontinue any product without prior
notice.

EN
NOTE: This warranty is valid to USA and Canadian customers who have purchased this
product from an authorized Levenhuk dealer in the USA or Canada. Warranty outside
the USA or Canada is valid only to customers who purchased from an authorized
Levenhuk dealer in the specic country or international distributor. Please contact
them for any warranty service.
If warranty problems arise, or if you need assistance in using your product, contact
the local Levenhuk branch:
Levenhuk Worldwide:
USA: www.levenhuk.com
Canada: www.levenhuk.ca
Czech Republic: www.levenhuk.cz
Poland: www.levenhukoptics.pl
Russia: www.levenhuk.ru
Ukraine: www.levenhuk.com.ua
EU: www.levenhuk.eu
Purchase date _____________________Signature _________________________ Stamp

Binokulární dalekohled Levenhuk Vegas
CZ
Upozornění:
Tímto binokulárním dalekohledem se nikdy nedívejte přímo do slunce,
neboť hrozí nebezpečí trvalého poškození zraku či přímo oslepnutí.
Vodotěsný binokulární dalekohled
Vodotěsný binokulární dalekohled lze používat v libovolných
povětrnostních podmínkách, neboť odolává vodě, vlhkosti i sněhu.
Nastavení očního rozestupu
Vzdálenost mezi očními zorničkami se nazývá „oční rozestup“. U každého
člověka je jiná. Pro dokonalé sladění polohy čoček a očí dodržujte tyto
jednoduché pokyny:
• Držte dalekohled v normální pozorovací poloze.
• Pevně uchopte tubusy dalekohledu. Vzájemně je přibližujte nebo
oddalujte, až se vám zobrazí jediné kruhové pole. Postup opakujte před
každým použitím dalekohledu. Většina dalekohledů má na středovém
kloubu stupnici, s jejíž pomocí oční rozestup snadno nastavíte.
Dioptrická korekce a zaostřování
• Nastavte točítko dioptrické korekce
na pravém okuláru na „0“. Podívejte se
dalekohledem na objekt vzdálený asi 50
metrů.
• Zakryjte pravý objektiv a otáčejte
středovým točítkem ostření (B), dokud
obraz v levém okuláru není náležitě
ostrý.
• Mějte přitom obě oči otevřené.
• Poté zakryjte levý objektiv a otáčejte
pravým okulárem, dokud nezískáte
ostrý obraz.

CZ
• Nyní je dalekohled správně nastaven pro váš zrak. Pomocí středového
točítka můžete zaostření měnit, vaše oči tak vždy budou mít ostrý obraz.
Poznamenejte si nastavení dioptrií na pravé straně pro pozdější použití.
Twist-up očnice
Na rozdíl od klasických sklopných očnic může Twist-up očnice používat
kdokoli, neboť je lze snadno nastavit na pozorování s brýlemi i bez nich.
Tyto očnice lze zaxovat v jakékoli vzdálenosti. Nenosíte-li brýle, můžete
je otáčením okuláry rozšířit, díky čemuž se vaše oči přiblíží k čočkám a
získáte kvalitnější zorné pole.
Čištění
1. Prach nebo nečistoty z čoček sfoukněte (nebo setřete měkkým
štětcem).
2. Znečištění nebo otisky prstů jemně odstraňte krouživým pohybem
měkkým bavlněným hadříkem. Hrubým materiálem nebo silným drhnutím
můžete poškrábat povrch čoček nebo antireexní vrstvu a způsobit trvalé
poškození dalekohledu.
3. Pro důkladné čištění dalekohledu použijte speciální čisticí roztok na
fotogracké čočky. Roztok vždy nanášejte na hadřík, nikdy ne přímo na
povrch čočky.
Důležité upozornění! Nikdy nezkoušejte dalekohled rozebrat a čistit
zevnitř.
Mezinárodní záruka
Na veškeré teleskopy, fotoaparáty k teleskopům, mikroskopy a triedry značky
Levenhuk se poskytuje záruka toho, že jsou dodávány bez jakýchkoli vad materiálu
a provedení, a to po dobu tří let od data zakoupení v maloobchodní prodejně. Na
veškeré příslušenství značky.
Levenhuk se poskytuje záruka toho, že je dodáváno bez jakýchkoli vad materiálu a
provedení, a to po dobu dvou let od data zakoupení v maloobchodní prodejně.
Společnost Levenhuk provede opravu či výměnu výrobku nebo jeho části, u nichž
se po provedení kontroly společností Levenhuk prokáže výskyt vad materiálu nebo
provedení. Nezbytnou podmínkou toho, aby společnost Levenhuk splnila svůj závazek

CZ
provést opravu nebo výměnu takového výrobku, je předání výrobku společně s
dokladem o nákupu vystaveným ve formě uspokojivé pro Levenhuk.
Tato záruka se nevztahuje na spotřební součásti, jako jsou například baterie.
Ke všem vráceným výrobkům musí být přiloženo písemné prohlášení, na němž bude
uvedeno jméno, adresa a telefonní číslo majitele výrobku, včetně popisu veškerých
reklamovaných závad. Součásti nebo výrobky, za něž bude poskytnuta výměna, se
stávají majetkem společnosti Levenhuk.
Zákazník je povinen přede m uhradit veškeré náklady na dopravu a pojištění do
společnosti Levenhuk, případně k jejím autorizovaným dealerům, a zpět.
Společnost Levenhuk vyvine přiměřené úsilí k tomu, aby výrobek, na nějž se vztahuje
tato záruka, opravila nebo vyměnila do 30 dnů od jeho obdržení. V případě, že
bude oprava nebo výměna trvat déle než 30 dní, bude o tom společnost Levenhuk
zákazníka informovat. Společnost Levenhuk si vyhrazuje právo jakýkoli výrobek,
jehož výroba byla zastavena, nahradit novým výrobkem srovnatelné hodnoty a
funkce.
Tato záruka se nevztahuje na závady nebo poškození vyplývající z pozměňování,
úprav, nedbalosti, nesprávného použití, použití nevhodných zdrojů napájení,
poškození při dopravě, nedodržení pokynů, případně z jakékoliv jiné příčiny mimo
rozsah běžného užívání, nebo z důvodu poruchy či zhoršení funkčnosti v důsledku
běžného opotřebení.
Společnost Levenhuk odmítá jakékoliv jiné záruky, výslovně uvedené i mlčky
předpokládané, týkající se obchodovatelnosti nebo vhodnosti pro konkrétní účel,
kromě těch, jež jsou výslovně uvedeny v této omezené záruce. Jediným závazkem
společnosti Levenhuk v rámci této omezené záruky bude provedení opravy nebo
výměny výrobku, na který se tato záruka vztahuje, a to v souladu s podmínkami v ní
uvedenými. Společnost Levenhuk nepřebírá odpovědnost za žádné ušlé zisky, ztrátu
informací, ani za žádné všeobecné, speciální, přímé, nepřímé či následné škody, jež
mohou vyplynout z porušení jakékoliv záruky, případně nastat v důsledku užívání
nebo nemožnosti použití jakéhokoliv výrobku značky Levenhuk.
Veškeré mlčky předpokládané záruky, jež nelze vyloučit, budou časově omezeny na
období tří let v případě teleskopů, fotoaparátů k teleskopům, mikroskopů a triedrů,
nebo dvou let v případě příslušenství, a to vždy od data zakoupení v maloobchodní
prodejně.
Společnost Levenhuk si vyhrazuje právo provádět bez předchozího upozornění úpravy
jakéhokoliv výrobku, případně zastavit jeho výrobu.

CZ
Záruka mimo území USA nebo Kanady platí pouze pro zákazníky, kteří provedli
nákup u autorizovaného dealera společnosti Levenhuk v příslušné zemi nebo od
mezinárodního distributora. S veškerými záručními opravami se obracejte na tyto
subjekty.
V případě problémů s uplatněním záruky, nebo pokud budete potřebovat pomoc při
používání svého výrobku, obraťte se na místní pobočku společnosti Levenhuk:
Levenhuk ve světě:
USA: www.levenhuk.com
Kanada: www.levenhuk.ca
Česká republika: www.levenhuk.cz
Polsko: www.levenhukoptics.pl
Rusko: www.levenhuk.ru
Ukrajina: www.levenhuk.com.ua
EU: www.levenhuk.eu
Datum nákupu ____________________Podpis ___________________________ Razítko

Levenhuk Vegas Fernglas
DE
Vorsicht:
Schauen Sie mit dem Fernglas nie direkt in die Sonne.
Erblindungsgefahr!
Wasserdichtes Fernglas
Das wasserdichte Fernglas kann bei jedem Wetter benutzt werden, da es
gegen das Eindringen von Wasser, Feuchtigkeit und Schnee geschützt ist.
Einstellen des Augenabstands
Der Augenabstand – auch „Interpupillardistanz“ genannt – variiert
von Person von Person. So erreichen Sie ganz einfach ein perfektes
Zusammenspiel zwischen Ihren Augen und den Linsen:
• Halten Sie das Fernglas in normaler Betrachterposition vor Ihre Augen.
• Umfassen Sie beide Tuben fest und verändern Sie ihren Abstand durch
Zusammen- oder Auseinanderschieben so, dass Sie nur noch ein rundes
Sehfeld erhalten. Stellen Sie das Fernglas vor jeder Benutzung in diese
Position zurück. Die meisten Ferngläser sind oben am zentralen Scharnier
mit einer Skala ausgestattet, die als Referenz zum wiederholten Einstellen
des Augenabstands benutzt werden kann.
Dioptrien- und Scharfeinstellung
• Stellen Sie die Dioptrienskala am
rechten Okular auf „0“ ein. Richten Sie
das Fernglas auf ein ca. 50 m entferntes
Objekt.
• Decken Sie den rechten Tubus des
Fernglases von vorne ab und drehen
Sie am zentralen Scharfstellrad (B), bis
Sie im linken Okular ein scharfes Bild
erhalten.
• Halten Sie währenddessen beide Augen
geöffnet.

DE
• Decken Sie jetzt den linken Tubus ab und drehen Sie am rechten Okular,
bis das Bild wieder scharf ist.
• Ihr Fernglas ist jetzt optimal an Ihr Sehvermögen angepasst. Sie
können ab jetzt durch Drehen am zentralen Scharfstellrad Objekte
in unterschiedlicher Entfernung fokussieren, wobei beide Augen stets
im Brennpunkt bleiben. Notieren Sie sich für die weitere Arbeit die
Dioptrieneinstellung am rechten Okular.
Drehaugenmuscheln
Anders als gewöhnliche Faltaugenmuscheln können Drehaugenmuscheln
von jedermann benutzt werden, da sie sich leicht für Beobachtungen mit
oder ohne Brille anpassen lassen. Die Augenmuscheln lassen sich bei jeder
Länge xieren. Durch Drehen der Okulare können Sie sie verlängern, wenn
Sie keine Brille tragen, wodurch Ihre Augen näher an die Linse gelangen
und sich Ihnen so ein besseres Sichtfeld bietet.
Reinigung
1. Staub oder Verunreinigungen auf der Linse wegblasen (oder verwenden
Sie einen weichen Objektivpinsel).
2. Bei Schmutz oder Fingerabdrücken wischen Sie die Linse mit einem
weichen Baumwolltuch vorsichtig in kreisenden Bewegungen ab. Raue
Tücher oder unnötiges Reiben können Kratzer in der Linsenoberäche oder
ihrer Beschichtung verursachen und das Fernglas dauerhaft beschädigen.
3. Zur gründlichen Reinigung des Fernglases können Sie eine Optik-
Reinigungsüssigkeit verwenden. Geben Sie die Flüssigkeit immer auf das
Reinigungstuch, nie direkt auf die Linse.
Wichtig! Das Fernglas nicht auseinanderbauen und nicht von innen reini-
gen!

DE
Internationale Garantie
Für alle Teleskope, Teleskopkameras, Mikroskope und Ferngläser von Levenhuk
gewährleistet Levenhuk innerhalb von drei Jahren ab Kaufdatum die Freiheit von
Material- und Herstellungsfehlern. Für Levenhuk-Zubehör gewährleistet Levenhuk
die Freiheit von Material- und Herstellungsfehlern innerhalb von zwei Jahren ab
Kaufdatum. Produkte oder Teile davon, bei denen im Rahmen einer Prüfung durch
Levenhuk ein Material- oder Herstellungsfehler festgestellt wird, werden von
Levenhuk repariert oder ausgetauscht. Voraussetzung für die Verpichtung von
Levenhuk zu Reparatur oder Austausch eines Produkts ist, dass dieses zusammen mit
einem für Levenhuk ausreichenden Kaufbeleg an Levenhuk zurückgesendet wird.
Diese Garantie erstreckt sich nicht auf Verbrauchsteile wie Batterien.
Bevor Sie eine Rücksendung vornehmen, müssen Sie eine RA-Nummer
(Rücksendeberechtigungsnummer) beantragen. Wenden Sie sich dazu an Ihre lokale
Levenhuk-Niederlassung. Die RA-Nummer muss außen auf der Versandverpackung
deutlich lesbar vermerkt werden. Legen Sie der Rücksendung ein Begleitschreiben
bei, aus dem Name, Anschrift und Telefonnummer des Besitzers hervorgehen und
das eine Beschreibung der Defekte enthält, die einen Garantieanspruch begründen
sollen. Ausgetauschte Teile oder Produkte gehen in den Besitz von Levenhuk über.
Der Kunde trägt alle Versand- und Versicherungskosten für den Versand an Levenhuk
oder einen autorisierten Levenhuk-Händler und für den Versand zurück zum Kunden
und muss für diese Kosten in Vorleistung gehen.
Levenhuk bemüht sich, jedes Produkt, für das Garantieansprüche bestehen,
innerhalb von 30 Tagen nach Erhalt zu reparieren oder auszutauschen. Wenn eine
Reparatur länger als 30 Tage dauert, setzt Levenhuk den Kunden hiervon in Kenntnis.
Levenhuk behält sich das Recht vor, ein Produkt, das nicht mehr im Sortiment ist,
durch ein neues Produkt mit vergleichbarem Wert und vergleichbaren Funktionen zu
ersetzen.
Diese Garantie gilt nicht für Defekte oder Schäden infolge von Veränderungen,
Modikationen, mangelnder Pege, unsachgemäßem Gebrauch, Verwendung
ungeeigneter Stromquellen, Transportschäden, Bedienungsfehlern oder anderen
Ursachen, die keine normale Verwendung darstellen, und sie gilt nicht für Versagen
oder Verschlechterungen aufgrund normalen Verschleißes.
Levenhuk schließt alle vorstehend nicht ausdrücklich dargelegten ausdrücklichen
oder stillschweigenden Gewährleistungen, Garantien oder Zusicherungen
einschließlich Gebrauchstauglichkeit oder Eignung für einen bestimmten Zweck aus.
Die einzige Verpichtung von Levenhuk im Rahmen dieser Herstellergarantie ist die
Reparatur oder der Austausch von Produkten, die unter die Garantie fallen, gemäß

DE
den vorstehend dargelegten Bestimmungen. Jedwede Haftung seitens Levenhuk für
ent-gangenen Gewinn, Datenverlust oder allgemeine, spezielle, direkte, indirekte
oder Folgeschäden aufgrund Verletzung einer Garantieverpichtung oder infolge
der Verwendung oder der Nichtverwendbarkeit eines Levenhuk-Produkts ist
ausgeschlossen. Stillschweigende Zusicherungen, die nicht ausgeschlossen werden
können, sind bei Teleskopen, Teleskopkameras, Mikroskopen und Ferngläsern auf
höchstens drei Jahre ab Kaufdatum und bei Zubehör auf höchstens zwei Jahre ab
Kaufdatum beschränkt.
Levenhuk behält sich das Recht vor, Produkte ohne vorherige Ankündigung zu
modizieren oder einzustellen.
Diese Garantie gilt außerhalb der USA und Kanadas nur für Kunden, die ihr Levenhuk-
Produkt bei einem autorisierten inländischen Levenhuk-Händler oder internationalen
Distributor erworben haben. Wenden Sie sich direkt an den Händler oder Distributor,
wenn Sie Garantieservice benötigen.
Bei Problemen mit der Garantie, oder wenn Sie Unterstützung bei der Verwendung
Ihres Produkts benötigen, wenden Sie sich an die lokale Levenhuk-Niederlassung:
Levenhuk weltweit:
USA: www.levenhuk.com
Kanada: www.levenhuk.ca
Tschechische Republik: www.levenhuk.cz
Polen: www.levenhukoptics.pl
Russland: www.levenhuk.ru
Ukraine: www.levenhuk.com.ua
EU: www.levenhuk.eu
Kaufdatum _________________________Unterschrift ____________________ Stempel

Lornetka Levenhuk Vegas
PL
Uwaga:
Nigdy nie należy spoglądać przez lornetkę ani gołym okiem
bezpośrednio na słońce! Może to doprowadzić do poważnego uszkodze-
nia lub utraty wzroku.
Lornetka wodoodporna
Dzięki odporności na wodę, wilgoć i śnieg lornetka wodoodporna może być
używana przy dowolnej pogodzie.
Regulacja rozstawu okularów
Odległość między środkiem jednego oka, a środkiem drugiego nazywana
jest „rozstawem źrenic”. U każdego człowieka rozstaw ten jest inny. W
celu prawidłowego ustawienia okularów lornetki należy:
• Ustawić lornetkę w standardowej pozycji obserwacyjnej.
• Mocno objąć każdy z tubusów lornetki. Zwiększać lub zmniejszać
odległość pomiędzy tubusami do momentu uzyskania pojedynczego
obrazu. Przed rozpoczęciem korzystania z lornetki należy zawsze ustawić
tubusy w tym położeniu. Większość lornetek, w górnej części środkowego
zawiasu, posiada stopniowany wskaźnik, ułatwiający ustawienie rozstawu
okularów przy kolejnym użyciu lornetki.
Korekcja dioptrii i ustawienie ostrości
• Ustawić stopień powiększenia prawego
okularu na „0”. Spojrzeć przez lornetkę
na obiekt znajdujący się w odległości
około 50 m.
• Zasłonić z przodu prawy okular
lornetki i obracać głównym pokrętłem
regulacji ostrości (B) do momentu uzys-
kania ostrego obrazu w lewym okularze.
• W trakcie tej czynności nie należy
zamykać oczu.

PL
• Następnie zasłonić lewy okular i obracać prawym okularem do ponow-
nego uzyskania ostrego obrazu.
• Teraz lornetka jest prawidłowo dostosowana do ostrości widzenia.
Ostrość można zmieniać za pomocą głównego pokrętła regulacji ostrości
– obraz dla obu oczu zawsze będzie ostry. Należy zanotować ustawienia
dioptrii wskazane na prawym okularze, aby je wykorzystać w przyszłości.
Muszle oczne typu Twist-up
Przeciwnie niż w przypadku standardowych składanych muszli ocznych,
każdy może korzystać z łatwych do regulacji muszli typu Twist-up
bez względu na to, czy nosi okulary, czy też nie. Muszle oczne można
regulować na dowolną długość. Osoby niekorzystające z okularów korek-
cyjnych mogą wydłużyć okular, obracając nim, dzięki czemu oczy znajdą
się bliżej soczewek, co polepszy pole widzenia.
Czyszczenie
1. Zdmuchnąć wszelkie zanieczyszczenia i pył z soczewek (lub użyć
miękkiej szczotki do soczewek).
2. W celu usunięcia zabrudzeń lub odcisków palców oczyścić soczewki
miękką ściereczką bawełnianą, delikatnie pocierając je kolistym ruchem.
Użycie ostrej ściereczki lub zbyt mocne pocieranie może uszkodzić
powierzchnię lub powłokę soczewek, doprowadzając do trwałego usz-
kodzenia lornetki.
3. Do dokładnego oczyszczenia lornetki można użyć płynu czyszczącego
do soczewek fotogracznych. Płyn należy nakładać na czystą ściereczkę,
nigdy bezpośrednio na soczewkę.
Ważne! Zabrania się rozkładania lornetki i czyszczenia jej od środka.
Gwarancja międzynarodowa
Wszystkie teleskopy, aparaty fotograczne do użytku z teleskopami, mikroskopy
i lornetki Levenhuk są wolne od wad materiałowych i wykonawczych i pozostaną
takie przez trzy lata od daty zakupu detalicznego. Wszystkie akcesoria Levenhuk
są wolne od wad materiałowych i wykonawczych i pozostaną takie przez trzy lata od
daty zakupu detalicznego.

PL
Wszystkie akcesoria Levenhuk są wolne od wad materiałowych i wykonawczych
i pozostaną takie przez dwa lata od daty zakupu detalicznego. Firma Levenhuk
naprawi lub wymieni produkty lub ich części, w przypadku których kontrola
prowadzona przez Levenhuk wykaże obecność wad materiałowych lub
wykonawczych. Warunkiem wywiązania się przez rmę Levenhuk z obowiązku
naprawy lub wymiany produktu jest dostarczenie danego produktu rmie razem z
dowodem zakupu uznawanym przez Levenhuk.
Niniejsza gwarancja nie obejmuje części eksploatacyjnych, np. baterii.
Przed dokonaniem zwrotu produktu należy uzyskać numer zwrotu (RA – Return
Authorization). W celu uzyskania numeru zwrotu (RA), który należy umieścić na
zewnętrznej części opakowania używanego podczas wysyłki, należy skontaktować
się z lokalnym przedstawicielem rmy Levenhuk. Do wszystkich zwrotów należy
dołączyć pisemne oświadczenie zawierające imię i nazwisko, adres i numer telefonu
właściciela produktu oraz opis wad, z tytułu których dokonywany jest zwrot. Części
lub produkty, które zostaną wymienione, stają się własnością rmy Levenhuk.
Klient ponosi wszelkie koszty transportu do i z siedziby rmy Levenhuk lub jej
autoryzowanego sprzedawcy oraz związane z tym koszty ubezpieczenia. Klient ma
obowiązek pokryć te koszty z wyprzedzeniem.
Levenhuk dołoży wszelkich starań, aby procedura naprawy lub wymiany produktu
podlegającego niniejszej gwarancji została zakończona w ciągu trzydziestu dni od
daty otrzymania produktu. Jeśli naprawa lub wymiana potrwa więcej niż trzydzieści
dni, rma Levenhuk powiadomi o tym klienta. Levenhuk zastrzega sobie prawo do
zastąpienia produktu wycofanego z produkcji nowym produktem o zbliżonej wartości
i funkcji.
Niniejsza gwarancja nie obejmuje wad i uszkodzeń wynikających z wprowadzenia
zmian, modykacji, zaniedbania, nieprawidłowego korzystania, użycia
nieodpowiednich źródeł zasilania, uszkodzeń powstałych w wyniku transportu,
nadużycia lub innych przyczyn związanych z użytkowaniem produktu niezgodnie z
zaleceniami bądź z nieprawidłowego działania lub spadku jakości wynikającego ze
zużycia produktu.
Levenhuk nie udziela gwarancji, wyraźnej ani dorozumianej, w zakresie przydatności
handlowej lub przydatności do określonego celu, za wyjątkiem wszelkich gwarancji
określonych w niniejszym dokumencie. Jedynym obowiązkiem rmy Levenhuk w
związku z niniejszą ograniczoną gwarancją jest naprawa lub wymiana objętego
nią produktu zgodnie z zasadami określonymi w niniejszym dokumencie. Levenhuk
nie ponosi odpowiedzialności za jakiekolwiek straty zysków, straty informacji lub
inne szkody ogólne lub specjalne, pośrednie, bezpośrednie lub wynikowe powstałe
wskutek naruszenia warunków jakiejkolwiek umowy gwarancyjnej bądź z użycia
lub niemożliwości użycia jakiegokolwiek produktu Levenhuk. Wszelkie dorozumiane
gwarancje, w przypadku których rma Levenhuk nie może zrzec się

PL
odpowiedzialności, obowiązują przez okres trzech lat w przypadku teleskopów,
aparatów fotogracznych do użytku z teleskopami, mikroskopów i lornetek lub okres
dwóch lat w przypadku akcesoriów, licząc od daty zakupu detalicznego.
Levenhuk zastrzega sobie prawo do modykowania lub zakończenia produkcji
dowolnego produktu bez wcześniejszego powiadomienia.
Poza granicami USA i Kanady gwarancja obowiązuje tylko w stosunku do klientów,
którzy zakupili produkt od autoryzowanego sprzedawcy Levenhuk w danym kraju lub
od dystrybutora międzynarodowego. W kwestiach związanych z obsługą gwarancyjną
należy kontaktować się z powyższymi podmiotami.
W przypadku wątpliwości związanych z gwarancją lub korzystaniem z produktu,
proszę skontaktować się z lokalnym przedstawicielem Levenhuk:
Przedstawiciele Levenhuk na całym świecie:
USA: www.levenhuk.com
Kanada: www.levenhuk.ca
Czechy: www.levenhuk.cz
Polska: www.levenhukoptics.pl
Rosja: www.levenhuk.ru
Ukraina: www.levenhuk.com.ua
UE: www.levenhuk.eu
Data zakupu _______________________Podpis __________________________ Pieczęć

Бинокли Levenhuk Vegas
RU
ВНИМАНИЕ:
Не смотрите в бинокль на Солнце! Это может привести к необратимым
повреждениям зрения.
Водонепроницаемый бинокль
Водонепроницаемые бинокли можно использовать в любую погоду.
Они защищены от воды, влаги и снега.
Регулировка межзрачкового расстояния
Расстояние между глазами, так называемое “межзрачковое
расстояние”, у всех разное. Для индивидуальной настройки бинокля
выполните простые шаги:
• Держите бинокль в нормальном положении наблюдения.
• Крепко возьмитесь за его трубки. Сводите и разводите трубки,
пока не увидите одно круглое поле. Перед использованием бинокля
всегда ставьте его в это положение. У большинства биноклей
сверху центральной перемычки есть градуировка, которой можно
пользоваться при настройке межзрачкового расстояния.
Центральная фокусировка и выставление диоптрий
• Установите правый окуляр (А)
на ноль и смотрите на удаленный
объект.
• Прикройте правый объектив спереди
рукой, затем поверните центральное
колесо фокусировки (B) так, чтобы
изображение в левом окуляре стало
четким.
• Во время этой процедуры оба глаза
должны быть открыты.

RU
объектив спереди рукой, затем поверните правый окуляр так, чтобы
изображение опять стало четким.
• Теперь изображение сфокусировано в соответствии с Вашим
зрением. Запомните или запишите установку диоптрий, чтобы можно
было пользоваться ей впоследствии.
Поворотные удлиняемые наглазники
В отличие от традиционных складных и откидывающихся наглазников,
поворотные удлиняемые наглазники предназначены для любых
пользователей, могут быть легко отрегулированы для наблюдения
в очках или без очков. Можно зафиксировать наглазники на любой
длине. Если вы не носите очки, можно удлинить окуляры, повернув
их. В результате ваши глаза будут ближе к линзе объектива, и поле
зрения улучшится.
Чистка
1. Сдуйте с объектива пыль или смахните ее мягкой щеточкой для
линз.
2. Для удаления грязи и отпечатков пальцев протирайте объектив
мягкой хлопчатобумажной тканью, аккуратными движениями по кругу.
Грубая ткань или излишнее усилие могут поцарапать поверхность или
повредить просветление линзы объектива и вызвать ее необратимые
повреждения.
3. Для более тщательной чистки можно применить очищающую
жидкость для фотолинз. Всегда наливайте эту жидкость на ткань, а не
на саму линзу.
Важно! Никогда не пытайтесь разбирать бинокль и чистить его
изнутри.
• Прикройте левый
Международная гарантия
Продавец гарантирует соответствие качества приобретенного вами изделия ком-
пании Levenhuk требованиям технической документации при соблюдении потре-
бителем условий и правил транспортировки, хранения и эксплуатации изделия.

RU
Компания Levenhuk гарантирует отсутствие дефектов в материалах конструкции.
В течение гарантийного периода покупатель может вернуть неисправное изделие
продавцу либо в Сервисный центр компании Levenhuk. Компания Levenhuk по
своему усмотрению отремонтирует или бесплатно заменит неисправное изделие.
Претензии по качеству изделия не принимаются при отсутствии правильно
оформленного гарантийного талона или при наличии исправлений в нем, а также
при непредъявлении данного неисправного изделия. Гарантия не распростра-
няется на случаи, когда, по мнению компании, изделие употреблялось не по
назначению, а также когда:
• изделие имеет механические повреждения, царапины, сколы, трещины и по-
вреждения оптики;
• изделие вышло из строя в результате ударов, сжатия, растяжения корпуса;
• изделие разбиралось или ремонтировалось лицом, не имеющим на то соот-
ветствующих полномочий.
Гарантия не распространяется на комплектующие с ограниченным сроком ис-
пользования, элементы питания и прочее.
Компания Levenhuk оставляет за собой право вносить любые изменения или пре-
кращать производство изделия без предварительного уведомления.
Срок гарантии: на аксессуары — 6 (шесть) месяцев со дня покупки, на остальные
изделия — 3 (три) года со дня покупки. Храните гарантийный талон вместе с
чеком.
По вопросам гарантийного обслуживания вы можете обратиться в ближайшее
представительство компании Levenhuk.
Представительства компании Levenhuk:
США: www.levenhuk.com
Канада: www.levenhuk.ca
Чехия: www.levenhuk.cz
Польша: www.levenhukoptics.pl
Россия: www.levenhuk.ru
Украина: www.levenhuk.com.ua
Европа: www.levenhuk.eu
Дата продажи ____________________Подпись _________________________ Печать

Бінокль Levenhuk Vegas
UA
Попередження:
Ніколи не дивіться прямо на Сонце через бінокль, оскільки це може
призвести до незворотного пошкодження очей або навіть сліпоти.
Водонепроникний бінокль
Водонепроникні біноклі можна використовувати в любу погоду. Вони
захищені від води, вологи і снігу.
Регулювання відстані між очима
Відстань між очами, так звана «міжзінична відстань», у всіх різна. Для
індивідуального налаштування бінокля виконайте прості кроки:
• Тримайте бінокль в нормальному положенні спостереження.
• Міцно візьміться за його трубки. Зводьте і розводьте трубки, доки
не побачите одно кругле поле. Перед використанням бінокля завжди
ставте його в це положення. В більшості біноклів зверху центральної
перемички є градуювання, яким можна користуватися протягом
налаштування між зіничної відстані.
Центральне фокусування і виставлення діоптрій
• Встановіть правий окуляр (А) на нуль і дивіться на віддалений об’єкт.
• Прикрийте правий об’єктив спереду
рукою, потім поверніть центральне
колесо фокусування (B) таким чином,
щоб зображення в лівому окулярі
стало чітким.
• Протягом цієї процедури обидва ока
повинні бути відкриті.
• Прикрийте лівий об’єктив спереду
рукою, потім поверніть правий окуляр
таким чином, щоб зображення знову
стало чітким.

UA
Поворотні подовжувані наочники
На відміну від традиційний складних і відкидних наочників, поворотні
подовжувані наочники призначені для любих користувачів, можуть
легко регулюватися для спостереження в окулярах або без окулярів.
Можна зафіксувати наочники на любій довжині. Якщо ви не носите
окуляри, можна видовжити окуляри, повернувши їх. В результаті ваші
очі будуть ближче до лінзи об’єктива, і поле зору покращиться.
Чистка
1. Здуйте з об’єктива пил або змахніть його м’якою щіточкою для лінз.
2. Для видалення бруду і відбитків пальців протирайте об’єктив м’якою
бавовняною тканиною акуратними рухами по колу. Груба тканина або
надто сильне натискання можуть подряпати поверхню лінзи об’єктива і
викликати її незворотні пошкодження.
3. Для ретельнішої чистки можна застосовувати очисну рідину для
фотолінз. Завжди наливайте цю рідину на тканину, а не на саму лінзу.
Важливо! Ніколи не намагайтесь розбирати бінокль і чистити його
зсередини.
Міжнародна гарантія
Надається гарантія на відсутність дефектів матеріалів та конструкції всіх
телескопів, камер для телескопів, мікроскопів та біноклів компанії
Levenhuk впродовж трьох років від дати роздрібного продажу. Надається
гарантія на відсутність дефектів матеріалів та конструкції всіх аксесуарів
компанії Levenhuk впродовж шести місяців від дати роздрібного продажу.
Компанія Levenhuk відремонтує або замінить такий виріб або його частину, яка
після обстеження компанією Levenhuk виявиться з дефектним матеріалом або
конструкцією. В якості умови зобов’язання компанії Levenhuk для ремонту чи
заміни такого виробу його потрібно повернути в компанію Levenhuk разом із до-
казом покупки, що задовольняє компанію Levenhuk.
Така гарантія не покриває витратні матеріали, такі, як батареї.
Перед поверненням потрібно отримати Return Authorization (RA) Number
(Авторизаційний номер повернення). Сконтактуйтеся з місцевим відділенням

UA
Levenhuk, щоб отримати номер RA, який потрібно вказувати на зовнішній стороні
транспортної упаковки. Усі повернення повинні супроводжуватися письмовою
заявою, де вказується ім’я, адреса та телефонний номер власника, включно
з описом усіх заявлених дефектів. Частини чи вироби, для яких проводиться
заміна, стають власністю компанії Levenhuk.
Клієнт несе відповідальність за усі транспортні та страхові витрати для доставки
та повернення від компанії Levenhuk чи її уповноважених дилерів і повинен по-
передньо оплатити такі витрати.
Levenhuk докладе усіх можливих зусиль для ремонту чи заміни будь-якого
виробу, що покривається цією гарантією, в межах тридцяти днів з часу отри-
мання. Якщо ремонт чи заміна потребуватиме більше тридцяти днів, Levenhuk
повідомить про це клієнта належним чином. Levenhuk зберігає за собою
право замінити будь-який виріб, який перестав вироблятися, новим виробом
відповідної вартості та функціональності.
Дана гарантія не стосується будь-яких дефектів чи пошкоджень, спричинених
зміною, модифікацією, неуважністю, неправильним використанням, викори-
станням неналежних джерел живленням, пошкодженням при транспортуванні,
зловживанням, чи будь-якою причиною, крім правильного використання, та
несправної роботи чи погіршення роботи внаслідок нормального зношення.
Levenhuk відмовляється від усіх гарантій, явних чи непрямих, щодо товарного
вигляду чи відповідності особливому використанню, крім явно виражених у
цьому документі. Єдиним зобов’язанням компанії Levenhuk за цією обмеженою
гарантією є ремонт чи заміна покритого виробу згідно з термінами, вказаними у
цьому документі. Levenhuk відмовляється від відповідальності за будь-яку втрату
прибутків, втрату інформації, за будь-які загальні, особливі, прямі, непрямі чи
логічно випливаючих збитків, що можуть з’явитися через порушення гарантії, ви-
користання чи неможливість використання будь-якого виробу компанії Levenhuk.
Будь-які непрямі гарантії, від яких неможливо відмовитися, обмежуються
тривалістю на термін до трьох років для телескопів, мікроскопів та біноклів, або
шість місяців для аксесуарів від дати роздрібного продажу.
Levenhuk зберігає за собою право змінювати або знімати з виробництва виріб без
попередження.
Гарантія за межами України діє лише для тих клієнтів, які купили у уповноваже-
ного дилера компанії Levenhuk в Україні чи міжнародного дистриб’ютора. Будь
ласка, контактуйте з ними щодо будь-якого гарантійного обслуговування. У разі
продажу товарів за зразками, поштою, а також у випадках, коли час передачі
товару споживачеві не збігаються, гарантійний строк обчислюється починаючи
від дня передачі товару споживачеві, або - від дня укладення договору купівлі-
продажу.

UA
Гарантійне зобов’язання припиняється на загальних підставах, передбаче-
них Цивільним кодексом України. Якщо у вас з’явилися проблеми або вам
потрібна допомога щодо використання виробу, сконтактуйтеся з місцевим
відділенням Levenhuk:
Світові відділення Levenhuk:
США: www.levenhuk.com
Канада: www.levenhuk.ca
Чеська республіка: www.levenhuk.cz
Польща: www.levenhukoptics.pl
Росія: www.levenhuk.ru
Україна: www.levenhuk.com.ua
ЄС: www.levenhuk.eu
Дата продажу ___________________________Підпис _______________ Печатка



Levenhuk optics cleaning tools
The Levenhuk series of cleaning tools is all you need to keep your optics
clean and durable and to maintain its excellent quality.
Narzedzia do czyszczenia optyki Levenhuk
Rada cisticich prostredku Levenhuk pomuze zajistit cistotu, dlouhou zivot-
nost a vynikajici kvalitu vasich optickych pristroju.
Levenhuk Optik-Reinigungszubehor
Die Levenhuk-Reihe bietet Ihnen alle Utensilien, die Sie zur Reinigung
Ihrer Optik und zum Erhalt ihrer Strapazierfahigkeit und hohen Qualitat
benotigen.
Prostredky na cisteni optiky Levenhuk
Seria narzedzi czyszczacych Levenhuk®to wszystko, czego potrzeba do
zapewnienia czystosci i trwalosci optyki oraz zachowania jej najwyzszej
jakosci.
Средства для ухода за оптикой Levenhuk
Серия оригинальных аксессуаров для оптики Levenhuk содержит всe
необходимое для ухода за оптическими приборами.
Засоби догляду за оптикою Levenhuk
Серія оригінальних аксесуарів для оптики
Levenhuk містить все необхідне для
догляду за оптичними пристроями.
Допомагають зберегти відмінну якість
оптики Levenhuk.
Developed and manufactured for Levenhuk,
Inc., IL 60139 USA.
Levenhuk® is a registered trademark of
Levenhuk, Inc.
Copyright © 2006-2013 Levenhuk, Inc.
All rights reserved.
20130628

