Pfannenberg PATROL PA X 1 Series: инструкция
Раздел: Безопасность
Тип:
Инструкция к Pfannenberg PATROL PA X 1 Series

PA 1 / PA X 1-05 Betriebs- und Montageanleitung
Maße
PA 1 PA X 1-05
Technische Daten
085 501 944k 30303-004k 1
PA 1
PA X 1
-
05
Nennschallpegel 100dB (A) 1m
Lautstärkeregelung
max. -12dB
Töne 80
Blitzenergie - 5J
Blitzfolgefrequenz - 1Hz
Bemessungsspan-
nung
(Be
grenzungen
24V DC
oder
siehe Zulassungen)
12 – 48V DC
24V AC
50/60 Hz
115V AC
50/60 Hz
230V AC
24V AC
12V DC 24V DC 48V DC
50/60 Hz
50/60 Hz
115V AC
230V AC
50/60 Hz
50/60 Hz
Spannungsbereich
10 - 57
18-30
V DC
95 – 127
V AC
195 – 253
10-15
18-30
40-57
18-30
95 – 127
V AC
V AC
V DC
V DC
V DC
V AC
195 – 253
V AC
V AC
Stromaufnahme
80 mA 150 mA
Schallgeber (max)
30 mA 16 mA 25 mA 70 mA 80 mA 150 mA 30 mA 16 mA
Stromaufnahme
- - - - 700 mA 360 mA 170 mA 800 mA 120 mA 90 mA
Blitzleuchte (max)
Leistungsaufnah-
12-48DC: 4W
me
4,5 VA 4,5 VA 4,5 VA 8 W 11,5 W 11,5 W 34,5 VA 18,5 VA 25 VA
24 DC: 2W
Einschaltdauer 100%
Anschlussklemmen
0,14 - 2,5mm² feindrähtig / AWG24 - AWG 14 (stranded)
Schutzart IP66 (EN60529), Type 4 & 4x
Schutzklasse II
Betriebstemperatur
-40°C…+55°C
Lagertemperatur -40°C…+70°C
Max.
90%
rel. Luftfeuchte
Kabeleinführung 4x M20 vorgeprägt 5x M20 vorgeprägt
Dichtbereich der
Durchführungstülle
109.5 [4.31"]
80.6 [3.17"]
82.8 [3.26"]
98 [3.86"]
30.1 [1.19"]
86 [3.39"]
Ø6.3 [0.25"]
Ø6.3 [0.25"]
109.5 [4.31"]
25.3 [1"]
13 [0.51"]
86.4 [3.4"]
172.4 [6.79"]
80.6 [3.17"]
35.4 [1.39"]
60 [2.36"]
26.8 [1.06"]
13
26.8
[0.51"]
37
22 [0.87"]
[1.06"]
35.4
[1.46"]
44.1 [1.74"]
[1.39"]
25.3
[1"]
M20-Ausbruch vorbereitet
Bohrbild im Inneren
des Gehäuses
35.4
[1.39"]
60 [2.36"]
Kartoninhalt:
50 [1.97"]
1x Alarmgerät
1x Membrannippel M20
1x Betriebsanleitung
35.4
Bohrbild im Inneren
1x Widerstand (nur –SSM)
44.1 [1.74"]
[1.39"]
des Gehäuses
7 – 13 mm Bei Verwendung von Kabeldurchmessern < 7 mm ist eine Kabelverschraubung
mit ausreichender Schutzart vorzusehen
Gehäusematerial PC/ABS Blend
Haubenmaterial PC
Einbaulage beliebig
Optionen -SSM, (siehe Seite 5)
Zubehör Plombierstopfen (Art-Nr. 28300000002)
Haubenfarben klar, weiß, gelb, orange, rot, grün, blau

Zulassungen
Zulassungen
(gilt für gekennzeichnete Betriebsmittel)
Bauproduktrichtlinie
(89/106/EWG)
085 501 944k 30303-004k 2
PA 1:
VdS 0786-CPD-21182
PA X 1
-
05
:
0786-CPD-21220
PA
1
PA
X
1
-
05
Optionen –SSM
Bemessungsspannung 24 – 48V DC 24V DC 48V DC
Spannungsbereich gemäß
18V – 57V
18 - 30V 40 - 57V
EN54-3, EN54-23
Option: -SSM (18V – 30V)
Haubenfarbe Blitzleuchte - rot, klar
Ton
konform zur Bauproduktenrichtlinie (89/106/EWG)
2
1200Hz-500Hz (Sägezahn/ Saw tooth) DIN/PFEER P.T.A.P.
15
500Hz-1200Hz (Ansteigender Ton/ Slow whoop)
60
825Hz (Dauerton/ Continuous)
104
660Hz (Unterbrochener Ton/ Intermittent)
131
800Hz/ 1000Hz (Wechselton/ Alternating)
146
544Hz/ 440Hz (NF S 32-001)
EN54-3:
EN 54-23 Kategorie O:
Signalisierungsbereich
siehe Dokument 30303-005-1
siehe Dokument 30303-005-1
Umweltschutzklasse Typ B
Einbaulage beliebig Leuchte zeigt nach unten
Die Prüfung erfolgte unter Verwendung des mitgelieferten Membrannippels und der äußeren Befesti-
gungsbohrungen.
PA1: G 212115, PA X 1-05: G 212188
VdS
Daten siehe Bauproduktenrichtlinie (89/106/EWG)
GLxxxxx (In Vorbereitung)
GL
Umweltkategorie C, H, EMC1
UL, cUL UCST, UCST7, ULSZ, ULSZ7, UEES, UEES7 (weiterführende Informationen siehe Seite 7)
Inbetriebnahme
Sicherheitshinweise:
- Der elektrische Anschluss darf nur von hierfür autorisierten Personen in Übereinstimmung mit den derzeit gültigen
Vorschriften durchgeführt werden.
- Warnung vor gefährlicher hoher elektrischer Spannung.
- Vor dem Öffnen ist sicherzustellen, dass das Gerät nicht unter Spannung steht.
- Vor Inbetriebnahme ist die auf dem Typenschild angegebene Versorgungsspannung zu kontrollieren. Eine falsche
Betriebsspannung kann zur Schädigung bzw. zur Zerstörung des Betriebsmittels führen.
- Bei der Installation ist darauf zu achten, dass die Anschlussleitung gegen Zug und Verdrehen abgesichert ist. Bitte
beachten: Die Geräte sind nicht für einen ortsveränderlichen Einsatz bestimmt.
- WARNUNG: Bei Installation Verdrahtung entfernt von scharfen Kanten, Ecken und internen Komponenten.
- Die Öffnung des Schalltrichters darf insbesondere bei Verwendung im Außenbereich oder in staubreicher Umgebung
nicht nach oben zeigen.
- Die Funktion des Gerätes ist nur gewährleistet, wenn Ober- und Unterteil korrekt zusammengefügt sind.
Bei Verwendung der Kombination mit der Leuchte PA X 1-05:
- Um eine Beeinträchtigung des Sehvermögens zu verhindern, ist der dauernde, direkte Blick in die aktivierte Leuchte
zu vermeiden.
Öffnen des Gehäuses: Verschließen des Gehäuses
1. 2.
1. 2.
Verschließen des Gehäuses
Durch Lösen der vier
durch Drehen der Deckel-
Deckelschrauben lässt
sich das Oberteil ab-
3/8
nehmen
3/8
Das Gerät wird in nicht verschlossenem Zustand ausgeliefert.
Plombierstopfen für die Gehäuseschrauben sind als Zubehör erhältlich.
Kabeldurchführungen
Zur Sicherstellung der angegebenen Schutz-
art sind an den dafür vorgesehenen Durch-
brüchen Kabeldurchführungen mit einer
Schutzart von IP 66 zu montieren. Der mitge-
lieferte Membrannippel kann durch eine Ka-
belverschraubung oder durch einen M12-
Steckverbinder mit einem Flanschmaß von
M20 ersetzt werden.
schrauben in die Endstellung
bis zur Verrastung.
Membrannippel IP 66
Kabelverschraubung
M12- Steckverbinder IP 66
(mitgeliefert)
IP 66
(für Kleinspannungs-Geräte)
Nach Montage des Kabels
Reste der Membrane entfernen.

Anschlussplatine im Unterteil:
Elektrischer Anschluss und Tonauswahl durch externe Ansteuerung C1 und C2
Betriebsspannungsanschluss Schallgeber:
-L
-L
+N
+N
C1
C1
X2
C2
C2
Betriebsspannungs-
anschluss
Betriebsspannungsanschluss Schallgeber-Blitzleuchten-Kombination:
Stecker von der Blitzleuchtenplatine
Stecker von der Blitzleuchtenplatine
X3
X4
X3
X4
-L
-L
+N
+N
-L
-L
Betriebsspannungs-
-L
-L
+N
+N
anschluss für Blitzleuchte:
+N
+N
C1
C1
L
C1
C1
C2
C2
N
+
X2
C2
X2
C2
AC:
DC:
Schallgeber und Blitzleuchte
Betriebsspannungs-
anschluss
Betriebsspannungs-
anschluss für Schallgeber
Gemeinsamer Anschluss von getrennter Anschluss von
Blitzleuchte und Schallgeber Blitzleuchte und Schallgeber
(Auslieferungszustand)
Der gewünschte Ton kann mithilfe des Tonartenschalters S3 (auf der Treiberplatine im Oberteil) ausgewählt werden. Die
möglichen Töne sind in der Tonartentabelle im Anhang beschrieben.
Nach Anlegen der Versorgungsspannung wird der Ton erzeugt.
Schallgeber-Treiberplatine (im Oberteil):
DC-Version
Lautstärkeregler
AC-Version
Hinweis:
Um EN54-3 konform zu sein,
muss sich der Lautstärkeregler in der
Maximal-Position befinden.
S3
S2
S1
S3
-
+
Tonartenschalter
S1
S2
(Überbrückung der
(Auswahl der Polarität der
Verpolungsdiode)
Steuerspannung für C1 und C2)
+
geschlossen offen
Werkseinstellung
085 501 944k 30303-004k 3
Achtung
:
Stellung des Umschalters
S2 nur bei „-“ oder „+“.
„Offene“ Stellung ist nicht
zulässig und führt zu Fehl-
funktion.

Änderung der Töne durch externe Ansteuerung
Für Anwendungen, die zusätzlich zum Grundton weitere Töne benötigen, besteht die Möglichkeit, bis zu drei wei-
tere Tonarten mithilfe der folgenden elektrischen Ansteuerungen zu erreichen.
Grundsätzlich wird erst der gewünschte Grundton (♪, siehe Tonartentabelle im Anhang) mit dem Tonartenschalter
S3 auf der Treiberplatine eingestellt. Die korrespondierenden zusätzlichen Töne (C1, C2, C1+C2) sind der Tabelle
„Ansteuerung der Töne“ im Anhang zu entnehmen.
Tonstufenauswahl durch Steuereingang (TAS)
DC-Version:
Bei polrichtiger Anwendung erfolgt die Tonauswahl
über die Steuereingänge C1 und C2 auf der An-
schlussplatine. Die Versorgungsspannung muss da-
bei immer zusammen mit den Steuereingängen ange-
S1
legt werden. Schalter S1 auf der Treiberplatine ist
bzw.
offen.
Über den Umschalter S2 auf der Treiberplatine erfolgt
die Auswahl der Polarität der Steuerspannung
S2
S2
(„+“ oder „–“).
„+“: positive Ansteuerung
„-„: negative Ansteuerung (Werkseinstellung)
Achtung: Ist die Steuerspannung größer als die Ver-
sorgungsspannung oder die Versorgungsspannung
liegt nicht an, erfolgt die Betriebsstromversorgung über
die Steuereingänge. Eine entsprechende Belastbarkeit
muss dann gewährleistet sein.
AC-Version:
In der AC-Version erfolgt die Tonauswahl durch An-
schließen der Phase „L“ der Versorgungsspannung an
die Steuereingänge C1 bzw. C2. Die Versorgungs-
spannung muss dabei immer zusammen mit den Steu-
ereingängen angelegt werden.
Tonstufenauswahl durch Versorgung über Steuereingang (TAV) - für alle DC-Versionen
Der Schallgeber kann über die Steuereingänge C1 bzw. C2 auf der Anschlussplatine mit Betriebsspannung ver-
sorgt werden. Versorgung und Tonstufenauswahl erfolgt somit gleichzeitig.
Der Minuspol des Schallgebers muss angeschlossen sein.Durch Anschließen der positiven Spannung an den
Pluspol der Anschlussplatine wird der Grundton (♪) erzeugt; durch Anschluss an C1 bzw. C2 wird die entspre-
chende Tonstufe ausgewählt.
Durch gleichzeitiges Anschließen der positiven Spannung an C1 und C2 wird die Tonstufe „C1+C2“ gewählt.
Der Umschalter S2 auf der Treiberplatine muss auf „+“ stehen.
-L
-L
S1
-L
-L
+N
+N
+N
+N
C1
C1
C1
-
C1
C2
-
X2
C2
+
Grundton
X2
C2
C2
+
Grundton
+
Ton C1
+
Ton "C1+C2"
+
Ton C2
S2
Tonstufenauswahl durch Verpolung (TAR) - für alle DC-Versionen (außer Option –SSM)
Wird der Schalter S1 auf der Treiberplatine geschlossen, kann durch Verpolung der Betriebsspannung zum
Grundton (♪) zusätzlich Ton „C1+C2“ gewählt werden. Der Umschalter S2 muss auf „+“ geschaltet werden.
Die Steuereingänge C1 und C2 dürfen auf der Anschlussplatine nicht beschaltet werden.
S1
-L
-L
-L
+N
-L
+N
+N
C1
-
+N
C1
+
C1
Grundton
C2
C1
X2
C2
+
C2
Ton "C1+C2"
X2
C2
-
S2
085 501 944k 30303-004k 4
Nur
DC
-
Version
Beispiel für DC “–“ -
Ansteuerung
-L
-L
+N
+N
C1
C1
C2
X2
C2
Werkseinstellung
Ton C1
Ton C2

Option –SSM (Soft-Start-Modul, nur 24V DC):
- Begrenzung der Einschaltstromspitze auf:
085 501 944k 30303-004k 5
: max. 2,1 A
: max. 2,1 A
- Durchschalten der Betriebsspannung zum Betriebsmittel erst ab >7V
- Widerstand zur Leitungsüberwachung angeschlossen
Betriebsspannungsbereich: 18V – 30V DC
Widerstand zur Leitungsüberwachung:
Widerstand für Leitungsüberwachung (1KOhm)
am Betriebsspannungsanschluss.
-L
-L
Position des Widerstandes bei Parallelschaltung
+N
+N
C1
C1
von mehreren Schallgebern im letzten Gerät.
X2
C2
C2
nicht benötigte Widerstände entfernen
Wartung, Service, Instandhaltung
Das Gerät erfordert keine besondere Wartung. Die äußere Reinigung sollte mit einer schwachen Seifenlösung ohne
Verwendung von Lösungsmittel erfolgen.
Der Schallgeber darf nur in unbeschädigtem Zustand innerhalb der spezifizierten Kenndaten betrieben werden. Umbau-
ten, Änderungen, fehlerhafter und unzulässiger Einsatz sowie die Nichtbeachtung der Hinweise dieser Betriebsanleitung
schließen eine Gewährleistung aus.
Ein Austausch von Komponenten darf nur mit Originalersatzteilen erfolgen. Reparaturen sind grundsätzlich im Herstel-
lerwerk auszuführen.

PA 1 / PA X 1-05 Operating and installation instruction
Dimensions
PA 1 PA X 1-05
Technical Data
085 501 944k 30303-004k 6
PA 1
PA X 1
-
05
Nom. sound level
100dB (A) 1m
Volume control max. -12dB
Tones 80
Flash energy - 5J
Flash frequency - 1Hz
Rated voltage
24V DC or
24V AC
(limits see
12 – 48V DC
approvals)
50/60 Hz
115V AC
50/60 Hz
230V AC
24V AC
12V DC 24V DC 48V DC
50/60 Hz
50/60 Hz
115V AC
230V AC
50/60 Hz
50/60 Hz
Operating
10 - 57
18-30
voltage range
V DC
95 – 127
V AC
195 – 253
10-15
18-30
40-57
18-30
95 – 127
V AC
V AC
V DC
V DC
V DC
V AC
195 – 253
V AC
V AC
Current
consumption
80 mA 150 mA
Sounder (max)
30 mA 16 mA 25 mA 70 mA 80 mA 150 mA 30 mA 16 mA
Current
consumption
- - - - 700 mA 360 mA 170 mA 800 mA 120 mA 90 mA
Beacon (max)
Power consump-
12-48DC: 4W
tion
4,5 VA 4,5 VA 4,5 VA 8 W 11,5 W 11,5 W 34,5 VA 18,5 VA 25 VA
24 DC: 2W
Duty cycle 100%
Connection
0,14 - 2,5mm² / AWG24 - AWG 14 (stranded)
terminal
Ingress
IP66 (EN60529), Type 4 & 4x
protection
Protection class
II Double insulated equipment
Operating temp. -40°C…+55°C
Storage temp. -40°C…+70°C
Max. rel.
90%
Humidity
Cable entry 4x M20 (prepared) 5x M20 (prepared)
Sealing range of
109.5 [4.31"]
80.6 [3.17"]
82.8 [3.26"]
98 [3.86"]
30.1 [1.19"]
86 [3.39"]
Ø6.3 [0.25"]
Ø6.3 [0.25"]
109.5 [4.31"]
25.3 [1"]
13 [0.51"]
86.4 [3.4"]
80.6 [3.17"]
172.4 [6.79"]
35.4 [1.39"]
60 [2.36"]
26.8 [1.06"]
13
[0.51"]
26.8
37
22 [0.87"]
[1.06"]
35.4
25.3
[1"]
[1.46"]
44.1 [1.74"]
[1.39"]
M20-Ausbruch vorbereitet
Prepared M20 piercing
Hole pattern in the
35.4
[1.39"]
inside of housing
60 [2.36"]
50 [1.97"]
Content of package:
1x Alarm device
Hole pattern in the
1x Diaphragm nipple M20
inside of housing
35.4
1x Operating instruction
44.1 [1.74"]
[1.39"]
1x Resistor (only –SSM)
7 – 13 mm
grommet
With the use of cable diameters < 7 mm, a cable screw joint with sufficient ingress protection must be provided
Material of
PC/ABS Blend
housing
Material of lens PC
Installation
arbitrary
position
Options -SSM, (see page 11)
Accessory Sealing plug (Art-no. 28300000002)
Lens colours clear, white, yellow, amber, red, green, blue

Approvals
Approvals (valid for marked equipment)
Construction Product
PA 1: VdS 0786-CPD-21182 PA X 1-05: 0786-CPD-21220
Directive
(89/106/EWG)
085 501 944k 30303-004k 7
PA 1
PA X 1
-
05
Options –SSM
Rated voltage 24 – 48V DC 24V DC 48V DC
Operating voltage range
18V – 57V
18 - 30V 40 - 57V
acc. to EN54-3, EN54-23
Option: -SSM (18V – 30V)
Lens colours of beacon - red, clear
Tone
Compliant with the Construction Product Directive (89/106/EWG)
2
1200Hz-500Hz (Saw tooth) DIN/PFEER P.T.A.P.
15
500Hz-1200Hz (Slow whoop)
60
825Hz (Continuous)
104
660Hz (Intermittent tone)
131
800Hz/ 1000Hz (Alternating tone)
146
544Hz/ 440Hz (NF S 32-001)
EN54-3:
EN 54-23 Category O:
Signaling area
see document 30303-005-1
see document 30303-005-1
Environmental
Type B
protection class
Installation position arbitrary Light faces down
The test was performed using the provided diaphragm nipples and the outer fixing holes.
VdS
PA1:
G 212115,
PA X 1
-
05:
G 212188
Data see Construction Product Directive (89/106/EWG)
GLxxxxx (in preparation)
GL
Environmental Category C, H, EMC1
Audible-signal Appliance
Audible and Visual signal Appliance
Rated
Fire Alarm Equipment
General Signal Equipment
Voltage
ULSZ, ULSZ7
UCST, UCST7 and UEES, UEES7
24V – 48V DC
(Fire Alarm Equipment)
PA 1
12V – 48V DC
UL, cUL
(General Signal Equipment)
x
Special application, limited operat-
x
ing voltage range 18 – 57V DC
24V AC
PA 1
115V AC
- x
PA X 1-05
230V AC
12V DC
PA X 1-05
24V DC
- x
48V DC
PATROL sounders and combined units PA 1/ PA X 1-05 comply with the limits for a Class B digital device, pursuant to
part 15 of the FCC Rules.
U
L/ cUL specifications:
Suitable for indoor and outdoor use. Signaling area: see document 30303-005-1.
Cable gland entries:
Conduit installation needs to be UL/ cUL listed fittings suitable for knockout openings. The supply wiring has to be enclosed in metal
conduits for products for Fire Alarm Use.
According to CSA-C22.2 No. 205-M1983 clause 4.3.4 the connection is limited to max. three leads.
Installation:
The units shall be installed indoors or outdoors in accordance with the manufacturer’s installation instructions as well as the National
Electrical Code (NFPA 70) and the National Fire Alarm Code (NFPA 72) for the units evaluated for Public Fire Alarm applications in the
U.S. In Canada, they shall be installed in accordance with the Canadian Electrical Code, Part 1 and the Standard for the Installation of
Fire Alarm Systems CAN/ULC-S524-M91 for the units evaluated for Public Fire Alarm applications. The installation shall also be in a
manner acceptable with the local authority having jurisdiction.
For audible application for Fire Alarm Service use both terminals for connection. Break wire run to provide Electrical Supervision (see
UL 464 clause 39.1e). The tone no. 111 is to be used for evacuation use only
(see UL 464 clause 39.1e)
cUL directional characteristics for
AXIS ANGLE dBA
the horn:
Horizontal 32 deg. left or right -3
Horizontal 28 deg. left or right -6
Vertical 32 deg. left or right -3
Vertical 28 deg. left or right -6
Min. Output sound pressure
Type Voltage UL 464 db(A) at 10 ft ++ CAN/ULc-S525-07
level: [dB(A)]
PA 1-24 DC 18V DC 77,1 (for tone 113) 86,2 (for tone 60)
Tone no. 2, 15, 60, 104, 131, 146, 111, 112, and 113 was used for this test.
7 [0.28"]
Connecting cables:
7 [0.28"]
solid
stranded

Taking into operation
Safety notes:
- Installation must be carried out by an electrician in compliance with the latest codes and regulations.
- Danger: High voltage may be present.
- Prior to opening, it must be ensured that no voltage is applied to the device.
- Before electrical connection, the supply voltage on the type plate is to be checked. The wrong operating voltage
can lead to damages or to the destruction of the equipment.
- During installation it must be ensured that the connection cables are secured against tension and distortion.
Please observe: The devices are not designed for portable use.
- CAUTION: When making installation, route field wiring away from sharp projections, corners and internal compo-
nents.
- The opening of the bell mouth must not point upwards, especially in the case of use outdoors or in a particularly
dusty environment.
- The function of the unit is only guaranteed if the upper and lower section is joined correctly.
When using the sounder –beacon combination PA X 1-05:
- In order to prevent detriment to sight, continuously looking directly in the activated light is to be avoided.
Opening the housing: Closing the housing
1. 2.
By loosing the four
1. 2.
3/8
3/8
The unit is not closed when delivered.
Sealing plugs for the housing screws are available as accessories.
Cable gland entries
To guarantee the specified protection type, cable grommets with a protection type of IP 66 are to be installed at
the openings provided for this purpose. The supplied diaphragm nipple can be replaced with a cable gland or with
an M12 plug connection with a flange measurement of M20.
Diaphragm nipple IP 66
Cable gland IP 66
M12 plug connector IP 66
(provided)
(for low voltage versions)
After pushing through the cable remove
the remaining membrane break-out.
Circuit board for electrical connection (located in the base section):
Electrical connection and tone selection using external control C1 and C2
Terminal for operating voltage - Sounder:
-L
-L
+N
+N
C1
C1
C2
X2
C2
Connection for
Operating voltage
085 501 944k 30303-004k 8
cover screws, the upper
The housing is closed
by turning the cover
screws to the limit
section can be re-
position until the
moved.
housing locks into
place.

Terminal for operating voltage - Sounder-beacon combination:
Plug from beacon circuit board
Plug from beacon circuit board
X3
X4
X3
X4
-L
-L
+N
+N
-L
Operating voltage
-L
-L
-L
+N
+N
for the beacon
+N
+N
C1
C1
L
C1
C1
C2
C2
X2
C2
X2
C2
N
+
AC:
DC:
Sounder and Beacon
Connection for
Operating voltage
Operating voltage
for the sounder
Common connection of Separate connection of
beacon and sounder beacon and sounder
(Delivery status)
The desired tone can be selected using the tone selector switch S3 (on the driver circuit board). The available
tones are described in the tone table in the appendix.
After establishing the supply voltage the tone is generated.
Driver circuit board of sounder (located in the upper section):
DC-Version
Volume control
AC-Version
Note:
To be EN54-3 compliant, the volume
control has to be set to the
maximum position.
S3
S2
S1
S3
-
+
Tone selector switch
S1
S2
(Bridging of
(Selection of polarity of the
blocking diode)
control voltage for C1 and C2)
Caution:
Position of the switch
S2 only with "-" or "+".
+
"Open" position is not
closed open
permitted and leads to
Factory setting
malfunction.
085 501 944k 30303-004k 9

Change of the tones by external control
For applications which require more tones than just the base tone, it is possible to provide up to three additional
tone types with the use of the following electrical controls.
As a basic rule, the desired base tone (♪, see tone table in the appendix) is set with the tone selector switch S3 on
the driver board. The corresponding additional tones (C1, C2, C1+C2) can be gathered from the table "Selection of
the tones".
Tone selection with control input (TAS)
DC-Version:
When used with correct polarity, the tone selection
takes place through the control inputs C1 and C2 on
the circuit board. In the process, the supply voltage
must always be applied together with the two con-
-L
-L
S1
+N
trol inputs. Switch S1 on the driver board is open.
+N
C1
C1
The selection of the polarity of the control voltage
X2
C2
C2
or
("+" or "_") takes place with the switch S2 on the
driver board.
"+": positive control
Tone C1
S2
Tone C2
S2
"-": negative control (factory setting)
Caution: If the control voltage is greater than the
supply voltage or the supply voltage is not applied,
the operating current supply is provided through the
control inputs. A corresponding load capacity must
then be guaranteed.
AC-version:
In the AC version the tone selection takes place by
connecting the phase "L" of the supply voltage to
the control inputs C1 and C2. In the process, the
supply voltage must always be applied together with
the two control inputs.
Tone selection with supply through control input (TAV) - for all DC versions
The sounder can be supplied with operating voltage through the control inputs C1 and C2 on the circuit board.
Supply and tone selection thus take place simultaneously.
The minus pole of the sounder must be connected. With connection of the positive voltage to the plus pole of the
circuit board, the base tone (♪) is generated; with connection to C1 or C2 the corresponding tone is selected.
With simultaneous connection of the positive voltage to C1 and C2 the tone "C1+C2" is selected.
The switch S2 on the driver board must be set to "+".
S1
-L
-L
-L
-L
+N
+N
+N
+N
C1
C1
C1
-
C1
X2
C2
Base tone
-
C2
+
X2
C2
C2
Base tone
+
+
Tone C1
+
Tone "C1+C2"
Tone C2
S2
+
Tone selection through pole reversal (TAR) - for all DC versions except for option -SSM
If the switch S1 on the driver board is closed, the tone "C1+C2" can be selected in addition to the base tone
through pole reversal. The switch S2 must be set to "+".
The control inputs C1 and C2 may not be switched on the circuit board.
S1
-L
-L
-L
-L
+N
+N
+N
+N
-
+
C1
C1
C1
C2
Base tone
C1
X2
C2
Tone "C1+C2"
X2
C2
+
C2
-
S2
085 501 944k 30303-004k 10
DC
v
ersion
only
Factory settin
Example for DC “–“ -control
g

Option –SSM (Soft-Start-Module) (24V DC only):
- Limiting of the switch-on current peak to
:
085 501 944k 30303-004k 11
: max. 2,1 A
: max. 2,1 A
- Connection of the operating voltage to the equipment starts at >7V
- Resistance for the line monitoring mounted.
Operating voltage range: 18V – 30V DC
Connection of a resistor for line monitoring:
Resistor (1kOhm) for line monitoring
at terminal for operating voltage
Position of resistor in last sounder when
-L
using several sounders in parallel:
-L
+N
+N
C1
Remove resistors if not needed
C1
X2
C2
C2
Maintenance, Service and Ordering Spare Parts
The device does not require any special maintenance.
External cleaning should be done with a mild soap solution without the use of solvents.
The device may only be operated in the undamaged state within the specified rating.
Conversions, alterations, improper and inadmissible use as well as the non-observance of the notes in these op-
erating instructions shall render the warranty null and void.
Components may be replaced only by original spare parts.
As a matter of principle, repairs are to be carried out in the manufacturing works.

PA 1 / PA X 1-05 Instructions d’utilisation et de montage
Dimensions
PA 1 PA X 1-05
Caractéristiques techniques
085 501 944k 30303-004k 12
PA 1
PA X 1
-
05
Niveau sonore
nominal
100dB (A) 1m
Réglage du volume
sonore
max. -12dB
Sons
80
Puissance lumineuse - 5J
Fréquence du flash - 1Hz
Tension de service
24V CC
(Limitations voir admis-
ou
sions)
12-48V CC
24V CA
115V CA
230V CA
12V CC 24V CC
50/60 Hz
50/60 Hz
50/60 Hz
48V CC
24V CA
115V CA
50/60 Hz
50/60 Hz
230V CA
50/60 Hz
Plage de la tension de
10-57
18-30
95-127
service
V CC
V CA
195-253 V
10-15
18-30
V CA
CA
V CC
40-57
V CC
18-30
95 – 127
V CC
V CA
195 –
V CA
253
V CA
Courant nominal admis
80 mA 150 mA 30 mA 16 mA 25 mA 70 mA 80 mA 150 mA 30 mA 16 mA
par la sirène (max)
Courant nominal admis
- - - - 700 mA 360 mA
par le flash (max)
170 mA
800 mA 120 mA 90 mA
12-48V: 4W
Puissance
4,5 VA 4,5 VA 4,5 VA 8 W 11,5 W 11,5 W 34,5 VA 18,5 VA 25 VA
24V: 2W
Facteur de marche 100%
Bornes de connexion 0,14 - 2,5 mm² en fils de faible diamètre/ AWG24 - AWG 14 (stranded)
Type de protection IP66 (EN60529), Type 4 & 4x
Classe de protection II
Température de service
-40°C…+55°C
Température de stock-
-40°C…+70°C
age
Humidité relative max. 90%
Entrée de câbles 4 x M20 avec empreinte préalable 5 x M20 avec empreinte préalable
Zone d’intensité du
7 – 13 mm (En cas d’utilisation de câbles de diamètre < 7 mm, un raccord de câble équipé d’un type de pro-
profilé de protection
tection suffisant sera à prévoir)
Matériau du boîtier Mélange PC/ABS
Matériau du capot
PC
109.5 [4.31"]
80.6 [3.17"]
82.8 [3.26"]
98 [3.86"]
30.1 [1.19"]
Ø6.3 [0.25"]
86 [3.39"]
Ø6.3 [0.25"]
109.5 [4.31"]
25.3 [1"]
13 [0.51"]
86.4 [3.4"]
80.6 [3.17"]
172.4 [6.79"]
35.4 [1.39"]
60 [2.36"]
26.8 [1.06"]
13
[0.51"]
26.8
22 [0.87"]
[1.06"]
25.3
[1"]
37
35.4
[1.46"]
44.1 [1.74"]
[1.39"]
M20-Ausbruch vorbereitet
35.4
[1.39"]
60 [2.36"]
50 [1.97"]
Points de fixation à l'inté
Contenu de l’emballage :
1 alarme
1 raccord fileté à membrane M20
35.4
44.1 [1.74"]
[1.39"]
1 instruction d’utilisation
1 résistor (seulement –SSM)
Position de montage quelconque
Options -SSM (voir page 16)
Accessoires Bouchon de plombier (art. n° 28300000002)
Couleurs du capot transparent, blanc, jaune, orange, rouge, vert, bleu
rieur
du boîtier
Points de fixation à l'inté
rieur
du boîtier

Admissions
Admissions
(valable pour les appareils signalés)
Directive sur les
PA 1: VdS 0786-CPD-21182 PA X 1-05: 0786-CPD-21220
produits de
construction
(89/106/CEE)
085 501 944k 30303-004k 13
PA 1
PA X 1
-
05
Options -SSM
Tension de service 24 – 48V CC 24V CC 48V CC
Plage de tension de service
18V – 57V
18 - 30V 40 - 57V
selon EN 54-3, EN 54-23
Option: -SSM (18V – 30V)
Couleur du capot - rouge, transparent
Son
Conforme à la Directive sur les produits de construction (89/106/CEE)
2
1200Hz-500Hz (dent de scie DIN/PFEER P.T.A.P.
15
500Hz-1200Hz (son montant)
60
825Hz (son continu)
104
660Hz (son interrompu)
131
800Hz/ 1000Hz (son variable)
146
544Hz/ 440Hz (NF S 32-001)
EN54-3 :
EN 54-23 catégorie O :
Plage de signalisation
Voir document 30303-005-1
Voir document 30303-005-1
Classe de protection
Type B
environnementale
Position de montage quelconque Lampe ê éclairs vers le bas
Le test a été effectué en utilisant le raccord fileté de membrane livré et les perçages extérieurs de fixation.
VdS
PA1:
G 212115,
PA X
1
-
05:
G 212188
Pour les caractéristiques voir la Directive sur les Produits de construction (89/106/CEE)
GLxxxxx (en préparation)
GL
Catégorie environnementale C, H, EMC1
UL, cUL UCST, UCST7, ULSZ, ULSZ7, UEES, UEES7 (plus d'informations voir page 7)
Mise en service
Consignes de sécurité :
- Le branchement électrique doit être effectué uniquement par des personnes autorisées conformément aux réglementa-
tions en vigueur.
- Attention : Pendant le fonctionnement, hautes tensions générées.
- Avant d'ouvrir, il convient de s'assurer que l’appareil est hors tension.
- La tension d'alimentation indiquée sur la plaque signalétique doit être vérifiée avant la mise en service. Une tension de
service incorrecte peut entraîner un endommagement ou la destruction de l’appareil.
- Il convient de veiller, lors de l'installation, que les cordons d’alimentation ne sont pas soumis à des contraintes de trac-
tion ou de torsion. Attention : les appareils ne sont pas destinés à une utilisation mobile.
- AVERTISSEMENT : lors de l’installation, maintenir les câblages éloignés des bords coupants, coins et composants
internes.
- L’ouverture du pavillon ne doit pas être tournée vers le haut, notamment en cas d’utilisation à l’extérieur ou dans un
environnement poussiéreux.
- Le fonctionnement de l’appareil n’est garanti que si les parties supérieure et inférieure sont assemblées correctement.
En cas d’utilisation de l’ensemble avec le feu flash (PA X 1-05) :
- Pour éviter un risque d'endommagement de l'acuité visuelle, il convient d'éviter le contact visuel direct et permanent
avec la lampe.
Ouverture du boîtier
Fermeture du boîtier
1. 2.
1. 2.
La partie supérieure peut
être retirée en desserrant
les quatre vis du couvercle
3/8
3/8
L’appareil est livré en état non verrouillé.
Des bouchons de plombier sont disponibles en accessoires pour les vis du boîtier.
Passages de câbles
Afin de garantir le type de protection indiqué,
des passages de câbles d’une protection IP 66
doivent être montés au niveau des perçages
prévus à cet effet. Le raccord fileté à membrane
fourni peut être remplacé par un passe-câble à
vis ou par un connecteur M12 avec une bride
de dimension M20.
Le boîtier se referme en
tournant les vis du couvercle
jusqu’en position finale pour
le verrouillage.
Raccord fileté à membrane
Passe-câble à vis IP 66
Connecteur M12 IP 66
IP 66 (fourni)
(pour les appareils
Après l'assemblage du câble
basse tension)
retirer le reste de la membrane

Platine de raccordement dans la partie inférieure :
Branchement électrique et choix de la tonalité par activation externe C1 et C2
Raccordement à la tension de service de la sirène :
-L
-L
+N
+N
C1
C1
X2
C2
C2
Raccordement à la
tension de service
Raccordement à la tension de service de l’ensemble sirène-feu flash :
Fiche de la platine du feu flash
Fiche de la platine du feu flash
X3
X4
X3
X4
-L
Raccordement à la
+N
-L
-L
+N
tension de service
-L
-L
+N
-L
pour le feu flash :
+N
+N
+N
C1
C1
C1
L
C2
C1
C2
N
+
X2
C2
X2
C2
AC:
DC:
Sirène et feu flash
Raccordement à la
tension de service
Raccordement à la
tension de service
pour la sirène
Raccordement commun Raccordement séparé
du feu flash et de la sirène du feu flash et de la sirène
(État à la livraison)
Le son peut être sélectionné à l’aide de l’interrupteur de tonalité S3 (sur la platine pilote de la partie supérieure).
Les sons possibles sont décrits dans le tableau des tonalités en Annexe.
Le son est émis dès que la tension d’alimentation est appliquée.
Platine pilote de la sirène (partie supérieure) :
Version CC
Régulateur du volume
Version CA
Remarque :
Pour rester en conformité avec la
norme EN54-3, le régulateur du volume
doit se trouver en position maximale
S3
S2
S1
S3
-
+
Interrupteur de tonalité
S1
S2
(Shunt de la diode de polarité)
(Sélection de la polarité de la tension
de commande pour C1 et C2)
+
fermé ouvert
Réglage d'usine
085 501 944k 30303-004k 14
Attention :
Position du commutateur S2
uniquement sur « + » ou « - ».
La position « ouverte » n’est
pas admise et entrave le
fonctionnement

Modification des sons par activation externe
Pour les applications nécessitant d’autres sons que celle de base, il est possible d’obtenir jusqu’à trois autres sons
à l’aide des activations électriques suivantes.
En principe, le son de base souhaitée (♪, voir le tableau des tonalités en annexe) est réglé en premier à l’aide de
l’interrupteur de tonalité S3 sur la platine pilote. Les sons supplémentaires correspondants (C1, C2, C1 + C2)
figurent dans le tableau « Activation des Sons » en annexe.
Sélections des tons par entrée de commande (TAS)
Version CC :
En cas d’application respectant la polarité, la sélection
du son s’effectue par les entrées de commande C1 et C2
sur la platine de raccordement. La tension d’alimentation
doit alors toujours être appliquée avec les entrées de
-L
-L
commande. L’interrupteur S1 sur la platine pilote
+N
+N
C1
S1
est ouvert.
C1
C2
X2
C2
La sélection de la polarité de la tension de commande
ou
(« + » ou « - ») se fait à l’aide du commutateur S2 sur la
platine pilote.
Son C1
« + » : activation positive
Son C2
S2
S2
« - » : activation négative (réglage usine)
Attention : Si la tension de commande est supérieure à la
tension d’alimentation ou si la tension d’alimentation n’est
pas appliquée, l’alimentation de service s’effectue par les
entrées de commande. Une capacité correspondante doit
alors être assurée.
Version CA :
En version CA, la sélection du son s’effectue en reliant la
phase « L » de la tension d’alimentation aux entrées de
commande C1 ou C2. La tension d’alimentation doit alors
toujours être appliquée avec les entrées de commande.
Sélection des tons par alimentation à l’aide de l’entrée de commande (TAV) – pour toutes les versions CC
La sirène peut être alimentée en courant de service par les entrées de commande C1 ou C2 sur la platine de rac-
cordement. L’alimentation et la sélection des tons se font alors simultanément.
Le pôle négatif de la sirène doit être branché. Si la tension positive est branchée sur le pôle positif de la platine de
raccordement, le son de base (♪) est émis ; si le branchement est effectué sur C1 ou C2, le ton correspondant est
sélectionné.
Lorsque la tension positive est branchée simultanément sur C1 et C2, le ton « C1 + C2 » est sélectionné.
Le commutateur S2 de la platine pilote doit être placé sur « + ».
S1
-L
-L
-L
-L
+N
+N
+N
+N
C1
C1
C1
C1
C2
C2
X2
C2
+
Son de base
X2
C2
Son de base
+
+
Son C1
+
Son "C1+C2"
S2
+
Son C2
Sélection des tons par inversion de polarité (TAR) – pour toutes les versions CC
(Cette fonction n'est pas disponible avec les appareils équipés de l'option –SSM)
Si l'interrupteur S1 est fermé sur la platine pilote, le ton « C1 + C2 » peut être sélectionné en plus de la tonalité de
base (♪) par inversion de la polarité de la tension de service. Le commutateur S2 doit être positionné sur « + ».
Les entrées de commande C1 et C2 ne doivent pas être câblées sur la platine de raccordement.
S1
-L
-L
-L
+N
-L
+N
+N
C1
-
+N
C1
Son de base
C1
+
C2
C1
Son "C1+C2"
X2
C2
+
C2
X2
C2
-
S2
085 501 944k 30303-004k 15
V
ersion
CC
R
Exemple d'activation "-" (CC)
églage usine

Option SSM (Module Soft-Start) (uniquement 24 V CC) :
- Limitation de la pointe du courant à l’enclenchement à :
085 501 944k 30303-004k 16
: max. 2,1 A
: max. 2,1 A
- Transfert de la tension de service sur l’équipement à partir de > 7V
- Résistance à la direction des circuits intégrée
Plage de la tension de service : 18 V – 30 V DC
Résistance pour la surveillance de ligne
Résistance pour la surveillance de ligne(1KOhm)
est située à la borne de raccordement.
Position de la résistance en cas de montage en
-L
-L
+N
parallèle de plusieurs sirènes sur le dernier appareil.
C1
+N
C1
X2
C2
C2
Retirer les résistances, si elles ne sont pas nécessaires.
Maintenance, SAV, entretien
L’appareil ne requiert aucune maintenance particulière. Le nettoyage extérieur doit être effectué avec une solution
légèrement savonneuse, sans solvants.
L’appareil doit être exploité uniquement en bon état de marche et dans le respect des caractéristiques indiquées.
Toute transformation, modification, utilisation incorrecte ou inadmissible ainsi que le non-respect des instructions
de service entraînent l'exclusion de la garantie.
Tous les composants doivent être remplacés uniquement par des pièces originales. Les réparations doivent en
principe être effectuées dans les ateliers du fabricant.

PA 1 / PA X 1-05 Инструкция по монтажу и эксплуатации
Размеры
PA 1 PA X 1-05
7
Технические данные
085 501 944k 30303-004k 17
PA 1
PA X 1
-
05
Ном. уровень звука
100 дБ (A) 1 м
Регулировка звука
макс. -12 дБ
Тон
80
Энергия вспышки
- 5 Дж
Частота вспышки
- 1 Гц
24 В DC или
Рабочее напряжение
12 – 48 В DC
24В AC –
115 В AC
50/60Гц
230 В AC
50/60Гц
50/60Гц
12 В DC
24 В DC
48 В DC
24 В AC
115 В AC
50/60Гц
230 В AC
50/60Гц
50/60Гц
Диапазон рабочего
10 - 57В 18-30 В 95-127 В
напряжения
195-253
В
10-15 В 18-30 В 40-57 В 18-30 В 95 – 127В
195–253 В
Номинальный ток,
потребляемый
80 мА
150
мА
30
мА
16
мА
25 мА
70
мА
80
мА
150
мА
30
мА
16
мА
излучателем звука
(Макс)
Номинальный ток,
потребляемый
- - - -
700 мА 360 мА 170 мА 800 мА 120 мА 90 мА
проблесковой лампой
(Макс)
12-48V: 4 вт
Мощность
4,5 VA 4,5 VA 4,5 VA 8 вт 11,5 вт 11,5 вт 34,5 VA 18,5 VA 25 VA
24V: 2 вт
Рабочий цикл
100%
Соединения
0,14 – 2,5 мм², с тонким проводом / AWG24 – AWG 14 (многожильное)
Тип защиты
IP66 (EN60529), Type 4 & 4x
Класс защиты
II
Рабочая температура
-40°C…+55°C
Температура хранения
-40°C…+70°C
Макс. Отн. Влажность
90%
воздуха
Кабельный ввод
M20, 4 шт, предварительно подготовлены
M20, 5 шт, предварительно подготовлены
Допустимый диаметр
7 – 13 мм; при использовании кабеля диаметром менее 7 мм должна применяться резьбовая
кабеля
втулка с соответствующим классом защиты
Материал корпуса
Поликарбонат/акрилонитрил-бутадиен-стирол
Материал линзы
Поликарбонат
Монтажное положение
Содержимое упаковки:
1 устройство сигнализации
1 мембранный ниппель М20
1 руководство по эксплуатации
1 резистор (только -SSM)
Произвольное
Опции
-SSM (см. Стр. 21)
Аксессуары
Пломбировочные пробки (арт. 28300000002)
Цвет линзы
прозрачная, белый, жёлтый, оранжевый, красный, зелёный, синий
109.5 [4.31"]
80.6 [3.17"]
98 [3.86"]
82.8 [3.26"]
30.1 [1.19"]
86 [3.39"]
Ø6.3 [0.25"]
Ø6.3 [0.25"]
109.5 [4.31"]
25.3 [1"]
13 [0.51"]
80.6 [3.17"]
86.4 [3.4"]
172.4 [6.79"]
26.8 [1.06"]
13
35.4 [1.39"]
60 [2.36"]
[0.51"]
25.3
[1"]
22 [0.87"]
26.8
37
[1.06"]
[1.46"]
35.4
35.4
Отверстие М20 (подготовлено)
[1.39"]
M20-Ausbruch vorbereitet
44.1 [1.74"]
[1.39"]
60 [2.36"]
50 [1.97"]
установка через скрытые
внутренние отверстия
35.4
установка через скрытые
44.1 [1.74"]
[1.39"]
внутренние отверстия

Допуски
Допуски
(только для оборудования с маркировкой)
Директива
Европейского
Союза по
строительны
м изделиям
(89/106/EWG)
085 501 944k 30303-004k 18
PA
1:
Союз
страховщиков
VdS 0786-CPD-21182
PA
X
1
-
05
:
0786-CPD-21220
PA 1
PA X 1
-
05
Опции –SSM
Рабочее напряжение 24 - 48V DC 24V DC 48V DC
Диапазон рабочего напряжения
18 – 57 В
18 – 30 В 40 – 57 В
согласно EN54-3, EN54-23
Опция: -SSM (18 – 30 В)
Цвет линзы - красный, прозрачный
Тональность
Согласно Директиве ЕС по строительным изделиям (89/106/EWG)
2
1200-500 Гц (звук пилы DIN/PFEER P.T.A.P.)
15
500-1200 Гц (с повышением тональности)
60
825 Гц (постоянная тональность)
104
660 Гц (с прерыванием)
131
800 / 1000 Гц (меняющаяся тональность)
146
544 / 440 Гц (NF S 32-001)
EN54-3:
Область применения оповещения
EN 54-23 категория O:
см. документ 30303-005-1
см. документ 30303-005-1
Класс защиты окружающей среды Б
Монтажное положение Произвольное Лампой вниз
Испытания проводились с использованием мембранного ниппеля (в комплекте) и внешних крепежных
отверстий.
Союз
страховщиков
PA1:
G 212115,
PA X 1
-
05:
G 212188
G 212115, см. Директиву ЕС по строительным изделиям (89/106/EWG) (в процессе подготовки)
GLxxxxx (в процессе подготовки)
GL
Класс безопасности по отношению к окружающей среде C, H, EMC1
UL, cUL UCST, UCST7, ULSZ, ULSZ7, UEES, UEES7 (Дополнительную информацию см. на стр. 7)
Ввод в эксплуатацию
Указания по технике безопасности:
-
Подключение
электрооборудования
разрешается
выполнять
только
уполномоченным
сотрудникам
в
соответствии
с
предписаниями
действующего
законодательства
.
-
Осторожно
:
высокое
напряжение
во
время
работы
-
Во
время
монтажных
работ
питание
должно
быть
отключено
от
устройства
.
-
Перед
вводом
в
эксплуатацию
следует
проверить
соответствие
напряжения
данным
,
указанным
на
заводской
табличке
.
При
подключении
неверного
напряжения
оборудование
может
быть
повреждено
или
выведено
из
строя
.
-
Во
время
монтажа
необходимо
предусмотреть
меры
,
чтобы
проводка
не
могла
быть
вытянута
или
перекручена
.
Следует
принять
во
внимание
,
что
данные
устройства
не
являются
переносными
.
-
ВНИМАНИЕ
!
При
монтаже
проводка
не
должна
касаться
острых
краёв
,
углов
и
внутренних
компонентов
.
-
Отверстие
рупора
не
должно
быть
направлено
вверх
,
особенно
при
использовании
вне
помещения
или
в
запылённой
среде
.
-
Надлежащее
функционирование
устройства
гарантируется
только
в
том
случае
,
если
верхняя
и
нижняя
части
смонтированы
правильно
.
Комбинированный
оповещатель
(
свет
+
звук
) PA X 1-05:
-
Чтобы
исключить
отрицательное
влияние
на
зрение
,
не
рекомендуется
долго
смотреть
на
включенную
проблесковую
лампу
.
Открывание корпуса: Закрывание корпуса
1. 2.
1. 2.
Корпус закрывается путём
Верхнюю часть можно
поворота винтов крышки
снять после поворота
до фиксации в конечном
винтов крышки.
положении.
3/8
3/8
Устройство
поставляется
в
открытом
виде
.
В
качестве
аксессуаров
предлагаются
пломбировочные
пробки
.
Кабельный ввод
Для
сохранения
имеющегося
класса
защиты
в
предусмотренные
отверстия
должны
быть
установлены
кабельные
вводы
класса
IP 66.
Поставляемый
мембранный
ниппель
можно
заменить
резьбовой
втулкой
или
штекерным
соединением
М
12
с
фланцем
М
20.

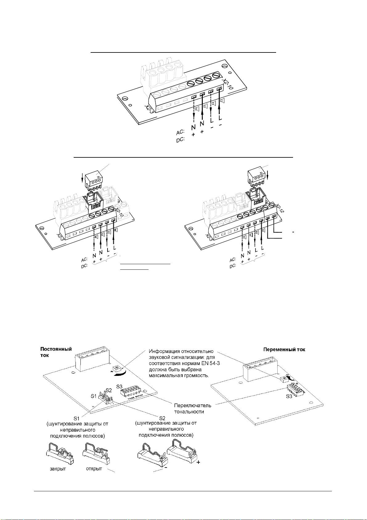
Клеммная колодка в нижней части:
Подключение питания и выбор тональности посредством внешней настройки (С1 и С2)
Подключение рабочего напряжения для звуковой сигнализации:
-L
-L
+N
+N
C1
C1
X2
C2
C2
Betriebsspannungs-
anschluss
Подключение рабочего напряжения для звукового и светового оповещения:
Stecker von der Blitzleuchtenplatine
X3
X4
-L
+N
-L
-L
+N
+N
C1
C1
C2
X2
C2
X2
Schallgeber und Blitzleuchte
Betriebsspannungs-
anschluss
085 501 944k 30303-004k 19
anschluss für Blitzleuchte:
X4
X3
-L
+N
-L
Betriebsspannungs-
-L
+N
+N
C1
L
C1
C2
N
+
C2
AC:
DC:
Stecker von der Blitzleuchtenplatine
Betriebsspannungs-
anschluss für Schallgeber
Общее
подключение
звукового
Раздельное
подключение
и
светового
оповещения
звукового
и
светового
оповещения
(
вид
поставляемого
изделия
)
Тональность
можно
выбрать
с
помощью
переключателя
S3 (
задающая
сигнал
плата
в
верхней
части
).
Описание
возможных
тональностей
см
.
в
таблице
в
приложении
.
После
подключения
питания
активируется
звук
выбранной
тональности
.
Клеммная колодка (в верхней части устройства):
Внимание!
Переключатель S2 может
быть только в положении
«-» или «+».
«Открытое» положение не
допускается, т.к. может
привести к некорректной
работе.
Подключение рабочего
напряжения
Штекер платы
проблесковой лампы
Штекер платы
проблесковой лампы
Подключение
рабочего напряжения
для световой
сигнализации
Подключение рабочего
напряжения для звукового
оповещения
Подключение рабочего
напряжения для
светового и звукового
оповещения
предварительная
установка.

Изменение тональности посредством внешней настройки
Для
случаев
,
когда
требуется
более
одной
звуковой
тональности
,
посредством
электрической
настройки
можно
выбрать
до
трёх
дополнительных
тонов
.
Прежде
всего
,
устанавливается
основная
тональность
(
♪
,
см
.
таблицу
в
приложении
)
с
помощью
переключателя
S3
на
задающей
сигнал
плате
.
Дополнительную
тональность
(C1, C2, C1+C2)
см
.
в
таблице
«
Выбор
тональности
»
в
приложении
.
Выбор тональности через вход управления (TAS)
Версия, работающая от постоянного тока:
При
правильном
подключении
полюсов
выбор
тональности
осуществляется
через
входы
С
1
и
С
2
клеммной
колодки
.
При
этом
должны
быть
подключены
как
входы
управления
,
так
и
напряжение
питания
.
Переключатель
S1
на
задающей
сигнал
пластине
открыт
.
S1
С
помощью
переключателя
S2
на
задающей
сигнал
пластине
осуществляется
выбор
или
управляющего
напряжения
(«+»
или
«–»).
«+»:
положительная
настройка
«–»:
отрицательная
настройка
(
заводская
)
S2
S2
Внимание:
Если
управляющее
напряжение
превосходит
напряжение
питания
или
напряжение
питания
отсутствует
,
ток
питания
подаётся
через
входы
управления
.
При
этом
нагрузка
не
должна
превышать
допустимую
.
Версия, работающая от переменного тока:
В
версии
,
работающей
от
переменного
тока
,
выбор
тональности
осуществляется
посредством
подключения
фазы
«L»
напряжения
питания
к
входу
управления
С
1
или
С
2.
При
этом
должны
быть
подключены
как
входы
управления
,
так
и
линия
питания
.
Выбор тональности путём подключения питания к входу управления TAV – для всех версий
постоянного тока
Рабочее
напряжение
можно
подключить
к
звуковой
сигнализации
через
входы
управления
С
1
или
С
2
на
клеммной
колодке
.
В
этом
случае
входы
служат
как
для
выбора
тональности
,
так
и
подачи
питания
.
Отрицательный
полюс
звуковой
сигнализации
должен
быть
подключен
.
Основная
тональность
устанавливается
путём подключения положительного контакта к положительному полюсу присоединительной планки (♪); при
подключении
входов
C1
и
C2
настраивается
соответствующая
тональность
.
При
одновременном
подключении
положительного
контакта
к
С
1
и
С
2
выбирается
тональность
«
С
1+
С
2».
Переключатель
S2
на
задающей
сигнал
пластине
должен
находиться
в
положении
«+».
S1
S2
Выбор тональности путём изменения полярности TAR – для всех версий постоянного тока
(кроме опции SSM)
Если
переключатель
S1
на
задающей
пластине
включен
,
путём
изменения
полярности
рабочего
напряжения
помимо
основной
тональности
(
♪
)
можно
выбрать
тональность
«C1+C2».
Переключатель
S2
должен
быть
в
положении
«+».
Входы
управления
С
1
и
С
2
на
присоединительной
планке
не
должны
быть
подключены
.
S1
S2
085 501 944k 30303-004k 20
Модель для
постоянного тока
Заводская
настройка

Опция SSM (Модуль плавного пуска) (только 24 В пост. Тока):
-
Максимальный
пусковой
ток
:
085 501 944k 30303-004k 21
:
макс.
2,1 A
:
макс.
2,1 A
-
К
устройству
подводится
напряжение
питания
,
превышающее
7
В
-
Резистор
контроля
кабеля
Диапазон
рабочего
напряжения
: 18 – 30
В
пост
.
тока
Резистор контроля цепи
Резистор (1КОм) на подключении рабочего
Widerstand für Leitungsüberwachung (1KOhm)
напряжения.
am Betriebsspannungsanschluss.
-L
-L
Положение Резистора в последнем устройстве при
Position des Widerstandes bei Parallelschaltung
+N
+N
C1
параллельном подключении нескольких звуковых
C1
von mehreren Schallgebern im letzten Gerät.
X2
C2
C2
оповещателей.
nicht benötigte Widerstände entfernen
Техническое обслуживание и поддержание в исправном состоянии
Для
данного
устройства
специальное
техническое
обслуживание
не
требуется
.
Очистка
наружных
поверхностей
осуществляется
с
помощью
слабого
мыльного
раствора
без
использования
растворителей
.
Разрешается
использовать
устройство
только
в
неповреждённом
состоянии
,
согласно
техническим
характеристикам
.
При
изменении
конструкции
,
модификации
оборудования
,
его
неправильном
использовании
и
использовании
не
по
назначению
,
а
также
при
несоблюдении
указаний
данного
руководства
гарантия
теряет
свою
силу
.
Разрешается
использовать
только
оригинальные
запасные
части
.
Ремонт
производится
только
на
предприятии
-
изготовителе
.

Anhang/ Appendix/ Annexe
„Tonartentabelle“ und „Ansteuerung der Töne“
„Tone table“ and „Selection of the tones“
«Tableau des sons» et «Activation des sons»
Tonartentabelle/ Tone table/ Tableau de sons
Grund-
085 501 944k 30303-004k 22
Ton-Nr.
Beschreibung/ Description
(♪)
1
Kein Ton/ Silence
Saw tooth, Germany DIN
1200Hz
1s
2
*
33404-3 (emergency signal),
PFEER PTAP
500Hz
970Hz
1s
Slow whoop, fire alarm, UK
9
BS5839-1
800Hz
970Hz
20ms
11
Whoop (fast)
800Hz
900Hz
0,3s
13
Whoop
700Hz
0,6s
1200Hz
3,5s
Slow whoop, evacuation,
15
Netherlands NEN 2575
500Hz
0,5s
1200Hz
3,75s
Slow whoop, evacuation
16
Australia AS2220
0,25s
500Hz
775Hz
0,85s
18
Slow whoop, NFPA
422Hz
1s
1200Hz
0,5s
Whoop, Australia AS1670,
22
ISO8201
500Hz
1,5s
0,5s
2400Hz
3s
const.
23
Siren
500Hz
1200Hz
3s
const.
24
Siren
300Hz
800Hz
3s
const.
25
Siren
300Hz
1000Hz
10s
40s
10s
26
Industrial alarm (Germany)
150Hz
2900Hz
0,5s
27
Sweeping
2400Hz 0,5s
2900Hz
10ms
29
Sweeping (fast)
2400Hz 10ms
2900Hz
70ms
30
Sweeping
2400Hz 70ms
1600Hz
1s
Sweeping,
31
France NF C 48-265
1400Hz
0,5s
1000Hz
0,5s
Sweeping, UK BS5839-1
33
(medium sweep)
800Hz 0,5s
1000Hz
10ms
34
Sweeping (fast)
800Hz 10ms
1000Hz
70ms
Sweeping,
35
UK BS5839-1 (fast sweep)
800Hz 70ms
1500Hz
1,5s
36
Sweeping
700Hz 1,5s
1200Hz
1,5s
43
Sweeping
500Hz 1,5s
1200Hz
1s
Sweeping, IMO 3d, Germany
44
KTA3901 evacuation
500Hz 1s
1200Hz
3s
45
Sweeping
500Hz 3s
1500Hz
7s
Sweeping,
46
Finland General Alarm
500Hz 7s
52
Continuous
2400Hz
53
Continuous
2000Hz
(♪)
Beschreibung/ Description
54
Continuous, Finland All Clear
1500Hz
55
Continuous
1200Hz
Continuous, PFEER (Gasa-
56
1000Hz
larm)
57
Continuous, UK BS5839-1
950Hz
59
Continuous
880Hz
60
Continuous
825Hz
61
Continuous
800Hz
63
Continuous
725Hz
Continuous, Sweden
65
660Hz
SS031711 (All Clear)
66
Continuous
554Hz
Continuous, Germany
67
500Hz
KTA3901 (All Clear)
68
Continuous
470Hz
69
Continuous
440Hz
71
Continuous
340Hz
2400Hz
77
Intermittent
0,5s 0,5s
Intermittent, PFEER (General
1000Hz
82
Alarm), UK BS5839-1 (Back-
up Alarm)
0,5s 0,5s
1000Hz
Intermittent, PFEER (General
83
Alarm)
1s 1s
950Hz
88
Intermittent
1s 1s
825Hz
90
Intermittent
0,5s 0,5s
800Hz
91
Intermittent
0,25s 0,25s
800Hz
92
Intermittent
0,25s
1s
800Hz
Intermittent (fast), electrome-
93
chanical horn
4ms 4ms
725Hz
97
Intermittent
0,7s
0,3s
700Hz
Intermittent, Sweden SS
98
031711 (Imminent Danger)
0,125s 0,125s
680Hz
Intermittent, Industrial Alarm
100
(Germany)
0,875s 0,875s
Intermittent, Sweden
660Hz
101
SS031711 (Important Mes-
sage (Pre Mess))
6,5s
13s
660Hz
Intermittent, Sweden
102
SS031711 (Local Warning)
0,5s 0,5s
660Hz
Intermittent, Sweden
103
SS031711 (Air Raid)
1,8s 1,8s
Intermittent, Sweden
660Hz
104
SS031711 (Imminent Dan-
ger)
150ms 150ms
500Hz
Intermittent, Germany
107
KTA3901 (evacuation)
0,25s
0,75s
420Hz
Intermittent, Australia
109
AS2220,AS1610, AS1670
0,625s 0,625s
1450Hz
Intermittent (fast variable),
110
Bell
0,69ms
Intermittent, ISO8201 (emer-
470Hz
111
gency evacuation signal),
0,5s
USA (evacuation)
0,5s
1,5s
950Hz
Intermittent, ISO8201 (emer-
112
0,5s
gency evacuation signal)
0,5s
1,5s
Intermittent, ISO8201 (emer-
2850Hz
113
gency evacuation signal)
0,5s
treble tone
0,5s
1,5s
EN54
-
3
EN54
-
3
EN54
-
3
EN54
-
3

Grund-
085 501 944k 30303-004k 23
Ton-Nr.
Beschreibung/ Description
(♪)
950Hz
Intermittent,
2s
115
0,5s
IMO (Telefon Call)
0,5s
1s
950Hz
Intermittent, IMO
3s1s
116
(abandon ship)
1s 1s
Intermittent,
825Hz
IMO SOLAS III/50 +
117
SOLAS III/6.4 (General
Alarm)
2,5s
7s
2,5s
2900Hz
0,5s
122
Alternating
2400Hz
0,5s
2900Hz
0,25s
123
Alternating
2400Hz
0,25s
2000Hz
0,5s
124
Alternating, Singapore
1000Hz
0,5s
1400Hz
20ms
125
Alternating
1200Hz
20ms
1025Hz
0,25s
128
Alternating
825Hz
0,25s
1000Hz
Alternating, UK BS5839-1
0,5s
130
(Fire Alarm)
800Hz
0,5s
1000Hz
Alternating, UK BS5839-1
0,25s
131
(Fire Alarm, Level crossing)
800Hz
0,25s
Alternating, UK BS5839-1
1000Hz
0,125s
135
(Fire Alarm, increased urgen-
800Hz
0,125s
cy – Level crossing)
900Hz
0,25s
142
Alternating
500Hz
0,25s
660Hz
Alternating,
0,125s
143
Germany Industrial Alarm
440Hz
0,125s
1s
144
Alternating
440Hz
1s
Alternating,
554Hz
146
France NFS 32-001 (fire
0,1s
440Hz
0,4s
alarm)
Alternating,
147
Sweden SS031711 (turn out)
554Hz
1s
440Hz
1s
554Hz
Alternating, Sweden
0,5s
148
SS031711 (turn out)
440Hz
0,5s
800Hz
152
Alternating-intermittent
650Hz
0,25s
0,25s
2s
Ansteuerung der Töne/ Selection of the tones/
Activation des sons:
Tonartenschalter/ Selector –switch
External Tone Control
(Einstellung des Grundtones/
Adjusting the base tone)
C1 C2 C1+C2
Grund-Ton
Tone
Tone
Tone
1 2 3 4 5 6
No.
(
♪
)
No.
No.
No.
1 2 88 57
ON
2
*
128 112 57
ON
2 26 100 93
ON
ON
2 61 131 112
ON
9 57 11 82
ON
ON
15 131 52 112
ON
ON
16 109 52 56
ON
ON
ON
18 111 57 68
ON
22 16 109 68
ON
ON
23 131 52 112
ON
ON
24 131 52 131
ON
ON
ON
25 131 52 92
ON
ON
Tonartenschalter/ Selector –switch
External Tone Control
(Einstellung des Grundtones/
Adjusting the base tone)
C1 C2 C1+C2
26 2 100 93
Grund-Ton
Tone
Tone
Tone
1 2 3 4 5 6
No.
(♪)
No.
No.
No.
ON
ON
ON
27 123 52 92
ON
ON
ON
29 35 52 61
ON
ON
ON
ON
30 27 52 77
ON
31 131 52 57
ON
ON
33 30 52 35
ON
ON
34 35 52 93
ON
ON
ON
35 27 52 110
ON
ON
36 146 67 57
ON
ON
ON
43 131 52 91
ON
ON
ON
45 2 57 93
ON
ON
ON
ON
52 15 65 82
ON
ON
54 46 54 131
ON
ON
ON
55 131 52 128
ON
ON
ON
56 82 35 33
ON
ON
ON
ON
59 143 59 101
ON
ON
ON
60 131 52 125
ON
ON
ON
ON
65 131 52 93
ON
ON
ON
ON
66 110 52 107
ON
ON
ON
ON
ON
69 131 52 110
ON
71 131 52 93
ON
ON
77 61 52 122
ON
ON
82 131 52 83
ON
ON
ON
83 56 2 82
ON
ON
88 2 57 128
ON
ON
ON
90 131 52 125
ON
ON
ON
91 30 52 110
ON
ON
ON
ON
92 33 52 57
ON
ON
93 2 128 57
ON
ON
ON
97 2 63 93
ON
ON
ON
100 131 52 125
ON
ON
ON
ON
101 98 102 65
ON
ON
ON
103 131 65 147
ON
ON
ON
ON
104 103 65 101
ON
ON
ON
ON
109 16 52 22
ON
ON
ON
ON
ON
110 131 61 91
ON
ON
112 2 57 128
ON
ON
ON
113 52 123 104
ON
ON
ON
115 117 116 44
ON
ON
ON
ON
116 117 93 125
ON
ON
ON
117 93 116 125
ON
ON
ON
ON
123 27 52 77
ON
ON
ON
ON
124 53 83 2
ON
ON
ON
ON
ON
130 2 107 67
ON
ON
ON
131 2 112 57
ON
ON
ON
ON
135 16 56 109
ON
ON
ON
ON
142 2 54 88
ON
ON
ON
ON
ON
143 59 93 33
ON
ON
ON
ON
144 110 61 2
ON
ON
ON
ON
ON
146 31 67 57
ON
ON
ON
ON
ON
148 131 52 92
ON
ON
ON
ON
ON
ON
650Hz
152 110 61 13
*
Werkseinstellung/ Factory setting/ Réglage d’usine/
Заводская
настройка
EN54
-
3
EN54
-
3

12/2013
Pfannenberg GmbH
Werner-Witt-Straße 1
·
D- 21035 Hamburg
Tel.: +49/ (0)40/ 734 12-0
·
Fax: +49/ (0)40/ 734 12-101
technical.support @pfannenberg.com
http://www.pfannenberg.com
085501944

