Kospel SB: LV
LV: Kospel SB

Drošas un nepārtrauktas
darbības lietošanas
instrukcija
1. Instrukcijāminēto lietošanasnoteikumuievērošananodrošinaierīču pareizu
uzstādīšanu,kāarīilgstošuundrošutoekspluatāciju.
2. Neatbilstošainstrukcijaikarstāūdenstvertnesuzstādīšanaunekspluatācijanav
LV
pieļaujama,jovarnovestpieavārijasungarantijaszaudēšanas.
3. Karstāūdenstvertninedrīkstuzstādīttelpā,kurātemperatūrazemākapar0°C.
4. Karstāūdenstvertnesmontāžu,spriegumupievienošanuunpalaišanujāveic
specializētamapkalpojošampersonālam.
5. Karstāūdenstvertniuzstādavertikālāstāvoklīuztrīsieskrūvējamāmkājām.
6. Karstāūdenstvertnijāuzstādatādāvietāunveidā,laiavārijasnotecesgadījumā
ūdensneapplūdinātutelpu.
7. Pēcuzstādīšanaskarstāūdenstvertnijāpieslēdzpieūdensapgādestīkla,kā
arīpieapkuressistēmasunsaulesūdenssildīšanasiekārtassaskaņāaršajā
instrukcijā izvietotām shēmām. Nepareizaveidapieslēgums lietotājam liedz
izmantotgarantijuunvarnovestpiekarstāūdenstvertnesavārijas.
8. Pieslēgšanapieūdensapgādestīklajāveicsaskaņāarapsaitesprasībām.
9. Karstāūdenstvertnijāpieslēdzpieūdensvada,kurspiediensnepārsniedz0,6
MPa.Jaūdenstīklāspiedienspārsniedz0,6MPa,pirmskarstāūdenstvertnes
jāuzstādaspiedienareduktors.
10. Nodrošībasvārstanotecescaurulespilošsūdensirnormālsstāvoklisunto
nevajagnovērst,drošībasvārstabloķēšanavarnovestpieavārijas.
11. Aizliegtsekspluatētkarstāūdenstvertni,jabojātsdrošībasvārsts.
12. Karstāūdenstvertnēuzstādītsmagnijaanods,kuršpapildusradaaktīvuantiko-
rozijasaizsardzību.Anodsirekspluatācijasmateriālsunnotiektānolietošanās.
Anoda nolietojumu jāpārbauda pēc 12 mēnešu ekspluatācijas, bet pēc 18
mēnešuekspluatācijastasjāmaina.
13. Nominālātemperatūrakarstāūdenstvertnēnedrīkstpārsniegt80°C.
Papilduskatrākarstāūdenstvertnēvaruzstādītelektriskotenuartermostatu(pie-
mēramGRBT1.4,GRBT2.0,...).Tenuievietokorķaarizmēru1½„vietā.Tenu
maksimāliegarumi:
- 360mmpriekštilpumiem100,120,140litri,
- 450mmpriekštilpuma200litri,
- 550mmpriekštilpumiem250,300litri,
- 600mmpriekštilpuma400litri.
PL;DE;FR;GB;LV;RU-036_f.456
27

Pievienošana apkures
CW
sistēmai
ZG2
Pievienošanuapkuressistēmaijāveic
C
ar 1” vai ¾”savienotājcauruļu palī-
PG2
dzību (SW100;SW120;SW140) un
ZG1
pirmstiemjāuzstādanoslēgventiļi.Lai
karstāūdenstvertnēnodrošinātupun-
ktā„Tehniskiedati”norādītosražības
parametrus, sistēmās ar piespiedu
cirkulāciju(sūknisapkuressistēmā),
PG1
ZB
jānodrošina atbilstošs siltumnesēja
ZW
plūsmaslīmenis.ModeļosSWiebū-
vēts1siltummainis,betmodeļosSB
iebūvēti2siltummaiņi,piekuriemvar
modelSB
NW
pieslēgt,piemēram,apkureskatluun
saulesūdenssildīšanasiekārtu.ModeļiSWZunSBZaprīkotiarpapildussavienoju-
miem,piekuriemvarpieslēgtpapildustvertni.
Pievienošana ūdensvadam
Pieslēgumuūdensvadatīklamjāveicsaskaņāarsaistošajāmnormām.Karstāūdens
tvertneirspiedienaierīce,kuraparedzētapievienošanaiūdensvadam,kuramspiediens
nepārsniedz0,6MPa.Jaspiedienspārsniedz0,6MPa,tadpirmskarstāūdenstvertnes
nepieciešamsuzstādītspiedienareduktoru.
Karstāūdenstvertnipieslēdzpieūdensvadatīklasekojošāveidā
:
- pieaukstāūdenspadeves[1]nepieciešamsuzstādītdrošībasvārstuarnoteces
cauruli,kuršatveraspiespiediena6bar;starpkarstāūdenstvertniundrošības
vārstunedrīkstuzstādītnoslēgventiļusvaicituarmatūru,kasvarētusamazināt
plūsmaslīmeni;drošībasvārstuarnotecescaurulijāuzstādatā,laibūturedzama
ūdensnoplūde,
- karstāūdenstvertniardrošībasvārstujāpieslēdzpieūdensvadatīkla,
- aukstāūdenspadeveinepieciešamsuzstādītnoslēgvārstuunnolaišanasventili.
Karstāūdensapgādijāpievieno¾”vītnesatvērumam,kuršatrodasūdenssildītāja
augšējādaļā.Katrakarstāūdenstvertneaprīkotaar¾”vītnesatvērumu[C]karstā
ūdensrecirkulācijasnodrošināšanai.
28

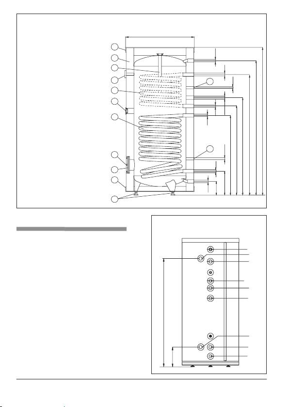
Karstā ūdens tvertņu SW-100; SW120; SW140 uzbūve
ø500
[6] - devēja čaula
16
[10] - vītnes atvērums tenam ar
termostatu ( korķis 1½” )
15
CW
[11] - siltummainis
[13] - magnija anods
G3/4
[14] - termometrs
14
G3/4
[15] - termiskā izolācija
C
[16] - augšējais apvalks
13
ZG1
[17] - apakšējais apvalks
LV
[18] - kājas
11
H
ZW - aukstais ūdens
G3/4
CW - karstais ūdens
G
6
G1/2
C - cirkulācija
E
ZG1, ZG2 - siltumnesēja ieeja
10
PG1, PG2 - siltumnesēja izeja
C
A-H - norādītie izmēri tabulā „Tehnis-
G3/4
kie dati”
PG1
ZW
214
111
G3/4
1817
Karstā ūdens tvertņu SB; SBZ; SW; SWZ - 200 uzbūve
ø595
[6] - devēja čaula
2120
[10] - vītnes atvērums tenam ar ter-
16
mostatu ( korķis 1½” )
CW
G3/4
15
[11] - apakšējais siltummainis
13
[12] - augšējais siltummainis
G1
ZG2
[13] - magnija anods
[14] - termometrs
14
6
G1/2
[15] - termiskā izolācija
12
[16] - augšējais apvalks
C
[17] - apakšējais apvalks
10
PG2
[18] - kājas
ZG1
G1
[20] - tīrīšanas atvere Ø150/115
G3/4
1610
[21] - tīrīšanas atveres vāks
G1
1464
11
ZW - aukstais ūdens
1291
CW - karstais ūdens
E
C - cirkulācija
6
G1/2
903
ZG1, ZG2 - siltumnesēja ieeja
PG1, PG2 - siltumnesēja izeja
813
G1
PG1
B-E - norādītie izmēri tabulā „Tehniskie
dati”
ZW
B
17
Augšējais siltummainis (vītņu atvērumi
127
ZG2, PG2) un augšējā devēja čaula ir
G3/4
tikai modeļiem SB un SBZ.
18
PL;DE;FR;GB;LV;RU-036_f.456
29

Karstā ūdens tvertņu SB; SBZ; SW; SWZ-250, 300, 400 uzbūve
[6] - devēja čaula
ø695 (250, 300)
[10] - vītnes atvērums tenam ar termostatu
ø755 (400)
(korķis 1½”)
16
[11] - apakšējais siltummainis
G3/4
15
CW
[12] - augšējais siltummainis
[13] - magnija anods
13
G1
ZG2
[14] - termometrs
[15] - termiskā izolācija
14
6
G1/2
[16] - augšējais apvalks
12
C
[17] - apakšējais apvalks
[18] - kājas
10
PG2
[20] - tīrīšanas atvere Ø150/115
ZG1
G1
G3/4
[21] - tīrīšanas atveres vāks
11
ZW - aukstais ūdens
G1
H
CW - karstais ūdens
G
C - cirkulācija
F
ZG1, ZG2 - siltumnesēja ieeja
E
6
D
PG1, PG2 - siltumnesēja izeja
G1/2
20
C
A-I - norādītie izmēri tabulā „Tehniskie
dati”
G1
PG1
21
ZW
17
Augšējais siltummainis (vītņu
B
atvērumi ZG2, PG2) un augšējā
A
G3/4
devēja čaula ir tikai modeļiem
18
SB un SBZ.
Palaišana
Vītņu atvērumu SWZ un SBZ novietojums, lai
pieslēgtu papildus tvertni karstā ūdens tvertnei.
Pirmskarstāūdens tvertnespalaišanas vi-
CW
zuālijāpārbaudatāpievienojumiunatbilstība
ZG3(1”)
montāžasshēmāminstrukcijā.
ZG2
Karstā ūdens tvertne jāpiepilda ar ūdeni
sekojošāveidā:
C
-
atvērtaukstāūdenspadevesnoslēgventili,
PG2
- atvērtkarstāūdensizejasnoslēgventili
ZG1
(ūdensstrūklabezgaisaburbuļiemlie-
cinaparpiepildītutvertni),
I
- aizvērtkarstāūdensizejasnoslēgventili.
Atvērt siltumnesēja padeves noslēgventili.
Pārbaudītūdenscauruļuunsiltumnesējacau-
PG3(1”)
ruļuhermētiskumu.Pārbaudītdrošībasvār-
PG1
stadarbu(saskaņāarražotājainstrukciju).
ZW
B
30

Ekspluatācija
Karstāūdenstvertneirdrošaierīceekspluatācijā,jatiekizpildītišādinosacījumi:
• Ikpēc14dienāmveicamadrošībasvārstapārbaude(janenotiekūdensizplūde,
tadvārstsirbojātsuntāekspluatācijairaizliegta).
• Periodiskijāveictvertnestīrīšananonosēdumiem.
• Tīrīšanasbiežumsatkarīgsnoūdenscietības.Šodarbujāveicspecializētam
servisacentram.
LV
• Reizi18mēnešosjāveicmagnijaanodamaiņa:
- anodamaiņa[13](attiecasuzvisāmkarstāūdenstvertnēm,izņemot200l):
noņemtvāku[16];izņemtizolācijaskārtuzemtā;aiztaisītaukstāūdenspa-
devesventili;atvērtkarstāūdenspadevesventili;atvērtnolaišanasventili;
nolaisttādudaudzumuūdens,laivarētunomainītanodu,nenopludinotšajā
brīdītelpu;atskrūvētkorķiunizskrūvētanodu.
- anodamaiņa[13] (karstāūdens tvertnei 200l):noņemt vāku[16];izņemt
izolācijaskārtuzemtā;aiztaisītaukstāūdenspadevesventili;atvērtkarstā
ūdenspadevesventili;atvērtnolaišanasventili;nolaisttādudaudzumuūdens,
laivarētunomainītanodu,nenopludinotšajābrīdītelpu;noņemttīrīšanas
atvērumavāku[21]unizskrūvētanodu.
• Higiēnasnolūkosperiodiskiuzsildītkarstāūdenstvertnivirs70°C.
• Parvisiemkarstāūdenstvertnesbojājumiemnepieciešamsziņotservisacen-
tram.
• Siltumnesējapadevesunkarstāūdenspadevescaurulesrekomandēizolētar
siltumizolāciju.
Iepriekš minētāsprasībaslietotājsveic pats parsaviemlīdzekļiem,tie neietilpst
garantijasapkalpošanā.
Karstā ūdens tvertnes
iztukšošana
Laiiztukšotukarstāūdenstvertni,nepieciešams:
• aizvērtsiltumnesējapadevesnoslēgventili,
• aizvērtaukstāūdenspadevesnoslēgventili,
• atvērtnolaišanasventili.
PL;DE;FR;GB;LV;RU-036_f.456
31

Tehniskie dati
SW;SWZ
Karstāūdenstvertne SW
SB;SBZ
Nominālaistilpums
l
100 120 140 200 250 300 400
tvertne
0,6
Nominālaisspiediens
MPa
siltummainis 1
Nominālātemperatūra
°C
80
2
Augšējāsiltmmaiņasildvirsma
m
- 0,75 0,8 0,9
3
Augšējāsiltmmaiņatilpums
dm
- 4,5 5 5,5
29* 31* 34*
SB;SBZ
Augšējāsiltmmaiņajauda
kW
-
10** 10** 11**
714* 756* 838*
Augšējāsiltmmaiņaražība
l/h
-
234** 248** 277**
2
1,2
Apakšējāsiltmmaiņasildvirsma
m
0,8 1,0 1,1
1,5 1,7
1,0
3
7,4
Apakšējāsiltmmaiņatilpums
dm
3,6 4,3 6,4
9,1 10
5,8
44*
34* 41* 40*
53* 58*
37*
Apakšējāsiltmmaiņajauda
kW
15**
11** 13** 13**
18** 20**
12**
1071*
825* 1000* 996*
1293* 1420*
918*
Apakšējāsiltmmaiņaražība
l/h
358**
271** 331** 332**
435** 483**
304**
Diennaktssiltumazudumi***
kWh
1,2 1,3 1,4 2 2,1 2,7 2,4
82
87
100,5
132
Svarsbezūdens
kg
46 52 54,5
97
99
115
150
A
111 127 124
B 214 258 241 254
740
C 727 822 813
852 856
628
D -
-
-
-
-
903
747
981
986
913
841
953
986
Izmēri
E 817 912
mm
993
837
1071
1076
-
-
-
-
F -
1291
1079
1313
1319
G 1064 1235 1305 1464 1230 1646 1490
H 1195 1365 1435 1610 1380 1615 1660
I - 1334 1116 1350 1377
Magnijaanods3/4"ø22
500 800 -
450
MagnijaanodsM8ø33 -
mm
-
-
-
400
MagnijaanodsM8ø40 -
500
400
500
*80/10/45°C
siltumnesējatemperatūra/ūdenstemperatūraieejā/patērējamāūdenstempe-
-
}
**55/10/45°C
ratūra;siltumnesējaplūsmacaursiltummaini3m³/st
***uzturotūdenstemperatūru60°Clīmenī
32

