I.R.I.S. IRISNotes Express 2 – страница 2
Инструкция к Сканеру I.R.I.S. IRISNotes Express 2

Auswechseln der Mine (die Mine wird mit der Kappe des Stiftes
herausgezogen):
- Drücken Sie das obere Ende der Kappe fest gegen die Stiftspitze.
- Schieben Sie die neue Mine ein.
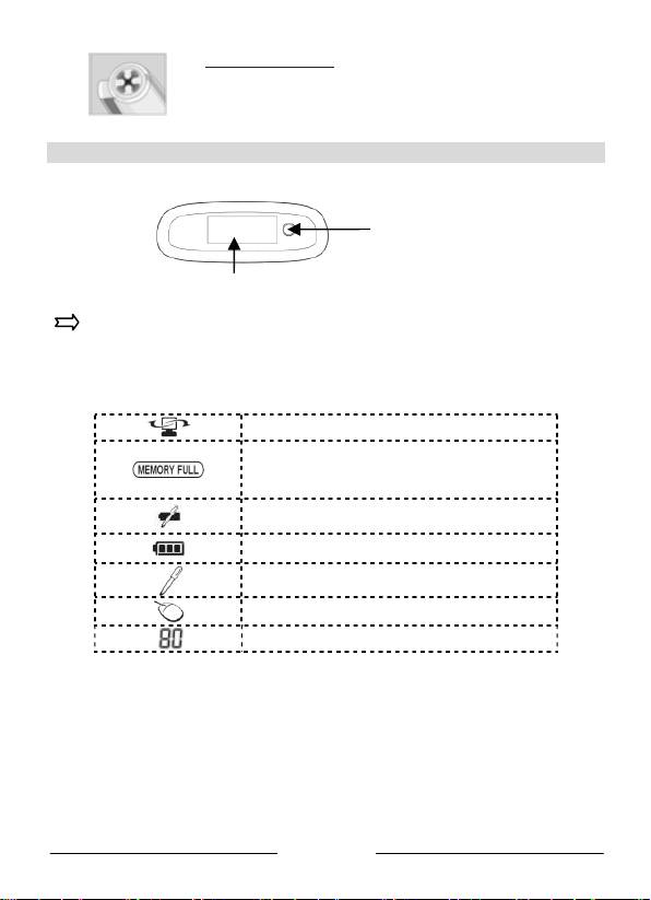
Der Empf än ger
Schalter EIN/AUS
Zum Einschalten 5 Sekunden
gedrückt halten
LCD-Bildschirm
Laden Sie den Empfänger für mindestens 30 Minuten vor Verwendung des Produkts auf
(die vollständige Ladedauer beträgt 3,5 Stunden): Stecken Sie das USB-Kabel in den
Empfänger und den USB-Anschluss Ihres PCs ein.
Der LCD-Bildschirm zeigt die folgenden Statusinformationen an:
Empfänger mit PC verbunden
Speicher VOLL
(Laden Sie die Dateien auf den PC und löschen Sie
sie aus dem Speicher)
Batterie im Stift schwac h
Batterie des Empfängers schwach
Notizmodus
Mausmodus
Anzahl an gespeicherten Notizen
Deutsch

Wie arbeite ich mit dem Digitalstift?
Schreiben von Notizen
Legen Sie den Empfänger mittig an den oberen Rand des A4-Blattes. Schalten Sie ihn ein, indem
Sie für ca. 5 Sekunden die Ein-/Austaste drücken.
Befestigen Sie den Empfänger am Papierrand,
Verwenden Sie dazu die Klammern
mit der Vorderseite nach oben
auf der Rückseite des Empfängers
Halten Sie den Digitalstift fest in der Hand und schreiben Sie normal. Vermeiden Sie schräge
Zeilen.
Wenn Sie Ihre Notiz aufgeschrieben haben, drücken Sie einmal auf die Ein-/Austaste. Damit
wird die Notiz im Speicher des Empfängers gespeichert. Das Gerät ist jetzt bereit für eine neue
Notiz. Sie können bis zu 100 Notizen im A4-Format speichern.
Halten Sie den Digitalstift richtig:
Halten Sie ihre Hand nicht zwischen den Digitalstift und den
Empfänger!
Berühren Sie die Schreibspitze des Digitalstifts nicht mit den Fingern!
Um Ihre Notizen auf einen Computer unter Windows oder Mac OS zu übertragen, müssen Sie
zuerst die entsprechende Software installieren.
Installieren der Software unter Windows
1. Um die Anwendung Easy Note Taker zu installieren, legen Sie die
™
IRISNotes
-CD-ROM in das CD-ROM-Laufwerk und
folgen Sie den Anweisungen auf dem Bildschirm.
Nachdem die Installation abgeschlossen ist, klicken Sie auf Fertig stellen.
Daraufhin wird das Symbol Easy Note Taker angezeigt.
™
2. Die Anwendung MyScript Notes Lite befindet sich ebenfalls auf derIRISNotes
-CD-
ROM. Öffnen Sie zum Installieren den Ordner Notes 2.2 Lite auf der CD-ROM und
doppelklicken Sie dann auf setup.exe, um die Installation zu starten.
Klicken Sie nach Abschluss der Installation auf Fertig stellen und nehmen Sie die CD-
ROM aus dem CD-ROM-Laufwerk.
Deutsch

Hochladen von Notizen
- Schließen Sie den Empfänger mit dem USB-Kabel am PC an und starten Sie Easy Note
Taker.
- Klicken Sie im Notizenmanager in der Hauptfunktionsleiste auf Hoc hladen (Upload).
Es werden alle Notizen vom Empfänger auf den PC hochgeladen und Sie können sie auf
dem Bildschirm anzeigen.
Sie können zum Hochladen auch andere
Einstellungen auswählen. Wählen Sie
Präferenzen aus dem
Menü Konfiguration und gehen Sie zur
Registerkarte Mobil:
Verwaltung von Notizen
- Die hochgeladenen Notizen befinden sich im Ordner Mobile Notizen. Sie können mit
dem Notizen-Editor weiter bearbeitet, sortiert, exportiert und per E-Mail als JPEG-
Dateien versendet werden.
Konvertieren von Notizen
- Klicken Sie im Notizenmanager in der Hauptfunktionsleiste auf In Text umwandeln .
- Wählen Sie die Konvertierungseinstellungen in MyScript Notes Lite. Die Konvertierung
wird umgehend durchgeführt.
- Der Text kann dann an andere Anwendungen oder per E-Mail gesendet werden.
Deutsch

Installieren der Software unter Mac OS
TM-
1. Legen Sie die IRISNotes
CD-ROM in das CD-ROM-Laufwer k und doppelklicken Sie
auf das CD-ROM-Symbol auf dem Schreibtisch.
2. Doppelklicken Sie auf NoteTaker.pkg und folgen Sie den Anweisungen auf dem
Bildschirm.
Einstellungen zum Hochl aden Ihrer Notizen
Wenn Sie mit dem Digitalstift schreiben, wird der gesamte Text als eine Serie von Bildern im
TIFF-Format im Speicher des Mobile NoteTaker gespeichert. Von dort müssen sie auf die
Festplatte Ihres Mac hochgeladen werden.
Vorher müssen Sie aber erst die Einstellungen zum Hochladen Ihrer Notizen im NoteTaker
Preference-Werkzeug festlegen.
- Klicken Sie auf das Symbol „NoteTaker Preferences“. Das Fenster NoteTaker
Preferences wird geöffnet:
- Klicken Sie auf das Symbol zum Durchsuchen (...) und legen Sie den Pfad fest, wo Ihr
Mac die Notizen speichern soll.
- Markieren Sie die Option Clear device’s memory (Gerätespeicher leeren), wenn Sie die
Notizen nach jeder Übertragung aus dem Speicher löschen möchten.
- Anschließend klicken Sie auf Save (Sichern), um die Einstellungen zu speichern.
Hochladen von Notizen
Schalten Sie den Empfänger ein und schließen Sie ihn an Ihren Mac an. Die Notizen werden
automatisch hochgeladen. Sie werden im TIFF-Format gespeichert. Doppelklicken Sie auf die
gewünschte TIFF-Datei, um die Notiz anzuzeigen.
Beachten Sie, dass Sie Ihre Notizen jedoch nicht in bearbeitbaren Text konvertieren können.
Deutsch

Verwendung de s Digitalstifts im Mausmodus (PC und Mac)
Sie können den IRISNotes™-Stift auch als Maus verwenden. So wechseln Sie in den
Mausmodus:
PC
Mac
• Schließen Sie den
• Schließen Sie den
Empfänger an Ihren PC an.
Empfänger an Ihren Mac an.
TM
• Halten Sie den Stift direkt vor den
• IRISNotes
wechselt
Empfänger und drücken S ie dann
automatisch in den Mausmodus.
einmal auf die Ein-/Austaste.
- Tippen Sie mit dem Stift auf ein Blatt Papier. Der Cursor wird nun vom Stift gesteuert.
- Bewegen Sie den Stift über einem Blatt, um den Cursor zu bewegen.
- Um ein Objekt anzuklicken, zeigen Sie mit dem Cursor auf das Objekt und tippen Sie
dann mit dem Stift darauf, um es anzuklicken.
- Für einen Rechtsklick auf ein Objekt, zeigen Sie auf das Objekt und tippen Sie mit
dem Stift etwas länger darauf.
®
TM
Hinweis: Bei Windows Vista
und Windows 7 können Sie mit dem IRISNotes
-Stift auch
direkt in Microsoft Office -Anwendungen ab Version 2007 schreiben. Dies funktioniert
®
auch für Mac OS 10.5 in iWork
-Anwendungen ab Version '08.
Weitere Informationen finden Sie unter www.irislink.com/support/userguides.
TM
Weitere Informationen zum IRISNotes
finden Sie unter:
- Handbuch zu Easy Note Taker: verfügbar über das Menü Start von Windows
- Hilfedatei zu MyScript Notes Lite: verfügbar im Menü Hilfe der Software
TM
Sollten bei der Verw endung von IRISNotes
Probleme auftreten, sehen Sie sich die häufig
gestellten Fragen auf unserer Website unter www.irislink.com/support/faq an oder wenden
Sie sich an den technischen Support unter www.irislink.com/support.
Deutsch

Guía de inicio rápido
Esta Guía de inicio rápido proporciona instrucciones generales para instalar y utilizar
TM
IRISNotes
Express 2. Si desea instrucciones detalladas sobre todas las funcionalidades de
TM
IRISNotes
, consulte la Guía del usuario y el archivo ayuda que encontrará en el CD-ROM
de instalación.
TM
IRISNotes
es un dispositivo portátil en forma de bolígrafo para tomar y captura r notas, que
TM
luego podrá editar, guardar y exportar. Con IRISNotes
, podrá convertir al instante en texto
editable sus notas escritas a mano en una gran variedad de idiomas.
Contenido del paquete
TM
- CD-ROM de instalación de IRISNotes
Este CD-ROM contiene las aplicaciones Easy Note Taker y MyScript Notes Lite
(solo para PC).
- Guía de inicio rápido
- Bolígrafo digital, unidad receptora, cable USB retráctil, dos juegos de pilas y tres recargas
de tinta
El bolígrafo digital
! No desmonte el bolígrafo:
Pilas
podría dañarlo.
Punta del
bolígrafo
Desenrosque la tapa
compartimentode las pilas
e introduzca 2 pilas
(GPSR41 o GP392)
con el polo positivo
hacia arriba.
Haga entrar una recarga de tinta por la punta del bolígrafo (recarga estándar M21
de 67 mm de longitud X 2,35 mm) y empújela hasta que quede bien colocada en el interior
del dispositivo.
Español

Para reemplazar la recarga de tinta (el tapón del bolígrafo sirve
también para extraer las recargas de tinta vacías):
- Presione con fuerza la punta del bolígrafo con la parte superior del
tapón y saque la recarga de tinta gastada.
- A continuación, introduzca la recarga nueva del modo indicado
anteriormente.
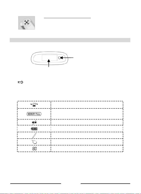
La unidad receptora
Botón de encendido/apagado
Púlselo durante 5 segundos para
encender la unidad.
Pantalla LCD
Cargue la unidad receptora como mínimo 30 minutos antes de utilizar el producto
(necesitará 3 horas y media para cargarla al completo): conecte el cable USB a la
unidad y a un puerto USB de su PC.
La pantalla LCD muestra los siguientes indicadores de estado:
Unidad receptora conectada al PC
Memoria llena
(transfiera los archivos al PC y elimínelos de la
memoria de la unidad)
Batería baja (bolígrafo)
Batería baja (unidad receptora)
Modo de toma de notas
Modo de ratón
Cantidad de notas almacenadas en la memoria
Español

¿Cómo se utiliza el bolígrafo digital?
Tomar n otas
- Coloque la unidad receptora centrada en la parte superior de sus hojas de papel A4.
Mantenga pulsado el botón de encendido durante unos 5 segundos para encenderla.
Fije el rece ptor en el borde del papel y
Utilice los clips sujetapapeles
boca arriba.
que hay en la cara trasera de la unidad receptora.
- Sujete el bolígrafo con firmeza y escriba como lo haría normalmente. Intente evitar que las
líneas queden inclinadas.
- Cuando haya terminado de escribir la nota, pulse el botón de encendido una vez. De este
modo, la nota se guardará en la memoria del receptor. El dispositivo ya estará a punto para
la creación de una nota nueva. Podrá almacenar hasta 100 notas (u hojas) de tamaño A4.
Sujete el bolígrafo correctamente:
! No ponga la mano entre el bolígrafo y la unidad receptora.
! Mantenga los dedos alejados del cono de cristal de la punta del
bolígrafo.
Para transferir sus notas a un PC equipado con Windows o a un ordenador que funcione con Mac
OS, primero deberá instalar el software correspondiente.
Instalar el software en un PC con Windows
TM
1. Para instalar la aplicación Easy Note Taker, introduzca el CD-ROM de IRISNotes
en
el lector de CD del ordenador y siga las instrucciones que aparecen en pantalla.
Una vez haya finalizado la instalación, haga clic en Terminar.
El icono Easy Note Taker aparecerá en el escritorio.
TM
2. Para instalar la aplicación MyScript Notes Lite, explore el CD-ROM de IRISNotes
con el Explorador de Windows.
Abra la carpeta Notes 2.2 Lite y haga doble clic en el archivo setup.exe para iniciar la
instalación.
Una vez haya finalizado la instalación, haga clic en Terminar y extraiga el CD-ROM del
lector.
Español

Transferir notas
- Conecte la unidad receptora a su PC (mediante el cable USB) y ejecute la aplicación
Easy Note Taker.
- En el Administrador de notas, haga clic en la opción Subir (Upload) de la barra de
herramientas principal. Todas las notas almacenadas en el receptor se transferirán al PC y
se podrán visualizar en el monitor.
También podrá seleccionar otras
preferencias para la operación de
carga. Seleccione Preferencias en el
menú Configuración y, a continuación,
diríjase a la ficha Móvil:
Gestionar notas
- Las notas que se hayan copiado al PC estarán en la carpeta Notas de Móvil. Podrá
editarlas utilizando la función de Editar notas, clasificarlas, guardarlas en otras carpetas,
exportarlas y enviarlas por correo electrónico en forma de archivos JPEG.
Convertir notas
- En el Administrator de notas, haga clic en la opción Convertir a texto de la barra de
herramientas principal.
- Seleccione los parámetros de conversión en MyScript Notes Lite. La conversión se
llevará a cabo al instante.
- El texto resultante puede enviarse a otras aplicaciones o por correo electrónico.
Español

Instalar el software en un ordenador con Mac OS
TM
1. Introduzca el CD-ROM de IRISNotes
en el lector de CD del ordenador y haga doble
clic en el icono del CD-ROM del escritorio.
2. Haga doble clic en el archivo NoteTaker.pkg y siga las instrucciones que aparecen en
pantalla.
Defina las preferencias de carga
Cuando utilice el bolígrafo digital para tomar notas, todo lo que escriba se guardará en forma de
imágenes TIFF (Tagged Image File Format) en la memoria del Mobile NoteTaker. Desde aquí,
deberá transferirlas al disco duro de su Mac.
Antes de hacerlo, sin embargo, deberá determinar los parámetros de carga con la herramienta
NoteTaker Preferences:
- Haga clic en el icono de NoteTaker Preferences. Se abrirá la ventana de NoteTaker
Preferences:
- Haga clic en el icono de exploración (...) para determinar en qué carpeta del disco duro de
su Mac se guardarán las notas.
- Seleccione la opción Clear device’s memory (Borrar la memoria del dispositivo) si
desea borrar las notas de la memoria cada vez que las transfiera.
- A continuación, haga clic en Save (Guardar) para guardar las preferencias.
Transferir notas
Encienda la unidad receptora y conéctela a su Mac. Las notas se transferirán automáticamente y
se guardarán en formato TIFF. Haga doble clic en el archivo TIFF que desee para visualizar la
nota.
Tenga en cuenta que no podrá convertir las notas en texto editable.
Español

Utilizar el bolígrafo en el modo de ratón (PC y Mac)
TM
También puede utilizar el bolígrafo de IRIS Notes
como ratón. Para activar el
modo de ratón:
PC
Mac
• Conecte el receptor al PC.
• Conecte el receptor al Mac.
TM
• El modo de ratón de IRISNotes
se
• Sujete el bolígrafo justo por delante del
activará automáticamente.
receptor y, a continuación, pulse el botón
de encendido una vez.
- Toque un trozo de papel con la punta del bolígrafo. El bolígrafo pasará a controlar el
cursor de su pantalla.
- Desplace el bolígrafo por encima de la hoja de papel para mover el cursor.
- Para seleccionar un objeto, dirija el cursor hacia él y, a continuación, toque el papel
con la punta del bolígrafo para hacer clic.
- Para hacer clic con el botón derecho encima de un objeto, dirija el cursor hacia él y,
a continuación, toque el papel con la punta del bolígrafo y déjelo en esta posición
durante unos instantes.
®
TM
Nota: en Windows Vista
y Windows 7, también podrá utilizar el bolígrafo de IRISNotes
para
escribir directamente en las aplicaciones de Microsoft Office 2007 y versiones posteriores.
®
También podrá hacerlo con las aplicaciones de iWork
’08 (y versiones posteriores) si dispone
del sistema opera tivo Mac OS 10.5. Encontrará más información en
www.irislink.com/support/userguides.
TM
Encontrará instrucciones detalladas sobre IRISNotes
en:
El manual de Easy Note Taker, al que podrá acceder desde el menú Inicio de Windows.
El archivo de ayuda de MyScript Notes Lite, accesible desde el menú Ayuda del software.
TM
Si tiene algún problema al utilizar su IRISNotes
, consulte el apartado de preguntas más
frecuentes de nuestro sitio web (www.irislink.com/support/faq) o contacte con el servicio de
soporte técnico de I.R.I.S. a través de www.irislink.com/support
Español

Guida rapida
Questo documento fornisce linee guida generali per l'installazione e l'uso di
TM
IRISNotes
Express 2. Per istruzioni dettagliate sulle funzionalità complete di
TM
IRISNotes
consultare la guida per l'uso e la guida in linea contenute nel CD ROM di
installazione.
TM
IRISNotes
è costituito da penna e Note Taker mobile, che consente di catturare note e schizzi
disegnati a mano, nonché di modificarli, salvarli ed esportarli. Le note scritte a mano verranno
convertite istantaneamente in testo modificabile in una vasta gamma di lingue.
Contenuto della confezione
TM
- CD-ROM di installazione di IRISNotes
Questo CD-ROM contiene le applicazioni Easy Note Taker e MyScript Notes Lite
(solo PC)
- Guida rapida
- Penna digitale, unità ricevitore, cavo USB avvolgibile, due set di batterie, tre ricariche di
inchiostro
La penna digitale
Non smontare la penna, in
Batterie
quanto potrebbe danneggiarsi.
Punta della penna
Svitare il coperchio del
vano batterie e
inserire 2 batterie
(GPSR41 o GP392)
con il polo positivo
rivolto vero l'alto
Inserire una ricarica di inchiostro nella punta della penna (ricarica M21 standard,
lunghezza 67,0 mm x 2,35 mm), quindi premere delicatamente finché non entra
correttamente in posizione.
Italiano

Per sostituire la ricarica di inchiostro (il cappuccio della penna
funziona come un estrattore della ricarica):
- premere con decisione la parte superiore del cappuccio contro la
punta della penna, quindi estrarre la ricarica di inchiostro usata.
- Inserire la nuova ricarica di inchiostro.
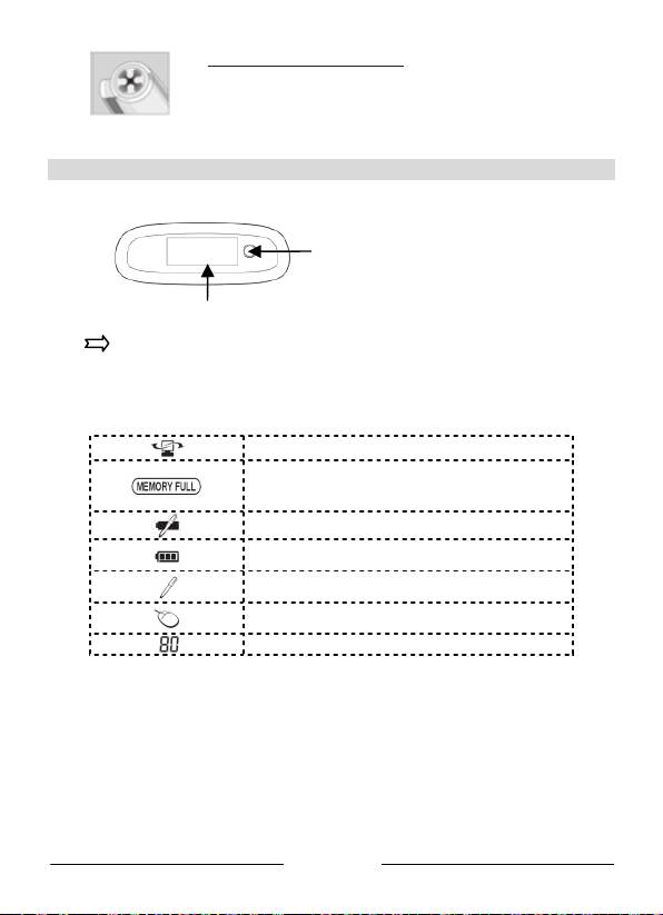
L'unità ricevitore
Pulsante ON/OFF
Premere per 5 secondi per
accendere
Schermo LCD
Caricare l'unità ricevitore per almeno 30 minuti prima di utilizzare il prodotto (il
tempo richiesto per una carica completa è 3,5 ore): collegare il cavo USB all'unità e
alla porta USB del proprio PC.
Lo schermo LCD mostra le seguenti indicazioni di stato:
Unità ricevitore collegata al PC
Memoria PIENA
(in questo caso occorre caricare i file nel PC e
cancellarli dalla memoria del ricevitore)
Batteria della penna scarica
Batteria dell'unità ricevitore scarica
Modalità annotazione
Modalità mouse
Numero di note salvate in memoria
Italiano

Come utilizzare la penna digitale ?
Scrittura di note
Posizionare l'unità ricevitore in alto, al centro dei fogli formato A4. Tenere premuto il pulsante di
accensione per circa 5 secondi per accenderla.
Utilizzare i fermacarte
situati nella parte posteriore dell'unità
Tenere saldamente la penna e scrivere normalmente. Cercare di evitare di scrivere in direzione
obliqua.
Dopo aver scritto una nota, premere il pulsante di accensione una volta. In questo modo la nota
viene salvata nella memoria del ricevitore. Il dispositivo ora è pronto per iniziare a scrivere una
nuova nota. È possibile salvare fino a 100 note in formato A4.
Tenere la penna correttamente:
Non inserire la mano tra la penna e l'unità ricevitore!
Tenere le dita lontano dal cono di cristallo nella punta della penna!
Per trasferire le note al PC Windows o al computer Mac OS, è necessario installare il software
corrispondente.
Installazione del software su un PC Windows
TM
1. Per installare l'applicazione Easy Note Taker, inserire il CD-ROM di IRISNotes
nell'apposita unità e seguire le istruzioni a video.
Una volta completata l'installazione, fare clic su Fine.
Sul desktop compare l'icona di Easy Note Taker.
2. Per installare l'applicazione MyScript Notes Lite , esplorare il CD-ROM di
TM
IRISNotes
con Windows Explorer.
Aprire la cartella Notes 2.2 Lite, quindi fare doppio clic su setup.exe per avviare
l'installazione. Una volta completata l'installazione, fare clic su Fine, quindi rimuovere il
CD-ROM dalla relativa unità.
Italiano
ricevitore
Fissare il ricevitore al bordo del foglio,
con la parte superiore rivolta verso
l'alto

Upload delle note
- Collegare l'unità ricevitore al PC (utilizzando il cavo USB) e lanciare Easy Note Taker.
- In Gestore note, fare clic su Upload nella barra strumenti principale. Tutte le note
verranno trasferite dal ricevitore al PC e potranno essere visualizzate a video.
È possibile selezionare altre
preferenze per l'upload.
Selezionare Preferenze nel menu
Configurazione, quindi scegliere la
scheda Mobile:
Gestione delle note
- Le note trasferite su PC sono disponibili nella car tella Nota mobile. Tali note possono
essere modificate utilizzando Modifica nota, ordinate, salvate, esportate e inviate per
email come file JPEG.
Conversione delle not e
- In Gestore note, fare clic su Converti in testo nella barra strumenti principale.
- Scegliere le impostazioni di conversione in MyScript Notes Lite. La conversione viene
eseguita istantaneamente.
- Il testo così ottenuto può essere inviato ad altre applicazioni o per e-mail.
Italiano

Installazione del software su un computer Mac OS
TM
1. Inserire il CD-ROM di IRISNotes
nell'apposita unità, quindi fare doppio clic
sull'icona CD-ROM sul Desktop.
2. Fare doppio clic su NoteTaker.pkg, quindi seguire le istruzioni a video.
Imposta re le preferenze p er l'upload
Quando si utilizza la penna digitale per scrivere testo, tutto quanto si scrive viene salvato come
una serie di immagini TIFF (Tagged Image File Format) nella memoria di Mobile NoteTaker.
Queste devono essere caricate sul disco rigido del Mac.
Prima di proce dere a questa operazione, scegliere le impostazioni per l'upload con lo Strumento
NoteTaker Preferences:
- Fare clic sull'icona NoteTaker Preferences. Si apre la finestra NoteTaker Preferences:
- Fare clic sull'icona Sfoglia (...) per stabilire il percorso di salvataggio delle note.
- Selezionare l'opzione Clear device’s memory se si desidera eliminare le note dalla
memoria dopo ogni trasferimento.
- Fare quindi clic su Salva per memorizzare le impostazioni.
Upload delle note
Accendere l'unità ricevitore e collegarla al Mac. Le note vengono caricate automaticamente. Le
note vengono salvate in formato TIFF. Fare doppio clic sul file TIFF desiderato per visualizzare
la nota.
Non è possibile convertire le note in testo editabile.
Italiano

Uso della penna in modalità mouse (PC/Mac)
TM
Anche la penna IRISNotes
può essere utilizzata come mouse. Per passare alla modalità
mouse:
PC
Mac
- Collegare il ricevitore al PC.
- Collegare il ricevitore al Mac.
TM
- Tenere la penna di fronte al
- IRISNotes
passa
ricevitore, poi premere una volta il
automaticamente alla modalità
pulsante di accensione.
mouse.
- Premere la penna su un foglio di carta. Il cursore viene ora controllato dalla penna.
- Muovere la penna sulla pagina per spostare il cursore.
- Per cliccare un oggetto, posizionare il cursore su di esso, poi premere con la penna
sull'oggetto stesso.
- Per fare clic col pulsante destro su un oggetto, posizionarsi su di esso e tenere premuta
la penna per un istante.
®
TM
Nota: in Windows Vista
e Windows 7, è possibile utilizzare la penna IRISNotes
anche
per scrivere direttamente nelle applicazioni di Microsoft Office 2007 e superiori. Questo
®
vale anche per le applicazioni iWork
’08 o superiori per Mac OS 10.5.
Visitare www.irislink.com/support/userguides per ulteriori informazioni.
TM
Per istruzioni dettagliate su IRISNotes
, consultare:
- Manuale di Easy Note Taker: accessibile dal menu Start di Windows
- Guida in linea di MyScript Notes Lite: access ibile dal menu Guida del software
TM
In caso di problemi nell'utilizzo di IRISNotes
, consultare la sezione FAQ sul nostro sito
web www.irislink.com/support/faq o contattare l'Assistenza Tecnica all'indirizzo
www.irislink.com/support.
Italiano

Guia de Início R ápido
Este Guia de Início Rápido fornece indicações gerais para instalar e utilizar o
TM
IRISnotes
Express 2. Para mais informações acerca de todas as funcionalidades do
IRISnotes, consulte o manual do utilizador e o ficheiro de ajuda fornecido com o CD-
ROM de instalação.
TM
O IRISNotes
é uma caneta e um bloco de notas portátil que consegue capturar notas e
desenhos manuscritos, assim como editar, guardar e exportar os mesmos. As notas manuscritas
podem ser instantaneamente convertidas em texto editável num vasto conjunto de idiomas.
Conteúdo da embalagem
TM
- CD-ROM de instalação do IRISNotes
Este CD-ROM contém a aplicação Easy Note Taker e MyScript Notes Lite
(Apenas PC)
- Guia de Início Rápido
- Caneta digital, receptor, cabo USB retráctil, dois conjuntos de pilhas, três recargas de
tinta
A caneta digital
! Não desmonte a caneta. Tal
poderá danificá-la.
Pilhas
Ponta da
Desaperte a tampa
caneta
do compartimento para
pilhas e insira 2 pilhas
(GPSR41 ou GP392)
com o pólo positivo
virado para cima
Faça deslizar uma recarga de tinta para a ponta da caneta (carga M21 padrão de
67,0 mm de comprimento X 2,35 mm) e prima suavemente até estar correctamente alojada.
Português

Para substituir a recarga de tinta (a tampa da caneta funciona como
um extractor de recarga de tinta):
- Prima com firmeza a parte superior da tampa contra a ponta da
caneta e puxe a carga de tinta utilizada para fora.
- Deslize a nova recarga para o interior.
O receptor
Botão LIGAR/DESLIGAR
Prima durante 5 segundos
para ligar
Ecrã LCD
Carregue o receptor pelo menos 30 minutos antes de utilizar o produto (o tempo
de carga completa é de 3,5 horas): ligue o cabo USB à unidade e à porta USB
do PC.
O ecrã LCD apresenta as seguintes indicações de estado:
Receptor ligado ao PC
Memória CHEIA
(carregue os ficheiros para o PC e elimine-os da
memória)
Caneta com pilha fraca
Receptor com pilha fraca
Modo de tirar notas
Modo de rato
Número de notas guardadas na memória
Português

Como utilizar a caneta digital?
Escrever notas
Posicione o receptor no topo, ao centro da folha de papel A4. Prima o botão de alimentação
durante cerca de 5 segundos para o ligar.
Prenda o rece ptor à extrem idade do
Use os clips de papel
papel, virado para cima
no verso do receptor
Segure a caneta com firmeza e escreva normalmente. Tente evitar a inclinação das linhas.
Quando acabar de escrever, prima o botão de alimentação. Isto guarda a nota na memória do
receptor. O dispositivo está agora pronto a iniciar uma nota nova. Pode guardar até 100 notas de
tamanho A4.
! Segure a caneta de forma adequada:
! Não coloque a mão entre a caneta e o receptor!
! Mantenha os dedos afastados do cone de cristal da ponta da caneta!
De modo a transferir as notas para o seu computador Windows ou Mac OS, tem primeiro de
instalar o respectivo software .
Instalar o software num computador Windows
TM
1. Para instalar a aplicação Easy Note Taker, introduza o CD-ROM do IRISNotes
na
unidade de CD-ROM e siga as instruções no ecrã.
Quando a instalação estiver concluída, clique em Concluir.
O ícone do Easy Note Taker é apresentado no ambiente de trabalho.
TM
2. Para instalar a aplicação MyScript Notes Lite, explore o CD-ROM IRISNotes
com o
Explorador do Windows.
Abra a pasta Notes 2.2 Lite, de seguida, clique duas vezes em setup.exe para iniciar a
instalação.
Quando a instalação estiver concluída, clique em Concluir, de seguida, retire o CD-ROM
da unidade de CD.
Português

