Citizen SRP-265N: PROGRAMMING
PROGRAMMING: Citizen SRP-265N
SR260C_English_black_090402.doc SIZE: 140x75mm SCALE 2:1
2009/4/15
-E15-
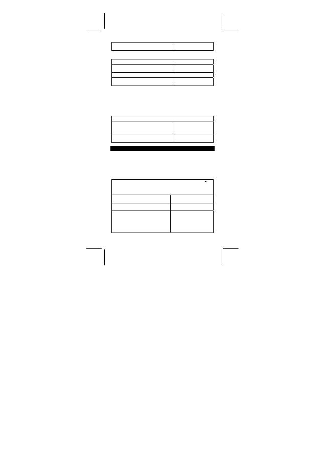
The sample standard deviation S is defined as :
(
)
1
n
n
x
–
x
2
2
−
∑
∑
The population standard deviation
σ
is defined as :
( )
n
n
x
–
x
2
2
∑
∑
The arithmetical mean x is defined as :
n
x
∑
•
To delete an incorrect entry, press [ DEL ].
PROGRAMMING
With your programmable scientific calculator, complex repeated
calculations are no longer time–consuming chores. All you have to do
is tell the calculator what you want to do in a way it can understand (in
other word, program it).
Your calculator can store one procedure with up to 40 steps. These
“steps” can be either steps (like mathematical functions) or characters
(like numbers). Each function counts as one steps. It remembers the
procedure even after you turn off the calculator. You can have more
than one variable in your calculation.
Your calculator learns mathermatical procedures or programs in the
program (PGM) mode. To set the calculator to the program mode,
press [ 2ndF ] [ PGM ]. PGM appears on the display.
Now enter your procedure as if you were just going to calcualte it once
─
except
─
press [ 2ndF ] [ [X] ] before entering variable data. You get
your first answer while you are still in the PGM mode.
Note : If you press [ 2ndF ] [ [X] ] then [
‧
] or a number, and
then [ EXP ], [ +/– ], [ ) ] or [ CE ], both the number and
the first function following the number are treated as one
variable
─
they are not written into the program as steps.
Remember, you can enter a maximum of 40 steps. If you try to enter a
41st step, the calculator dispalys E. Press [ ON/C ] to clear the error.
To stop storing a program, press [ 2ndF ] [ PGM ] again. PGM
disappears and the calculator leaves the program mode. Press [ RUN ]
to begin repeating the same mathematical procedure with different
variables.
When you press [ RUN ], you can begin entering different variables.
Just enter each variable in the order in which it occurs in the formula
and press [ RUN ] after each variable. The answers appears on the
display.
Stored programs are automatically erased when you press [ 2ndF ]
[ PGM ]. So, unless you want to enter a new program, do not select
the program mode.
You can program your calculator to give you interim values in your
formula also. While programming the calculation (in PGM mode),
press [ = ] when you reach the point where you want the interim value
SR260C_English_black_090402.doc SIZE: 140x75mm SCALE 2:1
2009/4/15
-E16-
displayed. Then press [ 2ndF ] [ HALT ] and continue entering your
formula in the usual way.
When you run the program, press [ RUN ] after the calculator dispalys
an interim value to resume the program. You can use the same
method to program your calculator to run two or more formulas. One
after another.
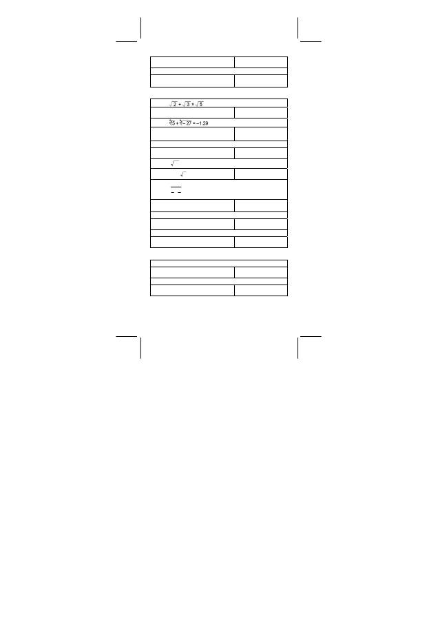
(Ex.) Find the total amount of principal and interest on a $5,000 loan
(x) at 6% annual interest (y) compounded annually over a
period of 7 years (z) ?
Formula : total amount = x (1 +y )
z
(Ex.) : (1) x = $5,000
(2) x = $1,000
y = 6 %
y = 10 %
z = 7 years
z = 5 years
[ 2ndF ] [ PGM ]
PGM DEG
0.
[ 2ndF ] [ [X] ]
PGM DEG
[ 1 ]
5000
PGM DEG
5000.
[ x ] [ ( ] 1 [ + ] [ 2ndF ] [ [X] ]
PGM DEG
[ 2 ]
6
PGM DEG
6.
[
÷
] 100 [ ) ] [ x
y
] [ 2ndF ] [ [X] ]
PGM DEG
[ 3 ]
7
PGM DEG
7.
[ = ]
PGM DEG
7518.151295
[ 2ndF ] [ PGM ]
DEG
0.
[ RUN ]
DEG
[ 1 ]
1000
DEG
1000.
[ RUN ]
DEG
[ 2 ]
10
DEG
10.
[ RUN ]
DEG
[ 3 ]
5
DEG
5.
[ RUN ]
DEG
1610.51
SR260C_English_black_090402.doc SIZE: 140x75mm SCALE 2:1
2009/4/15
-E17-
Description :
R
2
R
1
R
3
a
b
c
R
4
R
5
R
6
b
a
c
△
→
Y
3
2
1
2
1
4
R
R
R
R
R
R
+
+
•
=
3
2
1
3
2
5
R
R
R
R
R
R
+
+
•
=
3
2
1
1
3
6
R
R
R
R
R
R
+
+
•
=
(Ex) :(1) R
1
= 12 (
Ω
) (2)
R
1
= 10 (
Ω
)
R
2
= 47 (
Ω
)
R
2
= 20 (
Ω
)
R
3
= 82 (
Ω
)
R
3
= 30 (
Ω
)
12 [ 2ndF ] [ Ka
X
Æ
K
]
DEG
12.
47 [ 2ndF ] [ Kb
X
Æ
K
]
DEG
47.
82 [ X
Æ
M ]
M
DEG
82.
[ 2ndF ] [ PGM ]
M
PGM DEG
0.
[ Ka
X
Æ
K
] [ Kb
X
Æ
K
]
M
PGM DEG
564.
R
1
x R
2
[
÷
] [ ( ] [ Ka
X
Æ
K
] [ + ]
[ Kb
X
Æ
K
] [ + ] [ MR ] [ ) ] [ = ]
M
PGM DEG
4.
R
4
[ 2ndF ] [ HALT ]
M
PGM DEG
4.
[ MR ] [ Kb
X
Æ
K
]
M
PGM DEG
3854.
R
2
x R
3
[ = ]
M
PGM DEG
27.33333333
R
5
[ 2ndF ] [ HALT ]
M
PGM DEG
27.33333333
[ MR ] [ Ka
X
Æ
K
]
M
PGM DEG
984.
R
3
x R
1
[ = ]
M
PGM DEG
6.978723404
R
6
[ 2ndF ] [ PGM ]
M
DEG
0.
10 [ 2ndF ] [ Ka
X
Æ
K
] 20 [ 2ndF ]
[ Kb
X
Æ
K
] 30 [ X
Æ
M ]
M
DEG
30.
[ ON/C ] [ RUN ]
M
DEG
3.333333333
R
4
[ RUN ]
M
DEG
10.
R
5
SR260C_English_black_090402.doc SIZE: 140x75mm SCALE 2:1
2009/4/15
-E18-
[ RUN ]
M
DEG
5.
R
6
SR260C_Spanish_090402.doc SIZE: 140x75mm SCALE 1:1
2009/4/14
-S1-
DEFINICIONES BÁSICAS
.......................................................2
El teclado ....................................................................................... 2
T
ECLAS GENERALES
.......................................................................... 2
TECLAS
DE
MEMORIA ................................................................... 2
TECLAS
ESPECIALES.................................................................... 3
TECLA
DE
CONVERSIÓN
DE
UNIDAD........................................... 4
TECLAS
CON
FUNCIONES
ESPECIFICAS.................................... 4
T
ECLAS DE PROGRAMACIÓN
(U
SE SOLAMENTE EN MODO DE
PROGRAMACIÓN
)............................................................................... 6
T
ECLAS PARA ESTADÍSTICAS
(U
SE SOLAMENTE EN MODO
STAT)......... 6
LA PANTALLA
.......................................................................7
ORDEN DE OPERACIONES
....................................................8
EXACTITUD & CAPACIDAD
....................................................8
CONDICIONES ERRÓNEAS
.................................................. 10
SUMINISTRO DE ENERGIA
................................................... 10
CÁLCULOS NORMALES
...................................................... 11
CALCULO BÁSICO (Incluyendo cálculos entre paréntesis) ...... 11
Cálculos constantes ..................................................................... 11
Cálculos con Memoria.................................................................. 11
CALCULO DE FUNCIONES
................................................... 12
Conversion decimal
↔
sexagesimal ............................................. 12
CALCULO FRACCIONARIO........................................................ 12
TRIGONOMÉTRICO / FUNCIONES INVERSAS
TRIGONOMÉTRICAS .................................................................. 13
HIPERBÓLICO / FUNCIONES INVERSAS HIPERBÓLICAS ...... 13
Logarismos comunes y naturales / esponenciales....................... 13
POTENCIA, RAÍZ, RECIPROCO, FACTORIAL ........................... 14
UNIDAD DE CONVERSIÓN ........................................................ 14
CONSTANTES DE FÍSICA........................................................... 15
DESVIACIONES NORMALES
................................................ 15
PROGRAMACIÓN
................................................................ 16
CONTENIDOS
SR260C_Spanish_090402.doc SIZE: 140x75mm SCALE 1:1
2009/4/14
-S2-
DEFINICIONES BÁSICAS
El teclado
Para crear una calculadora lo más compacta posible hemos asignado
a cada tecla más de una función. El cambio de funciones se realiza
apretando primero otra tecla, o seleccionando un modo especifico de
trabajo en la calculadora.
Las siguientes paginas ofrecen una explicación detallada del uso y
funciones de cada tecla.
[ 2ndF ] Tecla de selección de segunda función
Ciertas teclas tienen una segunda función inscrita sobre la primera
función. Para usar esta segunda función, presione [2ndF]. “
2F
”
aparecerá en la pantalla, entonces apriete la tecla.
Teclas generales
[ 0 ] ~[ 9 ] [ ] Teclas de entrada de dígitos.
‧
Presione estas teclas en su secuencia lógica para la entrada de
números.
[ + ] [ – ] [ x ] [ ÷ ] [ = ] Teclas básicas de cálculo.
Presione estas teclas en su secuencia lógica para efectuar adiciones,
sustracciones, multiplicaciones, divisiones y para mostrar resultados.
[ ON/C ] Tecla de Encendido y Borrado
Presione [ON/C] para encender la calculadora y para borrar todos los
registros excepto los de la memoria, La memoria constante (Ka, Kb) y
la memoria de programación. También cancela la función de
encendido y apagado.
[ CE ] Tecla de borrado
Presione [CE] para borrar la entrada incorrecta de datos.
[ 00
Æ
0 ] Tecla de Desplazamiento a Direita
Apriete para aclarar el último dígito significante del número mostrado.
(ej.)
123456
123456.
[
00
Æ
0 ]
12345.
[
00
Æ
0 ]
1234.
[ +/– ] Tecla de cambio de signo.
Presione [ +/– ] para cambiar el número en la pantalla de negativo a
positivo.
TECLAS DE MEMORIA
[ MR ] Tecla de memoria activa
Presione [MR] para mostrar el contenido de la memoria.
[ X
Æ
M ] Tecla de almacenado
Presione [ X
Æ
M ] Copia el número mostrado en la pantalla a la
SR260C_Spanish_090402.doc SIZE: 140x75mm SCALE 1:1
2009/4/14
-S3-
memoria, borrando cualquier número anterior almacenado en la
memoria.
[ M+ ] Tecla de suma
Presione [M+] para sumar el número mostrado en la pantalla al valor
ya en la memoria.
[ 2ndF ] [ Ka
X
Æ
K
], [ 2ndF ] [ Kb
X
Æ
K
] Constante (Ka, Kb) Tecla de
almacenado de memoria
Presione para entrar el valor mostrado en la pantalla en la memoria
constante Ka ó Kb.
[ Ka
X
Æ
K
], [ Kb
X
Æ
K
] Tecla de almacenado de memoria
Presione para mostrar el contenido de una memoria constante.
Nota :
•
Las constantes Ka y Kb pueden tener un valor de cero.
•
Si se presiona [ Ka
X
Æ
K
] or [ Kb
X
Æ
K
] después de entrar un número
o de realizar un cálculo, el valor mostrado será multiplicado por el
valor de Ka o de Kb.
TECLAS ESPECIALES
[ ( ], [ ) ] Teclas de paréntesis
Apriete para saltarse el orden de valor pre-determinado de operación
usando paréntesis. Usted puede usar hasta 6 niveles de paréntesis
en un solo cálculo.
[ EXP ] Tecla exponencial
Para entrar un número en notación científica, primero entre el número
de la mantisa, apriete [EXP] y entre el número de la exponencial.
[ 2ndF ] [
π
] Tecla
Presione [2ndF] [
π
] para mostrar el valor de
π
, que es el radio de la
circunferencia de un círculo a su diámetro (aproximadamente
3.141592654).
[ 2ndF ] [ X
↔
Y ] Tecla de intercambio de registros
Presione [2ndF] [ X
↔
Y ] para cambiar el valor mostrado (registro X)
por el valor del registro activo (registro Y).
(ej.)
123 [ + ] 456 [ = ]
579.
[ 2ndF ] [ X
↔
Y ]
456.
[ 2ndF ] [ X
↔
Y ]
579.
[ 2ndF ]
[ FIX ] Tecla de punto decimal
Use para colocar el número de dígitos mostrados después del punto
decimal ya sea en resultados intermedios o finales. La calculadora
continuara usando el rango completo durante sus procesos internos y
solo redondea en la pantalla.
•
[ 2ndF ] [ FIX ] [ 0 ]~[ 6 ] ––Establece el número de dígitos
mostrados a la derecha del punto decimal.
•
[ 2ndF ] [ FIX ] [ 7 ], [ 8 ], [ 9 ], [ ]
‧
–– Selecciona punto flotante.
SR260C_Spanish_090402.doc SIZE: 140x75mm SCALE 1:1
2009/4/14
-S4-
(ej.)
5 [
÷
] 9 [ = ]
0.555555556
[ 2ndF ] [ FIX ] [ 2 ]
0.56
[ 2ndF ] [ FIX ] [ 5 ]
0.55556
[ 2ndF ] [ FIX ] [ ]
‧
0.
555555556
Nota : [ 2ndF ] [ FIX ] permanecerá inactiva durante e inmediatamente
después de una entrada numérica.
[ SCI ] Tecla para Ingeniería
Convierte el número de la pantalla a una potencia de 10 e invierte la
operación.
(ej.) :
12.3456 [ x ] 10 [ = ]
123.456
[ SCI ]
1.23456 02
[ SCI ]
123.456
[ SCI ]
1.23456 02
[ DRG ] Tecla de Conversión de la Unidad del Ángulo
Apriete para cambiar la unidad del ángulo como DEG (Grados), RAD
(Radián), o GRAD (Pendiente).
TECLA DE CONVERSIÓN DE UNIDAD
Esta calculadora tiene 13 teclas de conversión de unidad como sigue.
Cada tecla tiene dos rasgos de conversión. Por ejemplo, apretando
[A
Æ
B] antes de [in
↔
cm] puede convertir un número en pulgadas a
centímetros; Apretando [2ndF] [A
Å
B] antes de [in
↔
cm] puede
convertir un número en centímetros a pulgadas.
Tecla
Significados
[ in
↔
cm ]
pulgadas
↔
centimetro
[ feet
↔
m ]
pies
↔
metro
[ feet
2
↔
m
2
]
pies
2
↔
metro
2
[ B.gal
↔
l ]
galón Británico
↔
litro
[ gal
↔
l ]
galón
↔
litro
[ Pint
↔
l ]
Pinta
↔
litro
[ Tr.oz
↔
g ]
Onza Troy
↔
gramo
[ oz
↔
g ]
onza
↔
gramo
[ lb
↔
kg ]
libra
↔
kilogramo
[ atm
↔
kpa ]
presión atmosférica
↔
kilopascal
[ cal
↔
KJ ]
caloria
↔
Kilo–Joule
[
℉
↔
℃
]
Fahrenheit
↔
Celsius
[ mmHg
↔
kpa ]
mmHg
↔
kilopascal
TECLAS CON FUNCIONES ESPECIFICAS
[ 2ndF ] [
], [ 2ndF ] [
] teclas de conversón de notación
sexagesimal / notación decimal
Para cambiar de notación sexagesimal ( base 60) (grados, minutos,
segundos) a notación decimal (grados) apriete [2ndF] [
] para
cambiar de notación decimal a notación sexagesimal, entre el número
SR260C_Spanish_090402.doc SIZE: 140x75mm SCALE 1:1
2009/4/14
-S5-
en forma decimal y apriete [2ndF] [
].
[ sin ], [ cos ], [ tan ] teclas para Seno, coseno y tangente
Calculan las funciones trigonométricas del valor mostrado.
[ 2ndF ] [ sin
–1
], [ 2ndF ] [ cos
–1
], [ 2ndF ] [ tan
–1
] Teclas de Seno
Inverso, Coseno Inverso, Tangente Inverso
Calcule las funciones trigonométricas inversas del valor mostrado.
[ 2ndF ] [ HYP ] [ sin ], [ 2ndF ] [ HYP ] [ cos ], [ 2ndF ] [ HYP ]
[ tan ] Teclas hiperbólicas
Calculan las funciones hiperbólicas del valor mostrado.
[ 2ndF ] [ HYP ] [ 2ndF ] [ sin
–1
], [ 2ndF ] [ HYP ] [ 2ndF ] [ cos
–1
],
[ 2ndF ] [ HYP ] [ 2ndF ] [ tan
–1
] Teclas hiperbólicas inversas
Calculan las funciones hiperbólicas inversas del valor mostrado.
[ log ], [ 2ndF ] [ 10
x
] Teclas de logaritmos comunes y
antilogaritmos comunes.
Calculan el logaritmo del valor mostrado. Para calcular el
antilogaritmo común de un valor, presione [2ndF] [ 10
x
].
[ ln ], [ 2ndF ] [ e
x
] Teclas para logaritmos naturales y
antilogaritmos naturales
Para calcular el logaritmo natural del valor mostrado, presione [In].
Para calcular el antilogaritmo natural del valor mostrado, presione
[ 2ndF ] [ e
x
].
[
√
], [ x
2
] Teclas para raíz cuadrada y cuadrados
Presione [
√
] para calcular la raíz cuadrada del valor mostrado.
Para calcular el cuadrado apriete [ x
2
].
[ 2ndF ] [
3
√
] Tecla de raíz cubica
Presione [ 2ndF ] [
3
√
] para calcular la raíz cubica del valor
mostrado.
[ 2ndF ] [ 1/x ] Tecla reciproca
Presione [ 2ndF ] [ 1/x ] para calcular la reciproca del valor mostrado.
[ 2ndF ] [ x! ] Tecla factorial
Presione [ 2ndF ] [ x! ] para calcular la factorial del valor mostrado.
[ x
y
] Tecla de potencia
Presione cualquier número [ x ], [ x
y
] , cualquier número [ y ], y [ = ]
para elevar y a la potencia x.
[ 2ndF ] [
y
x
] Tecla de raíz
Presione cualquier número [ x ] [ 2ndF ] [
y
x ], cualquier número [ y ],
y [ = ] para mostrar la raíz y de x.
[ a
b/c ], [ 2ndF ] [ d/e ] Tecla factorial
Pulse [ a
b/c ] para introducir una fracción o convertir una fracción a
un número decimal. Pulse [ 2ndF ] [
d/e ] para convertir un número
mixto a una fracción incorrecta y viceversa.
SR260C_Spanish_090402.doc SIZE: 140x75mm SCALE 1:1
2009/4/14
-S6-
[ CONST ] Tecla constante de física
Esta calculadora le permite realizar cálculos con 15 constantes de
física. Sólo debe pulsar repetidamente la tecla [ CONST ] para
mostrar los siguientes símbolos y valores.
S
í
mbolo Significado
Valor
c
Velocidad de luz
299792458 m / s
g
Aceleración de gravedad
9.80665 m s
–2
G
Constante gravitacional
6.6725985 x 10
–11
N m
2
kg
–2
Vm
Volumen molar de gas ideal
0.0224141 m
3
mol
–1
N
A
Número de Avagadro
6.022136736 x 10
23
mol
–1
R
constante de gas molar
8.3145107 J / K mol
e
Carga elemental
1.6021773349 x 10
–19
C
m e Masa del electrón
9.109389754 x 10
–31
kg
m p Masa del protón
1.67262311 x 10
–27
kg
m n masa de Neutrón
1.67492861 x 10
–27
kg
u
masa atómica unificada
1.66054021 x 10
–27
kg
h
Constante de Plank
6.62607554 x 10
–34
J.S
k
Constante de Boltzrnann
1.38065812 x 10
–23
J.K
–1
μ
0
Medida de acumulación magnética
1.2566370614 x 10
-06
Hm
–1
ε
0
Medida de acumulación dieléctrica
8.854187817x10
–12
Fm
–1
Teclas de programación (Use solamente en modo de
programación)
[ 2ndF ] [ PGM ]
─
Tecla de selección de modo de programación y
borrado.
Activa el modo de aprender. PGM aparece en la pantalla y se borra el
contenido previo de la memoria.
Cuando termine introduciendo el programa, presione [2ndF] [ PGM ].
El nuevo programa se guardara en la memoria de programación.
PGM desaparece de la pantalla y la calculadora abandona el modo de
programación.
[ RUN ]
─
Tecla de computo
Corre el programa grabado.
[ 2ndF ] [ [X] ]
─
Tecla de variable especifica
Le permite poner la calculadora a esperar la entrada de datos durante
un programa.
[ 2ndF ] [ HALT ]
─
Tecla de pausa de cálculo
Pausa temporalmente un programa permitiendo ver el resultado
inmediato o interrumpir un cálculo.
Teclas para estadísticas (Use solamente en modo STAT)
[ 2ndF ] [ STAT ] Tecla de selección del modo estadístico
SR260C_Spanish_090402.doc SIZE: 140x75mm SCALE 1:1
2009/4/14
-S7-
Activa el modo de cálculo estadístico. STAT aparece en la pantalla.
[ 2ndF ] [ CAD ] Tecla de borrado de registros en modo de
cálculo estadístico
Borra los cálculos estadísticos registrados.
[ DATA ], [ DEL ] Teclas de entrada de datos y suprimir datos
En modo STAT, entre el número apretando los números deseados y
entonces [DATA]. si comete un error en los números y se da cuenta
después de apretar [DATA], entre el número incorrecto otra vez y
apriete [DEL] para borrar los datos incorrectos.
[
x
] Tecla de medio aritmético
Calcula el medio aritmético ( x ) según los datos.
[ 2ndF ] [
σ
] Tecla de desviación de normas de población
Calcula la desviación de normas de población (s) según los datos.
[ S ] tecla de muestra de desviación normal
Calcula la muestra de desviación normal (s) según los datos.
[ 2ndF ] [
Σ
x
2
] Tecla de suma del valor al cuadrado
Calcula la suma del valor al cuadrado (
Σ
x
2
) según los datos.
[ 2ndF ] [
Σ
x ] Tecla de suma de los valores
Cal ula la suma del valor
(
Σ
x ) según los datos.
[ n ] Tecla de número de datos
Muestra el número de entradas de datos (n)
LA PANTALLA
Los indicadores aparecen en la pantalla para indicarle el estado
corriente de la calculadora.
•
La pantalla muestra el punto flotante hasta 10 dígitos.
•
La sección de la mantisa muestra hasta 8 dígitos. La sección de
exponente muestra hasta ±99.
STAT
: Indica el modo de cálculo estadístico
M
: Indica que un valor está almacenado en la memoria
–
: Aparece a la izquierda de la mantisa o exponente para
indicar que el valor respectivo es negativo.
E
: Indica un error
PGM
: Indica el modo de programación
CONST : Indica el modo constante.
GRAD
: Indica que unidades gradientes han sido seleccionadas
RAD
: Indica que unidades de radian han sido seleccionadas
DEG
: Indica que grados han sido seleccionados
BUSY
: Mientras una operación está ejecutando
σ
: Indica el valor de desviación
SR260C_Spanish_090402.doc SIZE: 140x75mm SCALE 1:1
2009/4/14
-S8-
2F
: Aparece cuando la segunda función ha sido
seleccionada.
HYP
: Aparece cuando la función hiperbólica ha sido
seleccionada.
(
: Aparece al apretar [ ( ], muestra la cantidad de niveles
( n )
: Aparece cuando al apretar [SHIFT] [[X]], en el modo de
programación y durante la ejecución del programa para
permitir la entrada de una variable. El número entre
paréntesis muestra la posición de la variable en la
secuencia, ( de 1 a 40).
ORDEN DE OPERACIONES
Cada cálculo está ejecutado en el siguiente orden de preferencia:
1) Funciones requeridas ingresando valores antes de presionar la
tecla de función, por ejemplo: cos, sin, tan, cos
–1
, sin
–1
, tan
–1
, log,
ln, x
2
, 1/x,
√
,
π
,
3
√
, x!, %,
,
y unidades de
conversión.
2) Operación entre paréntesis
3) Funciones requeridas presionando la tecla de función antes de
ingresar. Por ejemplo: [EXP] tecla.
4) fracciones
5) +/–
6)
y
x , x
y
7) x ,
÷
8) +, –
EXACTITUD & CAPACIDAD
Funciones
Rango de entrada
sin x, cos x, tan x
Deg :
x
<
1 x 10
11
deg
Rad : x
<
1745329252 rad
Grad :
x
<
1.111111111 x 10
11
grad
como quiera, para tan x
Deg : x
≠
90 (2n+1)
Rad : x
≠
2
π
(2n+1)
Grad : x
≠
100 (2n+1)
(n es un número entero)
sin
–1
x, cos
–1
x
x
≤
1
SR260C_Spanish_090402.doc SIZE: 140x75mm SCALE 1:1
2009/4/14
-S9-
tan
–1
x
x
<
1 x 10
100
sinh x, cosh x
x
≤
230.2585092
tanh x
x
<
1 x 10
100
sinh
–1
x
x
<
5 x 10
99
cosh
–1
x 1
≤
x
<
5 x 10
99
tanh
–1
x
x
<
1
log x, ln x
1 x 10
–99
≤
x
<
1 x 10
100
10
x
x
<
100
e
x
x
≤
230.2585092
x
0
≤
X
<
1 x 10
100
x
2
x
<
1 x 10
50
1/x
1 x 10
–99
≤
x
<
1 x 10
100
, X
≠
0
3
x
x
<
1 x 10
100
x !
0
≤
x
≤
69, x es un número entero
,
x
<
1 x 10
100
x
y
x
>
0 : –1 x 10
100
<
y log x
<
100
x = 0 : y
>
0
x
<
0 : y = n, 1/(2n+1), n es un número
entero
mais –1 x 10
100
<
y
1 log
⏐
x
⏐
100
y
x
x
>
0 : y
≠
0, -1 x 10
100
<
y
1 log x
<
100
x = 0 : y
>
0
x
<
0 : y=2n+1, l/n, n es un número entero
(n
≠
0)
mais –1 x 10
100
<
y
1 log
⏐
x
⏐
100
c
b
a
Entrar: total de número entero, numerador
y denominador debe estar dentro de 10
dígitos.
(incluyendo la marca de división)
Resultado: resulta como fracción por 1
numerador y denominador es menos que 1
x 10
10
STAT
⏐
x
⏐
<
1 x 10
50
,
⏐Σ
x
⏐
<
1 x 10
100
SR260C_Spanish_090402.doc SIZE: 140x75mm SCALE 1:1
2009/4/14
-S10-
0
≤
Σ
x
2
<
1 x 10
100
, 0
≤
n
<
1 x 10
100
x : n
≠
0 ; s : n
>
1 ;
σ
: n
>
0
CONDICIONES ERRÓNEAS
Un símbolo “
E
” está indicado en la pantalla cuando cualquiera de las
siguientes condiciones ocurren y el siguiente cálculo se vuelve
imposible. Solo presionar [ON/C] para liberar de esos errores o del
indicador erróneo y subsiguientemente puede ejecutar el cálculo.
•
Un resultado intermedio o final excede 1 x 10
100
(incluyendo
cálculos en la memoria).
•
Al dividir por 0.
•
El número de niveles de almacenado de baja prioridad excede 6
en un cálculo entre paréntesis y paréntesis subsecuentes exceden
7 en un nivel. (aún cuando el número de niveles este dentro de
los limites de 6, un error podrá ocurrir si se está usando la
memoria Ka o Kb, o la memoria programable del modo de
programación).
•
Cuando se trate de usar [ 2ndF ] [ Ka
X
Æ
K
] o [ 2ndF ] [ Kb
X
Æ
K
]
mientras las memorias Ka y Kb estén en uso para almacenar
cálculos de baja prioridad.
•
Cuando se realice un cálculo que este fuera de rango de cálculos
estadísticos o funcionales.
•
Cuando se intenta almacenar más de 40 octeto en un programa.
Para borrar después de una condición de error de capacidad u error,
presione [ON/C].
SUMINISTRO DE ENERGIA
Para encender la máquina calculadora, presionar [ON/C]; para apagar
la máquina calculadora, presionar [2ndF] [OFF]. Esta máquina
calculadora se apaga automáticamente cuando no está operando
aproximadamente durante 9 minutos. La energía puede ser
restaurada presionando la tecla [ON/C] nuevamente. Contenidos
memorizados & el previo modo puesto serán guardados.
La calculadora es alimentada por duas baterías alcalinas G13(LR44).
Cuando la visualización se torna borrosa, sustituya las baterías.
Tenga cuidado al reemplazar la batería para no ser herido.
1. Soltar los tornillos en la parte trasera de la calculadora.
2. Inserir un destornillador en la ranura entre la caja superior y inferior
y torcerla cuidadosamente para separarlas.
3. Quitar ambas las baterías y descartarlas. No permíta nunca que los
niños toquen las baterías.
4. Limpiar las baterías nuevas con un paño seco para mantener un
bueno contacto.
5. Insertar las dos baterías nuevas con las faces llanas (terminales
positivos) hasta arriba.
SR260C_Spanish_090402.doc SIZE: 140x75mm SCALE 1:1
2009/4/14
-S11-
6. Alinear las cajas superiores y inferiores y aprietarlas para cerrarlas
juntamente.
7. Atornillar los tornillos.
CÁLCULOS NORMALES
CALCULO BÁSICO
(Incluyendo cálculos entre paréntesis)
(ej.) : – 3.5 +8 ÷ 2= 0.5
3.5 [ +/–] [ + ] 8 [ ÷ ] 2 [ = ]
DEG
0.5
(ej.) : ( 5 – 2 x 1.5 ) x 3 + 0.8 x ( – 4 ) = ?
[ ( ] 5 [ – ] 2 [ x ] 1.5 [ ) ] [ x ] 3 [ + ]
0.8 [ x ] 4 [ +/ – ] [ = ]
DEG
2.8
(ej.) : 2 x [ 7 + 6 x ( 5 + 4 ) ] = 122
2 [ x ] [ ( ] 7 [ + ] 6 [ x ] [ ( ] 5 [ + ] 4
[ = ]
DEG
122.
‧
No es necesario toca la tecla [ ) ] antes de toca la tecla [=].
Cálculos constantes
(ej.) : 3 + 2.3 = 5.3
6 + 2.3 = 8.3
3 [ + ] 2.3 [ = ]
DEG
5.3
6 [ = ]
DEG
8.3
(ej.) : 7 – 5.6 = 1.4
–4.5
–
5.6 = –10.1
7 [ – ] 5.6 [ = ]
DEG
1.4
4.5 [+/–] [ = ]
DEG
–10.1
(ej.) : 12 x 2.3 = 27.6
12
x (–9) = –108
12 [ x ] 2.3 [ = ]
DEG
27.6
9 [+/–] [ = ]
DEG
–108.
(ej.) : 74 ÷ 2.5 = 29.6
85.2 ÷ 2.5 = 34.08
74 [ ÷ ] 2.5 [ = ]
DEG
29.6
85.2 [ = ]
DEG
34.08
Cálculos con Memoria
•
No utilice el modo “ STAT ” cuando realice cálculos en la memoria
•
Al entrar un número en la memoria apretando [ X
Æ
M ], este
remplazará cualquier número previamente almacenado en la
memoria.
SR260C_Spanish_090402.doc SIZE: 140x75mm SCALE 1:1
2009/4/14
-S12-
•
Para borrar el contenido de la memoria apriete [ 0 ] [ X
Æ
M ] ó
[ ON/C ] [ X
Æ
M ] en secuencia.
•
M aparece cuando un número a que no es igual a “0” es
almacenado en la memoria.
•
Cuando usted aprieta [X
Æ
M] después de apretar [MR], el número
desplegado se cambia como los contenidos de la memoria.
(ej.) : (3 – 5) + (56 ÷ 7) + (74 – 8 x 7) = 24
0 [ X
Æ
M ]
DEG
0.
3 [ – ] 5 [ M+ ]
M
DEG
–2.
56 [ ÷ ] 7 [ M+ ]
M
DEG
8.
74 [ – ] 8 [ x ] 7 [ M+ ]
M
DEG
18.
[ MR ]
M
DEG
24.
0 [ X
Æ
M ]
DEG
0.
CALCULO DE FUNCIONES
Conversion decimal
↔
sexagesimal
(ej.) : 12
∘
45’
30” = 12.75833333
12 [
‧
] 4530 [ 2ndF ] [
]
DEG
12.75833333
(ej.) : 2.12345 = 2
∘
7’ 24.42”
2.12345 [ 2ndF ] [
]
DEG
2.072442
Antes de ejecutar el siguiente cálculo, revise que su calculadora este
fijada en formato de dos decimales.
CALCULO FRACCIONARIO
•
Presionar [ 2ndF ] [ d/e ],el valor demostrado se convertirá en
fracción incorrecta.
(ej.) :
15
124
5
3
7
3
2
=
+
2 [ a
b/c ] 3 [ + ] 7 [ a
b/c ] 3 [ a
b/c ] 5
[ = ]
DEG
8
∪
4
┘
15
[ 2ndF ] [ d/e ]
DEG
124
┘
15
•
Cuando presione la tecla [ a
b/c ] luego la tecla [=] o una fracción
ejecutada con un decimal, la respuesta será demostrada como un
decimal
SR260C_Spanish_090402.doc SIZE: 140x75mm SCALE 1:1
2009/4/14
-S13-
(ej.) :
9.19
16
7
9
4
3
3
9
4
5
=
=
+
5 [ a
b/c ] 4 [ a
b/c ] 9 [ + ] 3 [ a
b/c ] 3
[ a
b/c ] 4 [ = ]
DEG
9
∪
7
┘
36
[ a
b/c ]
DEG
9.19
TRIGONOMÉTRICO / FUNCIONES INVERSAS
TRIGONOMÉTRICAS
(ej.) : 3 sin 30
。
= 1.50
3 [ x ] 30 [ sin ] [ = ]
DEG
1.50
(ej.) : cos (
3
2
π
rad) = – 0.5
2 [ x ] [ 2ndF ] [
π
] [ ÷ ] 3 [ = ] [ cos ]
RAD
– 0.50
(ej.) : sin
–1
0.5 = 30 (deg)
0.5 [ 2ndF ] [ sin
–1
]
DEG
30.00
(ej.) : cos
–1
(
2
1
) = 0.79 (rad)
2 [
√
] [ 2ndF ] [ 1/x ] [ 2ndF ]
[ cos
–1
]
RAD
0.79
HIPERBÓLICO / FUNCIONES INVERSAS
HIPERBÓLICAS
(ej.) : cosh 1.5 + sinh 1.5 = 4.48
1.5 [ 2ndF ] [ HYP ] [ cos ] [ + ]
1.5 [ 2ndF ] [ HYP ] [ sin ] [ = ]
DEG
4.48
(ej.) : sinh
–1
7 = 2.64
7 [ 2ndF ] [ HYP ] [ 2ndF ] [ sin
–1
]
DEG
2.64
Logarismos comunes y naturales / esponenciales
(ej.) : ln7 + log100 = 3.95
7 [ ln ] [ + ] 100 [ log ] [ = ]
DEG
3.95
(ej.) : 10
2
= 100.00
2 [ 2ndF ] [ 10
x
] [ = ]
DEG
100.00
(ej.) : e
5
– e
–2
= ?
SR260C_Spanish_090402.doc SIZE: 140x75mm SCALE 1:1
2009/4/14
-S14-
5 [ 2ndF ] [ e
x
] [ – ] 2 [ +/– ] [ 2ndF ]
[ e
x
] [ = ]
DEG
148.28
POTENCIA, RAÍZ, RECIPROCO, FACTORIAL
(ej.) :
=5.29
2 [
√
]
[ + ] 3 [
√
]
[ x ]
5 [
√
] [ =
]
DEG
5.29
(ej.) :
5 [ 2ndF ] [
3
√
] [ + ] 27 [ +/– ]
[ 2ndF ] [
3
√
] [ = ]
DEG
–1.29
(ej.) : 7
5
= 16807
7 [ x
y
] 5 [ = ]
DEG
16807.00
(ej.) :
=2
32 [ 2ndF ] [
] 5 [ = ]
DEG
2.00
(ej.) :
12.00
4
1
–
3
1
1
=
3 [ 2ndF ] [ 1/x ] [ – ] 4 [ 2ndF ] [ 1/x ]
[ = ] [ 2ndF ] [ 1/x ]
DEG
12.00
(ej.) : 123 + 30
2
= 1023.00
123 [ + ] 30 [ x
2
] [ = ]
DEG
1023.00
(ej.) : 8 ! = 1 x 2 x 3 x ……x 7 x 8 = 40320.00
8 [ 2ndF ] [ x ! ]
DEG
40320.00
UNIDAD DE CONVERSIÓN
(ej.) : 12 in = 30.48 cm
12 [ A
Æ
B ] [ 2ndF ] [ in
↔
cm ]
DEG
30.48
(ej.) : 98 cm = 38.58 in
98 [ 2ndF ] [ A
←
B ] [ 2ndF ] [ in
↔
cm ]
DEG
38.58
Nota : Todos los procedimientos de operaciones para tecla de
conversión de unidad [ feet
↔
m ], [ feet
2
↔
m
2
], [ B.gal
↔
l ],
[ gal
↔
l ] [ Pint
↔
l ], [ Tr.oz
↔
g ], [ oz
↔
g ], [ lb
↔
kg ],
[ atm
↔
kpa ], [ cal
↔
KJ ], [
℉
↔
]
℃
y [ mmHg
↔
kpa ] es lo
mismo del ejemplo anterior.
SR260C_Spanish_090402.doc SIZE: 140x75mm SCALE 1:1
2009/4/14
-S15-
CONSTANTES DE FÍSICA
(ej.) : 5 x G = 3.34 x 10
–10
5 [ x ] [ CONST ] [ CONST ]
[ CONST ]
CONST DEG
6.67
–11
G
[ = ]
DEG
3.34
–10
DESVIACIONES NORMALES
•
Presione [2ndF] [STAT] para cambiar al modo para calculos
estadisticos.
•
Presione [2ndF] [CAD] para borrar la memoria en modo de cálculo
estadistico antes de comenzar un cálculo.
•
En lugar de entrar cada dato directamente, cuando a menudo
varios artículos de datos tienen el mismo valor, usted puede entrar
el valor y el número de ocurrencias.
(ej.) : Entra el siguiente dato para calcular n,
Σ
x,
Σ
x
2
, x , S,
σ
, donde dato 1 = 2, dato 2~4 = 5, dato 5~6 = 9
[ 2ndF ] [ STAT ]
STAT
DEG
0.
[ 2ndF ] [ CAD ]
STAT
DEG
0.
2 [ DATA ] 5 [ DATA ] 5 [ DATA ] 5
[ DATA ] 9 [ DATA ] 9 [ DATA ]
– ó –
2 [ DATA ] 5 [ x ] 3 [ DATA ] 9 [ x ]
2 [ DATA ]
STAT
DEG
6.
[ n ]
STAT
DEG
6.
[ 2ndF ] [
Σ
x
2
]
STAT
DEG
241.
[ 2ndF ] [
Σ
x ]
STAT
DEG
35.
[ x ]
STAT
DEG
5.833333333
[ S ]
STAT
DEG
2.714160398
[ 2ndF
] [
σ
]
STAT
DEG
σ
2.477678125
Nota:
La muestra de desviación normal se define como :
( )
1
n
n
x
–
x
2
2
−
∑
∑
SR260C_Spanish_090402.doc SIZE: 140x75mm SCALE 1:1
2009/4/14
-S16-
La desviación normal de población se define como :
( )
n
n
x
–
x
2
2
∑
∑
El medio aritmético x se define como :
n
x
∑
•
Para borrar una entrada incorrecta, apriete [ DEL ].
PROGRAMACIÓN
Con la calculadora científica programable, la repetición de cálculos
complejos no necesita ser una tarea que requiera mucho tiempo. Solo
es necesario decirle a la calculadora lo que usted necesita en un
modo en que esta lo pueda entender, en otras palabras
programándola.
Esta calculadora puede almacenar una rutina de hasta 40 octeto
(funciones matemáticas) o dígitos (números). Cada función cuenta
como un octeto. La calculadora recordará el programa a.n después de
apagada. Es posible tener más de una variable en el cáulo.
La calculadora aprende procedimientos matemáticos o programas en
el modo de programación (PGM). Para activar este modo apriete las
teclas [2ndF] [PGM]. PGM aparece en la pantalla.
Entre la rutina como si fuese ha hacer el cálculo una sola vez,
excepto que apretara [2ndF] [ [X] ] antes de entrar una variable. El
primer resultado será aún en modo PGM.
Nota : Si aprieta [2ndF] [ [X] ] y [ ] o un número y después [EXP],
‧
[ +/– ], [ ) ] ó [ CE ], ambos el número y la primera función serán
tratados como una variable. Estos no serán incorporados a la
rutina programada como uno de los octeto.
Recuerde que puede entrar un máximo de 40 octeto. Si se entra un
octeto 41 la pantalla mostrara
E
(error). Presione [ON/C] para borrar
el error.
Al terminar programando una rutina, presione [2ndF] [PGM] otra vez.
PGM desaparece de la pantalla y la calculadora abandona el modo de
programaciónción. Presione [RUN] para comenzar a repetir la misma
rutina matemática con diferentes variables.
Cuando presione [RUN], puede comenzar la entrada de nuevas
variables. Entre cada variable en el orden en que ocurren en el
programa y apriete [RUN] después de cada variable. la respuesta
aparecerá en al pantalla.
Rutinas previamente programadas serán automáticamente borradas
al apretar [2ndF] [PGM]. Solamente en caso de entrar una nueva
rutina seleccione el modo de programación.
Se puede programar la calculadora para que de resultados interinos
en una rutina. Mientras este programando (en modo PGM), presione
SR260C_Spanish_090402.doc SIZE: 140x75mm SCALE 1:1
2009/4/14
-S17-
[=] cuando llegue el punto en el que desee ver el valor interino.
Presione [2ndF] [HALT] y continúe entrando la formula normalmente.
Cuando corra la rutina programada, presione [RUN] después de que
la calculadora muestre el valor interino, para continuar el programa.
se puede usar el mismo método para programar la calculadora para
que corra dos o más fórmulas, una detrßs de la otra.
(ej.) Calcule la cantidad total de capital e interés de un préstamo
de $ 5.000 (x) con un interés anual del 6% (y) a pagar
anualmente sobre un periodo de 7 a
ň
os (z)
Formula : Cantidad total = x (1 +y )
z
(ej.) : (1)
x = $5,000
(2) x = $1,000
y = 6 %
y = 10 %
z = 7 a
ň
os
z = 5 a
ň
os
[ 2ndF ] [ PGM ]
PGM DEG
0.
[ 2ndF ] [ [X] ]
PGM DEG
[ 1 ]
5000
PGM DEG
5000.
[ x ] [ ( ] 1 [ + ] [ 2ndF ] [ [X] ]
PGM DEG
[ 2 ]
6
PGM DEG
6.
[ ÷ ] 100 [ ) ] [ x
y
] [ 2ndF ] [ [X] ]
PGM DEG
[ 3 ]
7
PGM DEG
7.
[ = ]
PGM DEG
7518.151295
[ 2ndF ] [ PGM ]
DEG
0.
[ RUN ]
DEG
[ 1 ]
1000
DEG
1000.
[ RUN ]
DEG
[ 2 ]
10
DEG
10.
[ RUN ]
DEG
[ 3 ]
5
DEG
5.
[ RUN ]
DEG
1610.51
SR260C_Spanish_090402.doc SIZE: 140x75mm SCALE 1:1
2009/4/14
-S18-
Descripci
ó
n:
△
→
Y
3
2
1
2
1
4
R
R
R
R
R
R
+
+
•
=
3
2
1
3
2
5
R
R
R
R
R
R
+
+
•
=
3
2
1
1
3
6
R
R
R
R
R
R
+
+
•
=
(Ex) :(1) R
1
= 12 (
Ω
) (2)
R
1
= 10 (
Ω
)
R
2
= 47 (
Ω
)
R
2
= 20 (
Ω
)
R
3
= 82 (
Ω
)
R
3
= 30 (
Ω
)
12 [ 2ndF ] [ Ka
X
Æ
K
]
DEG
12.
47 [ 2ndF ] [ Kb
X
Æ
K
]
DEG
47.
82 [ X
Æ
M ]
M
DEG
82.
[ 2ndF ] [ PGM ]
M
PGM DEG
0.
[ Ka
X
Æ
K
] [ Kb
X
Æ
K
]
M
PGM DEG
564.
R
1
x
R
2
[ ÷ ] [ ( ] [ Ka
X
Æ
K
] [ + ]
[ Kb
X
Æ
K
] [ + ] [ MR ] [ ) ] [ = ]
M
PGM DEG
4. R
4
[ 2ndF ] [ HALT ]
M
PGM DEG
4.
[ MR ] [ Kb
X
Æ
K
]
M
PGM DEG
3854.
R
2
x R
3
[ = ]
M
PGM DEG
27.33333333
R
5
[ 2ndF ] [ HALT ]
M
PGM DEG
27.33333333
[ MR ] [ Ka
X
Æ
K
]
M
PGM DEG
984.
R
3
x
R
1
[ = ]
M
PGM DEG
6.978723404
R
6
[ 2ndF ] [ PGM ]
M
DEG
0.
10 [ 2ndF ] [ Ka
X
Æ
K
] 20
[ 2ndF ] [ Kb
X
Æ
K
] 30 [ X
Æ
M ]
M
DEG
30.
SR260C_Spanish_090402.doc SIZE: 140x75mm SCALE 1:1
2009/4/14
-S19-
[ ON/C ] [ RUN ]
M
DEG
3.333333333
R
4
[ RUN ]
M
DEG
10.
R
5
[ RUN ]
M
DEG
5.
R
6
SR260C_Portuguese_090402.doc SIZE: 140x75mm SCALE 1:1
2009/4/14
-P1-
DEFINIÇÕES BÁSICAS ..................................................................... 2
As Teclas........................................................................................ 2
TECLAS
GERAIS............................................................................. 2
TECLAS
DE
MEMÓRIA ................................................................... 2
TECLAS
ESPECIAIS ....................................................................... 3
TECLA
PARA
CONVERSÃO
DE
UNIDADE ..................................... 4
TECLAS
DE
FUNÇÃO ..................................................................... 4
TECLAS
DE
PROGRAMAÇÃO
(SOMENTE
PARA
USO
EM
MODO
PGM)................................................................................................ 6
TECLAS
ESTATÍSTICAS
(SOMENTE
PARA
USO
EM
MODO
STAT
) .............................................................................................. 6
A TELA ............................................................................................... 7
ORDEM DE OPERAÇÕES ................................................................. 8
EXATIDÃO E CAPACIDADE .............................................................. 8
CONDIÇÕES DE EXCESSO / ERRO ............................................... 10
SUPRIMENTO DE ENERGIA ........................................................... 10
CÁLCULOS NORMAIS .................................................................... 11
Cálculo Básico (Incluindo Cálculos entre Parênteses) .............. 11
Cálculos Constantes .................................................................... 11
Cálculos da Memória.................................................................... 11
CÁLCULOS DA FUNÇÃO ................................................................ 12
Conversão Sexagesimal
↔
Decimal............................................ 12
Cálculo de Fração ........................................................................ 12
Funções Trigonométricas / Inversas – Tri..................................... 13
Funções Hiperbólicas e Inversas – Hip. ....................................... 13
Logaritmos Comuns e Naturais / Exponenciações....................... 13
Potência, Raíz, Recíprocas, Fatoriais .......................................... 14
Conversão de Unidade................................................................. 14
Constantes Físicas....................................................................... 14
DESVIAÇÕES PADRÕES ................................................................ 15
PROGRAMAÇÃO ............................................................................. 16
Índice
SR260C_Portuguese_090402.doc SIZE: 140x75mm SCALE 1:1
2009/4/14
-P2-
DEFINIÇÕES BÁSICAS
As Teclas
Para manter suas calculadoras mais compactas possíveis, algumas
teclas têm mais de uma função. Você pode mudar a função de uma
tecla pressionando uma outra tecla inicialmente, ou ajustando a
calculadora a um certo modo.
As páginas seguintes lhe dão explicação detalhada do uso e função
de cada tecla.
[ 2ndF ] Segunda Função da Tecla Selecionada
Algumas teclas têm uma segunda função inscrita sobre elas. Para
executar esta segunda função, pressione [ 2ndF ]. Ao aparecer “ 2F ”
na tela pressione a tecla.
TECLAS GERAIS
[ 0 ] ~[ 9 ] [
‧
] Teclas para Entrada de Dados
Pressione estas teclas nas suas sequências lógicas para entrar
números.
[ + ] [ – ] [ x ] [ ÷ ] [ = ] Teclas para Cálculos Básicos
Pressione estas teclas nas suas sequências lógicas para adição,
subtração, multiplicação, divisão, e para mostrar respostas.
[ ON/C ] Tecla de Ativação / Tecla Apagadora
Pressione [ ON/C ] para ligar a calculadora e para apagar tudo exceto
os conteúdos da memória, memória constante (Ka, Kb), e memória do
programa.
[ CE ] Tecla para Apagar Entrada
Pressione [ CE ] para apagar as entradas incorretas.
[ 00
Æ
0 ] Tecla de Deslocação à Direita
Pressione para apagar o último dígito significativo do número exibido.
(Ex.)
123456
123456.
[
00
Æ
0 ]
12345.
[
00
Æ
0 ]
1234.
[ +/– ] Tecla para Mudança de Sinal
Pressione [ +/– ] para mudar o número exibido do positivo ao negativo
ou do negativo ao positivo.
TECLAS DE MEMÓRIA
[ MR ] Tecla para Rechamada de Memória
Pressione [ MR ] para mostrar os conteúdos da memória.
[ X
Æ
M ] Tecla de Armazenamento em Memória
Pressione [ X
Æ
M ] para armazenar o valor exibido dentro da memória.
Qualquer valor anterior na memória será automaticamente apagado.
[ M+ ] Tecla de Memória Plus
SR260C_Portuguese_090402.doc SIZE: 140x75mm SCALE 1:1
2009/4/14
-P3-
Pressione [ M+ ] para totalizar o cálculo corrente e adicionar o
resultado ao valor já em memória.
[ 2ndF ] [ Ka
X
Æ
K
], [ 2ndF ] [ Kb
X
Æ
K
] Tecla de Armazenamento em
Memória Constante (Ka, Kb)
Pressione para entrar o valor exibido dentro da memória constante
Ka ou Kb.
[ Ka
X
Æ
K
], [ Kb
X
Æ
K
] Tecla de Rechamada de Memória
Pressione para exibir os conteúdos de uma memória constante.
Nota :
•
Memórias constantes Ka e Kb podêm ter um valor de 0
•
Se você pressionar [ Ka
X
Æ
K
] ou [ Kb
X
Æ
K
] depois da entrada de
um número ou depois de fazer um cálculo, o valor exibido será
multiplicado pelo valor em Ka ou Kb.
TECLAS ESPECIAIS
[ ( ], [ ) ] Teclas de Parêntesis
Pressione para anular a ordem de operação default de cálculo usando
parênteses. Você pode usar até 6 níveis de parênteses em um
simples cálculo.
[ EXP ] Tecla de Expoente
Para entrar um número em notação científica, primeiro entre os
números para a mantissa, pressione [ EXP ], e depois entre os
números para o expoente.
[ 2ndF ] [
π
] Tecla
Pressione [ 2ndF ] [
π
] para mostrar o valor de
π
, o qual é a razão da
circunferência do circulo ao seu diâmetro (aproximadamente
3.141592654).
[ 2ndF ] [ X
↔
Y ] Tecla para Troca do Registrador
Pressione [ 2ndF ] [ X
↔
Y ] para trocar o valor exibido (registrador-X)
com os conteúdos do registrador trabalhador (registrador-Y).
(Ex.)
123 [ + ] 456 [ = ]
579.
[ 2ndF ] [ X
↔
Y ]
456.
[ 2ndF ] [ X
↔
Y ]
579.
[ 2ndF ]
[ FIX ] Tecla Ajustadora do PontoDecimal
Use para ajustar o número de dígitos exibido depois do ponto decimal
nos resultados finais ou intermediários. A calculadora continua a
usar sua variação completa para cálculos internos e somente para
arredondar o número na tela.
•
[ 2ndF ] [ FIX ] [ 0 ]~[ 6 ] –– Ajusta o número de dígitos a ser
exibido à direita do ponto decimal.
•
[ 2ndF ] [ FIX ] [ 7 ], [ 8 ], [ 9 ], [
‧
] –– Seleciona o formato do ponto
flutuante.
(Ex.)
5 [ ÷ ] 9 [ = ]
0.555555556
[ 2ndF ] [ FIX ] [ 2 ]
0.56
SR260C_Portuguese_090402.doc SIZE: 140x75mm SCALE 1:1
2009/4/14
-P4-
[ 2ndF ] [ FIX ] [ 5 ]
0.55556
[ 2ndF ] [ FIX ] [
‧
] 0.
555555556
Nota : [ 2ndF ] [ FIX ] é inativo imediatamente depois e durante a
entrada numérica.
[ SCI ] Tecla Científica
Converte o número exibido em uma potência de dez e retorna.
(Ex.) :
12.3456 [ x ] 10 [ = ]
123.456
[ SCI ]
1.23456 02
[ SCI ]
123.456
[ SCI ]
1.23456 02
[ DRG ] Tecla de conversão da unidade de Ângulo
Pressione para mudar a unidade de ângulo como DEG (Graus), RAD
(Radianos), ou GRAD (Gradientes).
TECLA PARA CONVERSÃO DE UNIDADE
Esta calculadora tem 13 teclas para conversão de unidade como se
segue. Cada tecla tem duas características de conversão. Por
exemplo, pressionando [ A
Æ
B ] antes [ in
↔
cm ] pode can converter
um número em polegadas a centimetros; Pressionando [ 2ndF ]
[ A
Å
B ] antes de [ in
↔
cm ] pode converter um número em
centímetros a polegadas.
Tecla
Significados
[ in
↔
cm ]
polegada
↔
centímetro
[ feet
↔
m ]
pés
↔
metro
[ feet
2
↔
m
2
]
pés
2
↔
metro
2
[ B.gal
↔
l ]
galão Britânico
↔
litro
[ gal
↔
l ]
galão
↔
litro
[ Pint
↔
l ]
Quartilho
↔
litro
[ Tr.oz
↔
g ]
onça Troiana
↔
grama
[ oz
↔
g ]
onça
↔
grama
[ lb
↔
kg ]
libra
↔
quilograma
[ atm
↔
kpa ]
pressão atmosférica
↔
quilopascal
[ cal
↔
KJ ]
caloria
↔
Quilo–Joule
[
℉
↔
℃
]
Fahrenheit
↔
Celsius
[ mmHg
↔
kpa ]
mmHg
↔
Quilopascal
TECLAS DE FUNÇÃO
[ 2ndF ] [
], [ 2ndF ] [
] Teclas de Conversão de Notação
Sexagésima / Notação Decimal
Para mudar da notação sexagésima (base 60) (grau, minuto, segundo)
para notação decimal (grau) pressione [ 2ndF ] [
]. Para mudar
da notação decimal para notação sexagésima, entre o número em
forma decimal e depois pressione [ 2ndF ] [
].
SR260C_Portuguese_090402.doc SIZE: 140x75mm SCALE 1:1
2009/4/14
-P5-
[ sin ], [ cos ], [ tan ] Teclas Seno, Coseno, Tangente
Calcule as funções trigonométricas do valor exibido.
[ 2ndF ] [ sin
–1
], [ 2ndF ] [ cos
–1
], [ 2ndF ] [ tan
–1
] Teclas Seno
Inverso Seno, Coseno Inverso, Tangente Inverso
Calcule as funções trigonométricas inversas do valor exibido.
[ 2ndF ] [ HYP ] [ sin ], [ 2ndF ] [ HYP ] [ cos ], [ 2ndF ] [ HYP ]
[ tan ] Teclas Hiperbólicas
Calcule as funções hiperbólicas do valor exibido.
[ 2ndF ] [ HYP ] [ 2ndF ] [ sin
–1
], [ 2ndF ] [ HYP ] [ 2ndF ]
[ cos
–1
], [ 2ndF ] [ HYP ] [ 2ndF ] [ tan
–1
] Teclas Hiperbólicas
Inversas
Calcule as funções hiperbólicas inversas do valor exibido.
[ log ], [ 2ndF ] [ 10
x
] Teclas para Logarítimo Comum e
Antilogarítimo Comum
Calcule o logaritimo comum do valor exibido. Para calcular o
antilogaritimo comum do valor exibido, pressione [ 2ndF ] [ 10
x
].
[ ln ], [ 2ndF ] [ e
x
] Teclas para Logaritimo Natural e
Antilogaritimo Natural
Para calcular o logaritimo neutral do valor exibido, pressione [ ln ].
Para calcular o antilogaritmo natural do valor exibido, pressione
[ 2ndF ] [ e
x
].
[
√
], [ x
2
] Teclas de Raíz Quadrada e Quadrado
Pressione [
√
] para encontrar a raíz quadrada do valor exibido.
Para encontrar o quadrado do valor exibido, pressione [ x
2
].
[ 2ndF ] [
3
√
] Tecla de Raíz Cúbica
Pressione [ 2ndF ] [
3
√
] para encontrar a raíz cúbica do valor
exibido.
[ 2ndF ] [ 1/x ] Tecla para Recíproca
Pressione [ 2ndF ] [ 1/x ] para calcular a recíproca do valor exibido.
[ 2ndF ] [ x! ] Tecla para Fatorial
Para encontrar o fatorial do valor exibido, pressione [ 2ndF ] [ x! ]
[ x
y
] Tecla para Potenciação
Pressione qualquer número [ x ],[ x
y
], qualquer número [ y ], e [ = ]
para elevar x à potência y .
[ 2ndF ] [
y
x
] Tecla de Raíz
Pressione qualquer número [ x ] [ 2ndF ] [
y
x ], qualquer número
[ y ], e [ = ] para mostrar a raíz y de x.
[ a
b/c ], [ 2ndF ] [ d/e ] Tecla de Fração
Pressionando [ a
b/c ] pode entrar uma fração ou converter uma
fração a um número decimal. Pressionando [ 2ndF ] [
d/e ] pode
converter um número misto a uma fração imprópria e vice-versa.
SR260C_Portuguese_090402.doc SIZE: 140x75mm SCALE 1:1
2009/4/14
-P6-
[ CONST ] Tecla de Constante Física
Esta calculadora lhe permite executar cálculos com 15 constantes
embutidas. Simplesmente pressionando a tecla [ CONST ]
continuamente pode mostrar os seguintes símbolos e valores.
Símbolo Significado
Valor
c
Velocidade da luz
299792458 m / s
g
Aceleração da gravidade
9.80665 m s
–2
G
Constante Gravitacional 6.6725985 x 10
–11
N m
2
kg
–2
Vm
Volume molar de gás ideal
0.0224141 m
3
mol
–1
N
A
Número de Avogadro
6.022136736 x 10
23
mol
–1
R
Constante de gás molar
8.3145107 J / K mol
e
Carga elementária
1.6021773349 x 10
–19
C
m e
Massa do Elétron
9.109389754 x 10
–31
kg
m p
Massa do Próton
1.67262311 x 10
–27
kg
m n
Massa do Neutron
1.67492861 x 10
–27
kg
u
Massa atômica unificada
1.66054021 x 10
–27
kg
h
Constante de Plank
6.62607554 x 10
–34
J.S
k
Constante de Boltzmann
1.38065812 x 10
–23
J.K
–1
μ
0
Permitividade magnética
1.2566370614 x 10
-06
Hm
–1
ε
0
Permitividade dielétrica
8.854187817 x 10
–12
Fm
–1
TECLAS DE PROGRAMAÇÃO
(SOMENTE PARA USO EM MODO PGM)
[ 2ndF ] [ PGM ]
─
Tecla para Ajuste do Modo Programa e para
Apagar
Ajuste a calculadora para aprender o modo programa. PGM aparece
na tela e os conteúdos anteriores da memória de programa são
apagados.
Quando você terminar de entrar o programa, pressione [ 2ndF ]
[ PGM ]. O programa que você acabou de entrar é armazenado na
memória do programa. PGM desaparece e a calculadora sai do modo
de programa.
[ RUN ]
─
Tecla de Computação
Executa o programa gravado.
[ 2ndF ] [ [X] ]
─
Tecla de Variável Específica
Deixa você ter a calculadora esperando por uma entrada durante um
programa.
[ 2ndF ] [ HALT ]
─
Pára temporariamente a Tecla de Cálculo P
Pára temporariamente um programa de maneira que você possa ver
os resultados intermediários ou para interromper cálculos .
TECLAS ESTATÍSTICAS
(SOMENTE PARA USO EM MODO STAT )
[ 2ndF ] [ STAT ] Tecla para Selecionamento de Modo Estatístico
SR260C_Portuguese_090402.doc SIZE: 140x75mm SCALE 1:1
2009/4/14
-P7-
Ajusta a calculadora ao modo de cálculo estatístico. STAT aparece na
tela.
[ 2ndF ] [ CAD ] Tecla para Apagar Registrador Estatístico
Apaga os registradores de cálculo estatísticos.
[ DATA ], [ DEL ] Tecla para Entrada de Dados e Deleção
No modo STAT, entre dados pressionando os números desejados,
depois [ DATA ]. Se você entrar dados incorretos e não perceber seu
erro até você pressionar [ DATA ], entre os mesmos dados incorretos
e depois pressione [ DEL ] para deletar os dados incorretos.
[
x
] Tecla de Média Aritmética
Calcula a média aritmética ( x ) dos dados .
[ 2ndF ] [
σ
] Tecla de Desviação Padrão da População
Calcula a desviação padrão da população dos dados.
[ S ] Tecla de Desviação Padrão da Amostra
Calcula a desviação padrão da amostra dos dados.
[ 2ndF ] [
Σ
x
2
] Tecla para Somatória do Valor ao Quadrado
Calcula a somatória do valor ao quadrado (
Σ
x
2
) dos dados.
[ 2ndF ] [
Σ
x ] Tecla para Somatória de Valor
Calcula a somatória do valor (
Σ
x ) dos dados .
[ n ] Tecla de Número de Dados
Mostra o número (n) das entradas de dados.
A Tela
Indicadores exibidos na tela lhe indicam o estado corrente da
calculadora.
•
Ponto flutuante mostra até 10 dígitos.
•
A seção da mantissa mostra até 8 dígitos. A seção de expoente
mostra até
±
99.
STAT
: Indica o modo estatístico.
M
: Indica que um valor está armazenado na memória.
–
: Aparece à esquerda da mantissa ou expoente para
indicar que um valor respectivo é negativo.
E :
Indica
um
erro.
PGM
: Indica o modo de aprendizagem do programa.
CONST : Indica o modo constante.
GRAD
: Indica que as unidades gradientes hão sido
selecionadas.
RAD
: Indica que as unidades radianos hão sido selecionadas.
DEG
: indica que as unidades de grau hão sido selecionadas.
SR260C_Portuguese_090402.doc SIZE: 140x75mm SCALE 1:1
2009/4/14
-P8-
BUSY
: Enquanto uma operação está executando.
σ
: Indica o valor da desviação
2F
: Aparece quando uma segunda função há sido
selecionada.
HYP
: Aparece quando a função hiperbólica há sido
selecionada.
(
: Aparece quando você pressiona [ ( ]. Ele mostra o nível
presente de acoplação.
( n )
: Aparece quando se tecla [SHIFT] [ [X] ] no modo
digitação de programa e quando a execução de
programa pára para entrar uma variável. O número em
chaves mostra o número do lugar da variável, e varia de
1 a 40
ORDEM DE OPERAÇÕES
Cada cálculo é executado na seguinte ordem de precedência:
1) Funções que requerem entrada de valores antes de pressionar a
tecla de função, por exemplo, cos, sen, tan, cos
–1
, sin
–1
, tan
–1
, log,
ln, x
2
, 1/x,
√
,
π
,
3
√
, x!, %,
,
e 13 unidades de
conversão.
2) Operação em parênteses
3) Funções requerem a pressão da tecla de função antes da entrada,
por exemplo, tecla [ EXP ] .
4) Frações
5) +/–
6)
y
x , x
y
7) x , ÷
8) +, –
EXATIDÃO E CAPACIDADE
Funções
Variação da entrada
sen x, cos x, tan x
Deg :
x
<
1 x 10
11
deg
Rad :
x
<
1745329252 rad
Grad : x
<
1.111111111 x 10
11
grad
contudo, para tan x
Deg : x
≠
90 (2n+1)
Rad : x
≠
2
π
(2n+1)
Grad : x
≠
100 (2n+1)
(n é um inteiro)
SR260C_Portuguese_090402.doc SIZE: 140x75mm SCALE 1:1
2009/4/14
-P9-
sen
–1
x, cos
–1
x
x
≤
1
tan
–1
x
x
<
1 x 10
100
senh x, cosh x
x
≤
230.2585092
tanh x
x
<
1 x 10
100
senh
–1
x
x
<
5 x 10
99
cosh
–1
x 1
≤
x
<
5 x 10
99
tanh
–1
x
x
<
1
log x, ln x
1 x 10
–99
≤
x
<
1 x 10
100
10
x
x
<
100
e
x
x
≤
230.2585092
x
0
≤
X
<
1 x 10
100
x
2
x
<
1 x 10
50
1/x
1 x 10
–99
≤
x
<
1 x 10
100
, X
≠
0
3
x
x
<
1 x 10
100
x !
0
≤
x
≤
69, x é um inteiro.
,
x
<
1 x 10
100
x
y
x
>
0 : –1 x 10
100
<
y log x
<
100
x = 0 : y
>
0
x
<
0 : y = n, 1/(2n+1), n é um inteiro.
mas –1 x 10
100
<
y
1 log
⏐
x
⏐
100
y
x
x
>
0 : y
≠
0, -1 x 10
100
<
y
1 log x
<
100
x = 0 : y
>
0
x
<
0 : y=2n+1, l/n, n é um inteiro.(n
≠
0)
mas –1 x 10
100
<
y
1 log
⏐
x
⏐
100
c
b
a
Entrada
:
Total de inteiro, numerador e
denominador devem ser 10 digitos (inclui
sinais de divisão)
Resultado
:
Resultado exibido como fração
para inteiro quando inteiro, numerador e
denominador são menos de 1 x 10
10
SR260C_Portuguese_090402.doc SIZE: 140x75mm SCALE 1:1
2009/4/14
-P10-
STAT
⏐
x
⏐
<
1 x 10
50
,
⏐Σ
x
⏐
<
1 x 10
100
0
≤
Σ
x
2
<
1 x 10
100
, 0
≤
n
<
1 x 10
100
x : n
≠
0 ; s : n
>
1 ;
σ
: n
>
0
CONDIÇÕES DE EXCESSO / ERRO
Um símbolo “ E ” é indicado na tela quando quisquer das seguintes
condições ocorre e cálculo adicional se torna impossível.
Simplesmente pressione [ ON/C ] para liberar esses excessos ou o
indicador de erro e o cálculo subsequente poderá ser então
executado.
•
Um resultado de cálculo intermediário ou final excede 1 x 10
100
(incluindo cálculos de memória).
•
Você tenta dividir por zero.
•
O número de níveis de armazenamento de baixa prioridade
excede 6 em um cálculo com parênteses ou parênteses de
acoplação excedem 7 em um nível. (Mesmo se o número de
níveis está dentro de 6, um erro poderá ocorrer se você estiver
usando memórias Ka ou Kb, ou memórias de programa.)
•
Você tenta usar [ 2ndF ] [ Ka
X
Æ
K
] ou [ 2ndF ] [ Kb
X
Æ
K
] enquanto
as memórias Ka e Kb estão sendo usadas para armazenamento
de cálculo de baixa prioridade.
•
Você faz um cálculo que está fora da variação para cálculos
funcionais e estatísticos.
•
Você tenta armazenar mais de 40 passos em um programa.
Para apagar cálculo depois de uma condição de excesso, pressione
[ ON/C ].
SUPRIMENTO DE ENERGIA
Para ligar a calculadora, pressione [ ON/C ] ; Para desligar a
calculadora, pressione [ OFF ]. Esta calculadora se desliga
automaticamente quando não operada por aproximadamente 9
minutos. Ela pode ser reativada pressionando tecla [ ON/C ] e os
ajustes de tela e memória são retidas.
A calculadora é alimentada por duas baterias alcalinas G13(LR44).
Quando o visor ficar fraco, substitua as baterias. Tenha cuidado para
não se ferir ao trocar a bateria.
1. Solte os parafusos na traseira da calculadora.
2. Insira uma chave de fenda na fenda entre a tampa e a caixa e
cuidadosamente torça-a para separá-las .
3. Remova ambas as baterias e descarte-as. Jamais permita que
crianças brinquem com baterias.
4. Limpe as novas baterias com pano seco para manter bom contato.
5. Insira as duas baterias com as faces lisas (positivo) para cima.
6. Alinhe a tampa com a caixa e aperte-as para fechá-las junto.
7. Aperte de volta os parafusos.
SR260C_Portuguese_090402.doc SIZE: 140x75mm SCALE 1:1
2009/4/14
-P11-
CÁLCULOS NORMAIS
Cálculo Básico
(Incluindo Cálculos entre Parênteses)
(Ex.) : – 3.5 +8 ÷ 2= 0.5
3.5 [ +/–] [ + ] 8 [ ÷ ] 2 [ = ]
DEG
0.5
(Ex.) : ( 5 – 2 x 1.5 ) x 3 + 0.8 x ( – 4 ) = ?
[ ( ] 5 [ – ] 2 [ x ] 1.5 [ ) ] [ x ] 3 [ + ]
0.8 [ x ] 4 [ +/ – ] [ = ]
DEG
2.8
(Ex.) : 2 x [ 7 + 6 x ( 5 + 4 ) ] = 122
2 [ x ] [ ( ] 7 [ + ] 6 [ x ] [ ( ] 5 [ + ] 4
[ = ]
DEG
122.
(Nota) : É desnecessário pressionar a tecla [ ) ] antes da tecla [ = ] .
Cálculos Constantes
(Ex.) : 3 + 2.3 = 5.3
6 + 2.3 = 8.3
3 [ + ] 2.3 [ = ]
DEG
5.3
6 [ = ]
DEG
8.3
(Ex.) : 7 – 5.6 = 1.4
–4.5
–
5.6 = –10.1
7 [ – ] 5.6 [ = ]
DEG
1.4
4.5 [+/–] [ = ]
DEG
–10.1
(Ex.) : 12 x 2.3 = 27.6
12
x (–9) = –108
12 [ x ] 2.3 [ = ]
DEG
27.6
9 [+/–] [ = ]
DEG
–108.
(Ex.) : 74 ÷ 2.5 = 29.6
85.2 ÷ 2.5 = 34.08
74 [ ÷ ] 2.5 [ = ]
DEG
29.6
85.2 [ = ]
DEG
34.08
Cálculos da Memória
•
Não ajuste o modo da função ao “ STAT ” durante execução do
cálculo de memória.
•
Um número novo entrado dentro da memória ao pressionar
[ X
Æ
M ] substitui qualquer número armazenado anteriormente.
•
Para limpar os conteúdos da memória, pressione [ 0 ] [ X
Æ
M ] ou
[ ON/C ]
[ X
Æ
M ] em sequência .
•
M aparece quando um número que não é igual a “ 0 ” é
SR260C_Portuguese_090402.doc SIZE: 140x75mm SCALE 1:1
2009/4/14
-P12-
armazenado na memória.
•
Quando você pressiona [ X
Æ
M ] depois de pressionar [ MR ], o
número exibido é mudado assim como o conteúdo da memória.
(Ex.) : (3 – 5) + (56 ÷ 7) + (74 – 8 x 7) = 24
0 [ X
Æ
M ]
DEG
0.
3 [ – ] 5 [ M+ ]
M
DEG
–2.
56 [ ÷ ] 7 [ M+ ]
M
DEG
8.
74 [ – ] 8 [ x ] 7 [ M+ ]
M
DEG
18.
[ MR ]
M
DEG
24.
0 [ X
Æ
M ]
DEG
0.
CÁLCULOS DA FUNÇÃO
Conversão Sexagesimal
↔
Decimal
(Ex.) : 12
∘
45’
30” = 12.75833333
12 [
‧
] 4530 [ 2ndF ] [
]
DEG
12.75833333
(Ex.) : 2.12345 = 2
∘
7’ 24.42”
2.12345 [ 2ndF ] [
]
DEG
2.072442
Antes de executar o seguinte cálculo, verifique para ver se sua
calculadora está fixada no formato de exibição 2 decimais.
Cálculo de Fração
•
Pressionando [ 2ndF ] [ d/e ], o valor exibido será convertido à
fração imprópria.
(Ex.) :
15
124
5
3
7
3
2
=
+
2 [ a
b/c ] 3 [ + ] 7 [ a
b/c ] 3 [ a
b/c ] 5
[ = ]
DEG
8
∪
4
┘
15
[ 2ndF ] [ d/e ]
DEG
124
┘
15
•
Quando uma pressão da tecla [ a
b/c ] depois da tecla [ = ] ou uma
fração executada com um decimal, a resposta é exibida como um
decimal.
SR260C_Portuguese_090402.doc SIZE: 140x75mm SCALE 1:1
2009/4/14
-P13-
(Ex.) :
9.19
16
7
9
4
3
3
9
4
5
=
=
+
5 [ a
b/c ] 4 [ a
b/c ] 9 [ + ] 3 [ a
b/c ] 3
[ a
b/c ] 4 [ = ]
DEG
9
∪
7
┘
36
[ a
b/c ]
DEG
9.19
Funções Trigonométricas / Inversas – Tri.
(Ex.) : 3 sin 30
。
= 1.50
3 [ x ] 30 [ sin ] [ = ]
DEG
1.50
(Ex.) : cos (
3
2
π
rad) = – 0.5
2 [ x ] [ 2ndF ] [
π
] [ ÷ ] 3 [ = ] [ cos ]
RAD
– 0.50
(Ex.) : sin
–1
0.5 = 30 (deg)
0.5 [ 2ndF ] [ sin
–1
]
DEG
30.00
(Ex.) : cos
–1
(
2
1
) = 0.79 (rad)
2 [
√
] [ 2ndF ] [ 1/x ] [ 2ndF ]
[ cos
–1
]
RAD
0.79
Funções Hiperbólicas e Inversas – Hip.
(Ex.) : cosh 1.5 + sinh 1.5 = 4.48
1.5 [ 2ndF ] [ HYP ] [ cos ] [ + ]
1.5 [ 2ndF ] [ HYP ] [ sin ] [ = ]
DEG
4.48
(Ex.) : sinh
–1
7 = 2.64
7 [ 2ndF ] [ HYP ] [ 2ndF ] [ sin
–1
]
DEG
2.64
Logaritmos Comuns e Naturais / Exponenciações
(Ex.) : ln7 + log100 = 3.95
7 [ ln ] [ + ] 100 [ log ] [ = ]
DEG
3.95
(Ex.) : 10
2
= 100.00
2 [ 2ndF ] [ 10
x
] [ = ]
DEG
100.00
(Ex.) : e
5
– e
–2
= ?
5 [ 2ndF ] [ e
x
] [ – ] 2 [ +/– ] [ 2ndF ]
[ e
x
] [ = ]
DEG
148.28
SR260C_Portuguese_090402.doc SIZE: 140x75mm SCALE 1:1
2009/4/14
-P14-
Potência, Raíz, Recíprocas, Fatoriais
(Ex.) :
5.29
5
3
2
=
×
+
2 [
√
]
[ + ] 3 [
√
]
[ x ]
5 [
√
] [ =
]
DEG
5.29
(Ex.) :
5 [ 2ndF ] [
3
√
] [ + ] 27 [ +/– ]
[ 2ndF ] [
3
√
] [ = ]
DEG
–1.29
(Ex.) : 7
5
= 16807
7 [ x
y
] 5 [ = ]
DEG
16807.00
(Ex.) :
= 2
32 [ 2ndF ] [
] 5 [ = ]
DEG
2.00
(Ex.) :
3 [ 2ndF ] [ 1/x ] [ – ] 4 [ 2ndF ] [ 1/x ]
[ = ] [ 2ndF ] [ 1/x ]
DEG
12.00
(Ex.) : 123 + 30
2
= 1023.00
123 [ + ] 30 [ x
2
] [ = ]
DEG
1023.00
(Ex.) : 8 ! = 1 x 2 x 3 x ……x 7 x 8 = 40320.00
8 [ 2ndF ] [ x ! ]
DEG
40320.00
Conversão de Unidade
(Ex.) : 12 in = 30.48 cm
12 [ A
Æ
B ] [ 2ndF ] [ in
↔
cm ]
DEG
30.48
(Ex.) : 98 cm = 38.58 in
98 [ 2ndF ] [ A
Å
B ] [ 2ndF ] [ in
↔
cm ]
DEG
38.58
Nota : Todos os procedimentos operantes para tecla de conversão de
unidade, [ pés
↔
m ], [ pés
2
↔
m
2
], [ B.gal
↔
l ], [ gal
↔
l ]
[ Pint
↔
l ], [ Tr.oz
↔
g ], [ oz
↔
g ], [ lb
↔
kg ], [ atm
↔
kpa ],
[ cal
↔
KJ ], [
℉
↔
℃
] e [ mmHg
↔
kpa ] são os mesmos do
exemplo acima.
Constantes Físicas
(Ex.) : 5 x G = 3.34 x 10
–10
SR260C_Portuguese_090402.doc SIZE: 140x75mm SCALE 1:1
2009/4/14
-P15-
5 [ x ] [ CONST ] [ CONST ]
[ CONST ]
CONST DEG
6.67
–11
G
[ = ]
DEG
3.34
–10
DESVIAÇÕES PADRÕES
•
Pressione [ 2ndF ] [ STAT ] para ajustar a calculadora ao modo de
cálculo estatístico.
•
Pressione [ 2ndF ] [ CAD ] para apagar memória estatística antes
de você iniciar um novo cálculo.
•
Ao invés de entrar diretamente cada dado, quando frequentemente
diversos items de dados têm o mesmo valor, você pode entrar o
valor e o número de ocorrências.
(Ex.) : Entre os seguintes dados para calcular n,
Σ
x,
Σ
x
2
, x ,
S,
σ
, onde dado 1 = 2, dado 2~4 = 5, dado 5~6 = 9
[ 2ndF ] [ STAT ]
STAT
DEG
0.
[ 2ndF ] [ CAD ]
STAT
DEG
0.
2 [ DATA ] 5 [ DATA ] 5 [ DATA ] 5
[ DATA ] 9 [ DATA ] 9 [ DATA ]
– ou –
2 [ DATA ] 5 [ x ] 3 [ DATA ] 9 [ x ]
2 [ DATA ]
STAT
DEG
6.
[ n ]
STAT
DEG
6.
[ 2ndF ] [
Σ
x
2
]
STAT
DEG
241.
[ 2ndF ] [
Σ
x ]
STAT
DEG
35.
[ x ]
STAT
DEG
5.833333333
[ S ]
STAT
DEG
2.714160398
[ 2ndF
] [
σ
]
STAT
DEG
σ
2.477678125
Nota:
A desviação padrão da amostra S é definida como :
( )
1
n
n
x
–
x
2
2
−
∑
∑
A desviação padrão da população
σ
é definida como :
( )
n
n
x
–
x
2
2
∑
∑
SR260C_Portuguese_090402.doc SIZE: 140x75mm SCALE 1:1
2009/4/14
-P16-
A média aritmética x é definida como :
n
x
∑
•
Para deletar uma entrada incorreta, pressione [ DEL ].
PROGRAMAÇÃO
Com sua calculadora científica programável, cálculos repetidos
complexos não são mais tarefas consumidoras de tempo. Tudo que
você deve fazer é dizer à calculadora o que você quer fazer de um
modo que ela entenda (em outras palavras, programe-a).
Sua calculadora pode armazenar um procedimento com até 40
passos. Estes “passos” podem ser passos (como funções
matemáticas) ou caracteres (como números). Cada função conta
como um passo. Ele se lembra do procedimento mesmo depois de
você desligar a calculadora. Você pode ter mais de uma variável em
seu cálculo.
Sua calculadora aprende procedimentos matemáticos ou programas
no modo programa (PGM). Para ajustar a calculadora ao modo
programa, pressione [ 2ndF ] [ PGM ]. PGM aparece na tela.
Agora entre seu procedimento como se você estivesse simplesmente
indo calculá-lo uma vez – exceto – pressione [ 2ndF ] [ [X] ] antes de
entrar dados de variável. Você consegue sua primeira resposta
enquanto você está ainda no modo PGM.
Nota : Se você pressionar [ 2ndF ] [ [X] ] depois [
‧
] ou um número, e
depois [ EXP ], [ +/– ], [ ) ] ou [ CE ], ambos o número e a
primeira função são tratadas como uma variável – elas não são
escritas dentro do programa como passos.
Lembre-se, você pode entrar um máximo de 40 passos. Se você
tentar entrar um passo 41°, a calculadora exibe E. Pressione [ ON/C ]
para apagar o erro.
Para parar o armazenamento de um programa, pressione [ 2ndF ]
[ PGM ] novamente. PGM desaparece e a calculadora deixa o modo
programa. Pressione [ RUN ] para começar repetindo o mesmo
procedimento matemático com variáveis diferentes.
Quando você pressiona [ RUN ], você pode começar entrando
variáveis diferentes. Simplesmente entre cada variável na ordem em
que ocorre na fórmula e pressione [ RUN ] depois de cada variável.
As respostas aparecem na tela.
Programas armazenados são automaticamente apagados quando
você pressiona [ 2ndF ] [ PGM ]. Assim, a menos que você queira
entrar um novo programa, não selecione o modo programa.
Você também pode programar sua calculadora para lhe dar valores
provisórios em sua fórmula. Durante programação de cálculo (em
SR260C_Portuguese_090402.doc SIZE: 140x75mm SCALE 1:1
2009/4/14
-P17-
modo PGM), pressione [ = ] quando você alcançar o ponto onde você
quer que o valor provisório seja exibido. Depois pressione [ 2ndF ]
[ HALT ] e continue entrando sua fórmula na maneira usual.
Ao executar o programa, pressione [ RUN ] depois da calculadora
exibir um valor provisório para recomeçar o programa. Você pode
usar o mesmo método para programar sua calculadora para executar
duas ou mais fórmulas. Uma depois da outra.
(Ex.) Encontre a quantia total de capital e juros de um
empréstimo de $5,000 (x) a 6% de juroa anuais (y) composto
anualmente sobre um período de 7 anos (z) ?
Fórmula : quantia total = x (1 +y )
z
(Ex.) : (1)
x = $5,000
(2) x = $1,000
y = 6 %
y = 10 %
z = 7 anos
z = 5 anos
[ 2ndF ] [ PGM ]
PGM DEG
0.
[ 2ndF ] [ [X] ]
PGM DEG
[ 1 ]
5000
PGM DEG
5000.
[ x ] [ ( ] 1 [ + ] [ 2ndF ] [ [X] ]
PGM DEG
[ 2 ]
6
PGM DEG
6.
[ ÷ ] 100 [ ) ] [ x
y
] [ 2ndF ] [ [X] ]
PGM DEG
[ 3 ]
7
PGM DEG
7.
[ = ]
PGM DEG
7518.151295
[ 2ndF ] [ PGM ]
DEG
0.
[ RUN ]
DEG
[ 1 ]
1000
DEG
1000.
[ RUN ]
DEG
[ 2 ]
10
DEG
10.
[ RUN ]
DEG
[ 3 ]
5
DEG
5.
[ RUN ]
DEG
1610.51
SR260C_Portuguese_090402.doc SIZE: 140x75mm SCALE 1:1
2009/4/14
-P18-
Descrição :
△
→
Y
3
2
1
2
1
4
R
R
R
R
R
R
+
+
•
=
3
2
1
3
2
5
R
R
R
R
R
R
+
+
•
=
3
2
1
1
3
6
R
R
R
R
R
R
+
+
•
=
(Ex) :(1) R
1
= 12 (
Ω
) (2)
R
1
= 10 (
Ω
)
R
2
= 47 (
Ω
)
R
2
= 20 (
Ω
)
R
3
= 82 (
Ω
)
R
3
= 30 (
Ω
)
12 [ 2ndF ] [ Ka
X
Æ
K
]
DEG
12.
47 [ 2ndF ] [ Kb
X
Æ
K
]
DEG
47.
82 [ X
Æ
M ]
M
DEG
82.
[ 2ndF ] [ PGM ]
M
PGM DEG
0.
[ Ka
X
Æ
K
] [ Kb
X
Æ
K
]
M
PGM DEG
564.
R
1
x
R
2
[ ÷ ] [ ( ] [ Ka
X
Æ
K
] [ + ]
[ Kb
X
Æ
K
] [ + ] [ MR ] [ ) ] [ = ]
M
PGM DEG
4. R
4
[ 2ndF ] [ HALT ]
M
PGM DEG
4.
[ MR ] [ Kb
X
Æ
K
]
M
PGM DEG
3854.
R
2
x R
3
[ = ]
M
PGM DEG
27.33333333
R
5
[ 2ndF ] [ HALT ]
M
PGM DEG
27.33333333
[ MR ] [ Ka
X
Æ
K
]
M
PGM DEG
984.
R
3
x
R
1
[ = ]
M
PGM DEG
6.978723404
R
6
[ 2ndF ] [ PGM ]
M
DEG
0.
SR260C_Portuguese_090402.doc SIZE: 140x75mm SCALE 1:1
2009/4/14
-P19-
10 [ 2ndF ] [ Ka
X
Æ
K
] 20
[ 2ndF ] [ Kb
X
Æ
K
] 30 [ X
Æ
M ]
M
DEG
30.
[ ON/C ] [ RUN ]
M
DEG
3.333333333
R
4
[ RUN ]
M
DEG
10.
R
5
[ RUN ]
M
DEG
5.
R
6
SR260C_German_090402.doc SIZE: 140x75mm SCALE 1:1
2009/4/14
-G1-
GRUNDLEGENDES ........................................................................... 2
Die Tastatur .................................................................................... 2
D
IE WICHTIGSTEN
T
ASTEN
................................................................. 2
SPEICHERTASTEN......................................................................... 2
SONDERTASTEN............................................................................ 3
EINHEITENUMWANDLUNGSTASTE.............................................. 4
FUNKTIONSTASTEN ...................................................................... 4
PROGRAMMIERTASTEN
(N
UR IM
LRN-M
ODUS ZU VERWENDEN
).... 6
S
TATISTISCHE
T
ASTEN
(N
UR IM
STAT-M
ODUS AKTIV
) ......................... 7
DIE ANZEIGE...................................................................................... 7
REIHENFOLGE DER RECHENOPERATIONEN................................ 8
KORREKTHEIT UND KAPAZITÄT..................................................... 8
MÖGLICHKEIT VON OVERFLOWS UND FEHLERN...................... 10
STROMVERSORGUNG ................................................................... 10
ÜBLICHE RECHNUNGEN................................................................ 11
Grundlegende Berechnungen (mit Klammerrechnung) ................ 11
Constant Calculations .................................................................. 11
Berechnung im Speicher .............................................................. 12
FUNKTIONSBERECHNUNGEN....................................................... 12
Dezimal
↔
Sexagesimalberechnungen ....................................... 12
Berechnung von Brüchen............................................................. 13
Trigonometrische Funktionen und inverse trigonometrische
Funktionen ................................................................................... 13
Hyperbelfunktionen und inverse Hyperbelfunktionen ................... 13
Logarithmus und natnrlicher Logarithmus Exponential-rechnung 14
Leistung, Wurzel, Reziprok, Faktor .............................................. 14
Umrechnung zwischen anderen Einheiten ................................... 15
Physikalische Konstanten ............................................................ 15
STANDARDABWEICHUNGEN ........................................................ 15
PROGRAMMIEREN.......................................................................... 16
Inhaltsverzeichnis
SR260C_German_090402.doc SIZE: 140x75mm SCALE 1:1
2009/4/14
-G2-
Grundlegendes
Die Tastatur
Um den Taschenrechner so handlich wie mögöglich zu halten, wurde
jede Taste mit mehr als einer Funktion belegt. Jede dieser
Zweitfunktionen wird durch Drücken einer anderen Taste vor der
eigentlichen Funktionstaste angesprochen, oder aber durch Einstellen
eines bestimmten Betriebsmodus.
Die folgenden Seiten erklären die einzelnen Tasten genauer.
[ 2ndF ] Zweitfunktionstaste
Manche Tasten sind mit Zweitfunktionen belegt, Um diese
Zweitfunktion anzusprechen, drücken Sie [ 2ndF ]. “ 2F ” erscheint in
der Anzeige. Dann drücken Sie die eigentliche Funktionstaste.
Die wichtigsten Tasten
[ 0 ] ~[ 9 ] [ ] Zifferneingabetasten
‧
Drücken Sie die Tasten entsprechend der logischen Eingabesequenz
einer Zahl.
[ + ] [ – ] [ x ] [ ÷ ] [ = ] Grundrechnungsarten
Drücken Sie die Tasten entsprechend der logischen Eingabesequenz
einer Addition, Subtraktion, Multiplikation, Division und zum Anzeigen
von Resultaten.
[ ON/C ] Hauptschalter/Löschtaste
Drücken Sie [ON/C] , um den Taschenrechner einzuschalten und alles
außer dem Speicherinhalt, Konstantenspeicher Ka und Kb und dem
Programmspeicher, zu löschen. Außerdem überlagert diese Taste das
Automatische Abschalten.
[ CE ] Löschtaste
Drücken Sie [CE], um eine inkorrekte Eingabe aufzuheben.
[ 00
Æ
0 ] Rechte Umschalttaste
Drückem, um die letzte wesentliche Ziffer der angezeigten Nummer zu
löschen.
(Beispiel) 123456
123456.
[
00
Æ
0 ]
12345.
[
00
Æ
0 ]
1234.
[ +/– ] Vorzeichenwechsel
Drücken Sie [ +/– ], um das Vorzeichen einer Zahl in der Anzeige von
positiv nach negativ und umgekehrt zu wechseln.
SPEICHERTASTEN
[ MR ] Speicheraufruftaste
Drücken Sie [MR] um den Speicherinhalt am Display anzuzeigen.
[ X
Æ
M ] Speichertaste
SR260C_German_090402.doc SIZE: 140x75mm SCALE 1:1
2009/4/14
-G3-
Drücken Sie [ X
Æ
M ], um die Zahl in der Anzeige in den Speicher zu
kopieren und gleichzeitig jeden zuvor im Speicher befindlichen Wert
zu löschen
[ M+ ] Speicheradditionstaste
Drncken Sie [ M+ ], um die Zahl in der Anzeige zum Wert im Speicher
zu addieren.
[ 2ndF ] [ Ka
X
Æ
K
], [ 2ndF ] [ Kb
X
Æ
K
] Konstantenspeicher (Ka, Kb)
Drücken Sie diese Tasten, um eine Konstante Ka oder Kb mit einem
Wert zu belegen.
[ Ka
X
Æ
K
], [ Kb
X
Æ
K
] Konstantenspeicher Speicheraufruftaste
Drücken Sie diese Tasten, um den Inhalt einer Speicherkonstante
anzuzeigen.
Note :
•
Die Konstanten Ka und Kb können den Wert 0 annehmen.
•
Wenn Sie [ Ka
X
Æ
K
] oder [ Kb
X
Æ
K
] nach einer Berechnung oder
Zahl eingeben, wird diese mit dem Faktor Ka bzw. Kb multipliziert.
SONDERTASTEN
[ ( ], [ ) ] Klammertasten
Drücken, um die voreingestellte Betriebsreihenfolge durch
Verwendung von Klammern zu ubergehen. Bis zu 6 Ebenen von
Klammern können in einer einzigen Rechnung verwendet werden.
[ EXP ] Exponentialtaste
Um eine Zahl in wissenschaftlicher Schreibweise einzugeben, geben
Sie zuerst die Mantisse ein, dann drücken Sie [ EXP ] schließlich
geben Sie den Exponenten ein.
Die Taste [ 2ndF ] [
π
]
Drücken Sie die Taste [ 2ndF ] [
π
], um den Wert von p anzuzeigen,
wobei p das Verhältnis des Umfanges eines Kreises zu seinem
Durchmesser ist, ungefähr 3.141592654.
[ 2ndF ] [ X
↔
Y ] Registeraustauschtaste
Drncken Sie [ 2ndF ] [ X
↔
Y ], um die beiden Register X und Y
auszutauschen.
(Beispiel) : 123 [ + ] 456 [ = ]
579.
[ 2ndF ] [ X
↔
Y ]
456.
[ 2ndF ] [ X
↔
Y ]
579.
[ 2ndF ]
[ FIX ] Dezimalstellen
Mit diese Taste können Sie die Anzahl der Dezimalstellen einer Zahl
während der Berechnung, bzw. im Endresultat bestimmen. Der
Taschenrechner verwendet weiterhin alle möglichen Stellen und
rundet die Zahl nur für die Anzeige.
•
[ 2ndF ] [ FIX ] [ 0 ]~[ 6 ] –– Wählen Sie so die Anzahl der
Dezimalstellen.
SR260C_German_090402.doc SIZE: 140x75mm SCALE 1:1
2009/4/14
-G4-
•
[ 2ndF ] [ FIX ] [ 7 ], [ 8 ], [ 9 ], [ ]
‧
–– Wählt
Fließkommadarstellung.
(Beispiel) : 5 [ ÷ ] 9 [ = ]
0.555555556
[ 2ndF ] [ FIX ] [ 2 ]
0.56
[ 2ndF ] [ FIX ] [ 5 ]
0.55556
[ 2ndF ] [ FIX ] [ ]
‧
0.
555555556
Bemerkung: [ 2ndF ] [ FIX ] bleibt auch nach der numerischen
Eingabe aktiv.
[ SCI ] Potenzanzeige/Laufanzeige
Wandelt die angezeigte Zahl in einen Potenzwert um und umgekehrt.
(Beispiel) : 12.3456 [ x ] 10 [ = ]
123.456
[ SCI ]
1.23456 02
[ SCI ]
123.456
[ SCI ]
1.23456 02
[ DRG ] Winkelumrechnungstaste
Drücken, um den Winkel als DEG (Grad), RAD (Radian), oder GRAD
(Gradient) anzuzeigen.
EINHEITENUMWANDLUNGSTASTE
Dieser Rechner hat 13 Umwandlungstasten, wie folgt. Jede Taste hat
zwei Umwandlungsfunktionen. Z.B., [ A
Æ
B ] vor [ in
↔
cm ] kann eine
Zahl von Zoll auf Zentimeter umrechnen. Das Drücken von [ 2ndF ]
[ A
Å
B ] vor [ in
↔
cm ] kann eine Zahl von Zentimeter auf Zoll
umrechnen.
Taste
Bedeutung
[ in
↔
cm ]
Zoll
↔
Zentimeter
[ feet
↔
m ]
Fuß
↔
Meter
[ feet
2
↔
m
2
]
Fuß
2
↔
Meter
2
[ B.gal
↔
l ]
Britische Gallone
↔
Liter
[ gal
↔
l ]
Gallone
↔
Liter
[ Pint
↔
l ]
Pinte
↔
Liter
[ Tr.oz
↔
g ]
Troy Unze
↔
Gramm
[ oz
↔
g ]
Unze
↔
Gramm
[ lb
↔
kg ]
Pfund
↔
Kilogramm
[ atm
↔
kpa ]
Atmosphären
↔
Kilopascal
[ cal
↔
KJ ]
Kalorien
↔
Kilojoule
[
℉
↔
]
℃
Fahrenheit
↔
Celsius
[ mmHg
↔
kpa ]
mmHg
↔
Kilopascal
FUNKTIONSTASTEN
[ 2ndF ] [
], [ 2ndF ] [
] teclas de conversón de notación
sexagesimal / notación decimal
Para cambiar de notación sexagesimal ( base 60) (grados, minutos,
segundos) a notación decimal (grados) apriete [ 2ndF ] [
] para
SR260C_German_090402.doc SIZE: 140x75mm SCALE 1:1
2009/4/14
-G5-
cambiar de notación decimal a notación sexagesimal, entre el número
en forma decimal y apriete [ 2ndF ] [
].
[ sin ], [ cos ], [ tan ] Sinus, Kosinus, Tangens
Berechnen die trigonometrischen Funktionen des angezeigten
Wertes.
[ 2ndF ] [ sin
–1
], [ 2ndF ] [ cos
–1
], [ 2ndF ] [ tan
–1
] Umgekehrter
Sinus, Umgekehrter Cosinus, Umgekehrter Tangens-Tasten
Berechnen der umgekehrten trigonometrischen Funktionen des
angezeigten Werts.
[ 2ndF ] [ HYP ] [ sin ], [ 2ndF ] [ HYP ] [ cos ], [ 2ndF ] [ HYP ]
[ tan ] Hyperbeltasten
Berechnen die hyperbolischen Funktionen des angezeigten Wertes.
[ 2ndF ] [ HYP ] [ 2ndF ] [ sin
–1
], [ 2ndF ] [ HYP ] [ 2ndF ]
[ cos
–1
], [ 2ndF ] [ HYP ] [ 2ndF ] [ tan
–1
] Hyperbelfunktionen
Berechnen die inversen hyperbolischen Funktionen des angezeigten
Wertes.
[ log ], [ 2ndF ] [ 10
x
] Normaler Logarithmus und
Zehnerlogarithmus
Berechnen den normalen Logarithmus und den Zehnerlogarithmus
des angezeigten Wertes. Für den Zehnerlogarithmus, drücken Sie
[ 2ndF ] [ 10
x
].
[ ln ], [ 2ndF ] [ e
x
] Natnrlicher Logarithmus und natnrlicher
Logarithmus zur Basis e
Berechnen den natürlichen Logarithmus und den natürlichen
Logarithmus zur Basis e. Drücken Sie [In] für den natürlichen
Logarithmus, Potenz drücken Sie [ 2ndF ] [ e
x
].
[
√
], [ x
2
] Quadratwurzel und Quadrat
Drncken Sie [
√
] zur Berechnung der Quadratwurzel und [ x
2
] zur
Berechnung des Quadrats des angezeigten Wertes.
[ 2ndF ] [
3
√
] Kubikwurzel
Drücken Sie [ 2ndF ] [
3
√
] um die Kubikwurzel des angezeigten
Wertes zu berechnen.
[ 2ndF ] [ 1/x ] Reziproker Wert
Drücken Sie [ 2ndF ] [ 1/x ] um den reziproken Wert der angezeigten
Zahl zu berechnen.
[ 2ndF ] [ x! ] Faktor
Drücken Sie [ 2ndF ] [ x! ] den Faktor des angezeigten Wertes zu
berechnen.
[ x
y
] Potenztaste
Drncken Sie eine Zahl [ x ],[ x
y
] , eine Zahl [ y ], y [ = ] um diese zur
Potenz x zu erheben.
[ 2ndF ] [
y
x
] Wurzel
SR260C_German_090402.doc SIZE: 140x75mm SCALE 1:1
2009/4/14
-G6-
Drncken Sie eine Zahl [ x ] [ 2ndF ] [
y
x ], eine Zahl [ y ], y [ = ] um
die x-te Wurzel aus der Zahl zu ziehen.
[ a
b/c ], [ 2ndF ] [ d/e ] Bruchtaste
Beim Drücken von [ a
b/c ] kann ein Bruch eingegeben oder ein Bruch
in eine Dezimalzahl umgewandelt werden. Drücken von [ 2ndF ]
[
d/e ] wandelt eine uneinheitliche Nummer in einen unechten Bruch,
und umgekehrt.
[ CONST ] Physikkonstantentaste
Dieser Rechner gestattet die Ausführung von Berechnungen mit 15
eingebauten Physikkonstanten. Fortwährendes Drücken der
[ CONST ] Taste bringt die folgenden Symbole und Werte zur Anzeige.
Symbol Bedeutung
Wert
c
Lichtgeschwindigkeit
299792458 m / s
g
Graviditätsbeschleunigung
9.80665
m
s
–2
G
Graviditätskonstante
6.6725985
x
10
–11
N m
2
kg
–2
Vm
molares Volumen von idealem Gas
0.0224141 m
3
mol
–1
N
A
Avagadro Nummer
6.022136736 x 10
23
mol
–1
R
Molargaskonstante
8.3145107 J / K mol
e
Elementary change
1.6021773349 x 10
–19
C
m e Elektronenmasse
9.109389754 x 10
–31
kg
m p Protonenmasse
1.67262311 x 10
–27
kg
m n Neutronenmasse
1.67492861 x 10
–27
kg
u
Vereinheitlichte Atommasse
1.66054021 x 10
–27
kg
h
Planksche Konstante
6.62607554 x 10
–34
J.S
k
Boltzmann Konstante
1.38065812 x 10
–23
J.K
–1
μ
0
Magnetische Permittivität
1.2566370614 x 10
-06
Hm
–1
ε
0
Dielektrizitätskonstante
8.854187817 x 10
–12
Fm
–1
PROGRAMMIERTASTEN (Nur im LRN-Modus zu verwenden)
[ 2ndF ] [ PGM ]
─
Lernmodustaste
Wählt den Lernmodus, LRN erscheint auf der Anzeige, und der
Programmspeicher wird gelöscht
Wenn Sie das Programm eingegeben haben, drncken Sie [ 2ndF ]
[ PGM ]. Das Programm wird im Programmspeicher abgelegt . LRN
erlischt und der Taschenrechner verläßt den Lernmodus.
[ RUN ]
─
Ausführen eines Programms
Führt ein gespeichertes Programm aus.
[ 2ndF ] [ [X] ]
─
Variablentaste
Wartet während das Programmablaufs auf eine Benutzereingabe.
[ 2ndF ] [ HALT ]
─
Programmunterbrechnung
Unterbricht den Programmablauf kurzfristig
SR260C_German_090402.doc SIZE: 140x75mm SCALE 1:1
2009/4/14
-G7-
Statistische Tasten (Nur im STAT-Modus aktiv)
[ 2ndF ] [ STAT ] Wählt den Statistikmodus
Aktiviert den Statistikmodus, STAT erscheint in der Anzeige.
[ 2ndF ] [ CAD ] Registerlöschtaste
Löscht alle Statistikregister.
[ DATA ], [ DEL ] Dateneingabe und Korrekturtaste
Im STAT-Modus geben Sie statistische Werte ein und drücken alsdann
die Taste [DATA]. If you enter incorrect data and do not notice your
mistake until you press [DATA]. Wenn Sie einen Fehler ausbessern
wollen, drücken Sie [DEL], um den falschen Wert zu korrigieren.
[
x
] Mittelwert
Berechnet den Mittelwert ( x ) des Datensatzes.
[ 2ndF ] [
σ
] Bevölkerungsabweichung (Standardabweichung)
Berechnet die Bevölkerungsabweichung (Standardabweichung) des
Datensatzes.
[ S ] Normalabweichung
Berechnet die Normalabweichung des Datensatzes.
[ 2ndF ] [
Σ
x
2
] Quadratsumme
Berechnet die Quadratsumme
Σ
x
2
des Datensatzes.
[ 2ndF ] [
Σ
x ] Summentaste
Berechnet die Summe
Σ
x des Datensatzes.
[ n ] Zähler
Zählt die Posten des Datensatzes (n)
Die Anzeige
Auf dem Bildschirm befinden sich unterschiedliche Anzeigen, die
Ihnen die gegenwärtigen Einstellungen des Taschenrechners
anzeigen.
•
Fließkommaanzeige bis zehn Stellen.
•
Mantisse bis zu 8 Stellen, Exponent bis zu ±99.
STAT :
Statistikmodus
M :
Speicher
belegt
–
: Erscheint links der Mantisse oder des Exponenten zur
Anzeige, da?es sich um eine negative Zahl handelt.
E :
Fehleranzeige
PGM :
Lernmodus
CONST : Zeigt den Konstantenmodus an.
GRAD
: Gradwinkeleinheiten sind gewählt
RAD
: Radianswinkeleinheiten sind gewählt
DEG
: Dezimalwinkeleinheiten sind gewählt
SR260C_German_090402.doc SIZE: 140x75mm SCALE 1:1
2009/4/14
-G8-
BUSY
: erscheint während der Ausführung einer
Rechenoperation
σ
: Zeigt den Abweichwert an
2F :
Zweitfunktion
ist
aktiv
HYP
: Hyperbolische Funktion ist aktiv
(
: Erscheint, sobald die offene Klammer gedrnckt wurde
und zeigt den augenblicklichen
Verschachtelungszustand.
( n )
: Erscheint, wenn Sie im Programm-Lernmodus [SHIFT]
[ [X] ] drücken und wenn die Ausführung des
Programms unterbrochen wird, damit eine Variable
eingegeben werden kann. Die Zahl in Klammern gibt die
Stelle der Variablen an und geht von 1 - 40.
REIHENFOLGE DER RECHENOPERATIONEN
Jede Rechenoperation wird in der folgenden Reihenfolge ausgeführt:
1) Funktionen, die die Eingabe von Werten vor dem Drücken der
Funktionstaste erfordern. Beispiel: cos, sin, tan, cos
–1
, sin
–1
, tan
–1
,
log, ln, x
2
, 1/x,
√
,
π
,
3
√
, n!, %,
,
und Umwandlung in
13 Einheiten.
2) Berechnung der Klammerwerte
3) Funktionen, die das Drücken der entsprechenden Funktionstaste
vor der jeweiligen Eingabe erfordern. Zum Beispiel die Funktion
[DATA] im STAT Mode und die Funktion [EXP].
4) Brüche
5) +/–
6)
y
x , x
y
7) x , ÷
8) +, –
KORREKTHEIT UND KAPAZITÄT
Funktionen
Grenzen bei der Eingabe
SR260C_German_090402.doc SIZE: 140x75mm SCALE 1:1
2009/4/14
-G9-
sin x, cos x, tan x
Deg : x
<
1 x 10
11
deg
Rad : x
<
1745329252 rad
Grad : x
<
1.111111111 x 10
11
grad
für tan x
Deg : x
≠
90 (2n+1)
Rad : x
≠
2
π
(2n+1)
Grad : x
≠
100 (2n+1)
(n ist eine ganze Zahl.)
sin
–1
x, cos
–1
x
x
≤
1
tan
–1
x
x
<
1 x 10
100
sinh x, cosh x
x
≤
230.2585092
tanh x
x
<
1 x 10
100
sinh
–1
x
x
<
5 x 10
99
cosh
–1
x 1
≤
x
<
5 x 10
99
tanh
–1
x
x
<
1
log x, ln x
1 x 10
–99
≤
x
<
1 x 10
100
10
x
x
<
100
e
x
x
≤
230.2585092
x
0
≤
X
<
1 x 10
100
x
2
x
<
1 x 10
50
1/x
1 x 10
–99
≤
x
<
1 x 10
100
, X
≠
0
3
x
x
<
1 x 10
100
x !
0
≤
x
≤
69, x ist eine ganze Zahl.
,
x
<
1 x 10
100
x
y
x
>
0 : –1 x 10
100
<
y log x
<
100
x = 0 : y
>
0
x
<
0 : y = n, 1/(2n+1), n
ist eine ganze
Zahl.
Der –1 x 10
100
<
y
1 log
⏐
x
⏐
100
y
x
x
>
0 : y
≠
0, -1 x 10
100
<
y
1 log x
<
100
x = 0 : y
>
0
SR260C_German_090402.doc SIZE: 140x75mm SCALE 1:1
2009/4/14
-G10-
x
<
0 : y=2n+1, l/n, n ist eine ganze Zahl.
(n
≠
0)
Der –1 x 10
100
<
y
1 log
⏐
x
⏐
100
c
b
a
Eingabe: Die Eingabe der ganzen Zahl,
des Zählers und Nenners einschließlich
des Divisionszeichens darf nicht 10 Stellen
überschreiten.
Ergebnis: Das Ergebnis der Bruchrechnung
aus ganzer Zahl, Zähler und Nenner muß
kleiner als 1x10 hoch 10 sein.
STAT
⏐
x
⏐
<
1 x 10
50
,
⏐Σ
x
⏐
<
1 x 10
100
0
≤
Σ
x
2
<
1 x 10
100
, 0
≤
n
<
1 x 10
100
x : n
≠
0 ; s : n
>
1 ;
σ
: n
>
0
MÖGLICHKEIT VON OVERFLOWS UND
FEHLERN
Wenn eine der folgenden Bedingungen zutrifft oder weiterer
Berechnungen unmöglich werden, die Anzeige “
E
” erscheint auf dem
Bildschirm. Drücken Sie einfach die Taste [ ON/C ], um diesen
Overflow oder Fehler zu beheben und machen Sie dann weiter mit
den nachfolgenden Rechenoperationen.
•
wenn ein Zwischen- oder Endresultat den Wert 1 x 10
100
überschreitet, einschließlich Speicherberechnungen.
•
Sie durch 0 teilen.
•
Die Anzahl der Speicherplätze niedriger Prioritätin einer
Klammerrechnung 6 übersteigt, bzw. mehr als 7 Klammern in
einer Prioritätverschachtelt werden. ( Selbst wenn Sie weniger als
6 Ebenen verwenden, führt dies zu einem Fehler, wenn Sie Ka, Kb,
oder Programmspeicher verwenden.
•
Wenn Sie versuchen, [ 2ndF ] [ Ka
X
Æ
K
] oder [ 2ndF ] [ Kb
X
Æ
K
] zu
verwenden, während die Speicher Ka y Kb für Berechnungen
niedriger Prioritätverwendet werden.
•
Wenn Sie eine Berechnung durchfnhren, welche die Grenzen der
Funktionen oder statistischen Funktionen sprengt.
•
Wenn ein Programm mehr als 40 Programmschritte enthält.
Drücken Sie [ ON/C ]. um einen Überlauffehler zu beseitigen.
STROMVERSORGUNG
Drücken Sie die Taste [ON/C], um den Taschenrechner einzuschalten.
Drücken Sie die Tasten [OFF], um den Taschenrechner
auszuschalten. Der Taschenrechner schaltet sich automatisch aus,
nachdem er ca. 9 Minuten lang nicht mehr bedient wurde. Drücken
Sie die Taste [ON/C], um den Taschenrechner wieder zu aktivieren.
SR260C_German_090402.doc SIZE: 140x75mm SCALE 1:1
2009/4/14
-G11-
Vorherige Angaben, Einstellungen des Bildschirms sowie der
Speicher bleiben erhalten.
Der Rechner wird mit zwei G13(LR44) Alkali-Batterien versorgt. Falls
der Bildschirm schwächer wird, wechseln Sie die Batterien aus. Seien
Sie vorsichtig, damit Sie sich beim Wechseln der Batterien nicht
verletzen.
1. Lösen Sie die Schrauben an der Rückseite des Rechners.
2. Führen Sie einen flachen Schraubenzieher in den Schlitz zwischen
der oberen und unteren Kante, drehen Sie ihn, um die Abdeckung
zu vorsichtig zu öffnen.
3. Entnehmen Sie beide Batterien und entsorgen Sie sie auf korrekte
Weise. Achten Sie darauf, dass Kinder nicht mit den Batterien
spielen.
4. Wischen Sie mit einem trockenen Tuch über die neuen Batterien,
um die Kontaktfähigkeit zu erhöhen.
5. Legen Sie die zwei neuen Batterien mit der flachen Seite aufrecht
(Plus Pole) ein.
6. Bringen Sie beide Kanten in Übereinstimmung und lassen Sie sie
zusammenschnappen.
7. Ziehen Sie die Schrauben an.
ÜBLICHE RECHNUNGEN
Grundlegende Berechnungen
(mit Klammerrechnung)
(Beispiel) : – 3.5 +8 ÷ 2= 0.5
3.5 [ +/–] [ + ] 8 [ ÷ ] 2 [ = ]
DEG
0.5
(Beispiel) : ( 5 – 2 x 1.5 ) x 3 + 0.8 x ( – 4 ) = ?
[ ( ] 5 [ – ] 2 [ x ] 1.5 [ ) ] [ x ] 3 [ + ]
0.8 [ x ] 4 [ +/ – ] [ = ]
DEG
2.8
(Beispiel) : 2 x [ 7 + 6 x ( 5 + 4 ) ] = 122
2 [ x ] [ ( ] 7 [ + ] 6 [ x ] [ ( ] 5 [ + ] 4
[ = ]
DEG
122.
Bemerkung: Es ist unnötig die [ ) ] Taste vor der [=] Taste zu drücken.
Constant Calculations
(Beispiel) : 3 + 2.3 = 5.3
6 + 2.3 = 8.3
3 [ + ] 2.3 [ = ]
DEG
5.3
6 [ = ]
DEG
8.3
(Beispiel) : 7 – 5.6 = 1.4
–4.5
–
5.6 = –10.1
7 [ – ] 5.6 [ = ]
DEG
1.4
SR260C_German_090402.doc SIZE: 140x75mm SCALE 1:1
2009/4/14
-G12-
4.5 [+/–] [ = ]
DEG
–10.1
(Beispiel) : 12 x 2.3 = 27.6
12
x (–9) = –108
12 [ x ] 2.3 [ = ]
DEG
27.6
9 [+/–] [ = ]
DEG
–108.
(Beispiel) : 74 ÷ 2.5 = 29.6
85.2 ÷ 2.5 = 34.08
74 [ ÷ ] 2.5 [ = ]
DEG
29.6
85.2 [ = ]
DEG
34.08
Berechnung im Speicher
•
Wenn SIe diese Rechnungen selbst versuchen, achten Sie darauf,
da?der Taschenrechner sich nicht im STAT-Modus befindet.
•
Eine neue Nummer wird durch Druecken [ X
Æ
M ] im Speicher
gesetzt. Das Wechselt jede vorher erhaltete Nummer.
•
Sie können den Speicherinhalt mit [0] [ X
Æ
M ] oder [ON/C]
[ X
Æ
M ] löschen.
•
M erscheint wenn eine Nummer, die nicht gleich "0" ist, im
gespeichert wird.
•
Wenn [ X
Æ
M ] gedrückt wird, nachdem [ MR ], gedrückt wurde,
wird die angezeigte Zahl zum speicherinhalt geändert.
(Beispiel) : (3 – 5) + (56 ÷ 7) + (74 – 8 x 7) = 24
0 [ X
Æ
M ]
DEG
0.
3 [ – ] 5 [ M+ ]
M
DEG
–2.
56 [ ÷ ] 7 [ M+ ]
M
DEG
8.
74 [ – ] 8 [ x ] 7 [ M+ ]
M
DEG
18.
[ MR ]
M
DEG
24.
0 [ X
Æ
M ]
DEG
0.
FUNKTIONSBERECHNUNGEN
Dezimal
↔
Sexagesimalberechnungen
(Beispiel) : 12
∘
45’
30” = 12.75833333
12 [
‧
] 4530 [ 2ndF ] [
]
DEG
12.75833333
(Beispiel) : 2.12345 = 2
∘
7’ 24.42”
2.12345 [ 2ndF ] [
]
DEG
2.072442
SR260C_German_090402.doc SIZE: 140x75mm SCALE 1:1
2009/4/14
-G13-
Bevor Sie die folgenden Rechenoperationen durchführen, sollten Sie
sicherstellen, dass sich der Taschenrechner auf die Bildschirmanzeige
mit 2 Dezimalstellen eingestellt ist.
Berechnung von Brüchen
•
Das Drücken der Tasten [ 2ndF ] [ d/e ],verwandelt den
angezeigten Wert in einen inkorrekten Bruch.
(Beispiel) :
15
124
5
3
7
3
2
=
+
2 [ a
b/c ] 3 [ + ] 7 [ a
b/c ] 3 [ a
b/c ] 5
[ = ]
DEG
8
∪
4
┘
15
[ 2ndF ] [ d/e ]
DEG
124
┘
15
•
Wird die Taste [ a
b/c ] nach der Taste [ = ] oder einem Bruch als
Dezimalzahl gedrückt, so ist das Ergebnis auch eine Dezimalzahl.
(Beispiel) :
9.19
16
7
9
4
3
3
9
4
5
=
=
+
5 [ a
b/c ] 4 [ a
b/c ] 9 [ + ] 3 [ a
b/c ] 3
[ a
b/c ] 4 [ = ]
DEG
9
∪
7
┘
36
[ a
b/c ]
DEG
9.19
Trigonometrische Funktionen und inverse
trigonometrische Funktionen
(Beispiel) : 3 sin 30
。
= 1.50
3 [ x ] 30 [ sin ] [ = ]
DEG
1.50
(Beispiel) : cos (
3
2
π
rad) = – 0.5
2 [ x ] [ 2ndF ] [
π
] [ ÷ ] 3 [ = ] [ cos ]
RAD
– 0.50
(Beispiel) : sin
–1
0.5 = 30 (deg)
0.5 [ 2ndF ] [ sin
–1
]
DEG
30.00
(Beispiel) : cos
–1
(
2
1
) = 0.79 (rad)
2 [
√
] [ 2ndF ] [ 1/x ] [ 2ndF ]
[ cos
–1
]
RAD
0.79
Hyperbelfunktionen und inverse Hyperbelfunktionen
(Beispiel) : cosh 1.5 + sinh 1.5 = 4.48
SR260C_German_090402.doc SIZE: 140x75mm SCALE 1:1
2009/4/14
-G14-
1.5 [ 2ndF ] [ HYP ] [ cos ] [ + ]
1.5 [ 2ndF ] [ HYP ] [ sin ] [ = ]
DEG
4.48
(Beispiel) : sinh
–1
7 = 2.64
7 [ 2ndF ] [ HYP ] [ 2ndF ] [ sin
–1
]
DEG
2.64
Logarithmus und natnrlicher Logarithmus
Exponential-rechnung
(Beispiel) : ln7 + log100 = 3.95
7 [ ln ] [ + ] 100 [ log ] [ = ]
DEG
3.95
(Beispiel) : 10
2
= 100.00
2 [ 2ndF ] [ 10
x
] [ = ]
DEG
100.00
(Beispiel) : e
5
– e
–2
= ?
5 [ 2ndF ] [ e
x
] [ – ] 2 [ +/– ] [ 2ndF ]
[ e
x
] [ = ]
DEG
148.28
Leistung, Wurzel, Reziprok, Faktor
(Beispiel) :
=5.29
2 [
√
]
[ + ] 3 [
√
]
[ x ]
5 [
√
] [ =
]
DEG
5.29
(Beispiel) :
5 [ 2ndF ] [
3
√
] [ + ] 27 [ +/– ]
[ 2ndF ] [
3
√
] [ = ]
DEG
–1.29
(Beispiel) : 7
5
= 16807
7 [ x
y
] 5 [ = ]
DEG
16807.00
(Beispiel) :
2
32
5
=
32 [ 2ndF ] [
y
x ] 5 [ = ]
DEG
2.00
(Beispiel) :
12.00
4
1
–
3
1
1
=
3 [ 2ndF ] [ 1/x ] [ – ] 4 [ 2ndF ] [ 1/x ]
[ = ] [ 2ndF ] [ 1/x ]
DEG
12.00
(Beispiel) : 123 + 30
2
= 1023.00
123 [ + ] 30 [ x
2
] [ = ]
DEG
1023.00
(Beispiel) : 8 ! = 1 x 2 x 3 x ……x 7 x 8 = 40320.00
SR260C_German_090402.doc SIZE: 140x75mm SCALE 1:1
2009/4/14
-G15-
8 [ 2ndF ] [ x ! ]
DEG
40320.00
Umrechnung zwischen anderen Einheiten
(Beispiel) : 12 in = 30.48 cm
12 [ A
Æ
B ] [ 2ndF ] [ in
↔
cm ]
DEG
30.48
(Beispiel) : 98 cm = 38.58 in
98 [ 2ndF ] [ A
Å
B ] [ 2ndF ] [ in
↔
cm ]
DEG
38.58
Anmerkung: Alle Bedienungen der Einheitumwandlungstasten
[ feet
↔
m ], [ feet
2
↔
m
2
], [ B.gal
↔
l ], [ gal
↔
l ] [ Pint
↔
l ], [ Tr.oz
↔
g ], [ oz
↔
g ], [ lb
↔
kg ], [ atm
↔
kpa ],
[ cal
↔
KJ ], [
℉
↔
] und [ mmHg
℃
↔
kpa ] sind gleich
wie im obigen Beispiel.
Physikalische Konstanten
(Beispiel) : 5 x G = 3.34 x 10
–10
5 [ x ] [ CONST ] [ CONST ]
[ CONST ]
CONST DEG
6.67
–11
G
[ = ]
DEG
3.34
–10
Standardabweichungen
•
Drücken Sie [ 2ndF ] [ STAT ] um den Taschenrechner in den
Statistikmodus zu schalten.
•
Drücken Sie [ 2ndF ] [CAD] um den Statistikspeicher zu löschen.
•
Wenn derselbe Wert mehrmals vorkommt, kann anstatt jeweils
jeden Wert einzeln einzugeben, der Wert und die Anzahl seines
Vorkommens eingegeben werden.
Beispiel : Geben Sie die folgenden Daten ein, n,
Σ
x,
Σ
x
2
, x ,
S,
σ
, zu berechnen. Dabei seien die 1. Daten = 2, die 2.~4.
Daten = 5, die 5.~6. Daten = 9
[ 2ndF ] [ STAT ]
STAT
DEG
0.
[ 2ndF ] [ CAD ]
STAT
DEG
0.
2 [ DATA ] 5 [ DATA ] 5 [ DATA ] 5
[ DATA ] 9 [ DATA ] 9 [ DATA ]
– oder –
2 [ DATA ] 5 [ x ] 3 [ DATA ] 9 [ x ]
2 [ DATA ]
STAT
DEG
6.
SR260C_German_090402.doc SIZE: 140x75mm SCALE 1:1
2009/4/14
-G16-
[ n ]
STAT
DEG
6.
[ 2ndF ] [
Σ
x
2
]
STAT
DEG
241.
[ 2ndF ] [
Σ
x ]
STAT
DEG
35.
[ x ]
STAT
DEG
5.833333333
[ S ]
STAT
DEG
2.714160398
[ 2ndF
] [
σ
]
STAT
DEG
σ
2.477678125
Bemerkung:
Die Normalabweichung s ist definiert als
( )
1
n
n
x
–
x
2
2
−
∑
∑
Die Bevölkerungsabweichung s ist definiert als
( )
n
n
x
–
x
2
2
∑
∑
Das arithmetische Mittel x ist definiert als
n
x
∑
•
Zur Fehlerkorrektur, drncken Sie [ DEL ].
PROGRAMMIEREN
Mit diesem programmierbaren Taschenrechner sind komplizierte
Berechnungen keine zeitaufwendigen Aufgaben mehr. Alles was Sie
zu tun haben, ist, den Taschenrechner in einer ihm ver-ständlichen
Sprache zu instruieren, d.h. programmieren.
Der Taschenrechner versteht Prozeduren bis zu 40 Schritten. Diese
Schritte, sind entweder mathematische Funktionen oder Buchstaben
(wie Ziffern). Jede Funktion ist ein Schritt. Der Taschenrechner behält
die Prozedur gespeichert, selbst wenn Sie ihn abstellen. Sie können
mehr als eine Variable pro Prozedur festlegen.
Der Taschenrechner versteht mathematische Prozeduren im
Lernmodus (PGM). Schalten Sie mit den Tasten [ 2ndF ] [ PGM ] in
diesen Modus, und PGM erscheint in der Anzeige.
Geben Sie die Programmroutine ein, genauso als würden Sie eine
einmalige Berechnung durchführen. Wenn Sie eine Ziffer eingeben
würden, geben Sie anstelle [2ndF] [ [X] ] als Platzhalter ein. Das erste
Resultat wird dann noch im PGM-Modus gegeben.
SR260C_German_090402.doc SIZE: 140x75mm SCALE 1:1
2009/4/14
-G17-
Bemerkung: Wenn Sie [ 2ndF ] [ [X] ] und [ ]
‧
oder [EXP], [ +/– ], [ ) ]
oder [CE]nach einer Nummer, werden beide Ziffern als
eine Variable behandelt. Diese werden nicht als
Programmschritt in die Routine eingebunden.
Sie können allerhöchstens 40 Schritte eingeben. Wenn SIe den
41sten Schritt eingeben, erscheint das
E
der Fehleranzeige. Drücken
Sie [ON/C] um den Fehler aufzuheben.
Um mit dem Abspeichern einer Routine aufzuhören, drücken Sie
nochmals [ 2ndF ] [ PGM ]. PGM verschwindet vom Bildschirm und
der Taschenrechner verläßt den Programmiermodus.
Drücken Sie [ RUN ], um die Routine auszuführen, wobei Sie
nun verschiedene Variablen verwenden können.
Wenn Sie [ RUN ] drücken, können Sie mit der Eingabe von Variablen
beginnen. Drücken Sie [ RUN ] nach jeder Variable. Die Antwort
erscheint auf der Anzeige.
Programme werden automatisch gelöscht, wenn Sie [ 2ndF ] [ PGM ]
drücken. Wenn Sie also kein neues Programm eingeben möchten,
wählen Sie nicht den Lernmodus.
Sie können den Taschenrechner so programmieren, daß Sie
Zwischenresultate in der Formal erhalten. Wenn SIe Programmieren,
drncken Sie [ = ], wenn Sie die Stelle erreichen, an der Sie ein
Zwischenresultat sehen wollen. Dann drücken Sie [2ndF] [HALT] und
setzen SIe mit der Eingabe der Formel fort.
Wenn Sie da Programm ablaufen lassen, drücken Sie [ RUN ],
nachdem das Zwischenresultat angezeigt wurde. Sie können das
auch mit zwei und mehreren Formeln versuchen, eine nach der
anderen.
(Beispiel:) Finden Sie den Endwert einer Zinsrechnung mit DM
5000 Ausgangskapitel und 6% Zinssatz, bei jährlich
(y) berechneten Zinsen über 7 Jahre (z).
Formel: Endwert = x (1 +y )
z
(Beispiel) : (1) x = $5,000
(2) x = $1,000
y = 6 %
y = 10 %
z = 7 Jahre
z = 5 Jahre
[ 2ndF ] [ PGM ]
PGM DEG
0.
[ 2ndF ] [ [X] ]
PGM DEG
[ 1 ]
5000
PGM DEG
5000.
[ x ] [ ( ] 1 [ + ] [ 2ndF ] [ [X] ]
PGM DEG
[ 2 ]
6
PGM DEG
6.
SR260C_German_090402.doc SIZE: 140x75mm SCALE 1:1
2009/4/14
-G18-
[ ÷ ] 100 [ ) ] [ x
y
] [ 2ndF ] [ [X] ]
PGM DEG
[ 3 ]
7
PGM DEG
7.
[ = ]
PGM DEG
7518.151295
[ 2ndF ] [ PGM ]
DEG
0.
[ RUN ]
DEG
[ 1 ]
1000
DEG
1000.
[ RUN ]
DEG
[ 2 ]
10
DEG
10.
[ RUN ]
DEG
[ 3 ]
5
DEG
5.
[ RUN ]
DEG
1610.51
Beschreibung:
△
→
Y
3
2
1
2
1
4
R
R
R
R
R
R
+
+
•
=
3
2
1
3
2
5
R
R
R
R
R
R
+
+
•
=
3
2
1
1
3
6
R
R
R
R
R
R
+
+
•
=
(Ex) :(1) R
1
= 12 (
Ω
) (2)
R
1
= 10 (
Ω
)
R
2
= 47 (
Ω
)
R
2
= 20 (
Ω
)
R
3
= 82 (
Ω
)
R
3
= 30 (
Ω
)
12 [ 2ndF ] [ Ka
X
Æ
K
]
DEG
12.
47 [ 2ndF ] [ Kb
X
Æ
K
]
DEG
47.
82 [ X
Æ
M ]
M
DEG
82.
[ 2ndF ] [ PGM ]
M
PGM DEG
0.
SR260C_German_090402.doc SIZE: 140x75mm SCALE 1:1
2009/4/14
-G19-
[ Ka
X
Æ
K
] [ Kb
X
Æ
K
]
M
PGM DEG
564.
R
1
x
R
2
[ ÷ ] [ ( ] [ Ka
X
Æ
K
] [ + ]
[ Kb
X
Æ
K
] [ + ] [ MR ] [ ) ] [ = ]
M
PGM DEG
4. R
4
[ 2ndF ] [ HALT ]
M
PGM DEG
4.
[ MR ] [ Kb
X
Æ
K
]
M
PGM DEG
3854.
R
2
x R
3
[ = ]
M
PGM DEG
27.33333333
R
5
[ 2ndF ] [ HALT ]
M
PGM DEG
27.33333333
[ MR ] [ Ka
X
Æ
K
]
M
PGM DEG
984.
R
3
x
R
1
[ = ]
M
PGM DEG
6.978723404
R
6
[ 2ndF ] [ PGM ]
M
DEG
0.
10 [ 2ndF ] [ Ka
X
Æ
K
] 20
[ 2ndF ] [ Kb
X
Æ
K
] 30 [ X
Æ
M ]
M
DEG
30.
[ ON/C ] [ RUN ]
M
DEG
3.333333333
R
4
[ RUN ]
M
DEG
10.
R
5
[ RUN ]
M
DEG
5.
R
6
SR260C_French_090402.doc SIZE: 140x75mm SCALE 1:1
2009/4/14
-F1-
DEFINITIONS FONDAMENTALES .................................................... 2
Les Touches ................................................................................... 2
L
ES
T
OUCHES
G
ENERALES
................................................................ 2
T
OUCHES DE
M
EMOIRE
..................................................................... 2
T
OUCHES
S
PECIALES
........................................................................ 3
TOUCHE
DE
CONVERSION
D’UNITE ............................................ 4
TOUCHES
DE
FONCTION .............................................................. 4
TOUCHES
PROGRAMMANTES
(S’UTILISE
UNIQUEMENT
EN
MODE
PGM) .................................................................................... 6
TOUCHES
STATISTIQUES
(S’EMPLOYE
UNIQUEMENT
EN
MODE
SD) ....................................................................................... 7
L’AFFICHAGE .................................................................................... 7
ORDRE DES OPÉRATIONS............................................................... 8
PRÉCISION DE CAPACITÉ................................................................ 8
SURCHARGE / CONDITIONS D’ERREUR ...................................... 10
SOURCE D’ALIMENTATION............................................................ 10
CALCULS NORMAUX...................................................................... 11
Calcul Simple (Comprenant les Calculs avec Parenthèses)...... 11
Les Calauls Constants ................................................................. 11
Les Calculs avec Mémoires ......................................................... 11
CALCULS DE FONCTION................................................................ 12
Conversion Sexagésimal
↔
Décimale ......................................... 12
Calcul de Fraction ........................................................................ 12
Fonctions Trigonométriques / Inverses......................................... 13
Fonctions Hyperboliques et Fonctions Inverses........................... 13
Logarithmes Communs et Naturels / Exponentiels....................... 13
Puissance, Racine, Réciproque, Factoriel.................................... 14
Conversion des Unités ................................................................. 14
Constantes en Physique .............................................................. 15
LA VARIANCE .................................................................................. 15
PROGRAMMATION.......................................................................... 16
Sommaire
SR260C_French_090402.doc SIZE: 140x75mm SCALE 1:1
2009/4/14
-F2-
DEFINITIONS FONDAMENTALES
Les Touches
Pour donner à votre calculatrice une taille aussi compacte que
possible, chacune des touches possède plus d’une fonction. Pour
changer la fonction d’une touche, vous devez appuyer d’abord sur une
touche ou règler la calculatrice sur une certaine mode choisie.
Les pages suivantes vous donnent des explications plus détaillées sur
l’utilisation et les fonctions de chaque touche.
[ 2ndF ] Sélection de la Seconds Fonction d’une Touche
Certaines touches ont une autre fonction inscrite au dessus (par
exemple 1/x est au dessus de x
2
). Pour éxécuter cette seconde
fonction, appuyez sur [ 2ndF ]. “ 2F ” apparaît sur l’ écran, puis
appuyez sur la touche voulue.
Les Touches Générales
[ 0 ] ~[ 9 ] [
‧
] Touches d’Entrée d’Information
Appuyez sur ces touches dans leur ordre logique pour entrer les
chiffres.
[ + ] [ – ] [ x ] [ ÷ ] [ = ] Touches des Calculs de Base
Appuyez sur ces touches dans leur ordre logique pour l’addition, la
soustraction, la multiplication, la division, et pour afficher les résultats.
[ ON/C ] Touches Allumage/Effaçage ON/Clear
Appuyez sur [ ON/C ] pour allumer la calculatrice et pour tout effacer
sauf les contenus de la mémoire, mémoires constantes (Ka, Kb), et
programme mémorisé.
[ CE ] Touche d’Elimination d’Entrée
Appuyez sur [ CE ] pour effacer les entrées incorrectes.
[ 00
Æ
0 ] Right Shift Touche
Pressez pour clarifier le dernier chiffre significatif du nombre affiché.
(Ex.)
123456
123456.
[
00
Æ
0 ]
12345.
[
00
Æ
0 ]
1234.
[ +/– ] Touches Changement de Signe
Appuyez sur [ +/– ] pour changer le signe du chiffre du positif en
négatif ou du négatif en positif.
Touches de Mémoire
[ MR ] Touche de Reppel de Mémoire
Appuyez sur [ MR ] pour afficher les contenus de la mémoire.
[ X
Æ
M ] Touche de Mise en Mémoire
Appuyez sur [ X
Æ
M ] pour mettre en mémoire la valeur affichée.
SR260C_French_090402.doc SIZE: 140x75mm SCALE 1:1
2009/4/14
-F3-
N’importe quelle valeur précédement en mémoire est
automatiquement effacée.
[ M+ ] Touche d’Addition en Mémoire
Appuyez sur [ M+ ] pour totaliser le calcul en cour et additionner le
résultat à la valeur déjà en mémoire.
[ 2ndF ] [ Ka
X
Æ
K
], [ 2ndF ] [ Kb
X
Æ
K
] Touche de Stockage en
Mémoire Constante (Ka, Kb)
Appuyez pour faire entrer la valeur affichée en mémoire constante Ka
ou Kb.
[ Ka
X
Æ
K
], [ Kb
X
Æ
K
] Touche de Rappel de la Mémoire Constante
Appuyez dessus pour aficher le contenu d’une mémoire constante.
Notes :
•
Les mémoires constantes Ka ou Kb peuvent avoir une valeur
égale à 0.
•
Si vous appuyez sur [ Ka
X
Æ
K
] ou [ Kb
X
Æ
K
] après avoir fait entrer
un nombre ou effectuer un calcul, la valeur affichée est multipliée
par la valeur de Ka ou Kb.
Touches Spéciales
[ ( ], [ ) ] Touches des Parenthèses
Pressez pour substituer l’ordre par défaut de calcul de l’opération en
utilisant des parenthèses. Vous pouvez utiliser jusqu’à 6 niveaux de
parenthèsedans un même calcul.
[ EXP ] Touche Exposant
Pour faire entrer un nombre en notaion scientifique, faîtes entrer
d’abord les nombre pour l’exponentiel, appuyez sur [ EXP ], puis faîtes
entrer les chiffres à exposer.
Touche [ 2ndF ] [
π
]
Appuyez sur [ 2ndF ] [
π
] pour afficher la valeur de
π
, qui est le
raport de la circonférence du cercle à son diamètre (à
proximativement de 3.141592654).
[ 2ndF ] [ X
↔
Y ] Touche d’Echange d’Enrégistrement
Appuyez sur [ 2ndF ] [ X
↔
Y ] pour interchanger la valeur (X–inscrit)
affichée contre la contenu de l’enrégistrement (Y–inscrit) en marche.
(Ex.)
123 [ + ] 456 [ = ]
579.
[ 2ndF ] [ X
↔
Y ]
456.
[ 2ndF ] [ X
↔
Y ]
579.
[ 2ndF ]
[ FIX ] Touche de Règlage du Point Décimale
Elle est utilisée pour placer le nombre de chiffres affichés après la
virgule décimale soit dans les résultats finaux, soit intermédiaires. La
calculatrice continue d’utiliser le rang complet pour les calculs internes,
et arrondit seulement le résultat sur l’ affichage.
•
[ 2ndF ] [ FIX ] [ 0 ]~[ 6 ] –– Place le nombre de chiffres à afficher à
droite de la virgule décimale.
SR260C_French_090402.doc SIZE: 140x75mm SCALE 1:1
2009/4/14
-F4-
•
[ 2ndF ] [ FIX ] [ 7 ], [ 8 ], [ 9 ], [
‧
] –– Séllcieionne le format du point
flottant.
(Ex.)
5 [ ÷ ] 9 [ = ]
0.555555556
[ 2ndF ] [ FIX ] [ 2 ]
0.56
[ 2ndF ] [ FIX ] [ 5 ]
0.55556
[ 2ndF ] [ FIX ] [
‧
] 0.
555555556
Notes : [ 2ndF ] [ FIX ] est immédiatement inactivé après et
durant l’entrée des données.
[ SCI ] Touche Ingénierie
Convertit le nombre affiché en une puissance de 10 et vis verda.
(Ex.) :
12.3456 [ x ] 10 [ = ]
123.456
[ SCI ]
1.23456 02
[ SCI ]
123.456
[ SCI ]
1.23456 02
[ DRG ] Touche de conversion d’unité d’angle
Pressez pour changer l’unité d’angle comme DEG (Degrés), RAD
(Radian), ou GRAD (Gradiant).
TOUCHE DE CONVERSION D’UNITE
Cette calculatrice possède 13 touches de conversion d’unité comme
suit. Chaque touche possède deux fonctions de conversion. Par
exemple, pressez [ A
Æ
B ] avant [ in
↔
cm ] pour convertir un nombre
depuis les pouces vers les centimètres; pressez [ 2ndF ] [ A
Å
B ]
avant [ in
↔
cm ] pour convertir un nombre des centimètres vers les
pouces.
Touche
Sens
[ in
↔
cm ]
pouce
↔
centimètre
[ feet
↔
m ]
pied
↔
mètre
[ feet
2
↔
m
2
]
pied
2
↔
mètre
2
[ B.gal
↔
l ]
Gallon anglais
↔
litre
[ gal
↔
l ]
gallon
↔
litre
[ Pint
↔
l ]
Pinte
↔
litre
[ Tr.oz
↔
g ]
once de Troye
↔
gramme
[ oz
↔
g ]
once
↔
gramme
[ lb
↔
kg ]
livre
↔
kilogramme
[ atm
↔
kpa ]
pression atmosphérique
↔
kilopascal
[ cal
↔
KJ ]
calorie
↔
Kilo–Joule
[
℉
↔
℃
]
Fahrenheit
↔
Celsius
[ mmHg
↔
kpa ]
mmHg
↔
kilopascal
TOUCHES DE FONCTION
[ 2ndF ] [
], [ 2ndF ] [
] Touches Convertion
Sexagésimale / Décimale
Pour changer de l’unité sexagésimale (à base de 60) en unité
décimale (degré), appuyez sur [ 2ndF ] [
]. Pour changer de
SR260C_French_090402.doc SIZE: 140x75mm SCALE 1:1
2009/4/14
-F5-
l’unité décimale en unité sexagésimale, entrez le nombre en unité
décimale puis appuyez sur [ 2ndF ] [
].
[ sin ], [ cos ], [ tan ] Touches Sinus, Cosinus, Tangente
Calculent les fonctions trigonométriques de la valeur affichée.
[ 2ndF ] [ sin
–1
], [ 2ndF ] [ cos
–1
], [ 2ndF ] [ tan
–1
] Touche
d’Inversion des Sinus, Cosinus et Tangente
Calculent l’inverse des fonctions trigonométriques de la valeur
affichée.
[ 2ndF ] [ HYP ] [ sin ], [ 2ndF ] [ HYP ] [ cos ], [ 2ndF ] [ HYP ]
[ tan ] Touches d’ Hyperbole
Calculent les fonctions hyperboliques de la valeur affichée.
[ 2ndF ] [ HYP ] [ 2ndF ] [ sin
–1
], [ 2ndF ] [ HYP ] [ 2ndF ]
[ cos
–1
], [ 2ndF ] [ HYP ] [ 2ndF ] [ tan
–1
] Touches de l’lnverse de
l’Hyperbole
Calculent l’inverse des fonctions hyperboliques de la valeur affichée.
[ log ], [ 2ndF ] [ 10
x
] Touches de logarithme commun et
d’antilogarithme commun
Calculent le logarithme commun de la valeur affichée. Pour calculer
l’antilogarithme commun de cdtte valeur, appuyez sur [ 2ndF ] [ 10
x
].
[ ln ], [ 2ndF ] [ e
x
] Touches de calcul du logarithme népérien en
du cologarithme népérien
Pour calculer le logarithme népérien de la valeur affichée, appuyer sur
[ ln ]. Pour calculer le cologarithme népérien de la valeur affichée,
appuyer sur [ 2ndF ] [ e
x
].
[
√
], [ x
2
] Touches de Racine Carrée er Carré
Appuyez sur [
√
] pour trouver la racine de la valeur affichée. Pour
élever la valeur affichée au carré, appuyer sur [ x
2
].
[ 2ndF ] [
3
√
] Touche Racine Cubique
Appuyez sur [ 2ndF ] [
3
√
] pour trouver la racine cubique de la valeur
affichée.
[ 2ndF ] [ 1/x ] Touche Inverse
Appuyez sur [ 2ndF ] [ 1/x ] pour calculer l’inverse de la valeur
affichée.
[ 2ndF ] [ x! ] Factorial Touche
To find the factorial of the displayed value, Appuyez [ 2ndF ] [ x! ]
[ x
y
] Touche Puissance
Appuyez sur n’importe quel nombre [ x ], [ x
y
], n’importe quel chiffre
[ y ], et [ = ] pour élever X à la puissance y.
[ 2ndF ] [
y
x
] Touche Racine
Appuyez sur n’importe quel nombre [ x ] [ 2ndF ] [
y
x ], n’importe
quelle valeur [ y ], et [ = ] pour afficher la racine xième de y.
SR260C_French_090402.doc SIZE: 140x75mm SCALE 1:1
2009/4/14
-F6-
[ a
b/c ], [ 2ndF ] [ d/e ] Touche de Fraction
Pressez [ a
b/c ] permet d’entrer une fraction ou de convertir une
fraction en un nombre décimal. Pressez [ 2ndF ] [ d/e ] permet de
convertir un nombre mixte en une fraction incorrecte et vice versa.
[ CONST ] Touche de Constante Physique
Cette calculatrice vous permet d’effectuer des calculs avec 15
constantes physiques incorporées. Il vous suffit de presser
continuellement [ CONST ] pour indiquer les symboles et valeurs
suivants.
Symbole Sens
Valeur
c
Vitesse de la lumire
299792458 m / s
g
Accélération de la gravité
9.80665 m s
–2
G
Constante gravitationnelle
6.6725985 x 10
–11
N m
2
kg
–2
Vm
Volume moléculaire du
Gaz idéal
0.0224141 m
3
mol
–1
N
A
Nombre d;Avagadro
6.022136736 x 10
23
mol
–1
R
Constante de gaz molécolaire
8.3145107 J / K mol
e
Charge élémentaire
1.6021773349 x 10
–19
C
m e Masse électronique
9.109389754 x 10
–31
kg
m p Masse protonique
1.67262311 x 10
–27
kg
m n Masse neutronique
1.67492861 x 10
–27
kg
u
Masse atomique unifiée
1.66054021 x 10
–27
kg
h
Constante de Plank
6.62607554 x 10
–34
J.S
k
Constante de Boltzmann
1.38065812 x 10
–23
J.K
–1
μ
0
Permittivité magnétique
1.2566370614 x 10
-06
Hm
–1
ε
0
Permittivité diélectrique
8.854187817 x 10
–12
Fm
–1
TOUCHES PROGRAMMANTES (S’UTILISE UNIQUEMENT EN
MODE PGM)
[ 2ndF ] [ PGM ]
─
Programme de Fonction Réglage et Touche
d’Effacement
Réglez la calcilatrice à la mode Lecture de Programme. PGM apparaît
sur l’écran et le précedent contenu de la mémoire est effacé.
Quand vous finissez d’entrer le programme, appuyez sur [ 2ndF ]
[ PGM ]. Le programme que vous venez juste d’entrer est stocké en
mémoire programmée. PGM disparaît et la calculatrice sort de la
fonction programme.
[ RUN ]
─
Touche Informatique
Fait marcher le programme enrégistré.
[ 2ndF ] [ [X] ]
─
Touche de Variable Spécifié
Elle permet d’interrompre le programme en cour de la calculatrice
pour une entrée.
SR260C_French_090402.doc SIZE: 140x75mm SCALE 1:1
2009/4/14
-F7-
[ 2ndF ] [ HALT ]
─
Touche d’Arret Temporaire de Calcul
Affête temporairement un programme de sorte que vours pouvez voir
les résultats intermédiaires, ou rompre les calculs.
TOUCHES STATISTIQUES (S’EMPLOYE UNIQUEMENT EN MODE
SD)
[ 2ndF ] [ STAT ] Touche de Sélection du Mode Statistique
Réglez la calculatrice au mode calcul statistique. SD apparaît sur
l’écran.
[ 2ndF ] [ CAD ] Touche Effacement d’Enrégistrement Statistique
Efface les calculs statistiques préenrégistrés.
[ DATA ], [ DEL ] Touche d’Entrée et Suppression des Données
Dans le mode SD, entrez les données en appuyant sur les chiffres
désirés, puis sur [ DATA ]. Si vous entrez des données incorrectes et
ne le constatez pas jusqu’à ce que vous appuyez sur [ DATA ], faites
rentrer la même données incorrecte appuyez sur [ DEL ] pour la
supprimer.
[
x
] Touche de Moyenne Arithmétique
Calcule la moyenne arithmétique ( x ) des données.
[ 2ndF ] [
σ
] Touche de I’Ecart Type
Calcule I’écart type (
σ
) des données .
[ S ] Touche de Variance
Calcule la variance ( s ) des données.
[ 2ndF ] [
Σ
x
2
] Touche Somme des Carrés
Calcule la somme du carré des données (
Σ
x
2
).
[ 2ndF ] [
Σ
x ] Touche Somme des Valeurs
Calcule la somme des valeurs données (
Σ
x ).
[ n ] Touche Nombre de Données
Affiche la quantité (n) de données entrées.
L’Affichage
Les indicateurs à l’écran sont là pour vous indiquer le status actuel de
la calculatrice.
•
Le point folttant affiche jusqu’à 10 chiffres.
•
La section mantissa affiche jusqu’à 8 chiffres. La partie exposant
affiche jusqu’à
±
99.
STAT
: Indique la fonction statistique.
M
: Indique l’existence d’une valeur stockée en mémoire.
–
: Apparaît à gauche de la mantssa ou de l’expostant pour
indiquer que la valeur correspondante est négative.
SR260C_French_090402.doc SIZE: 140x75mm SCALE 1:1
2009/4/14
-F8-
E :
Indique
une
erreur.
PGM
: Indique le mode lecture de programme.
CONST : Indique le mode de constante.
GRAD
: Indique le choix de l’unité en grad.
RAD
: Indique le choix de l’unité en radian.
DEG
: Indique le choix de l’unité en degré.
BUSY
: Lorsqu’une opération est en cours.
σ
: Indique la valeur de déviation.
2F
: Apparaît quand un deuxième mode a été choisi.
HYP
: Apparaît quand la fonction hyperbolique a été choisie.
(
: Apparaît quand vous appuyez sur [ ( ]. Il montre le
niveau actuel de la série.
( n )
: Apparaît quand vous appuyez sur [SHIFT] [[X]] en mode
lecture de programme et quand l’exécution du
programme s’arrête pour permettre l’entrée d’une
variable. Le nombre entre parenthèses montre le
nombre de place de la variable, et va de 1-40.
ORDRE DES OPÉRATIONS
Caque calcul est effectué dans l’ordre séquentiel suivant :
1) Fonctions qui requiérent l’introduction des valeurs avant d’appuyer
sur les touches de fonctions, sont par exemple, cos, sin, tan, cos
–1
,
sin
–1
, tan
–1
, log, ln, x
2
, 1/x,
√
,
π
,
3
√
, x!, %,
,
et les
conversions d’unité.
2) Opération entre parenthéses
3) Fonctions qui requiérent d’appuyer sur la touche fonction avant
d’être introduit, par exemple, la touche [ EXP ].
4) Fractions
5) +/–
6)
y
x , x
y
7) x , ÷
8) +, –
PRÉCISION DE CAPACITÉ
Fonctions Gamme
d’Entrée
sin x, cos x, tan x
Deg :
x
<
1 x 10
11
deg
Rad :
x
<
1745329252 rad
Grad : x
<
1.111111111 x 10
11
grad
Cependant, pour tan x
Deg : x
≠
90 (2n+1)
SR260C_French_090402.doc SIZE: 140x75mm SCALE 1:1
2009/4/14
-F9-
Rad : x
≠
2
π
(2n+1)
Grad : x
≠
100 (2n+1)
(n est un entier)
sin
–1
x, cos
–1
x
x
≤
1
tan
–1
x
x
<
1 x 10
100
sinh x, cosh x
x
≤
230.2585092
tanh x
x
<
1 x 10
100
sinh
–1
x
x
<
5 x 10
99
cosh
–1
x
1
≤
x
<
5 x 10
99
tanh
–1
x
x
<
1
log x, ln x
1 x 10
–99
≤
x
<
1 x 10
100
10
x
x
<
100
e
x
x
≤
230.2585092
x
0
≤
X
<
1 x 10
100
x
2
x
<
1 x 10
50
1/x
1 x 10
–99
≤
x
<
1 x 10
100
, X
≠
0
3
x
x
<
1 x 10
100
x !
0
≤
x
≤
69, x est un entier.
,
x
<
1 x 10
100
x
y
x
>
0 : –1 x 10
100
<
y log x
<
100
x = 0 : y
>
0
x
<
0 : y = n, 1/(2n+1), n est un entier.
Mais –1 x 10
100
<
y
1 log
⏐
x
⏐
100
y
x
x
>
0 : y
≠
0, –1 x 10
100
<
y
1 log x
<
100
x = 0 : y
>
0
x
<
0 : y=2n+1, l/n, n est un entier.(n
≠
0)
Mais –1 x 10
100
<
y
1 log
⏐
x
⏐
100
c
b
a
Donnée
:
Le total des nombres entiers
relatifs, du numérateur et du dénominateur
doivent être dans la limite des dix chiffres
SR260C_French_090402.doc SIZE: 140x75mm SCALE 1:1
2009/4/14
-F10-
(en incluant les symbols de division)
Résultat
:
Le résultat est affiché sous forme
de fraction quand les nombres entiers
relatifs, le numérateur et le dénominateur
sont inférieur à 1 x 10
10
STAT
⏐
x
⏐
<
1 x 10
50
,
⏐Σ
x
⏐
<
1 x 10
100
0
≤
Σ
x
2
<
1 x 10
100
, 0
≤
n
<
1 x 10
100
x : n
≠
0 ; s : n
>
1 ;
σ
: n
>
0
SURCHARGE / CONDITIONS D’ERREUR
Le symbole “
E
” apparaît à l’écran quand l’une des conditions
suivantes apparaît, de plus, tout calcul devient impossible. Appuyez
simplement sur [ ON/C ] pour faire disparaitre cet indicateur de
surcharge ou d’erreur et pouvoir continuer à faire des calculs.
•
Un résultat de calcul, intermédiaire ou final, dépasse 1 x 10
100
(y
compris les calculs en mémoire).
•
Une division par zéro.
•
Le nombre stocké de niveau d’une priorité inférieur dépasse de 6
dans un calcul avec parenthèses, ou le nombre de parenthèses
dans un même niveau dépasse de 7. (Une erreur peut également
survenir si vous y intégrez les mémoire X ou K ou les programmes
mémoire, même si le nombre de niveau ne dépasse pas 6.)
•
Vous utilisez [ 2ndF ] [ Ka
X
Æ
K
] ou [ 2ndF ] [ Kb
X
Æ
K
] pendant que
les mémoire X et K sont utilisées pour stocker un calcul d’une
priorité inférieur.
•
Vous effectuez un calcul dépassant les calculs fonctionnels ou
statistiques.
•
Vous essayez de stocker plus de 40 étapes dans un programme.
Pour effacer les calculs après un débordement, appuyez sur
[ ON/C ].
SOURCE D’ALIMENTATION
Pour allumer la calculatrice, appuyez sur [ ON/C ] ; pour éteindre la
calculatrice, appuyez sur [ OFF ]. Cette calculatrice s’éteint
automatiquement si elle n’est pas utilisée pendant environ 9 minutes.
Elle peut être réactivée en pressant la touche [ ON/C ] et l’affichage
avec la mémoire reviennent à leur état avantl’arrêt.
Cette calculatrice est alimentée par 2 piles alcalines G13 (LR44).
Lorsque l'affichage perd de sa netteté, veuillez remplacer Ies plies.
Faites attention de ne pas vous blesser lors du remplacement des
piles.
1. Dévissez les vis situées au dos de la calculatrice.
2. Introduisez la lame plate d'un tournevis dans la fente entre le haut
et le bas du boîtier puis tourner doucement dessus pour l'enlever.
3. Enlevez les deux plies et jetez-les aussitôt. Ne jamais laisser les
SR260C_French_090402.doc SIZE: 140x75mm SCALE 1:1
2009/4/14
-F11-
enfants jouer avec.
4. Essuyez les nouvelles piles avec untissus sec pour obtenir un bon
contact.
5. Insérer les deux nouvelles piles le côt é plat (pôle plus) en haut.
6. Alignez le haut et le bas du boîtier puis appuyez dessus pour
fermer.
7. Resserez les vis.
CALCULS NORMAUX
Calcul Simple
(Comprenant les Calculs avec Parenthèses)
(Ex.) : – 3.5 +8 ÷ 2= 0.5
3.5 [ +/–] [ + ] 8 [ ÷ ] 2 [ = ]
DEG
0.5
(Ex.) : ( 5 – 2 x 1.5 ) x 3 + 0.8 x ( – 4 ) = ?
[ ( ] 5 [ – ] 2 [ x ] 1.5 [ ) ] [ x ] 3 [ + ]
0.8 [ x ] 4 [ +/ – ] [ = ]
DEG
2.8
(Ex.) : 2 x [ 7 + 6 x ( 5 + 4 ) ] = 122
2 [ x ] [ ( ] 7 [ + ] 6 [ x ] [ ( ] 5 [ + ] 4
[ = ]
DEG
122.
(Note) : Il n’est pas necessaire d’appuyer sur la touche [ ) ] avant la
touche [ = ].
Les Calauls Constants
(Ex.) : 3 + 2.3 = 5.3
6 + 2.3 = 8.3
3 [ + ] 2.3 [ = ]
DEG
5.3
6 [ = ]
DEG
8.3
(Ex.) : 7 – 5.6 = 1.4
–4.5
–
5.6 = –10.1
7 [ – ] 5.6 [ = ]
DEG
1.4
4.5 [+/–] [ = ]
DEG
–10.1
(Ex.) : 12 x 2.3 = 27.6
12
x (–9) = –108
12 [ x ] 2.3 [ = ]
DEG
27.6
9 [+/–] [ = ]
DEG
–108.
(Ex.) : 74 ÷ 2.5 = 29.6
85.2 ÷ 2.5 = 34.08
74 [ ÷ ] 2.5 [ = ]
DEG
29.6
85.2 [ = ]
DEG
34.08
Les Calculs avec Mémoires
SR260C_French_090402.doc SIZE: 140x75mm SCALE 1:1
2009/4/14
-F12-
•
Ne pas règler le mode de fonction sur “ STAT ” lorsque vous
éxécutez un calcul avec mémoire.
•
En appuyant sur [ X
Æ
M ] un nouveau nombre emtre en mémoire,
et remplace celui stocké au paravent.
•
Pour effacer le contenu de la mémoire, appuyez successivement
sur [ 0 ] [ X
Æ
M ] ou sur [ ON/C ] [ X
Æ
M ].
•
M apparaît lorsqu’un nombre n’étant pas égal à 0 est stocké en
mémoire.
•
Lorsque vous pressez [ X
Æ
M ] après avoir pressé [ MR ], le
nombre affiché est alors changé en tant que contenu de mémoire.
(Ex.) : (3 – 5) + (56 ÷ 7) + (74 – 8 x 7) = 24
0 [ X
Æ
M ]
DEG
0.
3 [ – ] 5 [ M+ ]
M
DEG
–2.
56 [ ÷ ] 7 [ M+ ]
M
DEG
8.
74 [ – ] 8 [ x ] 7 [ M+ ]
M
DEG
18.
[ MR ]
M
DEG
24.
0 [ X
Æ
M ]
DEG
0.
CALCULS DE FONCTION
Conversion Sexagésimal
↔
Décimale
(Ex.) : 12
∘
45’
30” = 12.75833333
12 [
‧
] 4530 [ 2ndF ] [
]
DEG
12.75833333
(Ex.) : 2.12345 = 2
∘
7’ 24.42”
2.12345 [ 2ndF ] [
]
DEG
2.072442
Avant de réaliser les calculs suivants, verifier que la calculatrice est en
affichage format 2 chiffres après la virgule.
Calcul de Fraction
•
En appuyant sur [ 2ndF ] [ d/e ], la valeur affichée sera convertie
en une fraction incorrecte.
(Ex.) :
15
124
5
3
7
3
2
=
+
2 [ a
b/c ] 3 [ + ] 7 [ a
b/c ] 3 [ a
b/c ] 5
[ = ]
DEG
8
∪
4
┘
15
SR260C_French_090402.doc SIZE: 140x75mm SCALE 1:1
2009/4/14
-F13-
[ 2ndF ] [ d/e ]
DEG
124
┘
15
•
Quand la touche [ a
b/c ] est pressée après la touche [ = ] ou
qu’une fraction est réalisé avec une décimale, le résultat est affiché
sous forme de décimale.
(Ex.) :
9.19
16
7
9
4
3
3
9
4
5
=
=
+
5 [ a
b/c ] 4 [ a
b/c ] 9 [ + ] 3 [ a
b/c ] 3
[ a
b/c ] 4 [ = ]
DEG
9
∪
7
┘
36
[ a
b/c ]
DEG
9.19
Fonctions Trigonométriques / Inverses
(Ex.) : 3 sin 30
。
= 1.50
3 [ x ] 30 [ sin ] [ = ]
DEG
1.50
(Ex.) : cos (
3
2
π
rad) = – 0.5
2 [ x ] [ 2ndF ] [
π
] [ ÷ ] 3 [ = ] [ cos ]
RAD
– 0.50
(Ex.) : sin
–1
0.5 = 30 (deg)
0.5 [ 2ndF ] [ sin
–1
]
DEG
30.00
(Ex.) : cos
–1
(
2
1
) = 0.79 (rad)
2 [
√
] [ 2ndF ] [ 1/x ] [ 2ndF ]
[ cos
–1
]
RAD
0.79
Fonctions Hyperboliques et Fonctions Inverses
(Ex.) : cosh 1.5 + sinh 1.5 = 4.48
1.5 [ 2ndF ] [ HYP ] [ cos ] [ + ]
1.5 [ 2ndF ] [ HYP ] [ sin ] [ = ]
DEG
4.48
(Ex.) : sinh
–1
7 = 2.64
7 [ 2ndF ] [ HYP ] [ 2ndF ] [ sin
–1
]
DEG
2.64
Logarithmes Communs et Naturels / Exponentiels
(Ex.) : ln7 + log100 = 3.95
7 [ ln ] [ + ] 100 [ log ] [ = ]
DEG
3.95
(Ex.) : 10
2
= 100.00
SR260C_French_090402.doc SIZE: 140x75mm SCALE 1:1
2009/4/14
-F14-
2 [ 2ndF ] [ 10
x
] [ = ]
DEG
100.00
(Ex.) : e
5
– e
–2
= ?
5 [ 2ndF ] [ e
x
] [ – ] 2 [ +/– ] [ 2ndF ]
[ e
x
] [ = ]
DEG
148.28
Puissance, Racine, Réciproque, Factoriel
(Ex.) :
= 5.29
2 [
√
]
[ + ] 3 [
√
]
[ x ]
5 [
√
] [ =
]
DEG
5.29
(Ex.) :
5 [ 2ndF ] [
3
√
] [ + ] 27 [ +/– ]
[ 2ndF ] [
3
√
] [ = ]
DEG
–1.29
(Ex.) : 7
5
= 16807
7 [ x
y
] 5 [ = ]
DEG
16807.00
(Ex.) :
2
32
5
=
32 [ 2ndF ] [
y
x ] 5 [ = ]
DEG
2.00
(Ex.) :
12.00
4
1
–
3
1
1
=
3 [ 2ndF ] [ 1/x ] [ – ] 4 [ 2ndF ] [ 1/x ]
[ = ] [ 2ndF ] [ 1/x ]
DEG
12.00
(Ex.) : 123 + 30
2
= 1023.00
123 [ + ] 30 [ x
2
] [ = ]
DEG
1023.00
(Ex.) : 8 ! = 1 x 2 x 3 x ……x 7 x 8 = 40320.00
8 [ 2ndF ] [ x ! ]
DEG
40320.00
Conversion des Unités
(Ex.) : 12 in = 30.48 cm
12 [ A
Æ
B ] [ 2ndF ] [ in
↔
cm ]
DEG
30.48
(Ex.) : 98 cm = 38.58 in
98 [ 2ndF ] [ A
Å
B ] [ 2ndF ] [ in
↔
cm ]
DEG
38.58
Notes : Toutes les procédures d’opération pour la touche de
conversion d’unité, [ feet
↔
m ], [ feet
2
↔
m
2
], [ B.gal
↔
l ],
[ gal
↔
l ] [ Pint
↔
l ], [ Tr.oz
↔
g ], [ oz
↔
g ], [ lb
↔
kg ],
SR260C_French_090402.doc SIZE: 140x75mm SCALE 1:1
2009/4/14
-F15-
[ atm
↔
kpa ], [ cal
↔
KJ ], [
℉
↔
℃
] et [ mmHg
↔
kpa ]
sont identiques à celles de l’exemple cidessus.
Constantes en Physique
(Ex.) : 5 x G = 3.34 x 10
–10
5 [ x ] [ CONST ] [ CONST ]
[ CONST ]
CONST DEG
6.67
–11
G
[ = ]
DEG
3.34
–10
LA VARIANCE
•
Appuyez sur [ 2ndF ] [ STAT ] pour règler la calculatrice au mode
calcul statistique.
•
Appuyez sur [ 2ndF ] [ CAD ] pour effacer la mémoire statistique
avant de commencer un nouveau calcul.
•
Au lieu d’entrer directement chaque donnée, surtout lorsque
plusieurs éléments ont la même valeur, vous pouvez entrer la
valeur et le nombre des occurrences.
(Ex.) : Entrer les données suivantes pour calculer n,
Σ
x,
Σ
x
2
,
x , S,
σ
, où les données sont : data 1=2, data 2~4=5, data
5~6=9
[ 2ndF ] [ STAT ]
STAT
DEG
0.
[ 2ndF ] [ CAD ]
STAT
DEG
0.
2 [ DATA ] 5 [ DATA ] 5 [ DATA ] 5
[ DATA ] 9 [ DATA ] 9 [ DATA ]
– ou –
2 [ DATA ] 5 [ x ] 3 [ DATA ] 9 [ x ]
2 [ DATA ]
STAT
DEG
6.
[ n ]
STAT
DEG
6.
[ 2ndF ] [
Σ
x
2
]
STAT
DEG
241.
[ 2ndF ] [
Σ
x ]
STAT
DEG
35.
[ x ]
STAT
DEG
5.833333333
[ S ]
STAT
DEG
2.714160398
[ 2ndF
] [
σ
]
STAT
DEG
σ
2.477678125
Note:
SR260C_French_090402.doc SIZE: 140x75mm SCALE 1:1
2009/4/14
-F16-
L’écart type S est définie comme:
( )
1
n
n
x
–
x
2
2
−
∑
∑
La variance est
σ
définie comme:
( )
n
n
x
–
x
2
2
∑
∑
La moyenne arithmétique x est définie comme:
n
x
∑
•
Appuyez sur [ DEL ] pour annuler une entrée incorrecte.
PROGRAMMATION
Avec votre calculatrice scientifique programmable, la répétition de
calculs compliqués ne représentera plus trop de temps perdu. Tout ce
que vous avez à faire est de dire à votre calculatrice ce que vous
voulez
faire
d’une
manière
qu’elle
peut
comprendre
(c’est-à-dire la programmer).
Votre calculatrice peut stocker jusqu’à 40 étapes d’opération. Ces
“étapes” peuvent êsoit d’autres étapes (telles les fonctions
mathématiques), soit des caractères (comme les chiffres). Chaque
fonction est comptée comme une étape. Le processus est mémorisé
même si vous éteignez la calculatrice. Dans vos calculs vous pouvez
avoir plus d’une variable.
Votre calculatrice lit les processus mathématiques ou programmes en
mode lecture (PGM). Pour règlier la calculatrice en mode lecture,
appuyez sur [ 2ndF ] [ PGM ]. PGM apparaît sur l’écran.
Puis commencez le processus comme si vous exécutiez le calcul
─
excepté que vous appuyez sur [ 2ndF ] [ [X] ] avant d’entrer les
variables. Vous obtenez la première solution de votre fonction guand
vous êtes toujours en mode PGM.
Notes : Si vous appuyez sur[ 2ndF ] [ [X] ] suivi de [
‧
], ou un nombre
suivi de [ EXP ], [ +/– ], [ ) ] ou [ CE ], le nombre et la première
des fonctions suivantes sont considérés comme une variable
─
ils ne sont par inscrits en tant qu’étape du programme.
Souvenez
─
vous que vous pouvez entrer un maximum de 40 étapes.
Si vous essayez de faire entrer une 41ème étape, la calculatrice
affichera un E. Appuyez alors sur[ ON/C ] pour effacer l’erreur.
Pour arrêter l’entrée des données du programme, appuyez à nouveau
sur [ 2ndF ] [ PGM ]. PGM disaparaît et la calculatrice quitte le mode
programme. Appuyez sur [ RUN ] pour commencer à répéter les
même procédures mathématiques pour différentes variables.
Losque vousu appuyez sur [ RUN ], vous pouvez commencer à entrer
les variables. Entrez les variables dans l’ordre d’apparition dans la
SR260C_French_090402.doc SIZE: 140x75mm SCALE 1:1
2009/4/14
-F17-
formule et appuyez sur[ RUN ] après chaque variable entrée. La
solution est affichée sur l’écran.
Les programmes stockés sont automatiquement effacés guand vous
appuyez sur [ 2ndF ] [ PGM ]. Ainsi, assurez-vous de ne pas choisir le
mode programme à moins que vous vouliez entrer un nouveau
programme.
Vous pouvez égalememt programme votre calculatrice de façon à
afficher les résultats intermédiaires dans votre formule. Au cours de la
programmation de la calculatrice (mode PGM), appuyez sur [ = ] là où
vous souhaitez obtenir une solution intermédiaire. Puis appuyez sur
[ 2ndF ] [ HALT ] et terminez votre formule comme d’habitude.
Quand vous faites tourner le programme, appuyez sur [ RUN ] après
que la calculatrice affiche une valeur intermédiaire pour reprendre le
programme. Vous pouvez utiliser la même méthode pour programmer
votre calculatrice pour qu’elle exécute deux ou plusieur formules l’un
après l’autre.
(Ex.) Find the total amount of principal and interest on a $5,000
loan (x) at 6% annual interest (y) compounded annually over
a period of 7 years (z) ?
Formula : total amount = x (1 +y )
z
(Ex.) : (1)
x = $5,000
(2) x = $1,000
y = 6 %
y = 10 %
z = 7 année
z = 5 année
[ 2ndF ] [ PGM ]
PGM DEG
0.
[ 2ndF ] [ [X] ]
PGM DEG
[ 1 ]
5000
PGM DEG
5000.
[ x ] [ ( ] 1 [ + ] [ 2ndF ] [ [X] ]
PGM DEG
[ 2 ]
6
PGM DEG
6.
[ ÷ ] 100 [ ) ] [ x
y
] [ 2ndF ] [ [X] ]
PGM DEG
[ 3 ]
7
PGM DEG
7.
[ = ]
PGM DEG
7518.151295
[ 2ndF ] [ PGM ]
DEG
0.
[ RUN ]
DEG
[ 1 ]
1000
DEG
1000.
SR260C_French_090402.doc SIZE: 140x75mm SCALE 1:1
2009/4/14
-F18-
[ RUN ]
DEG
[ 2 ]
10
DEG
10.
[ RUN ]
DEG
[ 3 ]
5
DEG
5.
[ RUN ]
DEG
1610.51
Description :
△
→
Y
3
2
1
2
1
4
R
R
R
R
R
R
+
+
•
=
3
2
1
3
2
5
R
R
R
R
R
R
+
+
•
=
3
2
1
1
3
6
R
R
R
R
R
R
+
+
•
=
(Ex) :(1) R
1
= 12 (
Ω
) (2)
R
1
= 10 (
Ω
)
R
2
= 47 (
Ω
)
R
2
= 20 (
Ω
)
R
3
= 82 (
Ω
)
R
3
= 30 (
Ω
)
12 [ 2ndF ] [ Ka
X
Æ
K
]
DEG
12.
47 [ 2ndF ] [ Kb
X
Æ
K
]
DEG
47.
82 [ X
Æ
M ]
M
DEG
82.
[ 2ndF ] [ PGM ]
M
PGM DEG
0.
[ Ka
X
Æ
K
] [ Kb
X
Æ
K
]
M
PGM DEG
564.
R
1
x
R
2
[ ÷ ] [ ( ] [ Ka
X
Æ
K
] [ + ]
[ Kb
X
Æ
K
] [ + ] [ MR ] [ ) ] [ = ]
M
PGM DEG
4. R
4
[ 2ndF ] [ HALT ]
M
PGM DEG
4.
[ MR ] [ Kb
X
Æ
K
]
M
PGM DEG
3854.
R
2
x R
3
[ = ]
M
PGM DEG
27.33333333
R
5
SR260C_French_090402.doc SIZE: 140x75mm SCALE 1:1
2009/4/14
-F19-
[ 2ndF ] [ HALT ]
M
PGM DEG
27.33333333
[ MR ] [ Ka
X
Æ
K
]
M
PGM DEG
984.
R
3
x
R
1
[ = ]
M
PGM DEG
6.978723404
R
6
[ 2ndF ] [ PGM ]
M
DEG
0.
10 [ 2ndF ] [ Ka
X
Æ
K
] 20
[ 2ndF ] [ Kb
X
Æ
K
] 30 [ X
Æ
M ]
M
DEG
30.
[ ON/C ] [ RUN ]
M
DEG
3.333333333
R
4
[ RUN ]
M
DEG
10.
R
5
[ RUN ]
M
DEG
5.
R
6
SIZE: 140x75mm SCALE 2:1 2009/4/15
-It 1-
DEFINIZIONI BASICHE ...................................................... 2
I Tasti.............................................................................................2
TASTI GENERALI.............................................................................2
TASTI DI MEMORIA .........................................................................2
TASTI SPECIALI ..............................................................................3
TASTO PER CONVERSIONE DELL’UNITÀ.....................................4
TASTI DI FUNZIONI .........................................................................5
TASTI DI PROGRAMMAZIONE (SOLO USARE NEL MODO PGM)6
TASTI PER STATISTICHE (SOLO USARE NEL MODO STAT ) .....7
SCHERMO .......................................................................... 8
ORDINE DI OPERAZIONI................................................... 8
ACCURATEZZA E CAPACITÀ .......................................... 9
OVERFLOW / CONDIZIONI DI ERRORE......................... 10
ALIMENTAZIONE ............................................................. 10
CALCOLI NORMALI......................................................... 11
Calcoli di Base (Incluso Calcoli con Parentesi) ..........................11
Calcoli con Costanti.....................................................................11
Calcoli con la Memoria ................................................................12
CALCOLI DI FUNZIONE................................................... 12
Conversione Sessagesimale
↔
Decimale ..................................12
Calcolo di Frazione......................................................................12
Funzioni Trigonometriche / Tri. Inverse .......................................13
Funzioni Iperboliche e Iperb. Inverse...........................................13
Logaritmi Comuni e Naturali / Esponenziazioni ...........................13
Potenza, Radice, Reciproco, Fattoriali ........................................14
Conversione degli Unità ..............................................................14
Costanti Fisiche...........................................................................14
DEVIAZIONI STANDARD................................................. 15
PROGRAMMAZIONE ....................................................... 16
Indice
Оглавление
- BASIC DEFINITIONS
- The Display
- ORDER OF OPERATIONS
- OVERFLOW / ERROR CONDITIONS
- POWER SUPPLY
- FUNCTION CALCULATIONS
- STANDARD DEVIATIONS
- PROGRAMMING
- DEFINIZIONI BASICHE
- Schermo
- ACCURATEZZA E CAPACITÀ
- OVERFLOW / CONDIZIONI DI ERRORE
- CALCOLI NORMALI
- CALCOLI DI FUNZIONE
- DEVIAZIONI STANDARD
- PROGRAMMAZIONE
- Inhoud
- ALGEMENE DEFINITIES
- Het beeldscherm
- VOLGORDE VAN DE BEWERKINGEN
- OVERFLOW / FOUTMELDINGEN
- VOEDING
- FUNCTIEBEWERKINGEN
- STANDAARDAFWIJKINGEN
- PROGRAMMEREN
- GRUNDLÆGGENDE DEFINITIONER
- Displayet
- OPERATIONSRÆKKEFØLGE
- OVERLØB / FEJLTILSTANDE
- STRØMFORSYNING
- FUNKTIONSBEREGNINGER
- STANDARDAFVIGELSER
- PROGRAMMERING

