Sigma EF-500: TECHNISCHE GEGEVENS:
TECHNISCHE GEGEVENS:: Sigma EF-500

◆ U kunt het benodigde flitsvermogen bepalen door op de LCD display de zo goed mogelijke geschatte afstand
tot het object in te stellen. Als deze afstand buiten het bereik valt, dient u de diafragmawaarde aan te passen.
◆ U kunt de diafragmawaarde en filmsnelheid ook handmatig op de flitser instellen.
a) Voor het instellen van de filmsnelheid drukt u op de MODE toets en selecteert u de ISO-aanduiding, waarna
u vervolgens op de SEL toets drukt om de aanduiding te laten knipperen. Met de + en – toets kunt u de
gewenste filmsnelheid instellen en om deze op te slaan drukt u wederom op de SEL toets.
b) Voor het instellen van de diafragmawaarde (wanneer de flitser in de ‘slave’ instelling staat) drukt u op de
SEL toets om de aanduiding van het diafragma te laten knipperen. Met de + en de – toets kunt u de
gewenste diafragmawaarde selecteren en opslaan door nogmaals op de SEL toets te drukken.
8. Druk meerdere malen op de SEL toets om het LCD display te laten stoppen met knipperen.
9.
Plaats de slave flitser op de gewenste positie. Plaats de unit echter niet zo dat deze zichtbaar wordt op de opname.
10.
Nadat u uzelf ervan overtuigd heeft dat de flitsers opgeladen zijn, drukt u op de ontspanknop om de opname te voltooien.
◆ NB Als de EF-610 DG Super geheel geladen is, licht het AF hulplampje op.
◆ De flitser zal niet flitsen als deze in de ‘slave’-instelling op de camera is geplaatst.
VOORKEUZE VAN DE SLAVE FLITSER
Als u twee of meerdere EF-610 DG Super flitsers gebruikt, kunt u een voorkeuze maken welke flitsers
tegelijk flitsen door verschillende kanaalinstellingen. In deze stand zal één flitsunit gebruikt worden op de
camera als aansturende flitser en de overigen voor de slave belichting.
Het instellen van de slave mode.
1. Monteer de flitser op de camera
2. Zet de belichtingsstand op de S of M mode
◆ Zet nu de sluitertijd op 1/30 of langzamer. De aansturende flitser zal dan een signaal naar de overige units
sturen voordat deze flitsen. Dit wil dus zeggen dat wanneer u een sluitertijd sneller dan 1/30 hanteert, de
flitsen niet synchroon zullen zijn.
3. Zet de flitser aan, en druk de ontspanknop van de camera half in.
◆ De diafragmawaarde en de filmsnelheid worden nu aan de slave flitser
doorgegeven
4. Verwijder de slave-unit van de camera
5. Druk op de MODE toets en selecteer de / (slave mode)
6. Druk op de SEL toets om de kanaalaanduiding te laten knipperen
7. Druk op de + of – toets om het kanaal te selecteren (c1 of c2)
8.
Druk op de SEL toets om de flitsvermogen aanduiding te laten knipperen
9. Druk op de + of – toets om het flitsvermogen in te stellen
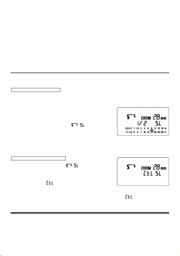
◆ U kunt het benodigde flitsvermogen bepalen door op het LCD display de geschatte afstand tot het object in te
stellen. Als deze afstand buiten het bereik valt, dient u de diafragmawaarde aan te passen.
10. Druk meerdere malen op de SEL toets om het LCD display te laten stoppen met knipperen.
11. Plaats de ‘slave-unit’ op de gewenste positie. Plaats de unit echter niet in het beeld van de opname.
Instellen van de slave-controler unit
12. A Monteer de aansturende flitser op de camera body
13.
Druk op de MODE toets en selecteer het / symbool (slave mode)
14. Druk op de SEL toets om de kanaalaanduiding te laten knipperen
15. Druk op de + of – toets om hetzelfde kanaal te selecteren als dat van
de andere unit (c1 of c2)
16.
Druk op de SEL toets om de flitsvermogen aanduiding te laten knipperen
17. Druk op de + toets om te tonen
18. Druk op de SEL toets om het display te laten stoppen met knipperen.
19.
Nadat u uzelf ervan overtuigd heeft dat de flitsers opgeladen zijn, drukt u op de ontspanknop om de opname te voltooien.
◆ Als de aansturende EF-610 DG Super geheel geladen is, licht het AF hulplampje op.
◆ U kunt de diafragmawaarde niet veranderen met de SEL toets, wanneer u de
heeft geselecteerd bij de
flitsvermogen instelling. ◆De aansturende flitser geeft alleen instructies aan de slave-unit(s)
TECHNISCHE GEGEVENS:
Type: Opschuifbare DDL Autozoom Electronenflitser Richtgetal: 61 (ISO 100 / op 105mm zoompositie)
Stroombron: 4 AA alkaline of 4 oplaadbare Ni-Cd, of Ni-MH batterijen
Oplaadtijd: Ca. 7 sec. (met alkaline batterijen Ca. 5 sec. (met oplaadbare batterijen)
Aantal flitsen: Ca. 120 met alkaline batterijen Ca. 160 met oplaadbare batterijen
Flitsduur: Ca. 1/700 sec. bij vol vermogen Automatische uitschakeling: Ja
Verlichtingshoek: 24mm – 105mm motorisch gestuurd 17mm met ingebouwde groothoekdiffusor
Gewicht / Afmetingen: 330 gram / 76mmX138mmX116mm
107
Оглавление
- 安全上のご注意
- 各部の名称(1 ページ)
- 発光部のセット
- ワイドパネルについて
- 連続撮影時のご注意
- 後幕シンクロ撮影
- モデリング発光
- マルチ発光撮影
- ワイヤレス撮影
- スレーブ発光
- 主要諸元
- PRECAUTIONS
- DESCRIPTION OF THE PARTS
- ADJUSTING THE FLASH HEAD
- WIDE PANEL
- LIMITS OF CONTINUOUS SHOOTING
- HIGH SPEED SYNC (FP) FLASH, A TYPE CAMERAS ONLY
- MODELING FLASH
- BOUNCE FLASH
- SLAVE FLASH
- SPECIFICATIONS
- VORSICHTSMAßNAHMEN
- BESCHREIBUNG DER TEILE
- EINSTELLEN DES BLITZKOPFES
- WEITWINKELSTREUSCHEIBE
- GRENZEN DER SERIENAUSLÖSUNG
- SYNCHRONISATION AUF DEN ZWEITEN VERSCHLUSSVORHANG
- BLITZBELICHTUNGSSPEICHERUNG (FE-LOCK)
- STROBOSKOPBETRIEB
- KABELLOSES BLITZEN
- „SLAVE“ GERÄT
- TECHNISCHE DATEN
- PRECAUTIONS
- DESCRIPTION DES ELEMENTS
- AJUSTEMENT DE LA TETE FLASH
- ELARGISSEUR D'ANGLE
- LIMITES DES PRISES DE VUE CONSECUTIVES AU FLASH
- SYNCHRONISATION GRANDE VITESSE (FP)
- FLASH PREDICTIF
- FLASH INDIRECT
- FLASH ESCLAVE
- CARACTERISTIQUES TECHNIQUES
- PRECAUCIONES
- DESCRIPCIÓN DE LAS PARTES
- AJUSTE DEL CABEZAL DEL FLASH
- PANTALLA ANGULAR
- LIMITACIONES DEL DISPARO CONTINUO
- BLOQUEO FE (sólo para cámaras de tipo B)
- LUZ DE MODELADO
- FLASH REFLEJADO
- CONTROL REMOTO DEL FLASH
- FLASH ESCLAVO
- ESPECIFICACIONES
- ATTENZIONE
- DESCRIZIONE DELLE PARTI
- REGOLAZIONE DELLA TESTA DEL FLASH
- ILLUMINAZIONE DEL DISPLAY LCD
- LIMITAZIONI QUANDO SI SCATTA IN SEQUENZA
- BLOCCO FE
- FB (Esposizione Bracketing del flash)
- FLASH TELECOMANDATO SENZA FILI (WIRELESS)
- FLASH SECONDARIO
- SPECIFICHE
- BEMÆRK
- BESKRIVELSE AF FLASHENS DELE
- JUSTERING AF FLASHHOVEDET
- ETTL (TTL) AUTO FLASH
- SYNKRONISERING MED ANDET LUKKERGARDIN
- FE LÅS
- MULTI-FLASH FUNKTION
- TRÅDLØS FLASH
- SLAVE-FLASH
- SPECIFIKATIONER
- VOORZORGSMAATREGELEN
- OMSCHRIJVING VAN DE ONDERDELEN
- HET AFSTELLEN VAN DE FLITSKOP
- GROOTHOEK ADAPTER
- MAXIMALE PRESTATIES BIJ CONTINU FOTOGRAFEREN.
- FP FLITS (High Speed Sync)
- FB MODE (Flash Exposure Bracketing)
- DRAADLOOS FLITSEN
- SLAVE FUNCTIE
- TECHNISCHE GEGEVENS:
- 注 意
- 相容相機型號
- 安裝閃光燈到相機及其解除
- 閃燈連發限制
- 第二簾幕閃燈同步
- 造型閃光燈
- 反射閃光
- 離機無線從屬(Slave)閃光模式
- 規 格
- 사용상 주의점
- 각부의 명칭
- 플래시 헤드 조정
- ETTL (TTL) 오토 플래시
- 후막 싱크로 촬영
- FE LOCK 촬영
- 멀티 플래시 모드
- 무선 플래시 촬영
- 슬레이브 플래시
- 제품 사양
- ПРЕДОСТОРОЖНОСТИ
- ОПИСАНИЕ СОСТАВНЫХ ЧАСТЕЙ
- НАСТРОЙКА ГОЛОВКИ ВСПЫШКИ
- ОСВЕЩЕНИЕ ЖК ПАНЕЛИ
- ОГРАНИЧЕНИЯ ДЛЯ НЕПРЕРЫВНОЙ СЪМКИ
- ВЫСОКОСКОРОСТНАЯ СИНХРОНИЗАЦИЯ ВСПЫШКИ,
- КОМПЕНСАЦИЯ ЭКСПОЗИЦИИ
- НАПРАВЛЕННОСТЬ ВСПЫШКИ
- ДОПОЛНИТЕЛЬНАЯ ВСПЫШКА
- ХАРАКТЕРИСТИКИ
- PRECAUÇÕES
- DESCRIÇÃO DOS COMPONENTES
- COMO AJUSTAR A CABEÇA DO FLASH
- ILUMINAÇÃO DO PAINEL LCD
- LIMITES DE DISPAROS CONTÍNUOS
- SINCRONIZAÇÃO DO FLASH A ALTA VELOCIDADE (FP),
- FB (Exposição Múltipla com Flash)
- FLASH INDIRECTO
- FLASH ESCRAVO
- ESPECIFICAÇÕES

