Sigma EF-500: SYNCHRONISATION GRANDE VITESSE (FP)
SYNCHRONISATION GRANDE VITESSE (FP): Sigma EF-500

1. Sélectionnez le mode d'exposition souhaité sur l'appareil
2. Appuyez sur les touches + ou - jusqu'à ce que le symbole
s'affiche sur l'écran LCD.
3. Faites la mise au point et prenez la photo dès que le témoin de
charge s'allume.
◆ La synchronisation sur le premier rideau est rétablie dès que le
symbole
n'est plus affiché.
◆ Ce mode ne fonctionne pas si l'appareil est en mode "Full Auto"
◆ Pour annuler la synchronisation au deuxième rideau, faites disparaître le symbole de l'écran
LCD en appuyant sur les touches
+ ou -.
SYNCHRONISATION GRANDE VITESSE (FP)
(BOITIERS TYPE A)
Lorsque vous photographiez au flash, vous ne pouvez pas, normalement, utiliser une vitesse plus
rapide que la vitesse de synchronisation car le flash ne peut fonctionner que durant la pleine ouverture
de l'obturateur. La synchronisation rapide (Grande Vitesse) permet d'émettre alors même que le
rideau de l'obturateur est en mouvement. Vous pouvez donc utiliser une vitesse d'obturation plus
rapide que la vitesse de synchronisation.
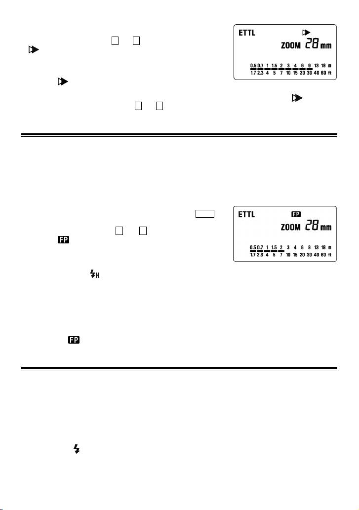
1. Sélectionnez le mode d'exposition sur l'appareil. (vous pouvez utiliser les modes “Tv” ou “M”)
2. Sélectionnez une vitesse d'obturation supérieure à la vitesse de synchronisation normale.
3. Mettez le flash sous tension en plaçant l'interrupteur sur "ON".
4. Choisissez le mode flash en appuyant sur le bouton MODE (les
modes “ETTL” et “M” peuvent être utilisés).
5. Appuyez sur les touches + ou - pour faire apparaître le
symbole sur l'écran LCD.
6. Faites la mise au point sur le sujet.
7. Vérifiez que le sujet se trouve effectivement dans la plage de
distance indiquée sur l'écran LCD.
8. Vérifiez que l'icône s'affiche dans le viseur et prenez la photo.
◆ En synchronisation rapide, le Nombre Guide diminue avec la vitesse. Plus la vitesse est rapide,
moins le flash est puissant. (voir le tableau 2 en dernière page)
◆ La sélection d'une vitesse plus lente que la vitesse de synchronisation annule la synchronisation
Grande Vitesse, et le flash revient automatiquement en mode normal ETTL. Pour réactiver la
synchronisation Grande Vitesse, reprenez la procédure depuis le début.
◆ Il est possible d'utiliser un correction d'exposition en combinaison avec la synchronisation rapide.
Pour ce faire, reportez-vous au chapitre "correction d'exposition" du mode d'emploi de l'appareil.
◆ Le symbole
disparaît dès que la synchronisation Grande Vitesse est annulée.
MEMORISATION D'EXPOSITION AU FLASH (FE LOCK)
Le mode de mémorisation d'exposition au flash (“FE” lock) permet de sélectionner l'exposition d'une
partie seulement du viseur et de la verrouiller, avant de prendre la photo.
1. Choisissez le mode d'exposition sur le boîtier ("P”, “Tv”, “Av”, “M” ou “DEP”).
2. Sélectionnez le mode flash E-TTL ou la synchronisation rapide
3. Faites la mise au point sur le sujet
4. Placez le sujet à mémoriser au centre du viseur et appuyez sur le bouton FEL du boîtier.
◆ Le flash envoie un pré-éclair et calcule la puissance nécessaire du flash, qu'il mémorise ensuite.
◆ Le viseur de l'appareil affiche “FEL” pendant 0,5 sec. et l'exposition correcte est déterminée.
◆ Si le symbole clignote dans le viseur, cela signifie que le flash n'est pas assez puissant pour une
exposition correcte. Rapprochez-vous du sujet et reprenez depuis le point 3.
5. Prenez la photo après avoir recadré l'image. .
◆ Les modalités de la fonction FEL peuvent varier selon le boîtier utilisé. Nous vous conseillons de
vous reporter au mode d'emploi de votre appareil.
48
Оглавление
- 安全上のご注意
- 各部の名称(1 ページ)
- 発光部のセット
- ワイドパネルについて
- 連続撮影時のご注意
- 後幕シンクロ撮影
- モデリング発光
- マルチ発光撮影
- ワイヤレス撮影
- スレーブ発光
- 主要諸元
- PRECAUTIONS
- DESCRIPTION OF THE PARTS
- ADJUSTING THE FLASH HEAD
- WIDE PANEL
- LIMITS OF CONTINUOUS SHOOTING
- HIGH SPEED SYNC (FP) FLASH, A TYPE CAMERAS ONLY
- MODELING FLASH
- BOUNCE FLASH
- SLAVE FLASH
- SPECIFICATIONS
- VORSICHTSMAßNAHMEN
- BESCHREIBUNG DER TEILE
- EINSTELLEN DES BLITZKOPFES
- WEITWINKELSTREUSCHEIBE
- GRENZEN DER SERIENAUSLÖSUNG
- SYNCHRONISATION AUF DEN ZWEITEN VERSCHLUSSVORHANG
- BLITZBELICHTUNGSSPEICHERUNG (FE-LOCK)
- STROBOSKOPBETRIEB
- KABELLOSES BLITZEN
- „SLAVE“ GERÄT
- TECHNISCHE DATEN
- PRECAUTIONS
- DESCRIPTION DES ELEMENTS
- AJUSTEMENT DE LA TETE FLASH
- ELARGISSEUR D'ANGLE
- LIMITES DES PRISES DE VUE CONSECUTIVES AU FLASH
- SYNCHRONISATION GRANDE VITESSE (FP)
- FLASH PREDICTIF
- FLASH INDIRECT
- FLASH ESCLAVE
- CARACTERISTIQUES TECHNIQUES
- PRECAUCIONES
- DESCRIPCIÓN DE LAS PARTES
- AJUSTE DEL CABEZAL DEL FLASH
- PANTALLA ANGULAR
- LIMITACIONES DEL DISPARO CONTINUO
- BLOQUEO FE (sólo para cámaras de tipo B)
- LUZ DE MODELADO
- FLASH REFLEJADO
- CONTROL REMOTO DEL FLASH
- FLASH ESCLAVO
- ESPECIFICACIONES
- ATTENZIONE
- DESCRIZIONE DELLE PARTI
- REGOLAZIONE DELLA TESTA DEL FLASH
- ILLUMINAZIONE DEL DISPLAY LCD
- LIMITAZIONI QUANDO SI SCATTA IN SEQUENZA
- BLOCCO FE
- FB (Esposizione Bracketing del flash)
- FLASH TELECOMANDATO SENZA FILI (WIRELESS)
- FLASH SECONDARIO
- SPECIFICHE
- BEMÆRK
- BESKRIVELSE AF FLASHENS DELE
- JUSTERING AF FLASHHOVEDET
- ETTL (TTL) AUTO FLASH
- SYNKRONISERING MED ANDET LUKKERGARDIN
- FE LÅS
- MULTI-FLASH FUNKTION
- TRÅDLØS FLASH
- SLAVE-FLASH
- SPECIFIKATIONER
- VOORZORGSMAATREGELEN
- OMSCHRIJVING VAN DE ONDERDELEN
- HET AFSTELLEN VAN DE FLITSKOP
- GROOTHOEK ADAPTER
- MAXIMALE PRESTATIES BIJ CONTINU FOTOGRAFEREN.
- FP FLITS (High Speed Sync)
- FB MODE (Flash Exposure Bracketing)
- DRAADLOOS FLITSEN
- SLAVE FUNCTIE
- TECHNISCHE GEGEVENS:
- 注 意
- 相容相機型號
- 安裝閃光燈到相機及其解除
- 閃燈連發限制
- 第二簾幕閃燈同步
- 造型閃光燈
- 反射閃光
- 離機無線從屬(Slave)閃光模式
- 規 格
- 사용상 주의점
- 각부의 명칭
- 플래시 헤드 조정
- ETTL (TTL) 오토 플래시
- 후막 싱크로 촬영
- FE LOCK 촬영
- 멀티 플래시 모드
- 무선 플래시 촬영
- 슬레이브 플래시
- 제품 사양
- ПРЕДОСТОРОЖНОСТИ
- ОПИСАНИЕ СОСТАВНЫХ ЧАСТЕЙ
- НАСТРОЙКА ГОЛОВКИ ВСПЫШКИ
- ОСВЕЩЕНИЕ ЖК ПАНЕЛИ
- ОГРАНИЧЕНИЯ ДЛЯ НЕПРЕРЫВНОЙ СЪМКИ
- ВЫСОКОСКОРОСТНАЯ СИНХРОНИЗАЦИЯ ВСПЫШКИ,
- КОМПЕНСАЦИЯ ЭКСПОЗИЦИИ
- НАПРАВЛЕННОСТЬ ВСПЫШКИ
- ДОПОЛНИТЕЛЬНАЯ ВСПЫШКА
- ХАРАКТЕРИСТИКИ
- PRECAUÇÕES
- DESCRIÇÃO DOS COMPONENTES
- COMO AJUSTAR A CABEÇA DO FLASH
- ILUMINAÇÃO DO PAINEL LCD
- LIMITES DE DISPAROS CONTÍNUOS
- SINCRONIZAÇÃO DO FLASH A ALTA VELOCIDADE (FP),
- FB (Exposição Múltipla com Flash)
- FLASH INDIRECTO
- FLASH ESCRAVO
- ESPECIFICAÇÕES

