Jet Tools C30: 1. 5. 7.6.8. 2.3. 4.
1. 5. 7.6.8. 2.3. 4.: Jet Tools C30
–
9
–
5.1. HERRAMIENTAS - MONTAJE Y REGULACION ....................
5.1.1 Fresas- Montaje .....................................................................
5.1.2 Cuchillas-montaje ..................................................................
5.1.3 Sierra circular - montaje .........................................................
5.1.4 Sierra circular -regulación ......................................................
5.1.5 Brocas para mandril - montaje ..............................................
5.2. PLANOS A RAS - REGULACION ..........................................
5.3. CEPILLO DE ESPESOR - REGULACION ...............................
5.4. GUIA SIERRA E HILO - REGULACION .................................
5.5. GUÍAS TUPÍ - AJUSTE ...........................................................
5.6. HOUTFREESKAP VOOR VORMGEVEN - INSTELLINGEN ....
5.7. CAMBIO DE VELOCIDAD ÁRBOL TUPÍ ................................
6.1. TABLERO DE MANDOS .........................................................
6.1.1 FUNCIONES DE CONTROL ..................................................
6.1.2 ARRANQUE MAQUINA .........................................................
6.1.3 PARADA DE LA MAQUINA ....................................................
6.1.4 PARADA DE EMERGENCIA ...................................................
6.2. ACEPILLADURA CONTRA HILO ...........................................
6.2.1 PROTECCIÓN CEPILLO ........................................................
6.3. ACEPILLADURA DE REGRUESAR .......................................
6.4. SIERRA CIRCULAR ...............................................................
6.4.1 ELABORACIONES .................................................................
6.4.2 ELABORACIÓN CON GUÍA PARALELA ................................
6.4.3 USO CORRECTO DE LAS HOJAS CIRCULARES .................
6.5. TRABAJOS EN LA TUPÍ .........................................................
6.6. TRABAJOS CON LA RANURADORA ....................................
7.1. CORREAS TRAPEZOIDALES - SUSTITUCION Y TENSION ..
7.1.1 Correa de comando árbol cepillo ..........................................
7.1.2 Correas de transmisión sierra ................................................
7.1.3 Correa de comando árbol tupí...............................................
7.2. COMPROBACION DISPOSITIVOS DE SEGURIDAD .............
7.3. LIMPIEZA GENERAL .............................................................
7.4. LUBRICACION GENERAL .....................................................
7.5. SUSTITUCION Y ELIMINACION ............................................
8.1. POSIBLES INCONVENIENTES, CAUSAS, REMEDIOS .........
1.1. FINALIDAD DEL MANUAL ....................................................
1.2. IDENTIFICACION DEL FABRICANTE Y DE LA MAQUIN ......
1.3. NOTAS IMPORTANTES SOBRE LA ASISTENCIA .................
2.1. DESCRIPCION DE LA MAQUINA .........................................
2.2. CONDICIONES DE UTILIZACION PREVISTAS Y CONTRAINDI-
CACIONES ............................................................................
2.3. CARACTERISTICAS TECNICAS DIMENSIONES TOTALES ..
2.4. PUESTO DE TRABAJO ..........................................................
2.5. POLVOS EMITIDOS ...............................................................
2.6. NIVEL DE RUIDO ...................................................................
2.7. DISPOSITIVOS DE SEGURIDAD ...........................................
3.1. ADVERTENCIAS DE SEGURIDAD ........................................
3.2
RIESGOS RESIDUOS ............................................................
3.3. SEÑALES DE SEGURIDAD E INFORMACIÓN ......................
4.1. ELEVACION Y ESCARGA ......................................................
4.2. ZONA DE INSTALACION - CARACTERISTICAS ...................
4.3. INSTALACION DE LAS PARTES DESMONTADAS -
INTRODUCCION ...................................................................
4.3.1 Ruedas de desplazamiento - Montaje ...................................
4.3.2 Mesa Vagón - Montaje ...........................................................
4.3.3. Mesa de escuadrado - Instalación ........................................
4.3.4 Bastidor de escuadrado - Instalación ..................................
4.3.5 Regla para escuadrar - Instalación ......................................
4.3.6 Mesa por espigar y Protección - instalacion ........................
4.3.7 Guía a ras y sierra - Instalación .............................................
4.3.8 Protecciones - Instalación .....................................................
4.3.9 Mortajadora -Instalacion ........................................................
4.4. CONEXION ELECTRICA ........................................................
4.5. ASPIRACION DE VIRUTAS ....................................................
1. 5. 7. 6. 8. 2. 3. 4.
INDICE
ESPAÑOL
INFORMACIONES GENERALES
NORMAS PARA LA PUESTA A PUNTO
ESPECIFICACIONES TECNICAS
INSTALACION
PRECAUCIONES DE SEGURIDAD
(MEDIDAS PARA UN TRABAJO SEGURO)
NORMAS DE FUNCIONAMIENTO
EXIGENCIAS PARA EL MANTENIMIENTO
GUIA PARA BUSCAR LAS AVERIAS
11
13
15
17
19
21
29
29
29
35
37
45
47
49
59
53
53
55
55
57
59
61
63
63
67
69
73
77
77
79
85
87
87
87
89
91
93
97
99
101
101
103
103
103
103
107
109
113
113
115
119
121
133
137
139
139
139
141
141
141
143
145
1.
INFORMAZIONI GENERALI • GENERAL INFORMATION
ENGLISH
ITALIANO
-
10
-
Carefully consult this manual
before doing any adjustment or
maintenance services.
1.1. PURPOSE OF THIS
MANUAL
This manual has been drawn up by
the manufacturer and is enclosed
with the machine
(1)
.
The information contained is in-
tended for skilled operators
(2)
.
This manual defi nes the purpose
for which the machine has been
manufactured and contains all the
necessary information for safe,
correct use.
Constant observance of the in-
structions contained in this manual
increases the level of safety of the
operator and the machine, guaran-
teeing a longer operating life.
To facilitate its reading, it has been
divided into sections pointing out
the most important operations. For
a quick research of the topics, it
is recommended to consult the
index.
To better stress the importance
of some basic passages, they
have been written in heavy type
and marked by some preceding
symbols:
Indicates
imminent risks which may cause
serious injury to the operator or
other persons. Be careful and scru-
pulously follow the instructions.
A statement
advising of the need to take care
lest serious consequences result
in harm to material items such as
the asset or the product.
(1)
La defi nizione macchina, sostituisce la deno-
minazione commerciale a cui fa riferimento il
manuale in oggetto (vedi copertina).
(2)
Sono le persone in possesso di esperienza,
preparazione tecnica, conoscenza normativa
e legislativa, in grado di svolgere le attività ne-
cessarie ed in grado di riconoscere ed evitare
possibili pericoli nell'eseguire la movimentazione,
l'installazione, l'uso e la manutenzione della
macchina.
(1)
The word “machine” replaces the commercial
denomination which this manual refers to (see
the cover).
(2)
Only experienced people having the proper
technical ability and knowledge of the regulations
and laws will be able to carry out the necessary
operations and to identify and avoid possible
damages during handling, installation, operation
and maintenance of the machine.
Consultare attentamente questo
manuale prima di procedere
a qualsiasi intervento sulla
macchina.
1.1. SCOPO DEL MANUALE
Questo manuale è stato redatto
dal Costruttore e costituisce par-
te integrante del corredo della
macchina
(1)
.
Le informazioni contenute sono
dirette a personale qualifi cato
(2)
.
Il manuale defi nisce lo scopo per
cui la macchina è stata costruita
e contiene tutte le informazioni
necessarie per garantirne un uso
sicuro e corretto.
La costante osservanza delle indi-
cazioni in esso contenute aumenta
il livello di sicurezza dell’uomo e
della macchina, garantendo una
più lunga durata di funzionamento
della macchina stessa.
Per facilitarne la consultazione,
esso è stato suddiviso in sezioni
che ne identificano i concetti
principali; per una ricerca rapida
degli argomenti consultare l'indice
descrittivo.
I testi da non trascurare, sono stati
evidenziati in grassetto e precedu-
ti da simboli quì di seguito illustrati
e defi niti.
I n d i c a
pericoli imminenti che potrebbero
provocare gravi lesioni all'operato-
re o ad altre persone; è necessario
prestare attenzione e seguire scru-
polosamente le indicazioni.
Indica che è
nesessario prestare attenzione al
fi ne di non incorrere in serie conse-
guenze che potrebbero portare al
danneggiamento di beni materiali,
quali le risorse o il prodotto.
-
11
-
1.
ESPAÑOL
FRANÇAIS
РУССКИЙ
ОБЩАЯ ИНФОРМАЦИЯ
• INFORMATIONS GENERALES
INFORMACIONES GENERALES
(1) Термин „станок” заменяет коммерческое
наименование станка, к которому относится
настоящее руководство (см. обложку).
(2) Лица, обладающие необходимым опытом,
технической подготовкой, знанием норм и
правил, способные безопасно выполнять все
необходимые действия по перемещению,
установке, эксплуатации и обслуживанию
станка.
(1)
La défi nition “machine” remplace celle commer-
ciale à laquelle on fait référence dans ce manuel
(voir couverture).
(2)
Sont des personnes entraînées et avec une prépa-
ration technique, ainsi qu’une connaissance des
normes et des lois à même d’accomplir les opérations
nécessaires, de connaître et donc d’éviter de pos-
sibles danger pendant la manutention, l’installation,
l’emploi et l’entretien de la machine même.
(1)
La defi nición “máquina” sustituye la denominación
comercial a la cual hace referencia este manual (ver
la cubierta).
(2)
Son las personas que poseen la experiencia, pre-
paración técnica, conocimiento de las normas y leyes,
que pueden efectuar las actividades necesarias y que
pueden reconocer y evitar posibles peligros durante
las operaciones de maniobra, instalación, uso y man-
tenimiento de la máquina.
Перед началом любых работ над
станком внимательно прочтите это
руководство.
1.1. НАЗНАЧЕНИЕ
РУКОВОДСТВА
Д а н н о е р у к о в о д с т в о б ы л о
с о с та вл е н о И з гото в и тел е м и
является неотъемлемой частью
станка(1).
С о д е р ж а щ а я с я
в
н е м
и н ф о р м а ц и я п р е д н а з н а ч е н а
квалифицированному персоналу (2).
В ру к о вод с т ве о п р ед ел я етс я
назначение станка и дается полная
информация, необходимая для
обеспечения его правильной и
безопасной эксплуатации.
П о с т о я н н о е с о б л ю д е н и е
с одержащихся в рук оводстве
инструкций повышает безопасность
оператора и позволяет обеспечить
более долгую службу станка.
Для удобства чтения руководство
п о д р а з д ел я ет с я н а р а з д ел ы
в с о от ветс т в и и с о с н о в н ы м и
обсуждаемыми вопросами. Для
ускорения поиска информации
р е к о м е н д у ет с я п ол ь з о в ат ь с я
оглавлением.
Особо важные фрагменты текста
выделяются жирным шрифтом и
предваряются представленными
ниже значками.
У к аз ы ва е т
н а н а л и ч и е п о т е н ц и а л ь н ы х
опасностей, которые могут
стать причиной серьезных травм
оператора и других людей. Будьте
осторожны и точно следуйте
инструкциям!
Ук аз ы ва ет
н а н е о бхо д и м о с т ь пр и ня т ия
м е р п р е д о с т о р ож н о с т и д л я
п р ед о т в р а щ е н и я с е р ь ез н о го
материального ущерба.
Lire ce manuel avec attention avant
d’effectuer n’importe quelle opération
sur la machine.
1.1. BUT DU MANUEL
Ce manuel a été rédigé par la mai-
son constructrice et fait partie inté-
grante des pièces livrées avec la
machine
(1)
.
L e s re n s e i g n e m e n t s y c o n t e -
nus s’adressent à du personnel
qualifi é
(2)
.
Ce manuel indique le but pour lequel
cette machine a été construite et
donne tous les renseignements né-
cessaires pour que son emploi soit
sûr et correct.
Le respect scrupuleux des normes
y contenues garantit la sécurité de
l’utilisateur et de la machine et permet
d’obtenir une certaine économie de
service et une plus longue durée de
vie de la machine.
Pour en faciliter la consultation, ce
manuel a été divisé en sections, iden-
tifi ant les sujets principaux. Pour une
localisation rapide des sujets consulter
l’index.
Pour mettre en évidence les parties du
texte à ne pas oublier, on les a mises
en gras et précédées par les symboles
montrés et défi nis ci de suite.
Signale des dan-
gers imminents qui pourraient blesser
gravement l’ouvrier ou à d’autres per-
sonnes. Il faut faire attention et suivre
scrupuleusement les indications.
Indique qu’il
est nécessaire de faire la plus grande
attention afi n de ne pas courir des
risques pouvant entraîner de graves
conséquences, ainsi que l’endomma-
gement des biens matériels, tels que
les ressources ou le produit.
Consultar detenidamente este
manual antes de efectuar cualquier
intervención en la máquina.
1.1. FINALIDAD DEL
MANUAL
Este manual ha sido redactado por
el fabricante y representa parte inte-
grante de la máquina
(1)
.
Las informaciones contenidas están
dirigidas a personal cualifi cado
(2)
.
Este manual defi ne la fi nalidad para
la cual se ha construido esa máquina
y contiene todas las informaciones
necesarias para garantizar un uso
seguro y correcto.
La constante observancia de las nor-
mas contenidas en el manual garan-
tiza la seguridad de los operadores y
de la máquina, la economía de trabajo
y una duración de funcionamiento de
la máquina misma más larga.
Para facilitar la lectura, el manual
ha sido dividido en secciones que
subrayan los conceptos principales.
Para una búsqueda rápida de los
varios asuntos, se aconseja consultar
el índice.
Con el fi n de poner en mayor evidencia
los pasajes más importantes, ellos han
sido escritos en letra negrita y están ca-
racterizados por algunos símbolos que
se ilustran y explican a continuación:
Indica peligros in-
minentes que podrían provocar graves
lesiones al operador o a otras personas;
es necesario prestar atención y seguir
escrupulosamente las indicaciones.
Indica que es
necesario tener cuidado con el fi n de
no acarrear consecuencias graves
que podrían causar el daño de bienes
materiales, tales como los recursos o
el producto.
ВНИМАНИЕ
ОПАСНОСТЬ
1.
INFORMAZIONI GENERALI • GENERAL INFORMATION
ENGLISH
ITALIANO
-
12
-
Indicazioni
di particolare importanza.
1.2. IDENTIFICAZIONE CO-
STRUTTORE E
MACCHINA
La targa di identifi cazione (fi g.1) è
fi ssata sul basamento della mac-
china e riporta i seguenti dati:
A -
Identifi cazione del costrutto-
re
B -
Marchio commerciale
C
- Tipo macchina
D
- Anno di produzione
E
- Numero di serie
F
- Peso in kilogrammi
G
- Tensione nominale in volt
H
- Numero fasi (corrente alter-
nata)
I
- Corrente nominale in ampe-
re
L
- Frequenza elettrica in hertz
M
- Potere di interruzione di corto
circuito del dispositivo di pro-
tezione in kiloampere
N
- Numero schema elettrico
O
- Modello macchina
P
- Composizione macchina
Q
- Riferimento interno
R
-
Designazione
Questi dati devono essere sempre
precisati al costruttore per
informazioni, richieste ricambi,
ecc.
Important
information.
1.2. MANUFACTURER AND
MACHINE IDENTIFICA-
TION
The identifi cation plate (fi g. 1) is
fi xed to the base of the machine
and carries the following data:
A -
Manufacturer
B -
Merchandise mark
C
- Machine type
D
- Production year
E
- Serial number
F
- Weight (kg)
G
- Rated voltage (volt)
H
- Phases number (alternate
current)
I
- Rated current (ampere)
L
- Frequency (hertz)
M
- Short circuit breaking capacity
of the protective device (kA)
N
- Wiring diagram number
O
- Machine model
P
- Machine version
Q
- Internal references
R
– Designation
Always specify this data to the
manufacturer for any information,
request of spare parts, etc.
REF.
YEAR
MARCA
MAKE
TYPE
TIPO
ANNO
Kg
MODELLO
U
I
w.d.
V
kA
I
A
F
Hz
n
cc
n
COMP.
SCM INDUSTRIA S.p.A.
Via Valdicella, n°7
47892 Gualdicciolo - Repubblica San Marino
DESIGNAZIONE
DESIGNATION
MODEL
SERIAL N°
B
C
E
G
M
O
P
A
I
H
N
D
F
L
Q
1
027_069_0.tif
R
-
13
-
1.
ESPAÑOL
FRANÇAIS
РУССКИЙ
ОБЩАЯ ИНФОРМАЦИЯ
• INFORMATIONS GENERALES
INFORMACIONES GENERALES
В а ж н а я
информация.
1.2. ИДЕНТИФИКАЦИЯ
ИЗГОТОВИТЕЛЯ И
СТАНКА
Идентификационная табличка
(рис. 1) закреплена на станине
станка и несет следующую
информацию:
A - Изготовитель
B - Торговая марка
C - Тип станка
D - Год выпуска
E - Серийный номер
F - Масса (кг)
G - Номинальное напряжение (В)
H - Число фаз переменного тока
I - Номинальный ток (А)
L - Частота (Гц)
M - Отключающая способность
устройства защиты от короткого
замыкания (кА)
N - Номер электросхемы
O - Модель станка
P - Компоновка станка
Q - Отметк а для внутреннего
пользования
R - Обозначение
Эти данные должны сообщаться
изготовителю всякий раз при
обращении за информацией, заказе
запчастей и т.п.
Indica-tions
d’importance particulière.
1.2. IDENTIFICATION DU FABRI-
CANT ET DE LA MACHINE
La plaque signalétique (fi g. 1) est fi xée
sur le socle de la machine et contient
les informations suivantes:
A
- Identifi cation du fabricant
B
- Marque commerciale
C
- Type machine
D
- Année de production
E
- Numéro de matricule
F
- Poids en kilogrammes
G
- Tension nominale en volt
H
- Nombre phases (courant alterna-
tif)
I
- Courant nominal en ampères
L
- Fréquence électrique en Hertz
M
- Pouvoir d’interruption de court
circuit du dispositif de protection
en kiloampères
N
- Numéro schéma électrique
O
- Modèle machine
P
- Composition machine
Q
- Référence interne
R
– Designation
Ces renseignements doivent toujours
être fournis au fabricant pour toute
demande d’informations et de pièces
détachées, etc.
I n d i c a -
ciones de importancia relevante.
1.2. IDENTIFICACION DEL FA-
BRICANTE Y DE LA MA-
QUIN (fi g. 1)
La placa de identifi cación (fi g. 1) está
en la base de la máquina y en ella se
encuentran los datos siguientes:
A -
Identifi cación del fabricante
B -
Marca comercial
C
- Tipo maquina
D
- Año de producción
E
- Numero de serie
F
- Peso en kilogramos
G
- Tensión nominal en volt
H
- Numero fases (corriente alterna-
da)
I
- Corriente nominal en ampere
L
- Frecuencia electrica en hertz
M
- Poder de interrupción de corto
circuito del dispositivo de pro-
tección in kiloamper
N
- Numero esquema electrico
O
- Modelo máquina
P
- Composición máquina
Q
- Referencia interna
R
– Designation
Es necesario detallar siempre
estos datos al fabricante en caso
de informes, pedido de repuestos,
etc.
ИНФОРМАЦИЯ
ИНФОРМАЦИЯ
1.
INFORMAZIONI GENERALI • GENERAL INFORMATION
ENGLISH
ITALIANO
-
14
-
1.3. RACCOMANDAZIONI
PER L’ASSISTENZA
Nel redigere questo libretto ab-
biamo preso in considerazione
tutte le operazioni che rientrano
nella consuetudine della normale
manutenzione.
Raccomandiamo di non eseguire
alcuna riparazione o intervento
non indicati in questo manuale.
Tutte quelle operazioni che richie-
dono smontaggio di parti, vanno
affidate al personale tecnico
autorizzato.
Per l’impiego corretto della mac-
china seguire le istruzioni di que-
sto manuale.
Solo personale addestrato
ed autorizzato può usare la
macchina ed eseguire operazioni
di manutenzione, dopo aver letto
questo manuale.
Osservare le norme
antinfortunistiche, le regole
di sicurezza generale e della
medicina del lavoro.
Per informazioni riguardanti spe-
cifi catamente l’impianto elettrico
fornire i dati riportati sulla targhetta
di fi g. 2 situata nella parte interna
dello sportello di accesso al vano
elettrico.
Legenda (fi g. 2)
A
- Ditta che ha eseguito l’impian-
to elettrico.
B
- Data di costruzione della cen-
tralina elettrica.
C
- Numero distinta componenti
elettrici.
D
- Numero schema elettrico.
E
- Tensione di rete alimentazione
macchina (V).
F
- Tensione di alimentazione
circuiti ausiliari (V).
G
- Tensione di alimentazione
freno motore (V).
H
- Frequenza elettrica in Hz.
I
- Potenza assorbita dalla mac-
china.
L
- Tipo macchina.
1.3. CUSTOMER SERVICE
RECOMMENDATIONS
Any operation concerning routi-
ne maintenance has been taken
into account while compiling this
manual.
Never carry out any repair or
operations which have not been
mentioned in this manual. Apply
to skilled and authorized technical
staff to carry out any operation de-
aling with parts disassembly.
Keep to the instructions contained
in this manual for the correct use
of the machine.
Only skilled and authorized staff
shall use and service the machine
after reading this manual.
Respect the accident-prevention
regulations and the general safety
and industrial medicine rules.
As for information concerning the
electric system, detail the data
indicated on the plate of fi g. 2,
located inside the electric system
access door.
Legend (fi g. 2)
A
- Firm which carried out the
electric system
B
- Electric control unit manufac-
turing date.
C
- Electrical components bill
number.
D
- Wiring diagram number.
E
- Machine supply voltage (V).
F
- Auxiliary circuits supply
voltage (V).
G
- Motor brake supply voltage
(V).
H
- Electric frequency in Hz.
I
- Power absorbed from the
machine.
L
- Machine type.
A
B
C
D
I
L
E
F
G
H
2
009_064_0.tif
-
15
-
1.
ESPAÑOL
FRANÇAIS
РУССКИЙ
ОБЩАЯ ИНФОРМАЦИЯ
• INFORMATIONS GENERALES
INFORMACIONES GENERALES
1.3. РЕКОМЕНДАЦИИ ПО
ОБРАЩЕНИЮ В СЕРВИС
В данное рук оводство были
включены все процедуры текущего
технического обслуживания станка.
Не рекомендуется выполнять
ремонт станка и иные операции,
н е о п и с а н н ы е в н а с то я ще м
ру к о вод с т ве . В с е о п е р а ц и и ,
требующие демонтажа частей
с т а н к а , д ол ж н ы п о р у ч ат ь с я
авторизованному техническому
персоналу.
Для обеспечения правильной
эксплуатации станка необходимо
п р и д е рж и ват ь с я и н с т ру к ц и й ,
представленных в настоящем
руководстве.
До работы на станке и его
технического обслуживания
допускается опытный персонал,
ознакомившийся с содержанием
настоящего руководства.
Соблюдать законодательство
в области охраны труда, общие
правила техники безопасности и
санитарные нормы рабочего места.
И н ф о р м а ц и я
о б
элек трооборудовании станк а
представлена на табличке рис.
2, расположенной на внутренней
стороне дверцы электрощита.
Пояснение (рис. 2)
A -
Ф и р м а - и з г о т о в и т е л ь
блока электроавтоматики станка.
B -
Д а т а в ы п ус к а бл о к а
электроавтоматики.
C -
Н о м е р
с п и с к а
электрических компонентов.
D -
Номер электросхемы.
E -
Н а п ря же н и е п и т а н и я
станка (В).
F -
Н а п ря же н и е п и т а н и я
вспомогательных цепей (В).
G -
Н а п ря же н и е п и т а н и я
тормоза электродвигателя (В).
H -
Частота напряжения (Гц).
I -
Мощность, потребляемая
станком.
L -
Тип станка.
1.3. RECOMMANDATIONS POUR
L’ASSISTANCE
Dans la rédaction de ce livret, on
a pris en considération toutes les
opérations faisant partie de l’entretien
de routine.
Il est donc recommandé de n’effectuer
aucune réparation ni opération non-
indiquées dans ce manuel. Toutes les
opérations demandant le démontage
des parties, doivent être effectuées par
du personnel technique autorisé.
Pour l’emploi correct de la machine,
suivre attentivement les instructions
données dans le présent livret.
Cette machine ne peut être utilisée
ni entretenue que par du personnel
spécialisé et autorisé, après avoir lu ce
manuel.
Respecter les normes contre les
accidents, les consignes générales de
sécurité et de la médecine du travail.
Pour les informations concernant
notamment l’installation électrique,
fournir les données sur la plaquette
en fi g. 2, située à l’intérieur de la porte
d’accès à l’armoire électrique.
Legende (fi g. 2)
A
- Entreprise qui a effectué l’instal-
lation électrique.
B
- Date de fabrication du coffret
électrique.
C
- N. de liste des composants élec-
triques.
D
- N. de schéma de câblage.
E
- Tension secteur pour l’alimenta-
tion de la machine (V).
F
- Tension d’alimentation circuits
auxiliaires (V).
G
- Tension d’alimentation frein mo-
teur (V).
H
- Fréquence électrique en Hz.
I
- Puissance absorbée.
L
- Modèle de machine
1.3. NOTAS IMPORTANTES SO-
BRE LA ASISTENCIA
Durante la redacción de este manual
se han tomado en cuenta todas la
operaciones relativas al manteni-
miento rutinario.
Se recomienda no efectuar cualquier
reparación o operación no mencio-
nada en este manual. Solamente el
personal técnico autorizado podrá
cuidar todas las operaciones relativas
al desmontaje de las piezas.
Para un uso correcto de la máquina,
atenerse a las instrucciones indica-
das en este manual.
Solamente el personal autorizado
y que tenga la formación adecuada
puede usar la máquina y prestar el
servicio de mantenimiento, después
de haber leido este manual.
Observar las normas de prevención
de accidentes, las reglas de
seguridad general y las de la
medicina del trabajo.
Para todos los informes relativos a
la instalación eléctrica, detallar los
datos indicados sobre la placa (fi g.
2) puesta en la parte interior del
portillo de acceso a los componentes
eléctricos.
Leyenda (fi g. 2)
A
. Empresa que ha efectuado la
instalación eléctrica.
B
Fecha de fabricación de la caja
de mandos eléctricos.
C
Número lista componentes eléc-
tricos.
D
Número del diagrama de co-
nexiones.
E
Tensión de alimentación máquina
(V).
F
Tensión de alimentación circuitos
auxiliares (V).
G
Tensión de alimentación freno
motor (V).
H
Frecuencia eléctrica in Hz.
I
Potencia absorbida por la máqui-
na.
L
Tipo de máquina.
ИНФОРМАЦИЯ
– 16 –
SPECIFICHE TECNICHE • SPECIFICATIONS
ENGLISH
ITALIANO
2.
040_007_2 .tif
1
O
A
M
F
H
S
R
L
D
E
N
Q
O
G
U
P
L
T
C
2
B
040_071_1 .tif
V
2.1. DESCRIPTION OF THE
MACHINE (fi g. 1)
The machine
is a universal com-
bined 6-working cycle machine.
The saw blade tilting, makes any
kind of machining practicaland
easy.
A squaring frame can be fi tted on
request.
Main components:
A
- Surfacing tables
B
- Thicknessing tables (fi g. 2)
C
- Slotter
D
-
Surface fence and saw
E
-
Saw assembly
F
-
Moulder unit
G
- Square up frame
H
-
Wagon-type aluminium slide
L
- Guide for squaring
M
- Presser
N
- Control board
O
- Wood thrust
P
- Squaring table
Q
- Router lifting
R
- Saw inclination
S
- Saw lifting
T
- Saw inclination lock
U
- Spindle raise lock
V
- Saw lifting lock
2.1. DESCRIZIONE DELLA
MACCHINA (fi g. 1)
La macchina è una combinata
universale a 6 lavorazioni.
L' inclinazione della lama sega
rende pratico e facile qualunque
tipo di lavoro.
Su richiesta puo' essere dotata di
telaio di squadro.
Organi principali:
A
- Pialla a fi lo
B
- Pialla a spessore (fi g. 2)
C
- Cavatrice
D
- Guida fi lo e sega
E
- Gruppo sega
F
- Gruppo toupie
G
- Telaio di squadro
H
- Carro vagone in alluminio
L
- Guida per squadrare
M
- Pressore
N
- Quadro comandi
O
- Spingilegno
P
- Pianetto di squadro
Q
- Sollevamento toupie
R
- Inclinazione sega
S
- Sollevamento sega
T
- Bloccaggio inclinazione sega
U
- Bloccaggio sollevamento tou-
pie
V
- Bloccaggio sollevamento sega
– 17 –
ESPAÑOL
FRANÇAIS
РУССКИЙ
ТЕХНИЧЕСКИЕ ХАРАКТЕРИСТИКИ • IN
FORMATIONS GENERALES
INFORMACIONES GENERALES
2.
2.1. DESCRIPCION DE LA
MAQUINA (fi g. 1)
La máquina es una combinada
universal con 6 ciclos de trabajo.
La inclinación de la hoja sierra
hace cualquier tipo de trabajo
práctico y fácil.
A petición puede estar equipada
con bastidor de escuadrado.
Organos principales:
A
- Cepillo a ras
B
- Cepillo de espesor (fi g. 2)
C
- Ranuradora
D
- Guía hilo y sierra
E
- Grupo sierra
F
- Grupo tupí
G
- Bastidor en ángulo recto
H
- Carro-vagón aluminio
L
- Guía para escuadrar
M
- Prensador
N
- Tablero de mandos
O
- Elemento de empuje
P
- Mesa de escuadrado
Q
- Elevación de buriladora
R
- Inclinación sierra
S
- Elevación sierra
T
- Bloqueo inclinación sierra
U
- Bloqueo levantamiento toupie
V
- Bloqueo de la elevación sierra
2.1.
ОПИСАНИЕ СТАНКА
(рис. 1)
Настоящее руководство относится к
универсальному комбинированному
станк у, предназначенном у для
в ы п ол н е н и я ш е с т и р азл и ч н ы х
операций.
Возможность наклона пильного
суппорта делает станок практичным
и удобным для выполнения любой
работы.
По требованию заказчика станок
может быть оснащен форматной
рамой.
Основные органы:
A -
Фуговальный узел
B -
Рейсмусовый узел (рис. 2)
C -
Пазовальный узел
D -
Н а п р а в л я ю щ а я л и н е й к а
фуговального и пильного узлов
E -
Пильный узел
F -
Фрезерный узел
G -
Опорная рама каретки
H -
Алюминиевая каретка
L -
Л и н е й к а д л я в ы п о л н е н и я
поперечных распилов
M -
Прижим
N -
Пульт управления
O -
Толкатель
P -
Стол для поперечного раскроя
Q -
Регулировка высоты фрезерного
шпинделя
R -
Регулировка угла наклона пилы
S -
Регулировка высоты пилы
T -
Ф и к с а ц и я н а к л о н а п и л ь н о го
суппорта
U -
Фиксация высоты фрезерного
шпинделя
V -
Фик сация выс оты пильного
суппорта
2.1. DESCRIPTION DE LA
MACHINE (fi g. 1)
La machine est une machine combi-
née universelle à 6 usinages.
L’inclinaison de la lame scie rendent
pratique et facilen’import quel type
d’usinage.
Sur demande, peut être équipé d'un
cadre d'équerrage.
Organes principaux:
A -
Dégauchisseuse
B -
Raboteuse (fi g. 2)
C -
Mortaiseuse
D
-
Glissière fi l et scie
E
-
Ensemble scie
F
-
Groupe toupie
G
- Bâti d’équerre
H -
Chariot extractible en aluminium
L
- Guide pour équarrir
M -
Presseur
N
- Tableau de commande
O
- Pousse-bois
P
- Tablette d'équerrage
Q
- Soulèvement toupie
R
- Inclinaison scie
S
- Montée scie
T
- Blocage inclinaison scie
U
- Blocage élévation toupie
V
- Blocage élévation scie
– 18 –
SPECIFICHE TECNICHE • SPECIFICATIONS
ENGLISH
ITALIANO
2.
2.2. CONDIZIONI PREVISTE
D’UTILIZZO E CON-
TROINDICAZIONI
Questa macchina é stata progetta-
ta per tagliare, squadrare, fresare,
tenonare, forare e piallare il legno
massello, i pannelli di fi bra, i tru-
ciolari, i compensati e paniforte
rivestiti e non.
I materiali diversi da quelli citati
qui sopra non essendo assimilati
al legno sono di conseguenza
vietati
; i danni provocati da una
loro lavorazione vedrebbero come
unico responsabile l’utilizzatore.
La macchina è stata progettata
per impiegare esclusivamente
utensili conformi alla norma
EN
847-1
, adatti per il tipo di materiale
usato;gli utensili toupie devono
essere tassativamente del tipo per
l'avanzamento manuale (marcati
MAN
).
Collegare sempre la macchina
all’impianto di aspirazione che
deve essere suffi cientemente di-
mensionato (vedi cap.4).
E' vietato l'utilizzo della macchina
senza aver installato correttamen-
te le protezioni.
La lavorazione di sagomatura
all'albero toupie comporta innume-
revoli rischi ed è vietata a persone
non adeguatamente addestrate; è
comunque vietata questa lavora-
zione senza l'utilizzo della specifi -
ca protezione.
E' vietato l'utilizzo di un trascina-
tore in quanto la macchina non è
predisposta elettricamente.
Seguire scrupolosamente le pre-
cauzioni per la sicurezza indicate
nel capitolo 3.
E' vietato eseguire modifi che alla
macchina; l'esecuzione di modifi -
che, fa decadere la Dichiarazione
di Conformità della macchina.
Per i danni che ne derivano
da un uso improprio l’unico
responsabile è l’utilizzatore.
2.2. OPERATING CONDI-
TIONS AND CONTRARY
DIRECTIONS
This machine has been designed
for cutting, squaring, milling, te-
noning, drilling and thicknessing
solid wood, fi ber boards, chipboard
panels, ply-wood and laminboard,
coated and non-coated.
Materials different from those quoted
above, since dissimilar to wood,
are thus
prohibited
: the user is
solely responsible for any dam-
age caused by machining such
materials.
The machine has been designed
to be used exclusively with tools
which comply with
EN 8471
, suit-
able for the type of material ma-
chined. The spindle moulder tools
must be of the manual feed type
(marked
MAN
).
Always connect the machine to a
suffi ciently dimensioned suction
system (see Chapter 4).
It is prohibited to use the machine
without having properly installed
the protections.
Moulding using a spindle moulder
can be very risky and is forbidden
to personnel who are not adequa-
tely trained. It is totally forbidden to
operate a spindle moulder without
using specifi c safety protection.
Use of a driver is prohibited since
the machine is not electrically set up.
Scrupulously follow the precau-
tions for safety indicated in Chapter
3.
It is prohibited to make any modifi -
cations to the machine. If modifi ca-
tions are made, the Declaration of
Conformity is forfeited.
For damages deriving from
improper use the user is solely
responsible.
– 19 –
ESPAÑOL
FRANÇAIS
РУССКИЙ
ТЕХНИЧЕСКИЕ ХАРАКТЕРИСТИКИ • IN
FORMATIONS GENERALES
INFORMACIONES GENERALES
2.
2.2. CONDICIONES DE UTI-
LIZACION PREVISTAS Y
CONTRAINDICACIONES
Esta máquina ha sido proyectada
para cortar, escuadrar, fresar,
ejecutar ensambles de espiga y
caja, taladrar y cepillar duramen,
paneles de fi bra, tableros rege-
nerados, madera contrachapada
y tableros enlistonados con o sin
revestimiento.
Los materiales no mencionados
anteriormente, no siendo símiles a
la madera,
están prohibidos
para
su elaboración con la máquina; el
usuario es el único responsable
de los daños provocados por su
elaboración.
La máquina ha sido proyectada
para el uso exclusivo de herrami-
entas conformes a la norma
EN
847-1,
aptas para el tipo de mate-
rial elaborado y para el avance
manual; las herramientas tupí
deben ser obligatoriamente del tipo
para el avance manual (marcados
con la sigla
MAN
).
Conectar siempre la máquina al
equipo de aspiración, que debe
ser de las dimensiones sufi cientes
(véase cap.4).
Está prohibido el uso de la máquina
sin haber instalado correctamente
las protecciones.
El trabajo de perfi lado del eje tupí
conlleva innumerables riesgos y
está prohibido a las personas que
no hayan recibido la formación
adecuada; de todas maneras se
prohíbe efectuar este trabajo sin
utilizar la específi ca protección.
Está prohibida la utilización de un
arrastrador ya que la máquina no
está predispuesta eléctricamente.
Seguir escrupulo-samente las pre-
cauciones de seguridad indicadas
en el capítulo 3.
Se prohibe aportar modifi caciones
a la máquina; la realización de
modifi caciones provoca la cadu-
cidad de la Declaración de Con-
formidad de la máquina.
El usuario es el único responsable
de los daños provocados por un
uso inapropiado de la máquina.
2.2. ТРЕБОВАНИЯ К
ПРИМЕНЕНИЮ И
ЗАПРЕЩЕННЫЕ
СПОСОБЫ
ИСПОЛЬЗОВАНИЯ
Р а с с м а т р и в а е м ы й с т а н о к
предназначен для распиловки,
форматного раскроя, фрезерования,
нарезки шипов, сверления отверстий
и строгания деталей из массива
древесины, ДВП, ДСП, фанеры
и столярного щита, в том числе с
облицованными поверхностями.
Обработка на станке материалов
отличных от перечисленных выше
и отличающихся по составу от
д р е в е с и н ы з а п р е щ е н а . В с я
о т в е т с т в е н н о с т ь з а у щ е р б ,
причиненный вследствие обработки
таких материалов, ложится на
владельца станка.
На станке должен использоваться
р е ж у щ и й
и н с т р у м е н т ,
соответствующий стандарту EN
847-1 и подходящий для типа
о б р а бат ы в а е м о го м ат е р и а л а .
Фрезерный инструмент должен
принадлежать к типу инструмента для
станков с ручной подачей (маркировка
MAN).
Станок должен быть подсоединен
к системе аспирации надлежащей
производительности (см. главу 4).
Запрещается работать на станке
без ус та н о вл е н н ы х з а щ и т н ы х
ограждений.
Криволинейное фрезерование по
шаблону является потенциально
опасной операцией, и поэтому ее
выполнение запрещается лицам
без достаточных навыков. При
выполнении данной операции
должно использоваться специальное
защитное ограждение.
З а п р е щ а е т с я
п р и м е н я т ь
автоподатчик, так как станок не имеет
соответствующей электрической
подготовки.
Н е о б х о д и м о
т щ а т е л ь н о
придерживаться всех инструкций
п о т е х н и к е б е з о п а с н о с т и ,
представленных в главе 3.
Запрещается вносить изменения
в конструкцию станка. Внесение
изменений в конструкцию делает
недействительной Декларацию
соответствия станка.
Вся ответственность за ущерб,
причиненный вследствие
ненадлежащего использования
станка, ложится на его
владельца.
2.2. CONDITIONS PREVUES
D’EMPLOI ET CONTRE-
INDICATIONS
Cette machine a été conçue pour
couper et équarrir le bois massif, les
panneaux de fi bres, les panneaux
agglomérés de copeaux, les contre-
plaqués, les panneaux lamellés avec
ou sans revêtement.
Des matériaux différents de ceux
énumérés ci-dessus, ne peuvent être
assimilés au bois et sont donc
inter-
dits
; les détériorations causées par
leur usinage seraient entièrement à
la charge de l’u tilisateur.
La machine a été conçue pour
utiliser exclusivement des outils
conformes à la norme
EN 847-1
,
adaptés pour le type de matériau
utilisé; les outils toupie doivent
être obligatoirement de type pour
l'avance manuelle (marqués
MAN
).
Il faut toujours connecter la machine
à l’installation d’aspiration qui doit
être suffi samment dimensionnée
(voir chap.4).
Il est interdit d’utiliser la machine si
les protections ne sont pas instal-
lées correctement.
Le calibrage de forme sur l’arbre
toupie est un usinage qui comporte
de nombreux risques et qui est inter-
dit aux personnes non correctement
formées; il est également interdit
sans l’utilisation d’une protection
spécifi que.
Il est interdit d’utiliser un système
d’entraînement lorsque la machine
n’est pas préparée électriquement.
Respecter scrupuleusement les
consignes de sécurité fi gurant au
chapitre 3.
Il est interdit d’effectuer des modifi ca-
tions sur la machine; l’exécution de
modifi cations, annule la Déclaration
de Conformité de la machine.
Pour les dommages découlant
d’une mauvaise utilisation, seul
l’utilisateur est responsable.
ВНИМАНИЕ
– 20 –
SPECIFICHE TECNICHE • SPECIFICATIONS
ENGLISH
ITALIANO
2.
040_001_1 .tif
4
3
040_002_1 .tif
2.3. CARATTERISTICHE
TECNICHE
(OPT) = Dispositivo a richiesta
Dimensioni d'ingombro
Macchina con pianetto
di squadro ............................fi g.3
Macchina con telaio
di squadro ...........................fi g.4
Altezza piano
di lavoro .........................900 mm
Pialla a spessore
Rullo trascinamento in
entrata a denti elicoidali
....
ø 20
mm
Dimensione piano spessore
(C26)......................260x450 mm
(C30) .....................300x450 mm
Velocità di
trascinamento ................6 m/min
Asportazione massima ......3 mm
Altezza utile di lavoro:
minima ..............................3 mm
massima ........................200 mm
Lunghezza minima
di lavoro .........................120 mm
Attacco aspirazione .... ø 120 mm
2.3. SPECIFICATIONS
(OPT) = Optional device
Over-all dimensions
Machine with squaring table fi g.3
Machine with squaring
frame ...................................fi g.4
Work-table height ..........900 mm
Thicknessing tables
Helical teeth
inlet driving roller .............20 mm
Thicknessing table dimensions
(C26)......................260x450 mm
(C30)......................300x450 mm
Driving speed .................6 m/min
Maximum removal .............3 mm
Work height:
minimum ............................3 mm
maximum .......................200 mm
Minimum working
length .............................120 mm
Suction system
coupling ................... Ø 120 mm
Legenda • Legend • Legende • Légende • Referencias
A - C 26
genius
B - C 30
genius
– 21 –
ESPAÑOL
FRANÇAIS
РУССКИЙ
ТЕХНИЧЕСКИЕ ХАРАКТЕРИСТИКИ • IN
FORMATIONS GENERALES
INFORMACIONES GENERALES
2.
2.3. CARACTERISTICAS
TECNICAS
(OPT) = Dispositivo bajo pedido
Dimensiones totales
Máquina con mesa de
escuadrado ..........................fi g.3
Máquina con bastidor de
escuadra ..............................fi g.4
Altura mesa de trabajo ..900 mm
Cepillo de espesor
Rodillo de arrastre en entrada
de dientes helicoidales ....20 mm
Dimensiones plano espesor
(C26)......................260x450 mm
(C30) .....................300x450 mm
Velocidad de
arrastre ..........................6 m/min
Extracción máxima ............3 mm
Altura de trabajo
mínima ...............................3 mm
máxima ..........................200 mm
Longitud mínima
de trabajo .......................120 mm
Conexión aspiración .. ø 120 mm
2.3. ТЕХНИЧЕСКИЕ
ХАРАКТЕРИСТИКИ
(OPT) = ДОПОЛНИТЕЛЬНО
ЗАКАЗЫВАЕМАЯ ОСНАСТКА
Габаритные размеры
Станок с опорным
столом рис. 3
Станок с опорной
рамой рис. 4
Высота стола 900 мм
Рейсмусовый узел
Передний подающий ролик
с винтовой насечкой ø 20 мм
Размеры рейсмусового стола
(C26) 260x450 мм
(C30) 300x450 мм
Скорость подачи 6 м/мин
Максимальный съем 3 мм
Рабочая толщина:
минимальная 3 мм
максимальная 200 мм
Минимальная длина
заготовки 120 мм
Вытяжной патрубок ø 120 мм
2.3. DONNEES TECHNIQUES
(OPT) = Dispositif optionnel
Cotes d'encombrement
Machine avec tablette d'équerra-
ge..........................................fi g.3
Machine avec châssis
d’équarrissage .....................fi g.4
Hauteur de la
table du travail ...............900 mm
Raboteuse
Rouleau d’entraînement à l’en-
trée à dents hélicoïdaux ...20 mm
Dimensions de la table
de rabotage
(C26) .....................260x450 mm
(C30) .....................300x450 mm
Vitesse d’entraînement .6 m/min
Enlèvement maxi ...............3 mm
Hauter utile de travail:
mini ....................................3 mm
maxi ...............................200 mm
Longueur minimum
d’usinage .......................120 mm
Connexion de
l’aspiration .................Ø 120 mm
– 22 –
SPECIFICHE TECNICHE • SPECIFICATIONS
ENGLISH
ITALIANO
2.
Surfacing tables
Cutterblock
(with 2 blades) ............. ø 62 mm
2 HSS cutters (C26) ... 260x25x3
2 HSS cutters (C30) ... 300x25x3
Minimum blade height .....18 mm
Cutterblock TERSA-type
(with 3 knives)
(OPT)
... ø 62 mm
Cutterblock rotation
speed.................abt. 5500r.p.m.
Shaft stop time ................ 10 sec.
Maximum removal .............3 mm
Fence tilting ...................90°,45°
Suction system
coupling .....................Ø 120 mm
Planer guard
Saw
Saw blade
- Maximum diameter .. ø 250 mm
- Minimum diameter ... ø 245 mm
- Hole diameter ............ ø 30 mm
- Blade stop time ............. 10 sec.
Rotation speed ...........................
.............abt. ~3900 g/min (50 Hz)
............. abt.~4700 g/min (60 Hz
Maximum fence cutting
width ............................ ~500 mm
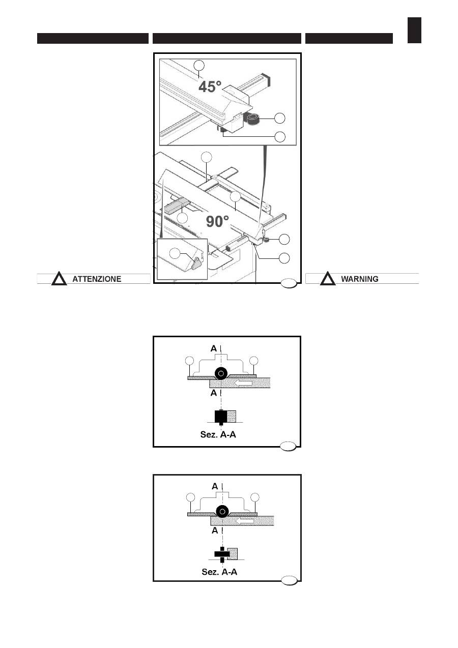
Saw blade tilting ..............90÷45°
Maximum cutting height
with - protection:
- with blade at 90° ..........~67 mm
- with blade at 45° ..........~40 mm
Saw suction system
coupling ...................... ø 120 mm
Saw protection
Saw protection suction
coupling ....................... ø 60 mm
Moulder
Anti-backoff shaft ......... ø 30 mm
Useful shaft working
length ............................... 75 mm
Maximum dimensions of tool
folding away under the table:
.....................max ø 150 x 38 mm
Spindle rotation speed abt. .........
............. ~5000/6500 rpm (50 Hz)
............~6000/8500 rpm (60 Hz)
Maximum tool weight ...........4 Kg
Pialla a fi lo
Albero pialla
(con 2 coltelli)
...............
ø 62 mm
2 coltelli HSS (C26) .... 260x25x3
2 coltelli HSS (C30) .... 300x25x3
Altezza minima coltelli .....18 mm
Albero pialla tipo TERSA (con 3
coltelli) (
OPT
)
..............
ø 62 mm
Velocità di rotazione
albero...................... ~5500 g/min
Tempo di arresto
albero...............................10 sec.
Asportazione massima ...... 3 mm
Inclinazione guida ...........90°,45°
Attacco aspirazione ... ø 120 mm
Protezione pialla
Sega
Lama sega
- Diametro massimo ... ø 250mm
- Diametro minimo ...... ø 245mm
- Diametro foro ............. ø 30 mm
- Tempo arresto lama .... ~10 sec.
Velocità di
rotazione .... ~3900 g/min (50 Hz)
.................. ~4700 g/min (60 Hz)
Massima larghezza di taglio
alla guida .....................~500 mm
Inclinazione lama sega ... 90÷45°
Massima altezza di taglio
con protezione:
- con lama a 90° ............~67 mm
- con lama a 45° ............~40 mm
Attacco aspirazione
alla sega .................... ø 120 mm
Protezione sega
Attacco aspirazione
protezione sega ........... ø 60 mm
Toupie
Albero con
antisvitamento ............. ø 30 mm
Lunghezza utile
di lavoro dell’albero ..........75 mm
Dimensione massima utensile
rientrante sotto il piano
............................ ø 150 x 38 mm
Velocità di rotazione albero
.......... ~5000/6500 g/min (50 Hz)
......... ~6000/8500 g/min (60 Hz)
Peso massimo utensile ........4 Kg
– 23 –
ESPAÑOL
FRANÇAIS
РУССКИЙ
ТЕХНИЧЕСКИЕ ХАРАКТЕРИСТИКИ • IN
FORMATIONS GENERALES
INFORMACIONES GENERALES
2.
Cepillo a ras
Arbol cepillo
(con 3 cuchillas) ............... ø 62 m
2 cuchillas HSS
(C26) .......................... 260x25x3
(C30) .......................... 300x25x3
Altura mínima cuchillas ....18 mm
Arbol cepillo tipo TERSA
(con 3 cuchillas)
(OPT)
ø 62 mm
Velocidad de
rotación árbol. .....~5500 rev/min
Tiempo de detención eje 10 seg.
Extracción máxima ............3 mm
Inclinación guía ...............90°,45°
Conexión aspiración .. ø 120 mm
Protección cepillo
Sierra
Hoja sierra
- Diámetro máximo ....... ø 250 mm
- Diámetro mínimo: ....... ø 245 mm
- Diámetro orifi cio ........... ø 30 mm
- Tiempo de detención hoia ...........
.......................................10 seg.
Velocidad de
rotación ......~3900 rev/min (50 Hz)
................... ~4700 rev/min (60 Hz
Ancho máximo de
corte en la guía .............. ~500 mm
Inclinación hoja sierra ........ 90÷45°
Altura máxima de corte
con protección:
- con hoja de 90° ............. ~67 mm
- con hoja de 45° ............. ~40 mm
Conexión aspiración
a la sierra ...................... ø 120 mm
Protección sierra
Conexión aspiración protección-
sierraprotection scie
......................................... ø 60 mm
Tupí
Arbol con antidestornillamien
.................................... ø 30 mm
Longitud útil de trabajo
del árbol ........................... ~75 mm
Dimensiones máximas del pliegue
de la herramienta bajo la mesa: . ø
150 x 38 mm
Velocidad de rotación
eje .....~5000/6500 rev/min (50 Hz)
.........~6000/8500 rev/min (60 Hz)
Peso máximo de la
herramienta ........................... 4 Kg
Фуговальный узел
Ножевой вал
(с 2 ножамиi) ø 62 мм
2 ножа HSS
(C26)............................260x25x3
(C30)............................300x25x3
Минимальная высота
ножей................................18 мм
Ножевой вал типа TERSA (с 3
ножами) (OPT)....ø 62 мм
Частота вращения
вала.....................~5500 об/мин
Время остановки вала........10 с
Максимальный съем..........3 мм
Наклон линейки..............90°,45°
Вытяжной патрубок.....ø 120 мм
Ограждение ножевого вала
Пильный узел
Основная пила
- Макс. диаметр ..........ø 250 мм
- Мин. диаметр ...........ø 245 мм
- Диаметр отверстия ....ø 30 мм
- Время остановки пилы ..~10 с
Частота вращения
................~3900 об/мин (50 Гц)
................~4700 об/мин (60 Гц)
Максимальная ширина раскроя
по направляющей линейке ......
~500 мм
Наклон пилы .................. 90÷45°
Максимальная высота пропила
при использовании
ограждения:
- пила под 90° ................~67 мм
- пила под 45° ................~40 мм
Вытяжной патрубок
пильного узла .............ø 120 мм
Ограждение пилы
Вытяжной патрубок на
ограждении пилы ....... ø 60 mm
ФРЕЗЕРНЫЙ УЗЕЛ
Шпиндель со стопорной
шайбой ø............................30 мм
Полезная длина
шпинделя...........................75 мм
Макс. диаметр инструмента,
убираемого под стол
...............................ø 150 x 38 мм
Частота вращения шпинделя
~5000/6500 об/мин (50 Гц)
~6000/8500 об/мин (60 Гц)
Максимальная масса
инструмента...........................4 кг
Dégauchisseuse
Arbre porte-fers
(avec 2 couteaux) ........ ø 62 mm
2 couteaux HSS
(C26) .......................... 260x25x3
(C30) .......................... 300x25x3
Hauteur minimum
couteaux ..........................18 mm
Arbre rabot “TERSA”
(à 3 couteaux)
(OPT)
... ø 62 mm
Vitesse de rotation
arbre ....................... ~5500 tr/mn
Temps d’arrêt arbre ............10 s.
Enlèvement maxi ...............3 mm
Inclinaison guide .............90°,45°
Connexion
de l’aspiration ............Ø 120 mm
Protection porte-lames
Scie
Lame de la scie
- Diamètre maximum .... ø 250 mm
- Diamètre minimum ..... ø 245 mm
- Diamètre trou ....................... ø 30
- Temps d'arrêt lame ..............10 s.
Vitesse de rotation ........................
...................... ~3900 tr/mn (50 Hz)
..................... ~4700 tr/mn (60 Hz)
Largeur maxi de coupe
au guide ......................... ~500 mm
Inclinaison de la lame
de la scie .......................... 90÷45°
Hauteur maximale de coupe avec
protection:
- avec lame à 90° ............. ~67 mm
- avec lame à 45° ............. ~40 mm
Connexion de l’aspiration
à la scie ........................ ø 120 mm
Protection de la scie
Fixation aspiration protection scie ø
60 mm
Toupie
Arbre avec antidévissage
sans lumière ...................ø 30 mm
Longueur utile de travail
de l‘arbre ..........................~75 mm
Dimension maximum outil rentrant
sous le plan:
.............................. ø 150 x 38 mm
Vitesse de rotation de
l’arbre...~5000/6500 tr/mn (50 Hz)
........... ~6000/8500 tr/mn (60 Hz)
Poids maximum outil ............. 4 Kg
– 24 –
SPECIFICHE TECNICHE • SPECIFICATIONS
ENGLISH
ITALIANO
2.
040_051_1.tif
5
(OPT)
Router fence hood
- Micrometric adjustment;
- Maximum tool diameter:
........................ ø max 160 mm
- Milling dimensions with pressers
(fi g. 5):
minimum
: .................. 8x8 mm
maximum
:
...............................h=120 mm
...............................s=120 mm
- Suction coupling tube
diameter ................. ø 120 mm
Moulder fence hood (OPT)
- Micrometric adjustment
- Maximum tool diameter (fi g.5):
with perpendicular spindle
........................ ø max 160 mm
- Milling dimensions with
pressers (fi g.5):
minimum
. ..................8x8 mm
maximum
. ..............h=115 mm
s=180 mm
- Suction coupling tube
diameter ................. ø 120 mm
Tenoning hood (OPT)
- Maximum tool
diameter .................. ø 180 mm
- .Suction coupling tube
diameter .................. ø 120 mm
Shaping hood (OPT)
- Maximum tool
diameter .................. ø 150 mm
- .Suction coupling tube
diameter .................. ø 100 mm
Self-braking motor
Cuffi a guida toupie
- Registrazione micrometrica
- Diametro massimo utensile:
......................... ø max 160mm
- Dimensioni di fresatura con
pressatori (fi g.5):
minima
: ...................... 8x8 mm
massima:
............................... h=120 mm
............................... s=120 mm
- Diametro tubo attacco
aspirazione .............. ø 120 mm
Cuffi a guida toupie (OPT)
- Registrazione micrometica
- Diametro massimo utensile
(fi g.5):
con albero perpendicolare
........................ ø max 160 mm
- Dimensioni di fresatura con
pressatori (fi g.5):
minima
. ...................... 8x8 mm
massima
. ............... h=115 mm
............................... s=120 mm
- diametro tubo attacco
aspirazione .............. ø 120 mm
Cuffi a per tenonare (OPT)
- Diametro massimo
utensile ..................... ø 200mm
- Diametro tubo attacco
aspirazione .............. ø 120 mm
Cuffi a per sagomare (OPT)
- Diametro massimo
utensile .................... ø 150 mm
- Attacco tubo
aspirazione ............... ø 100 mm
Motore autofrenante
– 25 –
ESPAÑOL
FRANÇAIS
РУССКИЙ
ТЕХНИЧЕСКИЕ ХАРАКТЕРИСТИКИ • IN
FORMATIONS GENERALES
INFORMACIONES GENERALES
2.
Cabezal guía tupí (STD)
- Ajuste micrométrico
- Diámetro máximo herramienta
........................ ø max 160 mm
- Dimensiones de fresado con
prensas (fi g. 5):
mínima
. ...................... 8x8 mm
máxima
............................... h=120 mm
............................... s=120 mm
- Diámetro tubo de entrada
aspiración ................ ø 120 mm
Cabezal guía tupí (OPT)
- Ajuste micrométrico
- Diámetro máximo herramienta
(fi g.5):
con árbol perpendicular
........................ ø max 210 mm
- Dimensiones de fresado con
prensas (fi g.5):
mínima
. ......................8x8 mm
máxima
. .................h=115 mm
s=120 mm
- Diámetro tubo de entrada
aspiración ............... ø 120 mm
Envoltura para ejecutar ensam-
bles de espiga y caja (OPT)
- Diámetro máximo
herramienta ............. ø 180 mm
- Diámetro tubo de entrada
aspiración ................ ø 120 mm
Envoltura para perfi lado
- Diámetro máximo
herramienta ............. ø 150 mm
- Diámetro tubo de entrada
aspiración ................ ø 100 mm
Motor autofrenante
Кожух фрезерного узла с
направляющими линейками
- Микрометрическая регулировка
- Максимальный диаметр
инструмента......ø 160 мм
-Размеры заготовки для
использования прижимов (рис. 5):
минимальные.....................8x8 мм
максимальные
........................................h=120 мм
........................................s=120 мм
-Диаметр вытяжного
патрубка.............ø 120 мм
Кожух фрезерного узла с
направляющими линейками
(OPT)
-Микрометрическая регулировка
-Максимальный диаметр .........
инструмента (рис. 5):
..при вертикальном положении
шпинделя.....................ø 160 мм
-Размеры заготовки для
использования прижимов
(рис.5):
минимальные. ...............8x8 мм
максимальные. ..........h=115 мм
s=120 mm
-Диаметр вытяжного патрубка ø
120 мм
Ограждение для нарезки шипов
(OPT)
- Максимальный диаметр
инструмента ..............ø 200 мм
- Диаметр вытяжного
патрубка ....................ø 120 мм
О г р а ж д е н и е
д л я
криволинейного фрезерования
(OPT)
-Максимальный диаметр
инструмента ...............ø 150 мм
-Диаметр вытяжного
патрубка .......................ø 100 мм
Двигатель с тормозом
Protection guide toupie
- Réglage micrométrique
- Diamètre maximum outil:
........................ ø max 160 mm
- Dimensions de fraisage avec
presseurs (fi g.5):
minimum
: .................. 8x8 mm
maximum
:
............................... h=120 mm
............................... s=120 mm
- Diamètre tuyau fi xation aspira-
tion ......................... ø 120 mm
Protection guide toupie (OPT)
- Réglage micrométrique
- Diamètre maximum outil
(fi g.5):
avec arbre perpendiculaire
........................ ø max 160 mm
- Dimensions de fraisage avec
presseurs (fi g.5):
minimum
. ..................8x8 mm
maximum
. ............h = 115 mm
s = 120 mm
- Diamètre tuyau fi xation
aspiration ................ ø 120 mm
Protecteur à tenonner
(OPT)
- Diamètre maximum
outil .......................... ø 180 mm
- Diamètre tuyau fi xation aspira-
tion ......................... ø 120 mm
Protecteur à façonner (OPT)
- Diamètre maximum
outil .......................... ø 150 mm
- Diamètre tuyau fi xation aspira-
tion ......................... ø 100 mm
Moteur a freinage automatique
– 26 –
SPECIFICHE TECNICHE • SPECIFICATIONS
ENGLISH
ITALIANO
2.
040_009_1.tif
6
Cavatrice
(OPT)
Dimensione piano
di lavoro ............... 380 x 287 mm
Corsa piano di lavoro (fi g.6):
- x ...................................120 mm
- y .....................................75 mm
- z ...................................100 mm
Mandrino
autocentrante
(OPT)
ø 3÷16 mm
Mandrino fi sso .............. ø 16 mm
Attacco tubo
di aspirazione .............. ø120 mm
Motori
Dati tecnici
: vedi targa di identifi -
cazione sul motore.
Tipo di servizio
: S6 - 40%
Condizioni di servizio
: vedi Par.
4:2.
Potenza motore 50Hz:
trifase - monofase ...1,85 KW (50
Hz)
trifase - monofase 2,2 KW (60 Hz)
Carro vagone in alluminio
Vagone ................ 200x1040 mm
Corsa utile alla toupie:
- macchina con pianetto
di squadro .................. 1190 mm
- macchina con telaio
di squadro .................... 720 mm
Capacità a squadrare al centro
della lama sega .......... 1145 mm
Pesi
Peso macchina (C26)
versione standard ........ ~225 kg
Peso macchina (C26)
completa di optional ..... ~260 kg
Peso macchina (C30)
versione standard ........ ~240 kg
Peso macchina (C30)
completa di optional ..... ~275 kg
Ruote di trasferimento
(OPT)
Slotter
(OPT)
Working table
size .......................430x220 mm
Work table travel (fi g.6):
- x ...................................155 mm
- y ...................................100 mm
- z ................................... 115 mm
Self-centering
spindle
(OPT)
........ ø 3÷16 mm
Fixed spindle .............. ø 16 mm
Suction hose connection
............................... ø 120 mm
Motors
Technical details
: see data
plate on the motor.
Duty cycle
: S6 - 40%
Conditions of service
: see Sec.
4:2.
Motor power 50Hz:
three - single .... 1,85 KW (50 Hz)
three - single ...... 2,2 KW (60 Hz)
Wagon-type aluminium slide
Wagon .................200x1040 mm
Working stroke at router
- machine with squaring
table ........................... 1190 mm
- machine with squaring
frame ........................... 720 mm
Squaring capability at the centre
of the saw blade .......... 1145 mm
Weights
Standard machine (C 26)
version weight ............... ~225 kg
Machine complete (C 26)
with optionals weight ... ~260 kg
Standard machine (C 30)
version weight ............... ~240 kg
Machine complete (C 30)
with optionals weight ... ~275 kg
Displacing wheels
(OPT)
– 27 –
ESPAÑOL
FRANÇAIS
РУССКИЙ
ТЕХНИЧЕСКИЕ ХАРАКТЕРИСТИКИ • IN
FORMATIONS GENERALES
INFORMACIONES GENERALES
2.
Ranuradora
(OPT)
Dimensiones plano
de trabajo ............. 430 x 220 mm
Recorrido de la mesa de trabajo
(Fig.6):
- x ...................................155 mm
- y ...................................100 mm
- z ................................... 115 mm
Mandril
autocentrante........... ø 3÷16 mm
Mandril fi jo ................... ø 16 mm
Conexión tubo
de aspiración ............. ø 120 mm
Motores
Datos técnicos:
véase la placa de
identifi cación en el motor.
Tipo de servicio:
S6 - 40%
Condiciones de servicio:
véase
Pár. 4:2.
Potencia motor 50Hz:
trifásico arranque - monofásico
arranque
.......................... 1,85 kW (50 Hz)
........................ 2,2 kW (60 Hz)
Carro-vagón aluminio
Vagón ..................200x1040 mm
Carrera de trabajo
- máquina con mesa de
escuadrado .................. 11 9 0 m m
- máquina con bastidor de
escuadrado .................. 1145 mm
Capacidad escuadradora al centro de
la hoja sierra ................1600 mm
Pesos:
Peso máquina versión
estándar (C 26) ..............~225 kg
Peso máquina
con accesorios (C 26) .. ~260 kg
Peso máquina versión
estándar (C 30) ............ ~240 kg
Peso máquina con
accesorios (C 30) ......... ~275 kg
Ruedas de desplazamiento
(OPT)
Пазовальный узел (OPT)
Размеры стола ..... 380 x 287 мм
Ход стола (рис. 6):
- x ..................................... 120 мм
- y ....................................... 75 мм
- z ..................................... 100 мм
Самоцентрирующий
патрон (OPT) ............ ø 3÷16 мм
Нерегулируемый
патрон ........................... ø 16 мм
Диаметр вытяжного
патрубка ....................... ø120 мм
Двигатели
Технические данные:
см.
табличка паспортных данных на
двигателе.
Тип службы:
S6 - 40%
Условия службы:
см. Пар. 4:2.
Мощность двигателя 50Гц:
трехфазный - однофазный .......
........................l....1,85 кВт (50 Гц)
трехфазный - однофазный .......
.............................2,2 кВт (60 Гц)
Алюминиевая каретка
Размеры ...............200x1040 мм
Рабочий ход относительно
фрезерного шпинделя:
- станок с форматным
столом ........................ 1190 мм
- станок с форматной
рамой ...........................720 мм
Рабочий ход поперечного
распила ........................ 1145 мм
Массы
Масса станка (C26)
базовое исполнение .... ~225 кг
Масса станка (C26)
с дополнительными опциями ..
~260 кг
Масса станка (C30)
базовое исполнение ... ~240 кг
Масса станка (C30)
с дополнительными опциями ..
~275 кг
Колеса для перемещения (OPT)
Mortaiseuse
(OPT)
Dimensions de la
table de travail .....430 x220 mm
Course plan de travail (fi g.6):
- x ...................................155 mm
- y ...................................100 mm
- z ................................... 115 mm
Mandrin à serrage
(OPT)
automatique .............ø 3 ÷16 mm
Mandrin fi xe ................. ø 16 mm
Raccord du tuyau
d’aspiration .. ............. ø 120 mm
Moteurs
Caractéristiques techniques:
voir plaque d’identifi cation sur le
moteur
Type de service:
S6 - 40%
Conditions de service:
voir
Par. 4:2.
Puissance du moteur 50Hz:
triphasé - monophasé mise
.......................... 1,85 kW (50 Hz)
........................ 2,2 kW (60 Hz)
Chariot extractible en alumi-
nium
Chariot ................. 200x1040 mm
Course utile à la toupie
- machine avec tablette
d'équerrage ................. 1190 mm
- machine avec cadre d'équerrage
720 mm
Capacité à équarrir au centre
de la lame scie ............. 1145 mm
Poids:
Poids machine version
standard (C 26) ............ ~225 kg
Poids machine avec
toutes les options (C 26) ~260 kg
Poids machine version
standard (C 30) ............ ~240 kg
Poids machine avec
toutes les options (C 30) ~275 kg
Rouleaux de déplacement
(OPT)
– 28 –
SPECIFICHE TECNICHE • SPECIFICATIONS
ENGLISH
ITALIANO
2.
040_003_0.tif
A
E
F - E
D
B
C
7
2.4. POSTAZIONI
DI LAVORO (fi g. 7)
La macchina è stata concepita
per essere utilizzata da un solo
operatore.
A
- Piallatura fi lo
B
- Piallatura spessore
C
- Foratura
D
- Taglio parallelo
E
- Lavorazioni alla toupie
F
- Lavorazioni al carro
2.5. POLVERI EMESSE
Valore massimo delle polveri
emesse:
Piallatura a fi lo ......... 0,21 mg/m
3
Piallatura a spessore 0,11 mg/m
3
Foratura ................... 0,18 mg/m
3
Taglio sega ............... 0,58 mg/m
3
Lavorazioni
alla toupie ................. 0,34 mg/m
3
2.6. LIVELLO DI RUMOROSI-
TÀ'
I valori misurati per il rumore
sono livelli di emissione e non
necessariamente livello di lavoro
sicuro. Mentre vi è una correlazio-
ne tra livelli di emissione e livelli
di esposizione, questa non può
essere usata affi dabilmente per
determinare se siano richieste o
no ulteriori precauzioni.
I fattori che infl uenzano il reale
livello di esposizione del lavoratore
includono la durata dell'esposizio-
ne, le caratteristiche dell'ambiente,
altre sorgenti di emissione, per es.
il numero delle macchine e altre
lavorazioni adiacenti. Anche i livelli
di esposizione permessi possono
variare da paese a paese. Queste
informazioni comunque mettono in
grado l'utilizzatore della macchina
di fare una migliore valutazione dei
pericoli e dei rischi.
Alcuni fattori che riducono l'espo-
sizione al rumore sono:
- corretta scelta dell'utensile
- corretta selezione della velocità
- manutenzione degli utensili e
della macchina
- uso corretto dei protettori dell'u-
dito.
2.4. WORKING PLACES
(fi g. 7)
The machine has been designed
to be used by a single user.
A -
Surfacing planer
B -
Thicknessing planer
C -
Drilling
D -
Parallel cutting
E -
Moulder machining
F -
Slide machining
2.5. DUST EMISSION
Maximum dust emission value:
Surfacing ................. 0,21 mg/m
3
Thicknessing ........... 0,11 mg/m
3
Drilling .................... 0,18 mg/m
3
Saw cutting ............... 0,58 mg/m
3
Moulder machining ... 0,34 mg/m
3
2.6. NOISE LEVEL
The noise levels measured are
emission levels and not necessar-
ily the safe working level. Although
there is a correlation between the
emission levels and the exposure
levels, this cannot be used reliably
to determine whether or not further
precautions are required. The fac-
tors which affect the actual level
of operator exposure include the
duration of exposure, the ambient
characteristics and other sources
of emission, for example, the num-
ber of machines and other adjacent
machining. The permitted expo-
sure values may also vary from
country to country. Nevertheless,
this information allows the user of
the machine to better evaluate the
dangers and risks.
Here are some factors which redu-
ce the exposure to the noise:
- right tool selection
- machine and tool maintenance
- proper use of ear protective
means.
– 29 –
ESPAÑOL
FRANÇAIS
РУССКИЙ
ТЕХНИЧЕСКИЕ ХАРАКТЕРИСТИКИ • IN
FORMATIONS GENERALES
INFORMACIONES GENERALES
2.
2.4. PUESTO DE TRABAJO
(fi g. 7)
La máquina ha sido proyectada
para la utilización por parte de un
solo operador.
A
- Cepillo de eje vertical
B
- Regruesadora
C
- Taladrado
D
- Corte paralelo
E
- Trabajo con tupí
F
- Trabajo con carro
2.5. POLVOS EMITIDOS
Valor máximo de los polvos emi-
tidos:
Cepilladura de eje
vertical ..................... 0,21 mg/m
3
Cepilladura de regruesar 0,11 mg/m
3
Taladrado ................ 0,18 mg/m
3
Corte sierra ............... 0,58 mg/m
3
Trabajo con tupí ........ 0,34 mg/m
3
2.6. NIVEL DE RUIDO
Los valores que se han medido
de ruido son niveles de emisión
y no indican necesariamente un
nivel de trabajo seguro. Mientras
que hay una correlación entre los
niveles de emisión y los niveles de
exposición, ésta no se puede usar
tranquilamente para determinar
la necesidad o no de ulteriores
precauciones.
Los factores que infl uyen en el
nivel real de exposición del tra-
bajador incluyen la duración de la
exposición, las características del
lugar, otras fuentes de emisión, por
ej. el número de las máquinas y
otras elaboraciones adyacentes.
Los niveles de exposición también
pueden variar de país en país. De
todos modos estas informaciones
hacen que el usuario de la máquina
sea capaz de efectuar una valo-
ración mejor de los peligros y de
los riesgos.
2.4. РАБОЧИЕ МЕСТА
(рис. 7)
Конструкция станка
предусматривает работу на нем
лишь одного оператора.
A -
Фугование
B -
Рейсмусование
C -
Сверление
D -
Продольная распиловка
E -
Фрезерование
F -
Работа с использованием
каретки
2.5. ВЫДЕЛЕНИЕ ПЫЛИ
Максимальная концентрация
производственной пыли
в воздухе:
Фугование
0,21 мг/м3
Рейсмусование 0,11 мг/м3
Сверление
0,18 мг/м3
Распиловка
0,58 мг/м3
Фрезерование 0,34 мг/м
2.6. УРОВЕНЬ ШУМА
Измеренные значения являются
величинами эмиссии шума, и при
этом не обязательно, что они
безопасны для работы. Несмотря
на наличие взаимосвязи между
уровнем экспозиции и уровнем
эмиссии, последняя не может
использоваться в качестве
надежного средства для ответа
на вопрос о том, необходимы или
нет дополнительные защитные
меры. В состав факторов,
о п р е д е л я ю щ и х в е л и ч и н у
э к с п оз и ц и и д л я р а б оч е го
персонала, входят длительность
экспозиции, характеристики
рабочего помещения, наличие
д р у г и х и с т о ч н и к о в ш у м а
(например, общее количество
станков, выполнение поблизости
других операций).
К р о м е т о го м а к с и м а л ь н о
допустимый уровень экспозиции
м ож ет б ы т ь р азл и ч н ы м в
разных странах. Тем не менее,
представленная информация
позволит владельцу станка
сделать более полную оценку
опасностей.
2.4. POSTES DE TRAVAIL
(fi g. 7)
La machine a été conçue pour
être utilisée par un seul opérateur.
A -
Dégauchissage
B -
Rabotage
C -
Perçage
D -
Coupe parallèle
E -
Usinages à la toupie
F -
Usinages au chariot
2.5. POUSSIERES EMISES
Valeur maximum des poussières émises:
Rabotage du bord .... 0,21 mg/m
3
Rabotage épaisseur 0,11 mg/m
3
Perçage .................. 0,18 mg/m
3
Coupe scie ................ 0,58 mg/m
3
Usinages à
la toupie .................... 0,34 mg/m
3
2.6
NIVEAU DE BRUIT
Les valeurs mesurées pour le bruit
sont les niveaux d’émission et pas
obligatoirement le niveau de travail
en toute sécurité.
Alors qu’il y a une corrélation
entre les niveaux d’émission et
les niveaux d’exposition, cette
dernière ne peut être utilisée de
manière fi able pour déterminer
s’il faut ou pas prendre d’autres
précautions. Les facteurs infl uen-
çant le niveau réel d’exposition de
l’ouvrier comprennent la durée de
l’exposition, les caractéristiques
de l’environnement, d’autres
sources de bruit, par exemple le
nombre des machines et d’autres
travaux adjacents. Les niveaux
d’exposition permis peuvent égale-
ment varier de pays à pays. Ces
informations permettent quand
même à l’utilisateur de la machine
de mieux évaluer les dangers et
les risques.
ВНИМАНИЕ
– 30 –
SPECIFICHE TECNICHE • SPECIFICATIONS
ENGLISH
ITALIANO
2.
Condizioni di funzionamento –
Profi latura
(secondo EN 848-1:2007+ A1:2009)*
Operating conditions –
Profi ling
(according to norm EN 848-1:2007+ A1:2009)*
Descrizione grandezza misurata
Measured size description
Lw:
livello della potenza sonora emessa dB (A)
re 1pW
[mW (A)]
Lw:
sound power level dB (A)
re 1pW
[mW (A)]
Il valore massimo della pressione acustica istantanea, ponderato C, è inferiore a 130 dB (C).
The maximum istantaneus noise level pressure is under 130 dB (C).
*Si rimanda al Rdp 06158 per l’analisi delle condizioni di funzionamento impiegate differenti da quanto prescritto dalle norme sopra citate.
*Refer to the test document N° 06158 (Rdp 06158) to analyse the actual operating conditions used to make the test, different from those operating conditions prescribed by the
norm mentioned above.
VSA :
A vuoto senza aspirazione
VSA :
Idle working without suction
LAV :
In lavoro
LAV :
In operation
Lop:
livello della pressione sonora al posto operatore dB
(A) e livello di picco [dB(C)]
Lop:
sound pressure level at operator station dB (A) and
peak level [dB(C)]
Posizioni operatore
Operator station
ENTRATA
INPUT
Norma di riferimento
Reference norm
EN ISO
11201:1995
EN ISO
3744:1995
Incertezza K
(probabilità 68.27%)
Uncertainity K
(probability 68.27%)
2.5
2.0
Profi latura
Profi ling
VSA
80.2
95.1
[3.2]
LAV
90.3
[99.0]
103.8
[23.8]
Condizioni di funzionamento –
Tenonatura
(secondo EN 1218-1:1999+ A1:2009)*
Operating conditions –
Tenoning
(according to norm EN 1218-1:1999+ A1:2009)*
Descrizione grandezza misurata
Measured size description
Lw:
livello della potenza sonora emessa dB (A)
re 1pW
[mW (A)]
Lw:
sound power level dB (A)
re 1pW
[mW (A)]
Il valore massimo della pressione acustica istantanea, ponderato C, è inferiore a 130 dB (C).
The maximum istantaneus noise level pressure is under 130 dB (C).
*Si rimanda al Rdp 06158 per l’analisi delle condizioni di funzionamento impiegate differenti da quanto prescritto dalle norme sopra citate.
*Refer to the test document N° 06158 (Rdp 06158) to analyse the actual operating conditions used to make the test, different from those operating conditions prescribed by the
norm mentioned above.
VSA :
A vuoto senza aspirazione
VSA :
Idle working without suction
LAV :
In lavoro
LAV :
In operation
Lop:
livello della pressione sonora al posto operatore dB
(A) e livello di picco [dB(C)]
Lop:
sound pressure level at operator station dB (A) and
peak level [dB(C)]
Posizioni operatore
Operator station
ENTRATA
INPUT
Norma di riferimento
Reference norm
EN ISO
11201:1995
EN ISO
3744:1995
Incertezza K
(probabilità 68.27%)
Uncertainity K
(probability 68.27%)
2.5
2.0
Tenonatura
Tenoning
VSA
77.5
85.5
[0.4]
LAV
89.2
[97.7]
98.4
[7.0]
Condizioni di funzionamento –
Piallatura a fi lo
(secondo EN 859:2007+ A1:2009)*
Operating conditions –
Surface planning
(according to norm EN 859:2007+ A1:2009)*
Descrizione grandezza misurata
Measured size description
Lw:
livello della potenza sonora emessa dB (A)
re 1pW
[mW (A)]
Lw:
sound power level dB (A)
re 1pW
[mW (A)]
Il valore massimo della pressione acustica istantanea, ponderato C, è inferiore a 130 dB (C).
The maximum istantaneus noise level pressure is under 130 dB (C).
*Si rimanda al Rdp 06158 per l’analisi delle condizioni di funzionamento impiegate differenti da quanto prescritto dalle norme sopra citate.
*Refer to the test document N° 06158 (Rdp 06158) to analyse the actual operating conditions used to make the test, different from those operating conditions prescribed by the
norm mentioned above.
VSA :
A vuoto senza aspirazione
VSA :
Idle working without suction
LAV :
In lavoro
LAV :
In operation
Lop:
livello della pressione sonora al posto operatore dB
(A) e livello di picco [dB(C)]
Lop:
sound pressure level at operator station dB (A) and
peak level [dB(C)]
Posizioni operatore
Operator station
ENTRATA
INPUT
Norma di riferimento
Reference norm
EN ISO
11201:1995
EN ISO
3744:1995
Incertezza K
(probabilità 68.27%)
Uncertainity K
(probability 68.27%)
2.5
2.0
Piallatura a fi lo
Surface planning
VSA
76.5
83.6
[0.2]
LAV
90.6
[101.5]
96.6
[4.5]
– 31 –
ESPAÑOL
FRANÇAIS
РУССКИЙ
ТЕХНИЧЕСКИЕ ХАРАКТЕРИСТИКИ • IN
FORMATIONS GENERALES
INFORMACIONES GENERALES
2.
Условия работы –
Profi lieren
(nach Norm EN 848-1:2007+ A1:2009)*
Condition de fonctionnement –
Profi ling
(selon la norme EN 848-1:2007+ A1:2009)*
Condiciones de funcionamiento –
Perfi lado
(según norma EN 848-1:2007+ A1:2009)*
Положение оператора
Description de la grandeur mesurée
Descripción dimensión medida
Lw: уровень выделяемой звуковой мощности dB (A)
re 1pW
[mW (A)]
Lw:
niveau de la puissance sonore émise dB (A)
re 1pW
[mW (A)]
Lw:
nivel de potencia sonora emetida dB (A)
re 1pW
[mW (A)]
Максимальное значение взвешенного мгновенного звукового давления ниже 130 дБ (C).
La valeur maximum de la pression acoustique instantanée, pondérée, est inférieure à 130 dB (C).
El valor máximo de la presión acústica instantánea ponderada es inferior a 130 dB (C).
* Порядок анализа условий работы, отличных от описанных в вышеуказанных нормативах, см. в Rdp 06158.
*Consulter le Rdp 06158 pour l’analyse des conditions de fonctionnement utilisées différentes de celles prescrites par les normes susmentionnées.
*Véase Rdp 06158 para el análisis de las condiciones de funcionamiento empleadas diferentes con respecto a la descripción de las normas anteriormente citadas.
VSA :
im Leerlauf ohne Absaugung
VSA :
A vide sans aspiration -
VSA :
En vacio sin aspiración
LAV : В работе
LAV :
En usinage -
LAV :
En trabajo
Lop
: уровень звукового давления на месте
оператора дБ (A) и пиковый уровень [дБ(C)]
Lop:
niveau de la pression sonore au poste
opérateur dB (A) et niveau de pic [dB(C)]
Lop:
nivel de la presión sonora en el lugar del
operador dB (A) y nivel de pico [dB(C)]
Положение оператораr
Positions opérateur
Posiciones operador
ВХОД
ENTREE
ENTRADA
Исходный норматив
Norme de référence
Norma de referencia
EN ISO
11201:1995
EN ISO
3744:1995
Неопреде-ленность измерения K
(вероятность 68.27%)
Incertitude K
(probabilité 68.27%)
Incertidumbre K
(probabilidad 68.27%)
2.5
2.0
Profi lieren
Profi ling
Perfi lado
VSA
80.2
95.1
[3.2]
LAV
90.3
[99.0]
103.8
[23.8]
Условия работы –
Zapfenschneiden
(nach Norm EN 1218-1:1999+ A1:2009)*
Condition de fonctionnement –
Ténonnage
(selon la norme EN 1218-1:1999+ A1:2009)*
Condiciones de funcionamiento –
Ensamble de espiga y caja
(según norma EN 1218-1:1999+ A1:2009)*
Положение оператора
Description de la grandeur mesurée
Descripción dimensión medida
Lw: уровень выделяемой звуковой мощности dB (A)
re 1pW
[mW (A)]
Lw:
niveau de la puissance sonore émise dB (A)
re 1pW
[mW (A)]
Lw:
nivel de potencia sonora emetida dB (A)
re 1pW
[mW (A)]
Максимальное значение взвешенного мгновенного звукового давления ниже 130 дБ (C).
La valeur maximum de la pression acoustique instantanée, pondérée, est inférieure à 130 dB (C).
El valor máximo de la presión acústica instantánea ponderada es inferior a 130 dB (C).
* Порядок анализа условий работы, отличных от описанных в вышеуказанных нормативах, см. в Rdp 06158.
*Consulter le Rdp 06158 pour l’analyse des conditions de fonctionnement utilisées différentes de celles prescrites par les normes susmentionnées.
*Véase Rdp 06158 para el análisis de las condiciones de funcionamiento empleadas diferentes con respecto a la descripción de las normas anteriormente citadas.
VSA :
im Leerlauf ohne Absaugung
VSA :
A vide sans aspiration -
VSA :
En vacio sin aspiración
LAV : В работе
LAV :
En usinage -
LAV :
En trabajo
Lop
: уровень звукового давления на месте
оператора дБ (A) и пиковый уровень [дБ(C)]
Lop:
niveau de la pression sonore au poste
opérateur dB (A) et niveau de pic [dB(C)]
Lop:
nivel de la presión sonora en el lugar del
operador dB (A) y nivel de pico [dB(C)]
Положение оператораr
Positions opérateur
Posiciones operador
ВХОД
ENTREE
ENTRADA
Исходный норматив
Norme de référence
Norma de referencia
EN ISO
11201:1995
EN ISO
3744:1995
Неопреде-ленность измерения K
(вероятность 68.27%)
)
Incertitude K
(probabilité 68.27%)
Incertidumbre K
(probabilidad 68.27%)
2.5
2.0
Zapfenschneiden
Ténonnage
Ensamble de espiga y caja
VSA
77.5
85.5
[0.4]
LAV
89.2
[97.7]
98.4
[7.0]
Условия работы –
ФУГОВАНИЕ
(nach Norm EN 1870-1:2007+ A1:2009)*
Condition de fonctionnement –
Dégauchissage
(selon la norme EN 1870-1:2007+ A1:2009)*
Condiciones de funcionamiento –
Acepilladura de eje vertical
(según norma EN 1870-1:2007+ A1:2009)*
Положение оператора
Description de la grandeur mesurée
Descripción dimensión medida
Lw: уровень выделяемой звуковой мощности dB (A)
re 1pW
[mW (A)]
Lw:
niveau de la puissance sonore émise dB (A)
re 1pW
[mW (A)]
Lw:
nivel de potencia sonora emetida dB (A)
re 1pW
[mW (A)]
Максимальное значение взвешенного мгновенного звукового давления ниже 130 дБ (C).
La valeur maximum de la pression acoustique instantanée, pondérée, est inférieure à 130 dB (C).
El valor máximo de la presión acústica instantánea ponderada es inferior a 130 dB (C).
* Порядок анализа условий работы, отличных от описанных в вышеуказанных нормативах, см. в Rdp 06158.
*Consulter le Rdp 06158 pour l’analyse des conditions de fonctionnement utilisées différentes de celles prescrites par les normes susmentionnées.
*Véase Rdp 06158 para el análisis de las condiciones de funcionamiento empleadas diferentes con respecto a la descripción de las normas anteriormente citadas.
VSA :
im Leerlauf ohne Absaugung
VSA :
A vide sans aspiration -
VSA :
En vacio sin aspiración
LAV : В работе
LAV :
En usinage -
LAV :
En trabajo
Lop
: уровень звукового давления на месте
оператора дБ (A) и пиковый уровень [дБ(C)]
Lop:
niveau de la pression sonore au poste
opérateur dB (A) et niveau de pic [dB(C)]
Lop:
nivel de la presión sonora en el lugar del
operador dB (A) y nivel de pico [dB(C)]
Положение оператораr
Positions opérateur
Posiciones operador
ВХОД
ENTREE
ENTRADA
Исходный норматив
Norme de référence
Norma de referencia
EN ISO
11201:1995
EN ISO
3744:1995
Неопреде-ленность измерения K
(вероятность 68.27%)
Incertitude K (probabilité 68.27%)
Incertidumbre K (probabilidad
68.27%)
2.5
2.0
Sägenschnitt
Coupe scie
Corte sierra
VSA
76.5
83.6
[0.2]
LAV
90.6
[101.5]
96.6
[4.5]
– 32 –
SPECIFICHE TECNICHE • SPECIFICATIONS
ENGLISH
ITALIANO
2.
Condizioni di funzionamento –
Piallatura a spessore
(secondo EN 860:2007+ A1:2009)*
Operating conditions –
Thicknessing machine
(according to norm EN 860:2007+ A1:2009)*
Descrizione grandezza misurata
Measured size description
Lw:
livello della potenza sonora emessa dB (A)
re 1pW
[mW (A)]
Lw:
sound power level dB (A)
re 1pW
[mW (A)]
Il valore massimo della pressione acustica istantanea, ponderato C, è inferiore a 130 dB (C).
The maximum istantaneus noise level pressure is under 130 dB (C).
*Si rimanda al Rdp 06158 per l’analisi delle condizioni di funzionamento impiegate differenti da quanto prescritto dalle norme sopra citate.
*Refer to the test document N° 06158 (Rdp 06158) to analyse the actual operating conditions used to make the test, different from those operating conditions prescribed by the
norm mentioned above.
VSA :
A vuoto senza aspirazione
VSA :
Idle working without suction
LAV :
In lavoro
LAV :
In operation
Lop:
livello della pressione sonora al posto operatore dB
(A) e livello di picco [dB(C)]
Lop:
sound pressure level at operator station dB (A) and
peak level [dB(C)]
Posizioni operatore
Operator station
ENTRATA
INPUT
USCITA
OUTPUT
Norma di riferimento
Reference norm
EN ISO
11201:1995
EN ISO
3744:1995
Incertezza K
(probabilità 68.27%)
Uncertainity K
(probability 68.27%)
2.5
2.0
Piallatura a spessore
Thicknessing machine
VSA
73.0
70.2
84.3
[0.3]
LAV
85.3
[93.8]
85.5
[93.0]
96.0
[3.9]
Condizioni di funzionamento –
Taglio sega
(secondo EN 1870-1:2007+ A1:2009)*
Operating conditions –
Saw cutting
(according to norm EN 1870-1:2007+ A1:2009)*
Descrizione grandezza misurata
Measured size description
Lw:
livello della potenza sonora emessa dB (A)
re 1pW
[mW (A)]
Lw:
sound power level dB (A)
re 1pW
[mW (A)]
Il valore massimo della pressione acustica istantanea, ponderato C, è inferiore a 130 dB (C).
The maximum istantaneus noise level pressure is under 130 dB (C).
*Si rimanda al Rdp 06158 per l’analisi delle condizioni di funzionamento impiegate differenti da quanto prescritto dalle norme sopra citate.
*Refer to the test document N° 06158 (Rdp 06158) to analyse the actual operating conditions used to make the test, different from those operating conditions prescribed by the
norm mentioned above.
VSA :
A vuoto senza aspirazione
VSA :
Idle working without suction
LAV :
In lavoro
LAV :
In operation
Lop:
livello della pressione sonora al posto operatore dB
(A) e livello di picco [dB(C)]
Lop:
sound pressure level at operator station dB (A) and
peak level [dB(C)]
Posizioni operatore
Operator station
ENTRATA
INPUT
Norma di riferimento
Reference norm
EN ISO
11201:1995
EN ISO
3744:1995
Incertezza K
(probabilità 68.27%)
Uncertainity K
(probability 68.27%)
2.5
2.0
Taglio sega
Saw cutting
VSA
80.2
95.1
[3.2]
LAV
90.3
[99.0]
103.8
[23.8]
– 33 –
ESPAÑOL
FRANÇAIS
РУССКИЙ
ТЕХНИЧЕСКИЕ ХАРАКТЕРИСТИКИ • IN
FORMATIONS GENERALES
INFORMACIONES GENERALES
2.
Условия работы –
Sägenschnitt
(nach Norm EN 1870-1:2007+ A1:2009)*
Condition de fonctionnement –
Rabotage
(selon la norme EN 860:2007+ A1:2009)*
Condiciones de funcionamiento –
Acepilladura de regruesar
(según norma EN 860:2007+ A1:2009)*
Положение оператора
Description de la grandeur mesurée
Descripción dimensión medida
Lw: уровень выделяемой звуковой мощности dB (A)
re 1pW
[mW (A)]
Lw:
niveau de la puissance sonore émise dB (A)
re 1pW
[mW (A)]
Lw:
nivel de potencia sonora emetida dB (A)
re 1pW
[mW (A)]
Максимальное значение взвешенного мгновенного звукового давления ниже 130 дБ (C).
La valeur maximum de la pression acoustique instantanée, pondérée, est inférieure à 130 dB (C).
El valor máximo de la presión acústica instantánea ponderada es inferior a 130 dB (C).
* Порядок анализа условий работы, отличных от описанных в вышеуказанных нормативах, см. в Rdp 06158.
*Consulter le Rdp 06158 pour l’analyse des conditions de fonctionnement utilisées différentes de celles prescrites par les normes susmentionnées.
*Véase Rdp 06158 para el análisis de las condiciones de funcionamiento empleadas diferentes con respecto a la descripción de las normas anteriormente citadas.
VSA :
БЕЗ вакуумного отсоса
VSA :
A vide sans aspiration -
VSA :
En vacio sin aspiración
LAV : В работе
LAV :
En usinage -
LAV :
En trabajo
Lop
: уровень звукового давления на месте
оператора дБ (A) и пиковый уровень [дБ(C)]
Lop:
niveau de la pression sonore au poste
opérateur dB (A) et niveau de pic [dB(C)]
Lop:
nivel de la presión sonora en el lugar del
operador dB (A) y nivel de pico [dB(C)]
Положение оператораr
Positions opérateur
Posiciones operador
ВХОД
ENTREE
ENTRADA
ВЫХОД
SORTIE
SALIDA
Исходный норматив
Norme de référence
Norma de referencia
EN ISO
3744:1995
Неопреде-ленность измерения K
(вероятность 68.27%)
Incertitude K (probabilité 68.27%)
Incertidumbre K (probabilidad
68.27%)
2.0
Sägenschnitt
Rabotage
Acepilladura de regruesar
EN ISO
11201:1995
2.5
VSA
73.0
70.2
84.3
[0.3]
LAV
85.3
[93.8]
85.5
[93.0]
96.0
[3.9]
Условия работы –
Sägenschnitt
(nach Norm EN 1870-1:2007+ A1:2009)*
Condition de fonctionnement –
Coupe scie
(selon la norme EN 1870-1:2007+ A1:2009)*
Condiciones de funcionamiento –
Corte sierra
(según norma EN 1870-1:2007+ A1:2009)*
Положение оператора
Description de la grandeur mesurée
Descripción dimensión medida
Lw: уровень выделяемой звуковой мощности dB (A)
re 1pW
[mW (A)]
Lw:
niveau de la puissance sonore émise dB (A)
re 1pW
[mW (A)]
Lw:
nivel de potencia sonora emetida dB (A)
re 1pW
[mW (A)]
Максимальное значение взвешенного мгновенного звукового давления ниже 130 дБ (C).
La valeur maximum de la pression acoustique instantanée, pondérée, est inférieure à 130 dB (C).
El valor máximo de la presión acústica instantánea ponderada es inferior a 130 dB (C).
* Порядок анализа условий работы, отличных от описанных в вышеуказанных нормативах, см. в Rdp 06158.
*Consulter le Rdp 06158 pour l’analyse des conditions de fonctionnement utilisées différentes de celles prescrites par les normes susmentionnées.
*Véase Rdp 06158 para el análisis de las condiciones de funcionamiento empleadas diferentes con respecto a la descripción de las normas anteriormente citadas.
VSA :
im Leerlauf ohne Absaugung
VSA :
A vide sans aspiration -
VSA :
En vacio sin aspiración
LAV : В работе
LAV :
En usinage -
LAV :
En trabajo
Lop
: уровень звукового давления на месте
оператора дБ (A) и пиковый уровень [дБ(C)]
Lop:
niveau de la pression sonore au poste
opérateur dB (A) et niveau de pic [dB(C)]
Lop:
nivel de la presión sonora en el lugar del
operador dB (A) y nivel de pico [dB(C)]
Положение оператораr
Positions opérateur
Posiciones operador
ВХОД
ENTREE
ENTRADA
Исходный норматив
Norme de référence
Norma de referencia
EN ISO
11201:1995
EN ISO
3744:1995
Неопреде-ленность измерения K
(вероятность 68.27%)
Incertitude K (probabilité 68.27%)
Incertidumbre K (probabilidad
68.27%)
2.5
2.0
Sägenschnitt
Coupe scie
Corte sierra
VSA
80.2
95.1
[3.2]
LAV
90.3
[99.0]
103.8
[23.8]
– 34 –
SPECIFICHE TECNICHE • SPECIFICATIONS
ENGLISH
ITALIANO
2.
040_010_2.tif
8
O
N
G
M
A
E
H
B
E
E
C
D
(OPT)
(OPT)
G
2.7. SAFETY DEVICES
(fi g. 8)
The machine is equipped with
the following safety devices (it is
strictly prohibited to modify them
or deactivate them):
A - Spindle and saw unit mi-
croswitch ( Versione USA e
CANADA).
It commands the machine stop
when the door
M
is open.
B - Plane microswitch ( Versio-
ne USA e CANADA).
It commands the machine stop
when the table
N
is rotated.
Resets the machine should
the hood
O
be tipped to work
on the thickness.
C - Guard for saw operations
D - Guard for planer opera-
tions
E - Guard for router opera-
tions
G - Emergency button
H - Piece pusher
2.7. DISPOSITIVI DI
SICUREZZA (fi g. 8)
La macchina è dotata dei se-
guenti dispositivi di sicurezza (è
assolutamente vietato modifi carli
o disattivarli):
A - Microinterruttore portello
gruppo toupie e sega ( Ver-
sione USA e CANADA).
Arresta la macchina all’aper-
tura del portello
M
.
B - Microinterruttore pialla (
Versione USA e CANADA)
Arresta la macchina al ribal-
tamento del piano
N
.
Riabilita la macchina qualora
venga ribaltata la cuffi a
O
per
lavorare allo spessore.
C
-
Protezione per lavorazioni
alla sega.
D
-
Protezioni per lavorazioni
alla pialla.
E - Protezione per lavorazioni
alla toupie
G - Pulsante di emergenza
H - Spingipezzo
– 35 –
ESPAÑOL
FRANÇAIS
РУССКИЙ
ТЕХНИЧЕСКИЕ ХАРАКТЕРИСТИКИ • IN
FORMATIONS GENERALES
INFORMACIONES GENERALES
2.
2.7. DISPOSITIVOS DE SE-
GURIDAD (fi g. 8)
La máquina está equipada con los
siguientes dispositivos de seguri-
dad (está terminantemente prohi-
bido modifi carlos o desactivarlos):
A - Microinterruptor escotilla
grupo toupie y sierra (ver-
sion U.S.A. y CANADA).
Para la máquina cuando se
produce la abertura de la sa-
lida
M
.
B - Microinterruptor cepillo
(version U.S.A. y CANADA).
Para la máquina cuando vuel-
ca el plano
N
Rehabilita la máquina en caso
de que se vuelque la envoltura
O
para trabajos de espesor.
C – Dispositivo de seguridad
para operaciones de sierra
D – Dispositivo de seguridad
para operaciones de cepil-
lado
E – Dispositivo de seguridad
para operaciones de buri-
ladora
F – Dispositivo de seguridad de
brazo para operaciones de
sacar espigas (OPT)
G – Botón de emergencia
H - Elemento de empuje pieza
2.7. УСТРОЙСТВА
БЕЗОПАСНОСТИ (рис. 8)
Станок оснащен следующими
устройствами безопасности
(демонтировать или выводить
их из действия категорически
запрещается):
A - Концевой выключатель
на дверце фрезерного и
пильного узла (исполнение
по нормам США и Канады)
Вызывает остановку станка
при открытии дверцы M.
B - Концевой выключатель на
фуговально-рейсмусовом
узле (исполнение по нормам
США и Канады)
Вызывает остановку станка
при откидывании стола N.
П е р е в о д и т с т а н о к в
положение готовности при
откидывании кожуха O в целях
рейсмусовой обработки.
C - Ограждение пилы
D - О г р аж д е н и е н оже во го
вала.
E - Ограждение фрезерного
шпинделя
G - Аварийная кнопка
H - Толкатель
2.7. DISPOSITIFS DE SECU-
RITE (fi g. 8)
La machine est équipée des di-
spositifs de sécurité suivants (il est
strictement interdit de les modifi er
ou de les désactiver):
A - M i c r o r u p t e u r p o r t i l l o n
groupe toupie et scie (ver-
sion U.S.A. et CANADA).
Il arrête la machine en cas
d’ouverture de la porte
M
.
B - Minirupteur du rabot (ver-
sion U.S.A. et CANADA).
Il arrête la machine au bascu-
lage de la table
N
.
Remettre la machine en fonc-
tion au cas où le protecteur
O
est basculé pour travailler à
l’épaisseur.
C
-
Protection pour exécu-
tions avec la scie.
D
-
Protections pour exécu-
tions avec le rabot.
E - Protection pour exécu-
tions à tenonner
G - Poussoirs d’urgence
H - Pousseur pièce
3.
PRECAUZIONI PER LA SICUREZZA • SAFETY PRECAUTIONS
ENGLISH
ITALIANO
– 36 –
3.1. SAFETY REGULATIONS
Read carefully the operation and
maintenance manual before starting,
using, servicing and carrying out any
other operation on the machine.
The manufacturer disclaims all
responsibilities for damages to
persons or things, which might be
caused by any failure to comply
with the above mentioned safety
regulations.
Read carefully the safety plates lo-
cated on the machine and follow all
the instructions.
The machine operator shall have all
necessary prerequisites in oder to
operate a complex machiery.
It is prohibited to use the machine
when under the infl uence of alcohol,
drugs or medication.
All the operators must be suitably
trained for use, adjustment and opera-
tion of the machine.
The operators must carefully read
the manual paying particular atten-
tion to the warning and safety notes.
Furthermore, they must be informed
on the dangers associated with use
of the machine and the precautions
to be taken, and must be instructed
to periodically inspect the guards and
safety devices.
A suitable padlock must be procured
to lock the main power switch. The
qualifi ed and authorised operator is
responsible for safekeeping of the key.
Before carrying out adjustment, repair
or cleaning operations, disconnect the
power by setting the main switch to"
0
"
and pull the plug from the socket.
3.1. NORME DI SICUREZZA
Leggere attentamente il Manuale delle
istruzioni per l'uso e la manutenzione
prima di procedere alle operazioni di
avviamento, impiego, manutenzione,
o qualsiasi altro intervento sulla
macchina.
Il Costruttore declina ogni
responsabilità per danni a persone
o cose, conseguenti l’inosservanza
delle norme di sicurezza.
Esaminare attentamente le targhette
di sicurezza applicate sulla macchina
e rispettarne le indicazioni in esse
contenute.
L'operatore deve possedere tutti i
requisiti prescritti per l’utilizzo di una
macchina complessa.
E' vietato utilizzare la macchina sotto
l'infl uenza di alcool, droghe, o medi-
cine.
E' obbligatorio che tutti gli operatori
siano adeguatamente formati per
l'utilizzazione, la regolazione ed il
funzionamento della macchina.
Gli operatori devono leggere attenta-
mente il manuale prestando partico-
lare attenzione alle note e avvertenze
di sicurezza; devono inoltre essere
informati sui pericoli associati con
l'uso della macchina e le precauzio-
ni che devono essere osservate, e
devono essere istruiti ad effettuare
esami periodici sui ripari e dispositivi
di sicurezza.
E' indispensabile procurarsi un luc-
chetto idoneo al bloccaggio dell'in-
terruttore generale di alimentazione
elettrica. L'operatore qualificato e
autorizzato è responsabile e custode
della chiave.
Prima di effettuare interventi di rego-
lazione, riparazione o pulizia,togliere
tensione alla macchina mettendo
l'interruttore generale sullo "
0
" e scol-
legare la presa dalla spina.
- 37 -
3.
FRANÇAIS
РУССКИЙ
ESPAÑOL
МЕРЫ ПРЕДОСТОРОЖНОСТИ (ТЕХНИКА БЕЗОПАСНОСТИ) • PRECAUTIONS DE SECURITE
(TRAVAILLER EN SECURITE) • PRECAUCIONES DE SEGURIDAD (MEDIDAS PARA UN TRABAJO SEGURO)
3.1.
ТЕХНИКА БЕЗОПАСНОСТИ
Перед началом действий
по запуску, использованию,
обслуживанию станка
внимательно прочесть
руководство по эксплуатации.
Изготовитель не несет
ответственности за материальные
повреждения и ущерб здоровью
людей, если таковые были
причинены вследствие
несоблюдения правил техники
безопасности.
Внимательно изучить все знаки
безопасности, размещенные на
станке, и следовать их предписаниям.
О п е р а т о р с т а н к а о б я з а н
удовлетворять всем требованиям,
предъявляемым к операторам
сложного оборудования.
Запрещается работать на станке,
находясь под воздействием алкоголя,
наркотиков или лекарственных
средств.
О п е р ат о р ы о бя з а н ы п р о й т и
н а д л е ж а щ е е
о б у ч е н и е
использованию и наладке станка.
Операторы обязаны внимательно
п р о ч е с т ь р у к о в о д с т в о п о
эксплуатации, обращая особое
внимание на правила техники
безопасности. Кроме того, они
должны быть проинформированы
о б о п а с н о с т я х , с в я з а н н ы х
с э к с п л у а т а ц и е й с т а н к а , и
проинструктированы о процедурах
п е р и о д и ч е с к о й п р о в е р к и
защитных ограждений и устройств
безопасности.
Н е о б х о д и м о п р е д у с м о т р е т ь
навесной замок для блокировки
г л а в н о г о
в ы к л ю ч а т е л я
электропитания. Ключ от него должен
храниться у уполномоченного
оператора-наладчика.
Перед началом работ по наладке,
ремонту или уборке станка следует
обесточить станок, переведя в
положение O выключатель питания
и вынув вилку из розетки.
3.1. PRECAUTIONS DE SECU-
RITE
Lire attentivement le Manuel
d’emploi et d’entretien avant de
n’importe quelle opération sur la
machine (mise en marche, emploi,
entretien ou autre).
Le Constructeur décline toute
responsabilité en cas de dommage
aux personnes ou aux objets dûs
au non accomplissement des
susvisées normes de sécurité.
De plus, il faut: contrôler attentive-
ment les plaquettes de sécurité sur la
machine et observer les instructions
données.
L’opérateur de la machine devra
avoir toutes les qualités prévues pour
la manoeuvre d’une machine-outil
complexe.
Il est interdit d’utiliser la machine si
l’on est sous l’infl uence de l’alcool,
de drogues ou de médicaments.
Il faut obligatoirement que tous les
ouvriers soient formés pour l’utilisa-
tion, le réglage et le fonctionnement
de la machine.
Les ouvriers doivent lire attentive-
ment la notice en faisant particuliè-
rement attention aux remarques et
aux avertissements de sécurité. En
outre, ils doivent être informés sur
les risques associés à l’utilisation
de la machine, ainsi que sur les
précautions qui doivent être prises
et ils doivent être formés pour effec-
tuer des contrôles périodiques sur
les protections et les dispositifs de
sécurité.
Il faut impérativement avoir un
verrou approprié pour le blocage
de l’interrupteur principal d’alimen-
tation électrique. L’ouvrier qualifi é
et autorisé est responsable et doit
conserver la clé.
Avant d’effectuer des interventions de
réglage, de réparation ou de nettoya-
ge, couper la tension sur la machine
en plaçant l’interrupteur général sur
“
O
” et débrancher la prise de la fi che.
Après une première période de
mise en place ou de nombreuses
3.1. ADVERTENCIAS DE
SEGURIDAD
Leer atentamente el manual de
instrucciones para la operación
y el mantenimiento antes de las
operaciones de arranque, empleo,
mantenimiento o cualquier otra
operación sobre la máquina.
El fabricante declina cualquier
responsabilidad por daños a las
personas o a las cosas, producto
del incumplimiento de las normas
de seguridad anteriormente citadas.
Examinar atentamente las tarjetas
de seguridad aplicadas sobre la
máquina y respetar las indicaciones
que contienen.
El operador de la máquina deberá
poseer todos los requisitos pre-
scritos para la utilización de una
máquina compleja.
Se prohibe manejar de la máquina
bajo la infl uencia de bebidas alcohóli-
cas, drogas o medicinas.
Es obligatorio que todos los opera-
dores estén preparados apropiada-
mente para el uso, la regulación y el
funcionamiento de la máquina.
Los operadores deben leer el manual
detenidamente, prestando suma
atención a las notas y advertencias
de seguridad; además deben estar
informados acerca de los peligros
asociados al uso de la máquina y
de las precauciones que han de
observarse y estar formados para
efectuar exámenes periódicos de
las protecciones y los dispositivos
de seguridad.
Es indispensable disponer de un
candado adecuado para bloquear el
interruptor general de alimentación
eléctrica. El operador cualifi cado
y autorizado es el responsable de
guardar de la llave.
Antes de efectuar intervenciones de
regulación, reparación o limpieza,
quitar la corriente a la máquina po-
niendo el interruptor general en el “
O
”
y desconectar el enchufe de la toma.
Tras un primer período de asentami-
ВНИМАНИЕ
3.
PRECAUZIONI PER LA SICUREZZA • SAFETY PRECAUTIONS
ENGLISH
ITALIANO
– 38 –
Dopo un primo periodo di assestamen-
to o molte ore di lavoro, può verifi carsi
l'allentamento delle cinghie di trasmis-
sione; questo provoca un aumento del
tempo di arresto dell'utensile (il tempo
di arresto deve essere inferiore a 10
sec.). Provvedere subito al loro ten-
sionamento come descritto nel cap.7.
La zona di lavoro attorno alla macchina
deve sempre essere mantenuta pulita
e sgombra per l’im mediato e facile ac-
cesso ai comandi del quadro elettrico.
Non introdurre nella macchina mate-
riale diverso da quello previsto per il
suo utilizzo.
Il materiale da lavorare non deve
contenere parti metalliche.
Non lavorare mai pezzi troppo piccoli
o troppo grossi per la capacità della
macchina.
Non lavorare legni che presentano
difetti molto evidenti (spaccature, nodi,
parti metalliche, etc....).
Utilizzare rulliere o tavoli di estensione
quando si lavorano pezzi di dimensioni
elevate.
Non mettere le mani tra le parti e/o
materiali in movimento.
Non mettere le mani in prossimità
dell'utensile; eseguire l'avanzamento
del pezzo con l'aiuto di uno spintore.
Custodire gli utensili in maniera ordina-
ta e lontano da persone non addette.
Non impiegare mai utensili incrinati,
deformati o non correttamente riaffi lati.
La macchina è stata progettata per
impiegare esclusivamente utensili
conformi alla norma
EN 847-1
, adatti
per il tipo di materiale usato; gli utensili
toupie devono essere tassativamente
del tipo per l'avanzamento manuale
(marcati
MAN
).
Non usare gli utensili oltre il limite di
velocità indicato dai costruttori.
Pulire accuratamente le superfi ci di
appoggio degli utensili ed assicurarsi
che siano perfettamente piane e prive
di ammaccature.
Maneggiare gli utensili utilizzando i
guanti di protezione.
Montare gli utensili nel giusto verso di
lavorazione.
Non avviare la macchina senza aver
correttamente installato tutte le pro-
tezioni.
L’operatore deve assicurarsi che
sia stata selezionata la velocità di
After an initial bedding-in period or
many hours of operation, the driving
belts may slacken; this causes an
increase in the tool stopping time (the
stopping time must be less than 10
seconds). Immediately tighten them
as described in Chap. 7.
The working area around the machine
must be kept always clean and clear, in
order to have an immediate and easy
access to the switchboard.
Never insert materials which are dif-
ferent from those which are prescribed
for the machine utilization.
The material to be machined must not
contain any metal parts.
Never machine pieces which may be
too small or too wide ithrespect to the
machine capacity.
Do not work wood which has evident
defects (cracks, knots, metal parts,
etc.)
Use rollers or extension tables when
machining very large pieces.
Never place hands among the moving
parts and/or materials.
Keep hands clear from the tool; feed
the piece with the aid of a pusher.
Keep the tools tidy and far away from
those not authorized persons.
Never use tools which are cracked,
buckled or incorrectly ground.
This machine was designed to use
only tools which comply with
EN 847-1,
suitable for the type of material machi-
ned. The spindle moulder tools must
be of the manual feed type (marked
MAN
).
Never use the tools beyond the speed
limit recommended bythe producers.
Carefully clean the rest surfaces of
tools and make surethat they fi nd
perfectly horizontally positioned, and
withno dents at all.
Always wear gauntlets when handling
the tools.
Mount the tools in the right machining
direction.
Never start the machine before having
correctly installed all the protections.
- 39 -
3.
FRANÇAIS
РУССКИЙ
ESPAÑOL
МЕРЫ ПРЕДОСТОРОЖНОСТИ (ТЕХНИКА БЕЗОПАСНОСТИ) • PRECAUTIONS DE SECURITE
(TRAVAILLER EN SECURITE) • PRECAUCIONES DE SEGURIDAD (MEDIDAS PARA UN TRABAJO SEGURO)
После начальной обкатки, а также
по прошествии большого срока
эксплуатации приводные ремни
станка могут ослабнуть. Из-за этого
может увеличиться время остановки
инструмента (это время не должно
превышать 10 с). При обнаружении
данной проблемы незамедлительно
подтянуть ремни, как описано в
главе 7.
Для обеспечения оперативного
доступа к пульту управления
р а б оч а я зо н а во к ру г с та н к а
должна содержаться в чистоте и
быть свободной от посторонних
предметов.
Не подавать в станок детали
и з м ате р и а л о в отл и ч н ы х от
предусмотренных его назначением.
В обрабатываемых деталях не
должно иметься металлических
включений.
Не обрабатывать слишком крупные
или слишком мелкие заготовки.
Не обрабатывать заготовки с
сильными дефектами (трещинами,
с у ч к а м и , м е т а л л и ч е с к и м и
включениями и т.п.).
При обработке заготовок больших
размеров применять рольганги и
расширительные столы.
Н е р а с п ол а гат ь ру к и м еж д у
движущимися органами и/или
заготовками.
Н е р а с п ол а гат ь р у к в бл и з и
инструмента. Для подачи заготовки
использовать толкатель.
Хранить инструменты в порядке и
вне доступа посторонних лиц.
Не использовать поврежденный,
деформированный или плохо
заточенный инструмент.
На станке должны использоваться
р е ж у щ и й
и н с т р у м е н т ,
с о о т в ет с т в у ю щ и й с т а н д а р т у
EN 847-1 и подходящий для
обрабатываемого материала.
Фрезерный инструмент должен
принадлежать к типу инструмента
для станков с ручной подачей
(маркировка MAN).
Не превышать предельную скорость
вращения, указанную изготовителем
инструмента.
Перед установк ой тщательно
очищать посадочные поверхности
инструментов. Поверхности должны
быть идеально ровными и не иметь
следов деформации.
heures de travail, les courroies de
transmission peuvent se détendre
; cela entraîne une augmentation
du temps d’arrêt de l’outil (le temps
d’arrêt doit être inférieur à 10 sec.).
Il faut immédiatement les retendre
comme indiqué au chapitre 7.
La zone de travail autour de la
machine doit toujours être propre et
libre pour avoir un accès immédiat
et facile aux commandes du tableau
de distribution.
Ne pas introduire dans la machine
du matériel différent de celui prévu
pour son emploi.
Le matériau à usiner ne doit pas être
constitué par des parties métalliques.
Ne jamais usiner des pièces trop
petits ou trop gros parrapport à la
capacité de la machine.
Ne pas usiner des bois ayant des
défauts particulièrement évidents
(fentes, noeuds, parties métalliques,
etc.)
Utiliser des groupes rouleaux ou
des plateaux de prolongement pour
l’usinage de pièces d’importantes
dimensions.
Ne jamais mettre les mains entre
les parties et/ou les matériaux en
mouvement.
Ne pas approcher les mains de l’outil;
effectuer l’avancement de la pièce à
l’aide d’un pousseur.
Garder les outils d’une manière
rangée et loin des personnesqui ne
sont pas autorisées.
Ne jamais employer des outils fêlés,
déformés ou pascorrectement affi lés
de nouveau.
La machine a été conçue pour tra-
vailler exclusivement avec des outils
conforme à la réglementation
EN
847-1
, adaptés au type de matériau
utilisé; les outils toupie doivent être
obligatoirement du type pour l'avan-
ce manuelle (marqués
MAN
).
Ne jamais employer les outils au delà
des limites de vitesse indiquées par
les constructeurs.
Nettoyer soigneusement les sur-
faces d’appui des outils ets’assurer
qu’elles soient parfaitement horizon-
tales et sansbosses.
Utiliser les outils se servant des gants
protecteurs.
Monter les outils dans le sens exact
d’usinage.
ento o numerosas horas de trabajo
es posible que se afl ojen las correas
de transmisión, lo cual provoca un
aumento del tiempo de parada de
la herramienta (que debe ser inferior
a los 10 seg.). Proceder enseguida
a su tensión como se describe en
el cap.7.
Mantener siempre libre y limpia
la zona de trabajo alrededor de la
máquina con el fi n de facilitar un
acceso simple e inmediato a los
mandos del tablero de control.
No se introduzca en la máquina ma-
terial diferente del que está previsto
para su utilización.
El material a elaborar no debe con-
tener componentes metálicos.
No trabajar nunca piezas demasiado
pequeñas o demasiado gruesas para
la capacidad de la máquina.
No elaborar maderas que presenten
defectos muy evidentes (rajaduras,
nudos, partes metálicas, etc.).
Utilizar grupos de rodillos o mesas
de extensión cuando se trabaje con
piezas de grandes dimensiones.
No se pongan las manos entre las
partes y/o el material en movimiento.
No poner las manos en proximidad
de la herramienta; realizar el avance
de la pieza con el auxilio de una pieza
de empuje.
Guardar las herramientas de manera
ordenada y lejos de personas no
autorizadas.
No emplear nunca herramientas
rajadas, deformadas o no correcta-
mente reafi ladas.
La máquina ha sido proyectada para
utilizar exclusivamente herramientas
conformes con la norma
EN 847-1
,
adecuadas para el tipo de material
utilizado; las herramientas tupí de-
ben ser obligatoriamente del tipo
indicado para el avance manual (con
la sigla
MAN
).
No utilizar las herramientas so-
brepasando el límite de velocidad
indicado por los fabricantes.
Limpiar esmeradamente las superfi -
cies de apoyo de las herramientas y
asegurarse de que estén perfecta-
mente llanas y sinmachucaduras.
Manejar las herramientas utilizando
los guantes de protección.
Montar las herramientas en el cor-
recto sentido de elaboración.
3.
PRECAUZIONI PER LA SICUREZZA • SAFETY PRECAUTIONS
ENGLISH
ITALIANO
– 40 –
rotazione adeguata, e che questa sia
appropriata all’utensile utilizzato sulla
macchina.
Iniziare la lavorazione solo quando gli
utensili hanno raggiunto la velocità di
regime.
In tutti i lavori di fresatura in cui si puo'
avere il rigetto del pezzo, in particolare
fresature interrotte, si devono impiega-
re dispositivi di protezione antiritorno
come descritto al cap.6; usare frese
con limitazione di passata.
A causa della grande varietà di lavori
che si possono fare sulle toupie verti-
cali utilizzando differenti tipi di alberi, di
portautensili e di frese, non è possibile
considerare effi cace un unico tipo di
protettore per tutti questi lavori.
Ciascun lavoro deve essere consi-
derato separatamente e deve essere
usata la protezione più indicata (cuffi a
guida toupie, cuffi a per tenonare, cuffi a
per sagomare).
Utilizzare gli anelli toupie in dotazione
in modo da ridurre al minimo l'apertura
del foro sul piano toupie.
La protezione deve avvolgere il più
completamente possibile la fresa in
funzione del tipo di lavoro.
Lo spazio tra le due semiguide deve
essere il minimo indispensabile per
fare girare la fresa senza interferenze.
La macchina non è predisposta per
l'uso del trascinatore.
Usare i pressatori in dotazione re-
gistrandoli in modo da formare un
tunnel nel quale il pezzo può essere
introdotto.
Il pezzo seguente può essere utilizza-
to per spingere il pezzo precedente,
l’ultimo pezzo sarà lavorato alla fi ne
utilizzando uno spingitore.
Collegare le cappe di evacuazione
polveri ad un adeguato impianto di
aspirazione attenendosi alle indica-
zioni del cap.4.; l'aspirazione deve
essere sempre avviata all'accensione
della macchina.
Non aprire, in nessun caso, portelli o
protezioni con la macchina o l’impianto
in movimento.
Spiacevoli e numerose esperienze
hanno evidenziato che sulla persona
vi possono essere svariati oggetti in
The operator must ensure that the right
rotation speed has been selected and
that the speed selected is proper for
the tool fi tted to the spindle.
Start machining only when the tools
have reached their operating speed.
In all milling operations where piece
displacement may occur, in particular
interrupted milling, anti-spring-back
protection devices must be used as
described in Chap. 6; use cutters with
a cut limiter.
Because of the variety of workings
which can be carried out on vertical
spindle moulding machines by using
different spindles, toolholders and cut-
ters, no safeguard can be considered
effective for all conditions.
Each job must be considered separa-
tely and the most suitable protection
used (router guide hood, tenoning
hood, shaping hood).
Use the router rings provided so that
the hole opening on the router table
is reduced to a minimum.
The guard shall enclose the cutters
to the greatest extent according to
the working.
The distance between the fence hal-
ves shall be so large only to permit the
cutter rotation without contact.
The machine is not set up for use of
the driver.
Use the pressers provided, adjusting
them in such a way as to form a tunnel
in which the piece can be introduced.
The following piece may be used to
push the previous one; the last piece
is milled at the end with the aid of a
pusher.
Connect the dust suction hoods to an
adequate suction system, following the
instructions in Chap. 4; suction must
always be activated when the machine
is switched on.
Never open doors or protections
when the machine or the system is
operating.
Many unpleasant experiences have
- 41 -
3.
FRANÇAIS
РУССКИЙ
ESPAÑOL
МЕРЫ ПРЕДОСТОРОЖНОСТИ (ТЕХНИКА БЕЗОПАСНОСТИ) • PRECAUTIONS DE SECURITE
(TRAVAILLER EN SECURITE) • PRECAUCIONES DE SEGURIDAD (MEDIDAS PARA UN TRABAJO SEGURO)
При обращении с инструментами
работать в защитных перчатках.
При установк е инструментов
соблюдать направление обработки.
Н е в к л ю ч а т ь с т а н о к б е з
у с т а н о в л е н н ы х з а щ и т н ы х
ограждений.
Перед началом работы оператор
обязан убедиться, что выбранная
скорость вращения соответствует
типу обработки и характеристиками
инструмента.
Начинать обработку только после
выхода инструмента на рабочий
режим вращения.
Для операций фрезерной обработки,
при которых возможен обратный
выброс заготовки (в частности,
при несквозном фрезеровании),
н е о б х о д и м о и с п о л ь з о в а т ь
устройства защиты от обратного
выброса, рассмотренные в главе 6.
Рекомендуется применять фрезы
с ограничением на глубину съема.
В связи с большим разнообразием
вариантов обработки, которые
можно выполнять на вертикальных
фрезерных станках, используя
р азл и ч н ы е т и п ы ш п и н д ел е й ,
инструментальных оправок и фрез,
не существует единой защиты,
эффективной при всех операциях.
Каждая из операций должна
рассматриваться как независимая,
для нее необходимо использовать
н а и б о л е е
п о д х о д я щ е е
ограждение инструмента (кожух с
направляющими линейками, кожух
для нарезки шипов, кожух для
криволинейного фрезерования по
шаблону).
Использовать прилагаемые к станку
кольца: с их помощью необходимо
сократить до минимума отверстие
в столе для фрезерного шпинделя.
Ограждение должно максимально
закрывать фрезу.
Р а с с т о я н и е м е ж д у д в у м я
элементами направляющей линейки
должно составлять тот минимум,
который необходим для свободного
вращения фрезы.
С т а н о к н е п р ед у с м ат р и в а ет
установку автоподатчика.
И с п о л ь з о в а т ь п р и л а г а е м ы е
к станку прижимы: их следует
настроить таким образом, чтобы они
Ne pas mettre en marche la machine
sans avoir correctement installé
toutes les protections.
L’opérateur doit s’assurer que la
vitesse de rotation adéquate ait
été sélectionnée et que celle-ci
soit appropriée à l’outil utilisé sur la
machine.
Commencer l’exécution uniquement
lorsque les outils ont atteint la vitesse
de régime.
Pour tous les fraisages où il peut y
avoir le rejet de la pièce, en particu-
lier les fraisages interrompus, il faut
utiliser des dispositifs de protection
contre le retour comme décrit au
chap. 6; utiliser des fraises ayant
une limitation de passage.
A cause de la grande variété d’usina-
ges que l’on peut faire sur les toupies
verticales en utilisant différents types
d’arbres, de porte-outils et de frai-
ses, on ne peut considérer comme
effi cace un seul type de protecteur
pour tous ces usinages.
Chaque usinage doit être considéré
séparément et il faut utiliser la pro-
tection la plus indiquée (carter de
protection guidage toupie, carter de
protection pour tenonner, carter de
protection pour façonner).
Utiliser les bagues toupie en dotation
de façon à réduire au minimum l’ou-
verture de l’orifi ce sur le plan toupie.
La protection doit entourer le plus
complètement possible la fraise en
fonction du type d’usinage.
L'espace entre les deux semi-guides
doit être le minimum indispensable
pour faire tourner la fraise sans in-
terférences.
La machine n’est pas prédisposée
pour l’utilisation du dispositif d’en-
traînement.
Utiliser les presseurs en dotation
en les réglant de façon à former un
tunnel dans lequel la pièce peut être
introduite.
La pièce suivante peut être utilisée
pour pousser la pièce précédente, la
dernière pièce sera usinée à la fi n en
utilisant un poussoir.
Raccorder les hottes d’évacuation
des poussières à un système d’aspi-
ration approprié, en respectant les
No arrancar la máquina sin instalar
antes todas las protecciones.
El operador tiene que asegurar que
se haya seleccionado la velocidad
de rotación adecuada, y que sea
adecuada al utensilio utilizado en
la máquina.
Iniciar el trabajo con la máquina
sólo cuando las herramientas hayan
alcanzado su velocidad de trabajo.
En todos los trabajos de fresado en
los que se puede dar el rechazo de la
pieza, en especial fresados interrum-
pidos, hay que emplear dispositivos
de protección antiretorno como se
describe en el cap. 6; usar fresas
con limitación de pasadas.
A causa de la gran variedad de traba-
jos que se pueden hacer con la tupi
vertical utilizando diferentes tipos de
eje, de porta-utensilios y de fresas,
no se puede considerar efi caz un
único tipo de protección para todos
estos trabajos.
Cada trabajo debe ser considerado
en modo independiente y utilizar la
protección más apropiada para el
mismo (protección para guía tupí,
protección para ensamble de espiga,
protección para moldurar).
Utilice los anillos de la buriladora
que se facilitan de manera que la
abertura del orifi cio en la mesa de
la buriladora se reduzca al mínimo.
La protección tiene que envolver lo
más que se pueda la fresa en función
del tipo de trabajo.
El espacio entre las dos semiguías
tiene que ser el mínimo indispen-
sable para hacer rotar la fresa sin
interferencias.
La máquina no está montada para
el uso de la broca.
Utilice los resortes de presión que se
facilitan, ajustándolos de tal manera
que formen un túnel en el que se
pueda insertar la pieza.
La pieza siguiente puede ser utiliza-
da para empujar la pieza precedente,
la última pieza se trabajará al fi nal
utilizando un empujador.
Conectar las campanas de evacu-
ación polvo a un adecuado equipo
de aspiración, siguiendo las indi-
3.
PRECAUZIONI PER LA SICUREZZA • SAFETY PRECAUTIONS
ENGLISH
ITALIANO
– 42 –
grado di provocare gravi infortuni:
prima di iniziare a lavorare, togliersi
monili, orologi o altro.
Serrare bene attorno ai polsi, le
maniche dell’indumento da lavoro,
abbottonandole in modo sicuro.
Togliersi gli indumenti che penzolando,
potrebbero impigliarsi nei GRUPPI IN
MOVIMENTO.
Utilizzare sempre le robuste calzature
da lavoro, previste dalle norme antin-
fortunistiche di tutte le nazioni.
Adottare gli occhiali di protezione.
Usare appropriati sistemi di protezione
per l'udito (cuffi e, tappi, etc.) e per la
polvere (mascherine).
Non permettere alle persone non
autorizzate di riparare od eseguire la
manutenzione o di effettuare qualsiasi
genere di intervento sulla macchina.
Modifi che arbitrarie sulla macchina,
escludono ogni responsabilità del co-
struttore, per i danni che ne possono
derivare.
Effettuare le operazioni di trasporto,
installazione e montaggio, solo da ad-
detti in possesso delle indispensabili
competenze tecniche ed esperienza
in ciascuno dei settori previsti.
L'operatore non deve mai lasciare la
macchina incostudita durante il fun-
zionamento.
Durante la sosta in un ciclo operativo
spegnere la macchina.
In caso di soste protratte, scol- legare
l'alimentazione elettrica generale.
Eseguire periodicamente le operazio-
ne di manutenzione, pulizia e controllo
tempo arresto motori (massimo 10
sec.) come indicato nel cap.7.
shown that anybody may wear objects
which could cause serious accidents.
Therefore, before starting working,
take any bracelet, watch or ring off.
Button the working garment sleeve
well around the wrists.
Take any garment off which, by hang-
ing out, may get tangled in the MOV-
ING UNITS.
Always wear strong working footwear,
as prescribed by the accident-preven-
tion regulations of all countries.
Use protection glasses.
Use appropriate hearing protection
systems (headsets, earplugs, etc.)
and dust protection masks.
Never let unauthorized people repair,
service or operate the machine.
The manufacturer is not responsible
for any damage deriving from arbitrary
modifi cations made to the machine.
Any transport, assembly and disman-
tling is to be made only by trained
staff, who shall have specifi c skill for
the specifi ed operation.
The operator must never leave the
machine unattended during operation.
During any working cycle break, switch
the machine off.
In case of long working cycle breaks,
disconnect the general power supply.
Periodically carry out the maintenance
and cleaning operations and check
the motor stopping time (maximum 10
sec.) as described in Chap. 7.
- 43 -
3.
FRANÇAIS
РУССКИЙ
ESPAÑOL
МЕРЫ ПРЕДОСТОРОЖНОСТИ (ТЕХНИКА БЕЗОПАСНОСТИ) • PRECAUTIONS DE SECURITE
(TRAVAILLER EN SECURITE) • PRECAUCIONES DE SEGURIDAD (MEDIDAS PARA UN TRABAJO SEGURO)
образовывали “туннель”, в который
вводится заготовка.
Для подачи заготовки можно
использовать следующую заготовку.
Последняя заготовка подается
толкателем.
Подсоединить пылеприемники
станка к надлежащей системе
аспирации, как указано в главе 4.
При включении станка должно также
включаться вытяжное устройство.
Ни при каких обстоятельствах не
открывать дверцы или защитные
ограждения работающего станка.
Как показывает горький опыт,
различные предметы, находящиеся
на теле человека, могут явиться
причиной несчастного случая: перед
началом работы снять браслеты,
часы и т.п.
Надежно застегнуть рукава рабочей
одежды.
С н я т ь с в о б од н о с в и с а ю щ и е
предметы одежды, которые могут
быть затянуты ДВИЖУЩИМИСЯ
МЕХАНИЗМАМИ.
Работать в прочной защитной обуви.
Работать в защитных очк ах.
П р и м е н я т ь с р ед с т ва з а щ и т ы
слуха (наушники, беруши и т.п.) и
дыхательных путей (пылезащитные
маски).
Не допускать посторонних лиц
до технического обслуживания,
ремонта станка или работы на нем.
Н е с а н к ц и о н и р о в а н н о е
вмешательство в конструкцию
станка снимает с изготовителя
любую ответственность за ущерб,
который может быть причинен в
результате таких действий.
Транспортировка, установка и
монтаж станка должны выполняться
обученным персоналом, имеющим
опыт работы по соответствующим
специальностям.
Оператор не должен оставлять
работающий станок без присмотра.
Выключать станок на время пауз в
производстве.
В с л у ч а е д о л г о г о п р о с т о я
отсоединить станок от электросети.
Регулярно проводить у борк у,
техническое обслуживание станка,
проверк у времени остановки
д в и гат ел е й ( о н о н е д ол ж н о
превышать 10 с), как указано в
главе 7.
consignes fournies au chapitre 4.
L’aspiration doit toujours être action-
née lors de la mise en fonction de la
machine.
Ne jamais ouvrir les portes ou les
protecteurs avec la machine ou
l’installation en mouvement.
Plusieurs expériences désagréables
ont mis en évidence qu’il y a des ob-
jets qui peuvent blesser gravement
l’opérateur: avant de commencer
les opérations, ôter tout bracelet,
montre, bague.
Serrer bien les manches de votre vê-
tement de travail autour de poignets
et les boutonner d’une façon sûre.
Oter les vêtements qui, en pen-
dant, pourraient s’accrocher aux
GROUPES EN MOUVEMENT.
Utiliser toujours des chaussures
de travail robustes, prévues par les
normes de prévention contre les
accidents de chaque pays.
Adopter des lunettes de protection.
Utiliser des systèmes de protection
appropriés contre le bruit (casque,
tampons, etc.) et contre la poussière
(masque).
Ne pas permettre aux personnes non
autorisées de réparer ni d’entretenir
la machine, ni d’effectuer n’importe
quelle opération sur la machine.
Le fabricant décline toute responsa-
bilité en cas de dommages résultant
de modifi cations arbitraires effec-
tuées sur la machine.
Les opérations de transport, d’in-
stallation et de montage devraient
être effectuées par des opérateurs,
compétents et experts dans tous les
domaines prévus.
L’ouvrier ne doit jamais laisser la
machine sans surveillance pendant
le fonctionnement.
Pendant l’arrêt d’un cycle de travail,
arrêter la machine.
En cas d’arrêts prolongés du fonction-
nement de la machine, déconnecter
l’alimentation électrique générale.
Effectuer périodiquement les opéra-
tions d’entretien, de nettoyage et de
contrôle du temps d’arrêt des moteurs
(maximum 10 secondes) comme indi-
qué au chap. 7.
caciones del cap. 4; la aspiración
debe iniciar contemporáneamente
al encendido de la máquina.
No abrir por ninguna razón los porti-
llos o protecciones con la máquina o
la instalación en movimiento.
Desagradables y numerosas expe-
riencias han evidenciado que en la
persona puede haber varios tipos de
objetos que pueden provocar graves
accidentes: antes de empezar a
trabajar, quitarse la pulsera,el reloj
y el anillo.
Cerrar bien los puños del traje de
trabajo, abrochandolos en modo
seguro.
Quitarse las prendas que cuelgan,
que podrían engancharse en los
GRUPOS EN MOVIMIENTO.
Utilizar siempre calzado resistente
para el trabajo, previsto en las
normas antiaccidentes de todas las
naciones.
Llevar gafas de protección.
Usar apropiados sistemas de pro-
tección para el oído (auriculares,
tapones, etc.) y contra el polvo
(mascarilla).
No se permita a las personas no
autorizadas reparar o efectuar ma-
nutenciones, ni cualquier tipo de
operaciones.
La responsabilidad del fabricante por
daños decade ante modifi caciones
arbitrarias efectuadas a la máquina.
Las operaciones de transporte, insta-
lación y desmontaje, se recomienda
sean hechas solo por un encargado
que posea la competencia técnica
indispensable en cada uno de los
sectores previstos.
El operador no debe descuidar por
ningún motivo la máquina en fun-
cionamiento.
Durante la parada de un ciclo opera-
tivo apagar la máquina.
En caso de paradas prolongadas,
desconectar la alimentación eléc-
trica.
Efectuar periódicamente las opera-
ciones de mantenimiento, limpieza y
control del tiempo de parada de los
motores (máximo 10 seg.) como se
indica en el cap. 7.
3.
PRECAUZIONI PER LA SICUREZZA • SAFETY PRECAUTIONS
ENGLISH
ITALIANO
– 44 –
3.2
RISCHI RESIDUI
Nonostante l'osservanza di tutte le
norme di sicurezza, e l'impiego se-
condo le regole descritte nel presente
manuale, si possono avere ancora dei
rischi residui fra i quali i più ricorrenti
sono:
- contatto con l'utensile
- contatto con le parti in movimento
(cinghie, pulegge, etc..)
- rinculo del pezzo o parti di esso
- infortuni dovuti a schegge o fram-
menti di legno
- eiezione di inserti di utensile
- folgorazione dovuta al contatto con
parti in tensione
- pericolo dovuto al montaggio sba-
gliato dell'utensile
- rotazione inversa degli utensili do-
vuta all'errato collegamento elettrico
Tenete presente che l'uso di qualsiasi
macchina utensile implica dei rischi.
Affrontare ogni tipo di lavorazione
(anche la più semplice) con la giusta
attenzione e concentrazione.
La maggiore sicurezza è nelle vo-
stre mani.
3.2
RESIDUAL RISKS
Despite observance of all the safety
regulations, and use according to the
rules described in this manual, residual
risks may still be present, among which
the most recurring are:
- contact with tool
- contact with moving parts (belts,
pulleys, etc..)
- recoil of the piece or part of it
- accidents due to wood splinters or
fragments
- tool insert ejection
- electrocution from contact with live
parts
- danger due to incorrect tool instal-
lation
- inverse tool rotation due to incorrect
electrical connection
Bear in mind that the use of any ma-
chine tool carries risks.
Use the appropriate care and concen-
tration for any type of machining (also
the most simple).
The highest safety is in your
hands.
- 45 -
3.
FRANÇAIS
РУССКИЙ
ESPAÑOL
МЕРЫ ПРЕДОСТОРОЖНОСТИ (ТЕХНИКА БЕЗОПАСНОСТИ) • PRECAUTIONS DE SECURITE
(TRAVAILLER EN SECURITE) • PRECAUCIONES DE SEGURIDAD (MEDIDAS PARA UN TRABAJO SEGURO)
3.2
ОСТАТОЧНЫЕ
ОПАСНОСТИ
Даже при с облюдении всех
правил техники безопасности
и и с п ол ь з о в а н и и с т а н к а в
с о от ветс т в и и и н с т ру к ц и я м и
н а с т о я щ е г о р у к о в о д с т в а ,
в процессе эксплуатации по-
п р е ж н е м у с о х р а н я ю т с я
некоторые опасности. Наиболее
с у щ е с т в е н н ы м и с р ед и н и х
являются следующие:
-контакт с инструментом
-контакт с движущимися частями
(ремнями, шкивами и т.п.)
-выброс заготовки или ее частей
-поражение щепой и фрагментами
заготовки
-вылет фрагментов инструмента
- уд а р эл е к т р и ч е с к и м то к о м
при контакте с частями под
напряжением
- о п а с н о с т и , о бус л о вл е н н ы е
неверным монтажом инструмента
-обратное вращение инструмента
из-за неправильного подключения
станка к электросети
Необходимо иметь в виду, что
работа на любом станке сопряжена
с опасностью.
Проявляйте должное внимание
и бдительность при выполнении
любой, даже самой простой,
операции.
Ваша безопасность находится в
Ваших собственных руках!
3.2
RISQUES RESIDUELS
Même si l’on respecte toutes les
consignes de sécurité et que l’utili-
sation est conforme aux indications
fournies dans cette notice, il reste
malgré tout des risques résiduels
qui sont le plus souvent:
- le contact avec l’outil ;
- contact avec les parties en mou-
vement (courroies, poulies, etc.);
- le recul de la pièce ou d’une partie
de cette dernière ;
- les accidents provoqués par des
éclats ou des morceaux de bois;
- éjection d’éléments d’outil
- électrocution due au contact avec
les parties sous tension
- danger dû au mauvais montage de
l’outil
- rotation inverse des outils due au
mauvais branchement électrique
- le danger de respirer de la pous-
sière si l’on travaille sans aspira-
teur.
Ne jamais oublier que l’utilisation
de toute machine outil implique des
risques pour l’utilisateur.
Tout type d’usinage doit être exécuté
(même le plus simple) avec la plus
grande attention et concentration.
Votre sécurité ne dépend que de
vous.
3.2
RIESGOS RESIDUOS
No obstante la observación de todas
las normas de seguridad y el empleo
de la máquina según las indicaciones
descritas en el presente manual, aún
pueden existir riesgos residuos entre
los cuales los más comunes son los
siguientes:
- contacto con la herramienta
- contacto con las partes en movi-
miento (correas, poleas, etc.)
- retroceso de la pieza o partes de
la misma
- accidentes debidos a astillas o
fragmentos de madera
- expulsión de piezas de herramien-
ta
- fulguración debida al contacto con
piezas bajo tensión
- peligro debido al montaje erróneo
de la herramienta
- rotación inversa de las herramien-
tas debido a una conexión eléctrica
errónea
Tener en consideración que el uso
de cualquier máquina-herramienta
comporta algunos riesgos.
Afrontar todo tipo de trabajo (aun
el más sencillo) con la atención y
concentración debidas.
La mayor seguridad se encuentra
en vuestras manos.
3.
PRECAUZIONI PER LA SICUREZZA • SAFETY PRECAUTIONS
ENGLISH
ITALIANO
– 46 –
E
F
A
B
C
040_072_0.tif
2
1
028_074_0.tif
G
3.3. SEGNALI DI SICUREZZA
E DI INFORMAZIONE
Questi segnali sono applicati sulla
macchina; in alcuni casi indicano
possibili situazioni di pericolo, in
altri servono come indicazione.
Prestare sempre la massima
attenzione; a fi anco di ognuno di
essi è specifi cato il loro signifi cato.
SEGNALI DI SICUREZZA (FIG.1)
Indicano possibili situazioni di
pericolo:
A - SEGNALE DI AVVERTENZA:
Utilizzare i guanti per maneg-
giare gli utensili.
B - Pericolo di taglio arti supe-
riori (utensili in movimento):
non introdurre le mani nella
zona di taglio.
C - Pericolo di shock elettrico:
non accedere alla zona con
macchina in tensione.
SEGNALI DI INFORMAZIONE
(FIG.2)
Indicano le caratteristiche tecni-
che, sensi di rotazione o inclina-
zione, bloccaggi e sbloccaggi, etc.
Seguire attentamente le loro indi-
cazioni in quanto semplifi cano l'u-
so e le regolazioni della macchina.
I segnali sono graficamente
descrittivi e non necessitano di
ulteriori spiegazioni.
Di seguito è specifi cato il signi-
ficato di alcuni segnali di non
immediata comprensione.
E -
Indica il senso di rotazione
dell'utensile.
F -
Simbolo di bloccaggio.
G -
Indica che ogni giro completo
del volantino sollevamento
toupie corrisponde a 1,5 mm di
movimento verticale dell'albero
toupie.
3.3. SAFETY AND INFORMA-
TION SIGNALS
This signals are applied on the
machine; in some cases they indi-
cate possible danger conditions,
in others they serve as indication.
Always take the utmost care; the
meaning of each one of them is
specifi ed next to it.
SAFETY SIGNALS (FIG.1)
Indicate possible danger situations:
A - WARNING SIGNAL:
Wear
gloves to handle the tools.
B - Danger of cutting the upper
limbs (moving tools):
do not
insert the hands in the cutting
area.
C - Danger of electric shock:
do
not access the area when the
machine is powered.
INFORMATION SIGNALS (FIG.2)
Indicate the technical characte-
ristics, direction of rotation and
inclination, block and release, etc.
Carefully following the directions to
simply the use and adjustment of
the machine.
The signals are graphically de-
scribed and do not require further
explanation.
Following is the meaning of some
of the signals that are not readily
identifi able.
E
- Indicates the tool rotation direc-
tion.
F
-Locking symbol.
G -
Indicates that every complete
turn of the spindle raising han-
dwheel moves the spindle shaft
vertically by 1.5 mm.
- 47 -
3.
FRANÇAIS
РУССКИЙ
ESPAÑOL
МЕРЫ ПРЕДОСТОРОЖНОСТИ (ТЕХНИКА БЕЗОПАСНОСТИ) • PRECAUTIONS DE SECURITE
(TRAVAILLER EN SECURITE) • PRECAUCIONES DE SEGURIDAD (MEDIDAS PARA UN TRABAJO SEGURO)
3.3. ИНФОРМИРУЮЩИЕ И
ПРЕДОСТЕРЕГАЮЩИЕ
ЗНАКИ
Эти знаки размещены на станке
и служат для предупреждения
об опасностях или сообщения
важной информации.
Тщательно следуйте предписаниям
знак ов. Содержание знак ов
расшифровывается ниже.
ПРЕДОСТЕРЕГАЮЩИЕ ЗНАКИ
(РИС. 1)
Указывают на опасности:
A -
ПРЕДПИСЫВАЮЩИЙ ЗНАК:
П р и
о б р а щ е н и и
с
и н с т рум е н та м и р а б ота в
защитных перчатках.
B - О п а с н о с т ь п о р е з а р у к
(движущийся инструмент)
:
не располагать руки в зоне
в о з д е й с т в и я р е ж у щ е г о
инструмента.
C - О п а с н о с т ь п о р а ж е н и я
э л е к т р и ч е с к и м т о к о м
:
не работать в этой зоне,
когда станок находится под
напряжением.
ИНФОРМИРУЮЩИЕ ЗНАКИ
(РИС. 2)
Эти знаки указывают технические
характеристики, направление
вращения элементов станка,
п о р я д о к б л о к и р о в к и и
разблокировки устройств и т.д.
Следуйте их указаниям, поскольку
они помогают облегчить работу
и наладку станка.
З н а к и п р ед с та вл я ют с о б о й
понятные рисунки и не требуют
дальнейших пояснений.
Далее объясняется смысл лишь
тех из них, значение которых
не очевидно.
E - Н а п р а вл е н и е в р а щ е н и я
инструмента.
F - Символ блокировки.
G - И н ф о р м а ц и я о то м , ч то
о д и н о б о р о т м а х о в и ч к а
вертикальной регулировки
соответствует перемещению
фрезерного шпинделя на 1,5
мм.
3.3. SIGNALISATIONS DE SE-
CURITE ET D’INFORMA-
TION
Ces signalisations sont appliquées
sur la machine ; dans certains cas,
elles indiquent des situations de
danger possible, dans d’autres elles
servent d’indication.
Prêter une attention particulière : leur
signifi cation est spécifi ée à côté de
chacune d’entre elles.
SIGNALISATIONS DE SECURITE
(FIG.1)
Indiquent les situations de danger
possibles :
A - SIGNALISATIONS D’AVER-
TISSEMENT :
Utiliser les gants pour manipuler
les outils.
B - Danger d’amputation des
membres supérieurs (outils en
mouvement):
ne pas introduire les mains dans
la zone de coupe.
C - D a n g e r d ’ é l e c t r o c u t i o n :
ne pas accéder à la zone avec
la machine sous tension.
SIGNALISATIONS D’INFORMA-
TION (FIG.2)
Indiquent les caractéristiques tech-
niques, les sens de rotation ou
d'inclinaison, les blocages et déblo-
cages, etc.
Suivre attentivement leurs indica-
tions car elles simplifi ent l'utilisation
et les réglages de la machine.
Les signaux sont décrits graphi-
quement et n'ont besoin d'aucune
explication supplémentaire.
La signifi cation de certains signaux
qui ne sont pas immédiatement com-
préhensibles est fournie ci-dessous.
E -
Indique le sens de rotation de
l’outil.
F -
Symbole de blocage.
G -
Indique qu'un tour complet du vo-
lant élévation toupie correspond
à 1,5 mm de mouvement vertical
de l'arbre toupie.
3.3. SEÑALES DE SEGURIDAD
E INFORMACIÓN
Estas señales se aplican a la
máquina; en algunos casos indican
posibles condiciones de peligro y en
otros casos informan.
Actúe siempre con la máxima pre-
caución; al lado de cada señal se
detalla su signifi cado.
SEÑALES DE SEGURIDAD (FIG.1)
Indican posibles situaciones de
peligro:
A - SEÑAL DE ADVERTENCIA:
Ponerse guantes para manejar
las herramientas.
B - Peligro de corte de los miem-
bros superiores (herramientas
móviles)
: no coloque las manos
en la zona de corte.
C - Peligro de shock eléctrico:
no acceda al área cuando la
máquina esté encendida.
SEÑALES DE INFORMACIÓN
(FIG. 2)
Indican las características técnicas
como sentidos de rotación o inclina-
ción, bloqueos y desbloqueos, etc.
Seguir atentamente sus indicaciones
puesto que simplifi can la utilización y
el proceso de ajuste de la máquina.
Las señales son gráficamente
descriptivas y no precisan otras
explicaciones.
A continuación se especifi ca el signi-
fi cado de algunas de las señales que
pueden resultar incomprensibles.
E -
Indica la dirección de rotación de
la herramienta.
F -
Símbolo de bloqueo.
G -
Indica que cada vuelta completa
del volante levantamiento toupie
corresponde a 1,5 mm de movi-
miento vertical del eje toupie.
4.
INSTALLAZIONE • INSTALLATION
ENGLISH
ITALIANO
– 48 –
040_011_2.tif
E
1
A
E
E
D
B
C
4.1. LIFTING AND UNLOA-
DING
Lifting and handling should only
be carried out by skilled personnel
specially trained to execute this
kind of operations.
During loading and unloading,
avoid knocks to prevent damages
to persons or things.
Make sure no one is standing
under the overhung load and/or
within the bridge crane working
range during machine lifting and
handling.
Lifting may be carried out by bridge
crane or self-propelled lift truck.
Before starting the manoeuvres,
free the machine of all the parts
used for transport or packaging that
have remained on the machine.
Check that the capacity of the
hoisting means is greater than
the gross weight of the machine
indicated in fi g. 1.
– Provide a fork lift truck
A
having
suitable carrying capacity;
– Insert the forks
B
as per the fi gu-
re (keeping them alongside the
two feet
E
) and check that these
protrude at least 15 cm from the
rear part of the base.
If lifting with a hook, open the
holes already prepared and
indicated by the plate as shown in
the fi gure.
If a bridge crane or a crane is avail-
able, proceed as follows:
– arrange appropriate lifting belts
C
of the same length (approxi-
mately 2000 mm) of suitable
capacity;
– fasten the slings to the bridge
crane
D
having adequate lifting
power;
– lift the slings and position them
as is shown in the fi gure1;
– move the bridge crane by small
steps to allow the slings
C
to set-
tle, until optimum stability fl oor.
4.1. SOLLEVAMENTO E
SCARICO
Le operazioni di sollevamento
e movimentazione devono
essere eseguite dal personale
specializzato ed addestrato a
questo tipo di manovre.
Durante la fase di carico e scarico
occorre evitare urti al fi ne di
evitare danni alla macchina e
alle persone. Nessuna persona
dovrà trovarsi in prossimità del
carico sospeso e/o comunque nel
raggio d’azione del carro ponte
durante la fase di sollevamento e
movimentazione della macchina.
Il sollevamento si può effettuare
tramite carro ponte o carrello
elevatore semovente. Prima di
cominciare le manovre, liberare la
macchina di tutte le parti che, per
esigenze di trasporto o imballag-
gio, risultino appoggiate su di essa.
Controllare che la portata del mez-
zo di sollevamento sia adeguata al
peso lordo della macchina indicato
in fi g.1.
– Predisporre un carrello elevatore
A
di portata adeguata;
– inserire le forche
B
come da
fi gura (tenendole accostate ai
due piedi
E
) e verifi care che
queste fuoriescano di almeno
15 cm dalla parte posteriore del
basamento.
In caso di sollevamento con
gancio è necessario aprire
le forature già predisposte e
segnalate dall'apposita targhetta
come indicato in fi gura.
Qualora si disponga di carro ponte
o gru procedere come segue:
– predisporre le apposite cinghie
di sollevamento
C
di ugual lun-
ghezza (circa 2000 mm) aventi
portata adeguata;
– agganciare le cinghie al carro
ponte
D
di portata adeguata;
– sollevare le cinghie e posizio-
narle come rappresentato in
fi gura 1;
– procedere all’assestamento del-
le cinghie
C
, muovendo il carro
ponte con brevi spostamenti fi no
al raggiungimento della condizio-
ne di stabilità ottimale;
– 49 –
4.
FRANÇAIS
РУССКИЙ
ВВОД В ЭКСПЛУАТАЦИЮ • INSTALLATION • INSTALACION
ESPAÑOL
4.1. ПОДЪЕМ И ВЫГРУЗКА
Операции подъема и
перемещения станка должны
выполняться опытным
специализированным
персоналом.
Во избежание травм персонала и
повреждения станка при подъеме
и выгрузке избегать столкновения
груза с окружающими
предметами. Нахождение людей
вблизи подвешенного груза
и в зоне действия мостового
крана во время выгрузки станка
запрещено.
Для подъема станк а можно
использовать мостовой кран или
самоходный вилочный погрузчик.
Перед началом работы следует
снять со станка все части,
которые для удобства упаковки и
транспортировки были уложены
на его корпусе.
Убедиться, что грузоподъемность
п о д ъ е м н о г о м е х а н и з м а
п р е в ы ш а ет в е с с т а н к а с
упаковкой, указанный на рис. 1.
– Подготовить к работе погрузчик A
надлежащей грузоподъемности;
– Разместить вилы B, как показано
на рисунке (располагая их как
можно ближе к опорам E), и
убедиться, что они выходят
с противоположной стороны
станины не менее чем на 15 см.
При подъеме с использованием
строп необходимо открыть
предусмотренные на корпусе
станка отверстия, помеченные
соответствующими знаками, как
показано на рисунке.
Если в распоряжении имеется
мостовой или обычный кран,
действовать следующим образом:
– выбрать стропы C одинаковой длины
(примерно 200 мм) и надлежащей
грузоподъемности;
– зацепить стропы за крюк крана D
надлежащей грузоподъемности;
– поднять стропы и разместить их, как
показано на рис. 1;
– посредством коротких перемещений
крюка мостового крана перевести
стропы C в положение максимального
равновесия;
4.1. LEVAGE ET DECHARGE-
MENT
Les opérations de levage et de
manutention de la machine doivent
être effectuées par du personnel
qualifi é et entraîné à ce genre de
manoeuvres.
Pendant la phase de chargement
et de déchargement de la machine
il faut éviter tout choc pouvant
endommager la machine ou blesser
des personnes. Personne ne
devra se trouver près de la charge
suspendue et/ou en tout cas dans
le rayon d’action du pont roulant
pendant la phase de levage et de
manutention de la machine.
Le levage peut s’effectuer à l’aide
d’un pont roulant ou d’un chariot
élévateur motorisé. Avant de com-
mencer les manoeuvres, il faut déga-
ger la machine de tous les éléments,
qui pour le transport ou l’emballage,
se trouvent sur cette dernière.
Contrôler que la capacité de l’engin
de levage est supérieure au poids
brut de la machine, indiqué à la fi g.1.
– Préparer un chariot élévateur
A
ayant une capacité de charge
convenable;
– introduire les fourches
B
comme
le montre la fi gure (elles doivent
être près des deux pieds
E
), puis
contrôler qu’elles dépassent d’au
moins 15 cm sur l’arrière du bâti.
En cas de levage avec crochet, il
est nécessaire ouvrir les ouvertures
déjà présentes et signalées par la
plaquette signalétique appropriée,
comme indiqué sur la fi gure.
En cas de pont roulant ou de grue,
procéder de la façon suivante:
– disposer les courroies de levage
spécifi ques
C
de longueur égale
(environ 2000 mm) ayant une por-
tée adéquate;
– accrocher les élingues au pont
roulant
D
ayant une capacité de
charge convenable;
– soulever les élingues et les posi-
tionner comme le montre la fi gure
1;
– régler les élingues
C
, en bougeant
le pont roulant par de brefs dépla-
cements jusqu’à ce qu’on atteigne
la condition optimum de stabilité;
4.1. ELEVACION Y ESCARGA
Las operaciones de elevación
y desplazamiento deben
ser efectuadas por personal
especializado, que tenga la
formación idónea para este tipo de
maniobras.
Durante la fase de carga y descarga
es necesario manejar la máquina
evitando choques, con el fi n de
prevenir daños a la máquina o a la
personas. Nadie debe encontrarse
cerca de la carga colgada y/o en
el radio de acción del puente-grúa
durante la fase de elevación y
desplazamiento de la máquina.
La elevación puede efectuarse me-
diante una grúa de puente o carretilla
elevadora semoviente. Antes de
comenzar las maniobras, extraer de
la máquina todas aquellas partes
que, por exigencias de transporte o
embalaje, resulten apoyadas sobre
la misma.
Controlar que la capacidad del medio
de elevación sea superior al peso
bruto de la máquina, indicado en
la fi g.1 .
– Preparar una carretilla elevadora
A
que tenga una capacidad adecua-
da;
– introducir las horcas
B
como está
indicado en la fi gura (mantenién-
dolas a los lados de los dos pies
E
) y controlar que las mismas
sobresalgan al menos 15 cm de
la parte trasera de la base.
Si se eleva mediante un gancho,
abrir los orifi cios ya preparados e
indicados por la placa tal y como se
muestra en la fi gura.
En caso de puente-grúa o grúa, obrar
como está indicado a continuación:
– predisponer las correspondientes
correas de levantamiento
C
de la
misma longitud (2000 mm aproxi-
madamente) que tengan el alcance
adecuada;
– enganchar las correas al puente-
grúa
D
de capacidad idónea;
– elevar las correas y colocarlas como
está ilustrado en la fi gura 1;
– ajustar las correas
C
desplazando
el puente-grúa por medio de movi-
mientos breves hasta alcanzar la
estabilidad óptima;
ВНИМАНИЕ
ИНФОРМАЦИЯ
4.
INSTALLAZIONE • INSTALLATION
ENGLISH
ITALIANO
– 50 –
040_088_0.tiff
2
– sollevare lentamente e movi-
mentare con la massima cautela
evitando le oscillazioni anche mi-
nime e posizionare la macchina
nella zona di lavoro prestabilita;
– rimuovere dai piani e da tutte le
superfi ci non verniciate, lo strato
di cera protettiva, utilizzando
solamente kerosene o derivati.
Non utilizzare solventi, benzina
o gasolio, che possono intaccare
la vernice opacizzandola o pro-
durre ossidazione nelle diverse
parti.
4.2. ZONA DI INSTALLAZIO-
NE - CARATTERISTICHE
(fi g. 2)
E' vietato installare la macchina
in ambienti esplosivi.
La zona di installazione deve es-
sere scelta valutando lo spazio di
lavoro in funzione delle dimensioni
dei pezzi da lavorare e tenendo
presente che attorno alla mac-
china deve rimanere uno spazio
di almeno 800 mm.
Verifi care inoltre la portata del so-
laio e la superfi cie del pavimento,
affi nché il basamento possa ap-
poggiare uniformemente in piano
sui quattro punti.
La zona prestabilita dovrà disporre
di una presa di distribuzione dell’e-
nergia elettrica, di un raccordo
dell’impianto di aspirazione dei
trucioli e dovrà essere adeguata-
mente illuminata (intensità lumi-
nosa: 500 LUX).
– lift carefully and slowly, without
causing the load to swing, and
place the machine in the selected
setting;
– remove the protective wax coat
from all tables and unpainted
surfaces, using kerosene or its
derivative products.
Do not use any solvent, petrol or
gas oil, which might dull the paint
or oxidate machine parts.
4.2. INSTALLATION AREA -
CHARACTERISTICS
(fi g.2)
It is prohibited to install
the machine in explosive
environments.
The installation zone must be se-
lected evaluating the work space
required depending on the dimen-
sion of the pieces to be machined,
and taking into account that a free
space of at least 800 mm must be
left around the machine.
It is also necessary to check the
fl oor capacity and its surface, so
that the machine base is evenly
resting on its four supports.
A power outlet and a chip-suction
system connection shall be close
to the selected machine setting
and it must be conveniently lighted
(luminous intensity: 500 LUX).
– 51 –
4.
FRANÇAIS
РУССКИЙ
ВВОД В ЭКСПЛУАТАЦИЮ • INSTALLATION • INSTALACION
ESPAÑOL
– медленно поднять и осторожно,
избегая раск ачивания груза,
переместить станок в место,
выбранное для его установки;
– удалить с о стол ов и других
неокрашенных поверхностей слой
защитного воска, используя керосин
или его производные.
Не использовать растворителей,
бензина, солярки, так как они могут
вызвать помутнение лакокрасочного
покрытия и привести к окислению
поверхностей.
4.2. ЗОНА УСТАНОВКИ -
ТРЕБОВАНИЯ (рис. 2)
Запрещается устанавливать
станок во взрывоопасных
помещениях.
Для выбора зоны для установки
станк а необходимо сделать
оценку требуемого рабочего
пространства с учетом размеров
обрабатываемых заготовок. При
этом следует предусмотреть
свободное пространство вокруг
станка не менее 800 мм.
Та к ж е с л е д у е т п р о в е р и т ь
максимально допустимую нагрузку
на перекрытие и качество пола:
станина должна опираться на
него равномерно всеми четырьмя
опорами.
В выбранной зоне должна иметься
розетка электросети и выход
аспирационной системы. Зона
должна хорошо освещаться
(освещенность 500 люкс).
– soulever lentement et manuten-
tionner la charge en faisant très
attention et en évitant jusqu’aux
moindres oscillations, puis posi-
tionner la machine dans la zone
de travail établie;
– enlever la couche de cire de pro-
tection des surfaces non laquées
utilisant du kérosène ou dérivés.
Ne pas utiliser de solvants, d’essen-
ce ou de gazole, qui peuvent manger
la peinture en la rendant mate ou
produire l’oxidation des différentes
parties.
4.2. EMPLACEMENT POUR
L’INSTALLATION - CA-
RACTERISTIQUES (fi g. 2)
Il est interdit d’installer la machine
dans des endroits où il y a des
risques d’explosion.
La zone d’installation doit être choisie
en évaluant l’espace de travail en
fonction des dimensions des pièces
à usiner, sans oublier qu’autour de la
machine il faut qu’il y ait un espace d’au
moins 800 mm.
Vérifi er aussi la capacité de charge du
plancher, ainsi que la surface du sol,
afi n que la base de la machine puisse
appuyer uniformément à plat sur les
quatre points.
La zone susmentionnée devra avoir
une prise de distribution de l'energie
électrique, un raccord de l'installa-
tion d'aspiration des coupeaux et
elle devra être éclairée de manière
adéquate (min.intensité lumineuse
recommandée: 500 LUX).
– elevar lentamente y desplazar la
carga con mucho cuidado evitando
las oscilaciones, aunque mínimas,
y colocar la máquina en la zona de
trabajo elegida;
– remover de los planos y de todas
las superficies no pintadas, la
capa de cera protectora, utilizando
únicamente queroseno o productos
derivados.
No utilizar solventes, gasolina o
gas-oil, que pueden corroer la
pintura opacándola o producir la
oxidación de las distintas partes.
4.2. ZONA DE INSTALACION
- CARACTERISTICAS (fi g.
2)
Está prohibido instalar la máquina
en lugares explosivos.
La zona de instalación debe ser se-
leccionada considerando el espacio
de trabajo en base a las dimensiones
de las piezas a elaborar y teniendo
presente que alrededor de la máqui-
na debe quedar un espacio de al
menos 800 mm.
Controlar la capacidad del pavimento
y de la superfi cie del piso, ya que la
base debe apoyar uniformemente
sobre los cuatro puntos.
La zona elegida debe tener una
toma de distribución eléctrica cerca
de una conexión de la instalación
de aspiración virutas y deberá tener
una iluminación idónea (intensidad
luminosa: 500 LUX).
ВНИМАНИЕ
4.
INSTALLAZIONE • INSTALLATION
ENGLISH
ITALIANO
– 52 –
040_012_1.tif
4
A
B
A
B
040_098_0.tif
3
Ambiente.
La macchina può lavorare nelle
seguenti condizioni ambientali.
Umidità:
max. 90%.
Temperatura:
Min. +1 grado Max.
+40 gradi.
Altitudine:
max. 1000 m s.l.m.
(oltre questa quota consultare il
costruttore).
Collegare sempre la macchina
all'impianto d'aspirazione che
deve essere suffi cientemente
dimensionato
.
La macchina può lavorare solo in
ambienti chiusi.
La macchina è destinata ad
essere utilizzata in un ambiente
industriale.
Questa macchina non può lavora-
re in ambienti esplosivi.
4.3. INSTALLAZIONE PARTI
SMONTATE -
PREMESSA
Togliere la vite A (fi g. 3) che
blocca il piano a fi lo per le
operazioni di trasporto.
Alcuni elementi della macchina
risulteranno smontati dalla struttura
principale della macchina, per esi-
genze di imballaggio e trasporto.
Procedere alla loro installazione
come descritto di seguito.
4.3.1 Ruote di spostamento -
Montaggio (fi g.4)
Il gruppo ruote è composto da :
- 2 ruote fi sse (A)
- 1 leva di spostamento (B).
- utilizzare la leva
B
per sollevare
leggermente il basamento della
macchina
- innestare la testa della vite
presente sulle ruote fi sse
A
alle
forature dei piedi del basamento
come indicato in fi gura.
- spostare la leva
B
dalla parte
opposta della macchina, inserire
la leva nell’apposito attacco e
procedere alla movimentazione
della macchina.
Working enviroment.
The machine can work under these
conditions:
Max. humidity 90%
Temperature: Min. +1° C Max.
+40° C
Max. altitudine sea level: 1000 m
(in case of higher altitude apply to
the machine manufacturer)
Always connect the machine to the
suction system.
The machine may not be used in
the open air.
The machine was designed for
industrial use.
The machine may not operate in
explosive rooms.
4.3. INSTALLATION OF DI-
SASSEMBLED PARTS
- INTRODUCTON
Remove the
screw
C (fi g. 3)
fastening the surface tables
during transport operations.
A few machine elements will be
disassembled from the machine
main structure due to packaging
and shipping requirements.
These loose parts should be in-
stalled as follows.
4.3.1 Displacing wheels - As-
sembly (fi g. 4)
The wheel unit consists of:
-
2 fi xed wheels
(
A
)
-
1 lever
(
B
).
- use lever
B
to lift machine base
slightly
- engage head of screw on fi xed
wheel
A
in base feet hole as
indicated in the fi gure.
- move lever
B
from opposite side
of machine, insert lever in relative
attachment and move the machi-
ne.
– 53 –
4.
FRANÇAIS
РУССКИЙ
ВВОД В ЭКСПЛУАТАЦИЮ • INSTALLATION • INSTALACION
ESPAÑOL
ОКРУЖАЮЩАЯ СРЕДА
Станок должен функционировать в
следующих условиях окружающей
среды.
Влажность: макс. 90%
Температура: Мин. + 1 градус
Макс. +40 градусов
Возвышенность: макс. 1000 м над
уровнем моря (для других отметок
роконсультироваться с
производителем)
Всегда подключать к станку
вытяжное оборудование, которое
д о л ж н о б ы т ь д о с т а т о ч н ы х
размеров.
Станок должен функционировать
только в закрытых условиях.
С т а н о к п р е д н а з н а ч е н д л я
использования в промышленных
условиях.
Данный станок не может
работать во
взрывоопасных условиях.
4.3. МОНТАЖ НЕ
СМОНТИРОВАННЫХ
ЧАСТЕЙ -
ПРЕДВАРИТЕЛЬНЫЕ
СВЕДЕНИЯ
Удалить болт A (рис. 3), служащий
для фиксации фуговального
стола на время транспортировки.
Д л я уд о б с т в а у п а к о в к и и
транспортировки нек оторые
части станка поставляются не
смонтированными.
Их монтаж производится, как
описано ниже.
4.3.1 Колеса для перемещения
- Монтаж (рис. 4)
Узел состоит из следующих
элементов:
- 2 неповоротных колеса (A)
- 1 транспортный рычаг (B).
-
С л е г к а п р и п о д н я т ь
станину при помощи рычага B.
-
Вставить головки винтов,
находящихся на неповоротных
колесах A, в отверстия опор
станины, как показано на рисунке.
-
Извлечь рычаг B и вставить
его в соответствующее гнездо на
противоположной стороне станка
- теперь можно приступить к
перемещению станка.
Environnement
La machine peut travailler dans
les conditions d'environnement
suivantes.
Humidité:
max. 90%
Température:
Min. +1° C Max. +40° C
Altitude:
max. 1000 m au-dessus du
niveau de la mer (au-delà de cette
cote consulter le constructeur).
La machine peut travailler unique-
ment en milieux fermés.
La machine est destinée à être utili-
sée en milieu industriel.
Cette machine ne peut travailler en
milieux explosifs.
4.3. INSTALLATION PARTIES
DÉMONTÉES -
INTRODUCTION
Enlever les vis C (fi g. 3) bloquant
les tables de dégauchissage pour
les opérations de transport.
Pour des raisons d’emballage et
de transport, quelques pièces sont
démontées de la structure principale
de la machine.
Procéder à leur installation comme
décrit ci de suite.
4.3.1 Roues de deplacement -
Montage (fi g. 4)
Le groupe roues est composé de :
- 2 roues fi xes (A)
- 1 levier de déplacement (B).
- utiliser le levier
B
pour soulever
légèrement le bâti de la machine
- introduire la tète de la vis se trou-
vant sur les roues fi xes
A
dans
les trous des pieds du bâti comme
indiqué sur la fi gure.
- déplacer le levier
B
du côté opposé
de la machine, insérer le levier
dans l’attache et procéder à la
manutention de la machine.
Ambiente
La máquina puede trabajar en las
siguientes condiciones ambientales:
Humedad: max. 90%
Temperatura: Min. +1 grado Max.
+40 grados
Altitud: max 1000 m s.n.m. (más allá
de esta cota consulta al constructor)
Conectar siempre la máquina con la
instalación de aspiración que tiene
que ser dimensionada
adecuadamente (ver párrafo 4.5).
La máquina puede trabajar solamen-
te en ambientes cerrados.
La máquina tiene que ser utilizada
en un ambiente industrial.
Esta máquina no puede trabajar en
ambientes con peligro de explosión.
4.3. INSTALACION DE LAS
PARTES DESMONTADAS -
INTRODUCCION
Sacar los tornillos C (fi g. 3) que
sujetan los planos de eje vertical
para las operaciones de transporte.
Algunos elementos de la máquina
serán desmontados de la estructura
principal de la máquina por exigen-
cias de embalaje y de transporte.
Instalar los elementos desmontados
como se explica a continuación.
4.3.1 Ruedas de desplazamiento -
Montaje (fi g. 4)
El grupo ruedas está compuesto por :
- 2 ruedas fi jas (A)
- 1 palanca de desplazamiento (B).
- utilice la palanca
B
para levantar
ligeramente la base de la máquina
- introduzca la cabeza del tornillo
presente en las ruedas fi jas
A
en
los orifi cios de los pies de la base
tal y como indica la fi gura.
- desplace la palanca
B
por la parte
opuesta de la máquina, intro-
duzca la palanca en la conexión
correspondiente y proceda con el
desplazamiento de la máquina.
ИНФОРМАЦИЯ
4.
INSTALLAZIONE • INSTALLATION
ENGLISH
ITALIANO
– 54 –
040_084_0.tif
5
A
C
A
B
A
C
A
B
D
040_013_1.tif
6
A
C
B
D
G
E
F
4.3.2 Pianetto Vagone - Mon-
taggio (fi g.5)
Per l'installazione del vagone
procedere come segue:
– Svitare le due viti
A,
la vite
B
e
il controdado
C
.
– Posizionare il pianetto come
indicato in fi gura, rimontare le
viti
A
,
B
e il contradado
C
.
Assicurarsi che fra testa vite
B
e
il controdado
C
rimanga uno spa-
zio suffi ciente per assicurare una
corretta chiusura della levetta
D
.
4.3.3 Pianetto di squadro -
Installazione (fi g. 6)
– Montare il pianetto
A
inserendo
il lardone
B
nella scanalatura del
vagone
C
;
– Serrare le leve
D
.
– il piano è già registrato ; per
ulteriori regolazioni procedere
come di seguito indicato:
– allentare le leve
D
;
– agire sui grani
E
per regolare il
parallelismo al vagone;
– allentare le viti
F
e agire sui grani
G
per regolare la posizione in
altezza.
4.3.2 Slide table - Assembly
(fi g.5)
To install proceed as follows:
– Unscrew the two screws
A
, the
screw
B
and the lock nut
C
.
– Position the table as illustrated,
refi t the screws
A
,
B
and tighten
the lock nut
C
.
Make sure that between the head
of the screw
B
and the lock nut
C
you leave enough space to guaran-
tee correct lever
D
closing.
4.3.3 Squaring table -
Installation (fi g. 6)
– Mount the attachment
A
insert-
ing the gib
B
in the groove of the
wagon
C
;
– Tighten the lever
D
.
– the table has already been
adjusted; to adjust proceed as
follows:
– loosen levers
D
;
– adjust the dowels
E
to ensure the
table is parallel to the wagon;
– loosen screws
F
and move the
dowels
G
to adjust the height
position.
– 55 –
4.
FRANÇAIS
РУССКИЙ
ВВОД В ЭКСПЛУАТАЦИЮ • INSTALLATION • INSTALACION
ESPAÑOL
4.3.2 Стол каретки - Монтаж
(рис.5)
Для установки действовать в
следующем порядке:
–
Отвинтить пару винтов A,
винт B и контргайку C.
–
Разместить стол, к ак
показано на рисунке, и установить
в исходное положение винты A, B
и контргайку C.
Убедиться, что между головкой
в и н т а B и к о н т р г а й к о й C
остается достаточный зазор для
возможности надежного закрытия
крюка D.
4.3.3 Форматный стол -
Монтаж (рис. 6)
– Установить стол A, вставив
направляющую планку B в паз
каретки C;
– Затянуть фиксаторы D.
– Стол уже был настроен. При
необходимости дополнительной
н а с т р о й к и д е й с т в о в ат ь в
следующем порядке:
– ослабить фиксаторы D;
– в ы с т а в и т ь с т о л в о д н о й
плоскости с кареткой при помощи
регулировочных винтов E;
– отрегулировать вертикальное
положение стола винтами G,
предварительно ослабив винты
F.
4.3.2 Tablette Wagon - Montage
(fi g.5)
Pour l'installation, procéder comme
suit :
– Dévisser les deux vis
A
, la vis
B
et
le contre-écrou
C
.
– Placer la tablette comme l'indique
la fi gure, remonter les vis
A
,
B
et
serrer le contre-écrou
C
.
S'assurer qu'entre la tête de la vis
B
et le conte-écrou
C
, il reste assez
d'espace pour assurer une fermeture
correcte du levier
D
.
4.3.3. Tablette d'équerrage
Installation (fi g. 6)
– Monter le plateau
A
en introduisant
le lardon
B
dans la cannelure du
chariot
C
;
– Serrer les leviers
D
.
– le plateau est déjà réglé ; pour
des réglages supplémentaires,
procéder comme suit :
– desserrer les leviers
D
;
– avec les vis sans tête
E
, la mettre
parallèle au chariot ;
– desserrer les vis
F
; avec les vis
sans tête
G
, régler sa position en
hauteur.
4.3.2 Mesa Vagón - Montaje
(fi g.5)
Para la instalación, proceder del
siguiente modo:
– Destornillar los dos tornillos
A
, el
tornillo
B
y la contratuerca
C
.
– Colocar la mesa tal y como indica
la fi gura, volver a montar los tornil-
los
A
,
B
y apretar la contratuerca
C
.
Asegurarse de que entre la cabeza
del tornillo
B
y la contratuerca
C
haya
el espacio sufi ciente para
asegurar un cierre correcto de la
palanca
D
.
4.3.3. Mesa de escuadrado -
Instalación (fi g. 6)
– Montar el plano
A
introduciendo el
estabilizador de guía
B
en la ranura
del vagón
C
– Ajustar las palancas
D
– El plano ya está registrado; para
efectuar más ajustes hay que pro-
ceder como a continuación:
– afl ojar las palancas
D
;
– intervenir en las espigas
E
para re-
gular el paralelismo con el vagón;
– afl ojar los tornillos
F
e intervenir
en las espigas
G
para regular la
altura.
4.
INSTALLAZIONE • INSTALLATION
ENGLISH
ITALIANO
– 56 –
M
040_015_1.tif
7
F
G
C
B
H
E
D
A
L
4.3.4 Telaio di squadro -
Installazione (fi g.7)
– Inserire il supporto
B
nella sca-
nalatura del carro vagone
A
.
– Posizionare la bandiera
G
come
in fi gura; appoggiare il telaio
D
sul supporto
B
inserendo i due
pattini
H
nella scanalatura del
vagone e la vite
F
nel foro
E
.
La vite F deve alloggiare
perfettamente nell'apposito foro
presente sotto al telaio D.
– Livellare il piano
D
, se necessa-
rio, agendo sulla vite
F
.
– Serrare i pomelli
C
.
Il piano è già registrato ; per ulte-
riori regolazioni procedere come
di seguito indicato:
– allentare i pomelli
C
;
– allentare le viti
L
e agire sui grani
M
per regolare la posizione in
altezza.
4.3.4. Squaring frame -
Installation (fi g.7)
– Insert the support
B
in the groove
of the wagon
A
.
– Position the swinging support
G
as shown in the fi gure; rest the
frame
D
on the support
B,
inser-
ting the two pads
H
in the groove
of the wagon, and the screw
F
in
the hol
E
.
The screw F must sit perfectly in
the special hole underneath the
frame D.
– Level the table
D
, if necessary,
turning the screw
F
.
– Tighten the knobs
C
.
The table is already registered; to
make further adjustments proceed
as follows:
– loosen knobs
C
;
– loosen screws
L
and move the
dowels
M
to adjust the height
position.
– 57 –
4.
FRANÇAIS
РУССКИЙ
ВВОД В ЭКСПЛУАТАЦИЮ • INSTALLATION • INSTALACION
ESPAÑOL
4.3.4 Форматная рама -
Монтаж (рис.7)
– Вставить опору B в паз каретки
A.
– Разместить шарнирную консоль
G, как показано на рисунке.
Установить раму D на опору B,
вставив пару салазок H в паз
каретки, а винт F - в отверстие E.
Винт F должен быть надежно
войти в соответствующее
отверстие на нижней стороне
рамы D.
–При необходимости выровнять
стол D при помощи винта F.
–Затянуть барашковые винты C.
Стол уже был настроен. При
необходимости дополнительной
н а с т р о й к и д е й с т в о в а т ь в
следующем порядке:
–ослабить барашковые винты C;
–ослабить винты L и отрегулировать
высоту положения стола винтами
M.
4.3.4 Cadre d'équerrage -
Installation (fi g. 7)
– Insérer le support
B
dans la can-
nelure du chariot mobile
A
.
– Positionner la bande
G
comme
indiqué sur la fi gure ; poser le bâti
D
sur le support
B
en insérant les
deux patins
H
dans la cannelure
du chariot et la vis
F
dans le trou
E
.
La vis F doit être parfaitement
installée dans l’orifi ce se trouvant
sous le bâti D.
– Mettre à niveau le plateau
D
, le cas
échéant, en agissant sur la vis
F
.
– Serrer les pommeaux
C
.
La table est réglée en usine ; pour
des réglages supplémentaires,
procéder comme suit :
– desserrer les boutons
C
;
– desserrer les vis
L
; avec les vis
sans tête
M
, régler sa position en
hauteur.
4.3.4 Bastidor de escuadrado -
Instalación (fi g. 7)
– Introducir el soporte
B
en la ranura
del carro vagón
A
.
– Colocar la bandera
G
como se ilu-
stra en la fi gura; apoyar el bastidor
D
sobre el soporte
B
introduciendo
los dos patines
H
en la ranura del
vagón y el tornillo
F
en el orifi cio
E
.
El tornillo F debe entrar perfectamente
en el orifi cio correspondiente situado
debajo del bastidor D.
– Si es necesario, nivelar el plano
D
mediante el tornillo
F
.
– Ajustar las perillas
C
.
La mesa está regulada; para efec-
tuar más ajustes hay que proceder
como a continuación:
- afl ojar las perillas
C
;
- afl ojar los tornillos
L
e intervenir en
las espigas
M
para regular la altura.
ИНФОРМАЦИЯ
4.
INSTALLAZIONE • INSTALLATION
ENGLISH
ITALIANO
– 58 –
040_014_1.tif
8
Q
P
G
A
G
E
C
F
R
S
B
O
D
Q
P
G
S
L
B
D
O
E
A
R
H
H
4.3.5 Riga per squadrare
- Installazione (fi g. 8)
– Appoggiare il gruppo riga
A
sul
piano
O
inserendo il fulcro
B
nel
foro
C
e il pomello
D
nel foro
H
;
– inserire il perno di bloccaggio
F
nella scanalatura del vagone
G
(solo per versione con pianetto
di squadro);
– posizionare la riga all'angolazio-
ne desiderata attraverso l'asola
E
e serrare il pomello
D.
– inserire la colonnetta
P
con il
pressore
Q
nella scanalatura
del vagone
G
e ruotarla in senso
orario per bloccarla.
Quando il paraschegge
R
si usura,
spostarlo dopo aver allentato la
vite di fi ssaggio
S
.
4.3.5 Squaring ruler - Installa-
tion (fi g. 8)
– Support rule unit
A
on table
O
and insert fulcrum
B
into hole
C
and knob
D
in hole
H
;
– Insert the lock pin
F
in the slot on
the wagon
G
(only for versions
with squaring table);
– Position the rule at required angle
using slot
E
and tighten knob
D
.
– Insert column
P
with presser
Q
in the slot on the wagon
G
and
turn it in a clockwise direction to
lock.
When the chip shield
R
begins to
wear, move it having fi rst loosened
the securing screw
S
.
– 59 –
4.
FRANÇAIS
РУССКИЙ
ВВОД В ЭКСПЛУАТАЦИЮ • INSTALLATION • INSTALACION
ESPAÑOL
4.3.5 Поперечная линейка
- Монтаж (рис. 8)
–Установить линейку A на стол O,
вставив штырь B в отверстие C, а
барашковый винт D - в отверстие
H;
–Вставить фиксирующий штырь
F в паз каретки G (для варианта
исполнения с форматным столом);
–Установить линейку на требуемый
угол, сдвинув ее вдоль прорези
E, и закрепить ее барашковым
винтом D.
–Вставить колонку P с прижимом
Q в паз каретки G и закрепить ее
вращением по часовой стрелке.
Когда противоскольная пластина
R износится, ее следует сместить,
предварительно ослабив винта
крепления S.
4.3.5 Règle d'équerrage - Instal-
lation (fi g. 8)
– Appuyer le groupe ligne
A
sur le
plan
O
en introduisant le point d’ap-
pui
B
dans le trou
C
et le pommeau
D
dans le trou
H
;
– introduire la broche de blocage
F
dans la rainure du chariot
G
(uni-
quement sur version avec tablette
d'équerrage) ;
– Positionner la ligne à l’angle
souhaité à travers la fente
E
et
serrer le pommeau
D
.
– introduire la colonne
P
avec le
presseur
Q
dans la rainure du
chariot
G
et la tourner dans le sens
horaire pour la bloquer.
Quand le pare-éclats
R
est usé, le
bouger après avoir desserré la vis
de fi xation
S
.
4.3.5 Regla para escuadrar - In-
stalación (fi g. 8)
– Apoye el grupo regla
A
sobre la
superfi cie
O
introduciendo el pivote
B
en el orifi cio
C
y el pomo
D
en el
orifi cio
H
;
– insertar el perno de bloqueo
F
en
la ranura del vagón
G
(sólo para la
versión con mesa de escuadrado);
– Coloque la regla en la angulación
deseada a través de la ranura
E
y
apriete el pomo
D
.
– insertar la columna
P
con el pren-
sador
Q
en la ranura del vagón
G
y girarla hacia la derecha para
bloquearla.
Cuando el protector contra astillas
R
se desgaste, hay que desplazarlo
después de haber afl ojado el tornillo
de fi jación
S
.
4.
INSTALLAZIONE • INSTALLATION
ENGLISH
ITALIANO
– 60 –
9
040_017_1.tif
E
F
P
N
Q
E
A
C
D
L
C
4.3.6 Pianetto a tenonare e
Protezione -
Installazione (fi g. 9)
– Inserire il lardone
A
nella sca-
nalatura del vagone.
– Fissare il pianetto a tenonare
C
sul piano
D
o
F
, mediante le
viti
E
.
Paraschegge
Il paraschegge
N
non è indicato
per le lavorazioni di tenonatura: In
questo caso è necessario:
– allentare la vite
P
e togliere il
paraschegge
N
.
– Costruire un tassello di legno
Q
di lunghezza tale da assicurare
un appoggio suffi ciente per il
pezzo da lavorare.
– Fissarlo alla guida utilizzando
due viti di fi ssaggio
L
svasate.
La testa delle viti deve essere
inserita nel legno per evitare che
faccia spessore.
4.3.6 Tenoning table and
guard -
Installation (fi g. 9)
– Insert the wedge
A
in the slot on
the wagon.
– Fasten the tenoning table
C
to
the table
D
or
F
, using screws
E
.
Chip shield
The chip shield
N
is not suitable for
tenoning: Therefore:
– Loosen screw
P
and remove the
chip shield
N
.
– Construct a wooden dowel
Q
long enough to provide a reaso-
nable support for the piece to be
worked.
– Fix it to the guide using two se-
curing countersink screws
L
.
The screw heads must be sunk
completely into the wood so they
don't protrude.
– 61 –
4.
FRANÇAIS
РУССКИЙ
ВВОД В ЭКСПЛУАТАЦИЮ • INSTALLATION • INSTALACION
ESPAÑOL
4.3.6 Шипорезный столик и
ограждение - Монтаж
(рис. 9)
– Вставить направляющую планку
A в паз каретки.
– Закрепить шипорезный столик C
на столах D или F винтами E.
Противоскольная пластина
Использование противоскольной
пластины N при операции
ф р е з е р о в а н и я ш и п о в н е
р е к о м е н д о в а н о . П о э т о м у
н е о б х о д и м о в ы п о л н и т ь
следующие действия:
– Ослабить винт P и удалить
противоскольную пластину N.
– Изготовить деревянную дощечку
Q такой длины, чтобы обеспечить
надежную опору для заготовки.
– Закрепить дощечку к упорной
линейке двумя винтами L с
потайной головкой.
.
Головки винтов должны быть
полностью утоплены в дерево.
4.3.6 Tablette de tenonnage et
Protection - Installation
(fi g. 9)
– Introduire le lardon
A
dans la
rainure du chariot.
– Fixer la tablette de tenonnage
C
sur la table
D
ou
F
, avec les vis
E
.
Pare-éclats
Le pare-éclats
N
n'est pas indiqué
pour les usinages de tenonnage.
Dans ce cas, il faut :
– desserrer la vis
P
et déposer le
pare-éclats
N
;
– construire un tasseau en bois
Q
suffi samment long que pour pou-
voir soutenir la pièce à usiner;
– le fi xer au guide avec les deux vis
de fi xation
L
fraisées.
La tête des vis doit être noyée dans
le bois et ne pas dépasser.
4.3.6 Mesa por espigar y Protec-
ción -
instalacion (fi g. 9)
– Insertar el estabilizador de guía
A
en la ranura del vagón.
– Fijar la mesa por espigar
C
en
la mesa
D
o
F
, por medio de los
tornillos
E
.
Protector contra astillas
El protector contra astillas
N
no es
aconsejable para las operaciones de
espigado: En este caso es necesario:
– afl ojar el tornillo
P
y sacar el pro-
tector contra astillas
N
.
– Construir un taco de madera
Q
lo
sufi cientemente largo como para
asegurar un apoyo sufi ciente para
la pieza a tratar.
– Fijarlo a la guía utilizando dos
tornillos de fi jación
L
avellanado.
La cabeza de los tornillos debe
introducirse en la madera para que
no haga espesor.
ИНФОРМАЦИЯ
4.
INSTALLAZIONE • INSTALLATION
ENGLISH
ITALIANO
– 62 –
4.3.7 Guida fi lo e sega -
Installazione (fi g.10)
– Montare la guida di scorrimento
B
e serrare le leve
A.
– Posizionare il supporto
C
sulla
guida
B
e serrare la leva
D
.
– Montare la guida
E
inserendo il
lardone
F
nella scanalatura
G
e
serrare il pomello
H
.
Per le posizioni della guida in
funzione delle lavorazioni (sega o
pialla fi lo) vedi cap. 5.
4.3.8 Protezioni - Installazione
Le protezioni devono sempre
essere montate, e devono essere
posizionate in modo da coprire al
massimo gli utensili.
Protezione sega (fi g.11)
– Sollevare il gruppo sega me-
diante il pomello
A
previo allen-
tamento del pomello
B
.
– Inserire la protezione
C
serran-
do la maniglia
E
.
4.3.7 Plane and saw fence -
Installation (fi g. 10)
– Fit slider
B
and tighten lever
A
.
– Position the support
C
on the
slider
B
and tighten lever
D
.
– Fit the fence
E
inserting the wed-
ge
F
in slot
G
and tighten knob
H
.
For the fence positions which
depend on the kind of work to
be done (sawing or planing) see
chapter 5.
4.3.8 Protection - Installaton
The protections must always be
mounted and be positioned in
such as way as to completely
cover the tools.
Saw guard (fi g. 11)
– Lift the saw assembly by means
of the knob
A
after loosening the
knob
B
.
– Fit in the protection
C
and tighten
the handle
E
040_019_0.tif
11
A
B
E
C
10
040_053_0.tif
A
A
E
D
B
C
G
H
F
– 63 –
4.
FRANÇAIS
РУССКИЙ
ВВОД В ЭКСПЛУАТАЦИЮ • INSTALLATION • INSTALACION
ESPAÑOL
4.3.7 Направляющая линейка
пилы и фуганка - Монтаж
(рис.10)
–Смонтировать направляющую B и
затянуть фиксаторы A.
–Установить опору C на
направляющей B и затянуть
фиксатор D.
–Смонтировать линейку E, вставив
направляющую планку F в паз G.
Затянуть барашковый винт H.
Порядок установки
направляющей линейки в
положения для различных
операций обработки (распил или
фугование) описан в главе 5.
4.3.8 Ограждения - Монтаж
Ограждения должны оставаться
все время смонтированными. Их
следует располагать так, чтобы
они максимально закрывали
режущий инструмент.
Ограждение пилы (рис. 11)
– Поднять пильный узел рукояткой
A, предварительно ослабив
барашковый винт B.
– Н а д ет ь о г р а ж д е н и е C и
закрепить его фиксатором E.
4.3.7 Guide dégauchisseuse et
scie - Installation (fi g. 10)
– Monter la glissière
B
et serrer les
leviers
A
.
– Placer le support
C
sur le guide
B
et serrer le levier
D
.
– Monter le guide
E
en introduisant
le lardon
F
dans la rainure
G
et
serrer le bouton
H
.
Pour les positions du guide en
fonction des usinages (sciage ou
dégauchissage), voir rubr. 5.
4.3.8 Protections - Installation
Les protections doivent toujours
être montées et placées de manière
à couvrir au maximum les outils.
Protecteur scie
(fi g. 11)
– Soulever le groupe scie à l’aide du
pommeau
A
, après avoir desserré
le pommeau
B
.
– Introduire le protecteur
C
en ser-
rant la manette
E
.
4.3.7 Guía a ras y sierra -
Instalación (fi g. 10)
– Instalar la guía de deslizamiento
B
y ajustar las palancas
A
.
– Posicionar el soporte
C
en la guía
B
y ajustar la palanca
D
.
– Instalar la guía
E
insertando el
estabilizador
F
en la ranura
G
y
ajustar la perilla
H
.
Para las posiciones de la guía
conforme a los tratamientos (sierra
o cepillo a ras) véase el cap. 5.
4.3.8 Protecciones - Instalación
Las protecciones deben estar
siempre montadas y posicionadas
de modo que cubran al máximo los
utensilios.
Protección de la sierra (fi g. 11)
– Elevar el grupo sierra mediante
el pomo
A
habiendo afl ojado con
anterioridad el pomo
B
.
– Introducir la protección
C
apretan-
do la manija
E
.
ВНИМАНИЕ
ИНФОРМАЦИЯ
4.
INSTALLAZIONE • INSTALLATION
ENGLISH
ITALIANO
– 64 –
H
040_052_1.tif
12
040_096_0
13
H
14
D
B
D
040.099 .1.tif
H
H
(OPT)
D
B
C
A
009.069.0.tif
Cuffi a toupie (fi g. 12)
Posizionare la cuffi a sul piano di
lavoro e avvitare i due pomelli
H
nei rispettivi fori.
Cuffi a toupie per tenonare
(fi g.13)
Posizionare la cuffi a
B
sul piano
di lavoro e fi ssarla mediante i
pomelli
D
.
Cuffi a toupie per sagomare
(fi g.14)
- Posizionare la cuffi a sul piano
di lavoro centrando la spina di
riferimento
C
nel foro passante;
- avvitare il perno
D
.
- Montare la staffa
A
(in dotazione
solo per versione con inversione
di rotazione alla toupie).
Quando necessita, spostare la
guida
B
avvitandola nella staffa
A
.
Moulder hood (fi g. 12)
Position the hood on the working
table and screw the two knobs
H
into their special holes.
Tenoning shaper hood (fi g.13)
Position the hood
B
on the
workbench and fi x it through the
knobs
D
Shaping moulder hood
(fi g. 14)
- Position the hood on the work
table centring the reference pin
C
in the through hole;
- Screw down the pin
D
.
- Mount the bracket
A
(supplied
only for the version with router
rotation inversion).
When necessary, move the guide
B
screwing it into the bracket
A
.
– 65 –
4.
FRANÇAIS
РУССКИЙ
ВВОД В ЭКСПЛУАТАЦИЮ • INSTALLATION • INSTALACION
ESPAÑOL
О г р а ж д е н и е ф р е з е р н о г о
шпинделя (рис. 12)
Установить ограждение на стол и
ввинтить два барашковых винта
H в соответствующие отверстия.
О г р а ж д е н и е ф р е з е р н о г о
шпинделя для нарезки шипов
(рис.13)
Установить ограждение B на стол
и закрепить его барашковыми
винтами D.
О г р а ж д е н и е ф р е з е р н о г о
шпинделя для криволинейного
фрезерования
(рис.14)
-
Установить ограждение
на стол, вставив центровочный
штырь C в сквозное отверстие;
-
Завинтить барашковый
винт D.
-
С м о н т и р о в а т ь с к о б у
A ( п р и л а га етс я тол ь к о д л я
варианта исполнения с реверсом
фрезерного шпинделя).
П р и
н е о б х о д и м о с т и
направляющую пластину B можно
переставить в другое положение,
прикрепив ее к скобе A.
Protecteur de la toupie (fi g. 12)
Positionner le protecteur sur la table
de travail et visser les deux boutons
H
dans les trous prévus.
Protecteur toupie pour tenonner
(fi g.13)
Positionner le protecteur
B
sur la
table de travail et le fi xer au moyen
des boutons
D.
Protection du rabot à pont (fi g.14)
- Positionner le protecteur sur le plan
de travail en centrant la prise de
référence C dans le trou passant ;
- visser le tenon
D
.
- Monter l’étrier
A
(uniquement
fourni avec la version à inversion
de rotation à la toupie).
Lorsqu’il y a lieu, déplacer le guide
B
en le vissant dans l’étrier
A
.
Cabezal tupí (fi g. 12)
Colocar el cabezal sobre la mesa de
trabajo y atornillar los dos botones
esféricos
H
en los agujeros corre-
spondientes.
Cabezal tupi para ensamble de
espiga y caja (fi g.13)
Colocar el cabezal
B
sobre la mesa
de trabajo y sujetarlo mediante los
botones esféricos
D
.
Cabezal tupí para perfi lado
(fi g. 14)
– Ubicar la protección sobre el plano
de trabajo centrando el perno de
retención
C
en el orifi cio pasante
– Atornillar el perno
D
– Montar el estribo
A
(suministrado
sólo en la versión con inversión de
rotación del tupí)
Si es necesario, desplazar la guía
B
atornillándola en el estribo
A
.
4.
INSTALLAZIONE • INSTALLATION
ENGLISH
ITALIANO
– 66 –
040_023_0.tif
16
040_022_0.tif
15
A
B
Protezione pialla
(fi g. 15)
– Posizionare la protezione
A
come da fi gura.
– Avvitare la vite
B
di fi ssaggio.
4.3.9 Cavatrice -
Installazione (fi g.16)
Predisporre le viti
A
sul basamen-
to della macchina.
Inserire la cavatrice nelle teste
delle viti
A
in corrispondenza dei
tre fori
E
.
Inserire la leva
F
nella sede del
supporto
G
e avvitare la vite
H
.
Bloccare la leva
D
tramite vite e
dado.
Posizionare la cavatrice in modo
che il piano
B
sia parallelo con l'u-
tensile
C
. Verifi care il parallelismo
nelle diverse posizioni traslando il
piano
B
tramite la leva
D
.
Serrare le viti
A
a regolazione
ultimata.
Planer guard
(fi g. 15)
– Fit the protection
A
into place as
shown in the picture.
– Tighten the fastening screw
B
.
4.3.9 Slotter - Installation
(fi g.16)
Prepare the screws
A
on the base
of the machine.
Insert the mortising machine in the
heads of the screws
A
in correspon-
dence to the three holes
E
.
Insert the lever
F
in the seat of
support
G
and screw down the
screw
H
.
Lock the lever
D
with screw and nut.
Position the mortising machine so
that the table
B
is parallel with the
tool
C
. Check parallelism in the
various positions translating the
table
B
by means of the lever
D
.
Tighten the screws
A
when
adjustment has been completed.
B
D
A
C
G
F
H
E
– 67 –
4.
FRANÇAIS
РУССКИЙ
ВВОД В ЭКСПЛУАТАЦИЮ • INSTALLATION • INSTALACION
ESPAÑOL
Ограждение ножевого вала
(fi g. 15)
– Установить ограждение A, как
показано на рисунке.
– Закрепить ограждение винтом B.
4.3.9 Пазовальный узел -
Монтаж (рис.16)
Навинтить на станину болты A.
Н а д ет ь п а з о в а л ь н ы й у з ел
отверстиями E на головки болтов
A.
Вставить рычаг F в гнездо опоры
G и ввинтить винт H.
Закрепить рычаг D болтом с
гайкой.
Установить пазовальный узел
таким образом, чтобы стол B
был параллелен инструменту C.
Убедиться, что параллельность
сохраняется при всех положениях
стола B, перемещая его рычагом
D.
После завершения регулировки
затянуть болты A.
Protection porte-lames
(fi g.15)
– Positionner la protection
A
comme
le montre la fi gure.
– Serrer la vis
B
de fi xation.
4.3.9 Mortaiseuse -
Installation (fi g. 16)
Prédisposer les vis
A
sur la base de
la machine.
Insérer la mortaiseuse dans les têtes
des vis
A
qui correspondent aux trois
trous
E
.
Insérer le levier
F
dans le logement
du support
G
et visser la vis
H
.
Bloque le levier
D
à l’aide de la vis
et de l’écrou.
Placer la mortaiseuse de sorte que
le plan
B
soit parallèle à l’outil
C
.
Vérifier le parallélisme dans les
différentes positions en déplaçant le
plan
B
par l’intermédiaire du levier
D
.
Serrer les vis
A
quand le réglage
est terminé.
Protección cepillo
(fi g. 15)
– Colocar la protección
A
como se
ilustra en la fi gura.
– Atornillar el tornillo
B
de sujeción.
4.3.9 Mortajadora -
Instalacion (fi g. 16)
Preparar los tornillos
A
sobre la base
de la máquina.
Introducir la mortajadora en las
cabezas de los tornillos
A
en corre-
spondencia con los tres orifi cios
E
.
Introducir la palanca
F
en el hueco
del soporte
G
y enroscar el tornillo
H
.
Bloquear la palanca
D
mediante
tornillo y tuerca.
Situar la mortajadora de manera que
el plano
B
quede paralelo respecto
de la herramienta
C
. Verifi car el para-
lelismo en las diferentes posiciones,
trasladando el plano
B
mediante la
palanca
D
.
Una vez efectuada la regulación
apretar los tornillos
A
.
4.
INSTALLAZIONE • INSTALLATION
ENGLISH
ITALIANO
– 68 –
4.4. COLLEGAMENTO
ELETTRICO
Il collegamento elettrico e le
verifi che di seguito elencate
devono essere sempre eseguite
da un elettricista specializzato.
Lo schema elettrico della macchi-
na e il catalogo delle parti di ricam-
bio è situato nel pacco accessori
ed è parte integrante del presente
manuale.
Lo schema elettrico della macchi-
na è situato nel pacco accessori
ed è parte integrante del presente
manuale.
Accertarsi con l’idonea strumen-
tazione, della perfetta effi cienza
dell’impianto di messa a terra dello
stabilimento e del tronco di linea a
cui si dovrà collegare la macchina.
Verifi care che il tronco di li-
nea a cui si dovrà collegare la
macchina, sia protetto a monte
da un interruttore differenziale
magnetotermico (SALVAVITA).
Verifi care che la tensione di linea
(V)
e frequenza (Hz) corrispondano
a quella cui è stata predisposta la
macchina.
La condizione di lavoro ottimale per
la macchina é quella di fornire l'esatta
tensione riportata sulla targhetta di
identifi cazione tuttavia può ade-
guarsi a tensioni di lavoro superiori
o inferiori in un campo di tolleranza
di +/- 5%.
Al di fuori di questo campo provve-
dere alla regolazione della tensione
di alimentazione.
Leggere sulla targhetta di identifi -
cazione macchina, il valore della
corrente totale assorbita (Amp.)
Consultare la tabella di fi g. 17 per
usare la giusta sezione di cavi, e
per installare a monte della mac-
china fusibili del tipo "AD INTER-
VENTO RITARDATO".
Accertarsi che il cavo di
collegamento non sia alimentato
elettricamente.
<
10
2.5 mm
12A AM
10 ÷ 14
4.0 mm
16A AM
14 ÷ 18
6.0 mm
20A AM
18 ÷ 22
6.0 mm
25A AM
22 ÷ 28
10.0 mm
32A AM
28 ÷ 36
10.0 mm
40A AM
Sezione
cavi
Cable
section
Fusibili
ritardati
Fuse
Ampere
assorbiti
Absorbed
Amperes
17
4.4. ELECTRICAL CONNEC-
TON
The electrical connection and the
checkings hereafter indicated are
always to be carried out by an
electrician.
The machine electric diagram and
spare parts catalogue are in the ac-
cessory pack and form an integral
part of this manual.
The machine wiring diagram is con-
tained in the accessory pack and
is an integral part of this manual.
Using suitable instruments, check
the earth connection, the earth
electrodes installed in the fac-
tory and the electrical wiring the
machine will be connected to for
effi ciency.
Make sure a differential thermal
circuit breaker has been fi tted
upstream from the mains sec-
tion connecting the machine
(SAFETY SWITCH).
Check that the mains voltage (V)
and frequency (Hz) are as those
indicated.
The machine works under ideal
conditions when the supplied
line voltage is the same voltage
specifi ed in the machine data plate;
however, higher or lower working
voltage values are also acceptable
within a tolerance range of +/- 5%.
If this tolerance range is exceeded,
input voltage must be corrected.
Check total absorbed power (Amp)
in the machine data plate.
Check table 17 to choose cables
having an appropriate cross sec-
tion and to install “DELAYED OP-
ERATION” fuses upstream from
the machne.
Ensure that the connection cable
is not electrically powered.
– 69 –
4.
FRANÇAIS
РУССКИЙ
ВВОД В ЭКСПЛУАТАЦИЮ • INSTALLATION • INSTALACION
ESPAÑOL
4.4. ПОДКЛЮЧЕНИЕ
К ЭЛЕКТРОСЕТИ
Подключение станка к
электросети и описываемые ниже
проверки должны выполняться
квалифицированным электриком.
Электрическая схема станка и
каталог запчастей находятся в
упаковке с принадлежностями и
являются неотъемлемой частью
настоящего руководства.
Элек трическ ая схема станк а
н а х о д и т с я в у п а к о в к е с
принадлежностями и являются
неотъемлемой частью настоящего
руководства.
Используя надлежащие приборы,
у б е д и т ь с я в и с п р а в н о с т и
с и с те м ы з азе м л е н и я цеха и
р а б о т о с п о с о б н о с т и о т в о д к и
электросети, к которой будет
подключаться станок.
У б е д и т ь с я , ч т о о т в о д к а
от электросети, к которой
подключается станок, защищена
дифференциальным автоматом
(ВЫКЛЮЧАТЕЛЬ БЕЗОПАСНОСТИ).
Убедиться, что сетевое напряжение
(В) и частота (Гц) соответствуют
номинальным значениям станка.
Оптимальной для станка является
ситуация, при которой подаваемое
напряжение в точности совпадает
с напряжением, указанным на
заводской идентификационной
табличке. Однако станок может
нормально работать, если сетевое
н а п р я ж е н и е от к л о н я ет с я от
номинала в пределах +/- 5%.
В случае выхода за пределы
этого интервала необходимо
предусмотреть корректировку
напряжения питания.
По заводской идентификационной
табличке узнать общую величину
потребляемого станком тока (А).
Используя таблицу рис. 17, выбрать
сечение проводов и параметры
устанавливаемых перед станком
плавких предохранителей (которые
должны принадлежать к типу "С
ЗАДЕРЖКОЙ СРАБАТЫВАНИЯ").
Убедиться, что на проводе
питания нет напряжения.
4.4. BRANCHEMENT ELECTRI-
QUE
La connexion électrique et les
contrôles cités ci-bas doivent
toujours être effectués par un
électricien spécialisé.
Le schéma électrique de la machine
et le catalogue des pièces de rechan-
ge se trouvent dans le paquet des
accessoires et font partie intégrante
du présent manuel.
Le schéma électrique de la machine
se trouve dans l’emballage acces-
soires et est une partie intégrante
de ce manuel.
Contrôler au moyen des instruments
appropriés le bon état de l’installation
de la prise de terre de l’usine et du
tronçon de ligne auquel on devra
connecter la machine.
Vérifi er que le tronçon de ligne auquel
la machine devra être connectée, soit
protégé en amont par un déclencheur
différentiel magnétothermique
(DISJONCTEUR).
Contrôler que la tension de la ligne
(V) et la fréquence Hz correspondent
bien à ce qui a été prévu pour la
machine.
La condition de travail optimale pour
la machine est celle de recevoir
la tension exacte indiquée sur la
plaquette d’identifi cation. Elle peut
cependant s’adapter à des tensions
de travail supérieures ou inférieures,
dans une marge de tolérance de
+/- 5%.
Au-delà de cette marge, il faut régler
la tension d’alimentation.
Lire sur la plaquette d’identifi cation
de la machine, la valeur du courant
absorbé total (ampère).
Consulter le tableau dans la fi g. 17
pour utiliser la section appropriée de
câble et pour installer en amont de
la machine des fusibles du type “A
ACTIONNEMENT RETARDE”.
S’assurer que le câble de
raccordement n’est pas sous
tension.
4.4. CONEXION ELECTRICA
La conexión eléctrica y los
controles detallados a continuación
serán efectuadas siempre por un
electricista especializado.
El esquema eléctrico de la máquina
y el catálogo de las partes de repue-
sto están situados en el paquete de
accesorios y forman parte integrante
del presente manual.
El esquema eléctrico de la máqui-
na se encuentra en el paquete de
accesorios y es parte integrante del
presente manual.
Comprobar, mediante los instrumen-
tos oportunos, la efi ciencia perfecta
de la instalación de puesta a tierra de
la nave y del tramo de línea a la cual
tendrá que acoplarse la máquina.
Controlar que el tramo de línea al
cual se debe conectar la máquina
esté protegido desde el principio
mediante un interruptor diferen-
cial magnetotérmico.
Verifi car que la tensión de línea (V)
y la frecuencia Hz correspondan con
aquella para la cual la máquina fue
predispuesta.
La condición de trabajo óptima de
la máquina es la que permite sumi-
nistrar el valor de tensión detallado
sobre la placa de identifi cación. Sin
embargo, es posible establecer valo-
res de tensión de trabajo superiores
o inferiores dentro de un límite de
tolerancia que corresponde a +/- 5% .
Para los valores de tensión que no
corresponden a dicho límite de tole-
rancia, hace falta ajustar la tensión
de la red.
Leer el valor de la corriente total ab-
sorbida (amperios) sobre la placa de
identifi cación de la máquina.
Consultar la tabla en la fi g. 17 para el
uso de los cables con sección idónea
y para instalar encima de la máquina
fusibles de “ACCION RETARDADA”.
Cerciorarse de que el cable
de conexión no se encuentre
alimentado eléctricamente.
ВНИМАНИЕ
ВНИМАНИЕ
4.
INSTALLAZIONE • INSTALLATION
ENGLISH
ITALIANO
– 70 –
040_074_0.tif
21
021.096.tif
19
021.054.tif
A
L1 L2 L3
18
B
A
026_036_0 .tif
L1
L2
L3
N
USA-CANADA
20
Versione Standard
Predisporre il cavo di alimenta-
zione in prossimità della presa
A
(fi g. 18) in dotazione.
– Collegare i cavi di alimentazione
ai morsetti
L1
-
L2
-
L3
della presa
in dotazione, e il cavo di terra al
morsetto contrassegnato con il
simbol
;
– connettere la presa
A
alla spina
B
(fi g. 19).
Versione U.S.A. - CANADA
(fi g.20)
– Introdurre il cavo all’interno della
morsettiera e collegare le fasi
ai morsetti
L1-L2-L3
, il neutro
(versione monofase) al morsetto
N
e il cavo di messa a terra al
morsetto contrassegnato con il
simbo
o .
ATTENZIONE AL
COLLEGAMENTO ELETTRICO
L'errata rotazione dell'utensile
causa pericolo all'operatore e
danni al prodotto.
Avviare per una frazione di
secondo il gruppo sega e
verifi care che il disco ruoti
in senso orario; nel caso la
rotazione non sia corretta,
togliere immediatamente tensione
ed invertire due delle tre fasi sui
morsetti (L).
Standard model
Prearrange the feeding cable near
the terminal board
A
(fi g. 18).
– Connect the cables to the termi-
nals
L1-L2-L3
of the socket and
the earthing cable to the terminal
marked by the
ymbol ;
– connect socket
A
to plug
B
(fi g. 19).
Version U.S.A.-CANADA
(fi g.20)
– Drive the cable inside the terminal
board and connect the phases to
the terminals
L1-L2-L3
, the neu-
tral wire to the terminal
N
(single-
fase version) and the earthing
cable to the terminal marked by
the
ymbol .
CAREFUL WITH THE ELECTRICAL
CONNECTION
Incorrect rotation of the tool
causes danger to the operator and
damage to the product.
Activate the saw assembly for a
fraction of a second and check
that the disc turns clockwise.
Should rotation be incorrect,
immediately switch off the power
and invert two of the three phases
on the terminals (L).
– 71 –
4.
FRANÇAIS
РУССКИЙ
ВВОД В ЭКСПЛУАТАЦИЮ • INSTALLATION • INSTALACION
ESPAÑOL
Стандартное исполнение
Уложить провод питания до
прилагаемой розетки A (рис. 18).
– Подсоединить жилы фаз к
клеммам L1-L2-L3 прилагаемой
розетки, а жилу заземления - к
клемме, помеченной знаком
;
– Подсоединить розетку A к вилке
B (рис. 19).
Исполнение по нормам США и
Канады (рис.20)
– Ввести провод внутрь клеммного
блока и подсоединить жилы фаз
к клеммам L1-L2-L3, нулевую
жилу (однофазное исполнение)
к клемме N, а жилу заземления к
клемме, помеченной знаком
.
ПРИ ПОДКЛЮЧЕНИИ БЫТЬ
ВНИМАТЕЛЬНЫМ!
Неверное вращение инструмента
представляет опасность для
оператора и может привести к
повреждению изделия.
Запустить пилу на несколько долей
секунды и убедиться, что диск
вращается по часовой стрелке. В
случае неверного направления
вращения немедленно отключить
напряжение и поменять местами две
из трех фаз на клеммах (L).
Version standard
Préparer le câble d’alimentation près
de la prise prévue
A
(fi g. 18).
– Brancher les câbles d’alimentation
sur les bornes
L1
-
L2
-
L3
de la prise
fournie, et le câble de mise à la
terre sur la borne marquée par le
symbole
;
– brancher la prise
A
sur la fi che
B
(fi g. 19).
Version U.S.A.-CANADA (fi g.
20)
– Placer le câble dans la boîte à
bornes et connecter les phases
aux bornes
L1-L2-L3
,
le neutre à
la borne
N
(variante monofasée)
et le câble de mise à la terre à la
borne portant le symbole
.
ATTENTION AU BRANCHEMENT
ELECTRIQUE
La mauvaise rotation de
l’outil entraîne des risques pour
l’ouvrier et détériore le produit.
Démarrer pendant une fraction
de seconde le groupe scie, puis
contrôler que le disque tourne
dans le sens horaire; si la rotation
n’est pas correcte, couper
immédiatement le courant et
inverser deux des trois phases sur
les bornes (L).
Versión estándar
Preparar el cable de alimentación
donde se encuentra la toma
A
(fi g. 18) suministrada.
– Conectar los cables de alimenta-
ción a los bornes
L1-L2-L3
del en-
chufe suministrado con la máquina
y el cabo de tierra al borne indicado
mediante el símbolo
;
– conectar la toma
A
al enchufe
B
(fi g. 19).
Versión U.S.A.-CANADA
(fi g. 20)
– Introducir el cable en el tablero de
bornes y conectar las fases a los
bornes
L1-L2-L3
, el neutro al borne
N
(versión monofásica) y el cable
de tierra al borne señalado con el
símbol
.
CUIDADO CON LA CONEXIÓN
ELÉCTRICA
Si la herramienta gira incorrectamente
puede ser causa de peligro para el
operador, causando daños al producto.
Arranque por una fracción de segundo
el grupo de la sierra y compruebe que
el disco gire en el sentido de las agujas
del reloj; si la rotación es incorrecta,
corte inmediatamente la corriente e
invierta dos de las tres fases en los
bornes (L).
ВНИМАНИЕ
4.
INSTALLAZIONE • INSTALLATION
ENGLISH
ITALIANO
– 72 –
4.5. ASPIRAZIONE DEI
TRUCIOLI
Lavorare sempre con l'aspirazione
attivata.
L’impianto d’aspirazione
deve sempre essere avviato
contemporaneamente al motore
del gruppo operatore in funzione.
Una corretta aspirazione elimina i
rischi di inalazione polveri e favo-
risce un migliore funzionamento
della macchina.
Nelle tabelle sono riportati i valori
minimi di portata e velocità dell'aria
riferiti ad ogni singola aspirazione.
Assicurarsi che l’impianto d’aspi-
razione garantisca questi valori
nel punto di collegamento con le
bocche delle cuffi e.
Velocita' minima dell'aria 20 m/s
Sega
cuffi a
superiore
cuffi a
inferiore
Velocita' minima dell'aria 20 m/s
Portata 170 m
3
/h 750 m
3
/h
Velocita' minima dell'aria 20 m/s
Portata 750 m
3
/h 750 m
3
/h
Pialla
fi lo
Pialla
spessore
Velocita' minima dell'aria 20 m/s
Portata 750 m
3
/h
Cavatrice
Toupie
Portata 750 m
3
/h
Minimum air speed 20 m/s
Routers
Air fl ow 750 m
3
/h
Saw
Upper hood Lower hood
Minimum air speed 20 m/s
Air fl ow 170 m
3
/h 750 m
3
/h
Minimum air speed 20 m/s
Air fl ow 750 m
3
/h 750 m
3
/h
Surfacing
planer
Thicknessing
planer
Minimum air speed 20 m/s
Air fl ow 750 m
3
/h
Mortising machine
4.5. CHIP SUCTON
Always work with the suction
system on.
Always start the suction system
and the operator assembly motor
at the same time.
Proper suction eliminates the risks
of dust inhalation and aids better
functioning of the machine.
The tables list the minimum air
fl ow and speed values referenced
to each single suction operation.
Ensure that the suction system
guarantees these values at the
hood-mouth connection point.
– 73 –
4.
FRANÇAIS
РУССКИЙ
ВВОД В ЭКСПЛУАТАЦИЮ • INSTALLATION • INSTALACION
ESPAÑOL
4.5. УДАЛЕНИЕ СТРУЖКИ
Работать только с включенным
вытяжным устройством.
Вытяжное устройство должно
включаться одновременно с
двигателем рабочего агрегата.
П р а в и л ь н о о р г а н и з о в а н н о е
уд а л е н и е от ход о в ус т р а н я ет
о п а с н о с т и , о б у с л о в л е н н ы е
вдыханием пыли и улучшает работу
станка.
В
т а б л и ц а х
п р и в е д е н ы
минимально допустимые значения
производительности и скорости
потока воздуха на каждом отдельном
выходе системы аспирации.
Убедитесь, что система аспирации
обеспечивает данные значения в
точках подсоединения к патрубкам
стружкоприемников.
4.5. ASPIRATION DES
COPEAUX
L’aspiration doit toujours être active
pendant l’usinage.
Toujours mettre en marche
l’installation d’aspiration en même
temps que le moteur de l’ensemble
opérateur.
Une parfaite aspiration élimine les
risques de respirer la poussière et
optimise le fonctionnement de la
machine.
Les valeurs minimums de capacité
et de vitesse de l’air, par rapport à
chaque aspiration, sont indiquées
dans les tableaux.
Vérifi er que le système d’aspiration
assure ces valeurs au point de rac-
cordement avec les aérateurs des
protections.
4.5. ASPIRACION DE VIRUTAS
Trabajar siempre con la aspiración
activada.
La instalación de aspiración
debe ser puesta en marcha
contemporáneamente al motor del
grupo operador en función.
Una aspiración correcta elimina
todo riesgo de inalación de polvo y
favorece el buen funcionamiento de
la máquina.
En las tablas se indican los valores
mínimos de caudal y velocidad del
aire con recpecto de cada una de las
aspiraciones.
Asegurarse de que el equipo de
aspiración garantice estos valores
en los puntos de conexión con las
bocas de las envolturas.
Velocidad mínima del aire 20 m/seg
Sierra
Envoltura su-
perior
Envoltura
inferior
Velocidad mínima del aire 20 m/seg
Caudal 170 m
3
/h 750 m
3
/h
Velocidad mínima del aire 20 m/seg
Caudal 750 m
3
/h 750 m
3
/h
Cepillo a ras Cepillo espe-
sor
Velocidad mínima del aire 20 m/seg
Caudal 750 m
3
/h
Ranuradora
Tupí
Caudal
750 m
3
/h
Минимальная скорость воздуха 20 м/с
Пильный узел
Производительность
Минимальная скорость воздуха 20 м/с
поток
170 m
3
/h 750 m
3
/h
Минимальная скорость воздуха 20 м/с
поток
750 m
3
/h 750 m
3
/h
Фуговальный
Минимальная скорость воздуха 20 м/с
поток
750 m
3
/h
Пазовальный узел
ФРЕЗЕРНЫЙ УЗЕЛ
поток
750 m
3
/h
Vitesse mini. de l’air 20 m/s
Scie
Protection
supérieure
Protection
inférieure
Vitesse mini. de l’air 20 m/s
Capacité 170 m
3
/h 750 m
3
/h
Vitesse mini. de l’air 20 m/s
Capacité 750 m
3
/h 750 m
3
/h
Raboteuse
Raboteuse
d’épaisseur
Vitesse mini. de l’air 20 m/s
Capacité 750 m
3
/h
Mortaiseuse
Toupie
Capacité
750 m
3
/h
Рейсмусовый
нижний
стружкоприемник
ВНИМАНИЕ
4.
INSTALLAZIONE • INSTALLATION
ENGLISH
ITALIANO
– 74 –
040_021_2. tif
22
G
E
C
E
D
G
A
B
Diametro bocche d'aspirazione
(fi g.22):
A
- cuffi a toupie ............ ø120mm
B
- cuffi a per
sagomare ............. ø 100 mm
C
- protezione sega ...... ø 60 mm
D
- aspirazione sega .. ø 120 mm
E
- c u f f i a p i a l l a f i l o e
spessore ............... ø 120 mm
F
- aspirazione
cavatrice ............... ø 120 mm
G
- cuffi a toupie
per tenonare ......... ø 120 mm
Collegare le bocche all'impianto
di aspirazione con tubi fl essibili di
diametro adeguato. Serrare con
fascette.
Il tubo deve essere posizionato
in maniera tale da non ostacolare
l'operatore durante la lavorazione.
Suction mouth diameter (fi g.22):
A
- router hood ............ ø120mm
B
- Shaping hood ....... ø 100 mm
C
- Saw protection ........ ø 60 mm
D
- Saw suction .......... ø 120 mm
E
- P l a n e r a n d t h i c k n e s s e r
hood .................... ø 120 mm
F
- Mortising machine
suction ................. ø 120 mm
G
- tenoning shaper
hood ..................... ø 120 mm
Connect the mouths to the suc-
tion system with fl exible tubes of
adequate diameter. Tighten with
clamps.
The tube must be positioned in
such a way so as not to obstruct the
operator during machining.
– 75 –
4.
FRANÇAIS
РУССКИЙ
ВВОД В ЭКСПЛУАТАЦИЮ • INSTALLATION • INSTALACION
ESPAÑOL
Диаметры вытяжных патрубков
(рис.22):
A
- ограждение фрезерного
шпинделя ............... ø120 мм
B
- ограждение фрезерного
шпинделя для
криволинейного
фрезерования ...... ø 100 мм
C
- ограждение пилы ... ø 60 мм
D
- стружкоприемник
пилы ...................... ø 120 мм
E
- ограждение ножевого
вала ...................... ø 120 мм
F
- стружкоприемник
пазовального
узла ....................... ø 120 мм
G
- ограждение фрезерного
шпинделя для нарезки
шипов .................... ø 120 мм
Подсоединить патрубки к системе
аспирации при помощи гибких
возд у хо вод о в н а д л еж а ще го
диаметра. Закрепить воздуховоды
хомутами.
В озд у хо вод ы д ол ж н ы б ы т ь
размещены таким образом,
чтобы не создавать помех работе
оператора.
Diamètre orifices d’aspiration
(fi g. 22):
A
- protection toupie ....ø120 mm
B
- protection pour
profi ler ................. ø 100 mm
C
- protection scie ....... ø 60 mm
D
- aspiration scie ..... ø 120 mm
E
- Protecteur raboteuse/dégau-
chisseuse ........... ø 120 mm
F
- aspiration mortaiseuse ø 120 mm
G
- Protecteur toupie
pour tenonner ...... ø 120 mm
Raccorder les orifi ces au système
d’aspiration à l’aide de tuyaux
souples ayant un diamètre appro-
prié. Serrer à l’aide des colliers de
serrage.
Le tuyau doit être placé de manière
à ne pas gêner l’ouvrier pendant
l’usinage.
Diámetro bocas de aspiración (fi g.
22):
A
- Envoltura tupí ........ø100mm
Regulable .............. ø120mm
B
- Envoltura para
moldurar .............. ø 100 mm
C
- Protección sierra ... ø 60 mm
D
- Aspiración sierra .. ø 120 mm
E
- Campana eje acepillador y re-
gruesador .......... ø 120 mm
F
- Aspiración
mortajadora ......... ø 120 mm
G
- Cabezal tupi para ensamble
de espiga y caja ... ø 120 mm
Conectar las bocas al equipo de
aspiración con tubos fl exibles de
diámetro adecuado. Ajustar con
abrazaderas.
El tubo debe estar ubicado en modo
que no obstaculice al operador du-
rante el trabajo.
5.
NORME DI MESSA A PUNTO • SET-UP PROCEDURES
ENGLISH
ITALIANO
– 76 –
040_108_1.tif
1
R
E
G
L
V
B
S
E
A
M
H
5.1. TOOL - ASSEMBLY AND
ADJUSTMENT
Use protective gloves.
5.1.1 Milling cutters - Assem-
bly (fi g.1)
– Release lever
A
.
– Lift the router shaft up to maximum
height, turning the handwheel
B
.
– Open the door
V
.
– Lock spindle shaft rotation by
turning the shaft manually until
you can lock it by inserting the
accessory pin
L
in the hole in the
spindle liner.
– If the router hood is already positioned
on the working table lift the door
H
by
unscrewing the knob
M
.
– Loosen the screw
R
by means of
the accessory wrench.
– Remove spacer rings
E
.
– Remove If necessary rings
S
from
the machine table.
– Mount milling cutters
G
on the
moulder shaft using the special
spacer rings between one tool
and another.
Fit the cutters as low as possible
on the spindle, taking every
precaution to avoid vibrations.
It is prohibited to mount cutters
with a diameter of more than 160
mm for profi ling, 150 mm for for
shaping and 180 mm for tenoning
operations.
– Well tighten the screw
R
.
– Unlock the rotation of the moulder
shaft by removing the pin
L
.
– Return the door
V
and
H
to the
initial conditions tightening the
relevant knob.
– The shaft vertical positioning
should always be executed star-
ting from its lower part, to counte-
ract the effect of any possible
mechanical slack.
Before proceeding with work,
adjust the spindle-moulder hood
as indicated in chapter 5.
5.1. UTENSILI - MONTAGGIO
E REGISTRAZIONE
Usare guanti di protezione.
5.1.1 Frese - Montaggio (fi g.1)
– Sbloccare la leva
A
– Sollevare l’albero toupie fi no
alla massima altezza, ruotando
il volantino
B
.
– Aprire il portello
V
.
– Bloccare la rotazione dell'albero
toupie ruotando manualmente
quest'ultimo fino a riuscire a
bloccarlo col perno accessorio
L
attraverso il foro della camicia
toupie.
– Se la cuffi a toupie è già posi-
zionata sul piano sollevare lo
sportello
H
svitando il pomello
M
.
– Sbloccare con chiave accesso-
ria la vite
R
.
– Estrarre gli anelli distanziatori
E
.
– Estrarre, se necessario, gli anelli
S
sul piano della macchina.
– Inserire le frese
G
sull’albero
toupie utilizzando gli anelli
distanziatori più adatti, fra un
utensile e l’altro.
Montare le frese nel punto più
basso possibile dell’albero
evitando al massimo eventuali
vibrazioni. E' vietato montare
frese di diametro superiore a 160
mm per lavorazioni di profi latura,
a 150 mm per lavorazioni di
sagomatura e a 180 mm per
lavorazioni di tenonatura.
– Serrare bene la vite
R
.
– Sbloccare la rotazione dell’albe-
ro toupie, togliendo il perno
L
.
– Riportare lo sportello
V
e
H
alle
condizioni iniziali serrando il
relativo pomello.
– Il posizionamento verticale
dell’albero va effettuato sempre
dal basso verso l’alto per elimi-
nare l’effetto di eventuali giochi
meccanici.
Prima di procedere alla
lavorazione registrare la cuffi a
toupie come indicato nel cap. 5.
– 77 –
5.
ПРОЦЕДУРЫ НАЛАДКИ • NORMES POUR LA MISE AU POINT
NORMAS PARA LA PUESTA A PUNTO
FRANÇAIS
РУССКИЙ
ESPAÑOL
5.1. ИНСТРУМЕНТЫ -
МОНТАЖ И НАСТРОЙКА
Работать в защитных перчатках.
5.1.1
Фрезы - Монтаж (рис.1)
– Ослабить фиксатор A.
– Поднять фрезерный шпиндель
в крайнее верхнее положение
маховичком B.
– Открыть дверцу V .
– Забл окировать фрезерный
ш п и н д е л ь п р и л а г а е м ы м
стержнем L через отверстие
в рубашке. Для этого вручную
повернуть шпиндель в такое
п о л о ж е н и е , п р и к о т о р о м
возможно вставить стержень.
– Е с л и к о ж у х ф р е з е р н о г о
шпинделя уже был установлен
на столе, поднять крышку H,
вывинтив барашковый винт M.
– Ослабить прилагаемым ключом
болт R .
– Снять промежуточные кольца E.
– При необходимости вынуть
кольца S из стола станка.
– Надеть фрезы G на шпиндель,
прокладывая между отдельными
инструментами подходящие
промежуточные кольца.
Во избежание вибраций
устанавливать фрезы на
шпиндель как можно ниже.
Запрещается устанавливать
фрезы с диаметром более 160 мм
для продольного профильного
фрезерования, 150 мм для
криволинейного фрезерования и
180 мм для нарезки шипов.
– Надежно затянуть болт R.
– Высвободить шпиндель, удалив
стержень L.
– Вернуть крышки V и H в исходное
п о л о ж е н и е и з а к р е п и т ь и х
соответствующими барашковыми
винтами.
– Установка шпинделя в рабочее
п о л о ж е н и е д о л ж н а в с е г д а
выполняться в направлении снизу
вверх, чтобы устранить влияние
механического люфта.
Перед началом работы
отрегулировать положение
кожуха шпинделя, как указано в
главе 5.
5.1. OUTILS - MONTAGE ET
REGLAGE
Porter des gants de protection.
5.1.1 Fraises - Montage (fi g.1)
– Débloquer le levier
A
.
– Soulever l’arbre toupie jusqu’à sa
hauteur maximum, en tournant le
volant
B
.
– Ouvrir la porte latérale
V
.
– Bloquer la rotation de l'arbre toupie
en tournant à la main ce dernier
pour le bloquer avec la cheville
accessoire
L
à travers l'orifi ce de
la chemise de la toupie.
– Si la protection toupie est déjà placée
sur le plan , soulever la porte
H
en
dévissant le pommeau
M
.
– Dévisser la vis
R
avec la cléen
dotation.
– Retirer les bagues-entretoises
E
.
– Extraire, le cas échéant, les ba-
gues
S
sur la table de la machine.
– Introduire entre un outil et l’autres,
les fraises
G
sur l’arbre toupie en
utilisant les bagues-entretoises les
plus indiquées.
Monter les fraises le plus bas
possible sur l’arbre en évitant au
maximum d’éventuelles vibrations.
Il est interdit de monter des fraises
d’un diamètre supérieur à 160 mm
pour faire des profi lages, à 150 mm
pour faire des façonnages et à 180
mm pour faire des tenonnages.
– Bien serrer la vis
R
.
– Débloquer la rotation de l’arbre
toupie, en retirant le goujon
L
.
– Replacer la porte
V
et
H
dans les
conditions initiales en serrant le
pommeau correspondant.
– Le positionnement vertical de
l’arbre doit toujours être effectué du
bas vers le haut et cela afi n d’éli-
miner l’effet des jeux mécaniques.
Avant de commencer l’usinage
régler le couvre-toupie comme
indiqué au par.5.
5.1. HERRAMIENTAS - MONTA-
JE Y REGULACION
Usar guantes de protección.
5.1.1 Fresas- Montaje (fi g.1)
– Desbloquear la palanca
A
.
– Levantar el eje tupí sirviéndose del volante
B
hasta llegar a la altura máxima.
– Abrir el portillo
V
– Bloquear la rotación del eje toupie
girándolo manualmente hasta blo-
quearlo con el perno accesorio
L
a través del orifi cio de la camisa
toupie.
– Si la envoltura del tupí ya está ubicada
sobre la superfi cie levantar el postigo
H
girando la perilla
M
.
– Desbloquear con llave accesoria el
tornillo
R
.
– Extraer los anillos distanciadores
E
.
– Extraer, si resulta necesario, los anillos
S
sobre el plano de la máquina.
– Introducir las fresas
G
en el árbol
tupí utilizando los anillos distancia-
dores más adecuados, entre una
herramienta y la otra.
Montar las fresas en el punto más
bajo posible del árbol, evitando al
máximo las vibraciones.
Queda prohibido montar fresas de
diámetro superior a 160 mm para
efectuar perfi lados, superior a 150
mm para efectuar molduras y a 180
mm para espigar.
– Apretar bien el tornillo
R
.
– Desbloquear la rotación del árbol
toupie, extrayendo el perno
L
.
– Poner la puerta
V
y
H
en las condi-
ciones iniciales apretando el pomo
relativo.
– El posicionamiento vertical del
árbol debe ser efectuado siempre
desde abajo hacia arriba para eli-
minar el efecto de posibles juegos
mecánicos.
Antes de iniciar la elaboración,
regular la protección del tupí según
las indicaciones del pár. 5.
ВНИМАНИЕ
ВНИМАНИЕ
ВНИМАНИЕ
5.
NORME DI MESSA A PUNTO • SET-UP PROCEDURES
ENGLISH
ITALIANO
– 78 –
2
040_075_1.tif
E
B
C
D
F
C
5.1.2 Coltelli - montaggio
Scollegare la spina dalla presa
elettrica.
Maneggiare i coltelli utilizzando i
guanti di protezione.
Albero pialla con 2 coltelli (fi g.
2-3)
Per motivi di sicurezza i coltelli
sono inseriti completamente
nell'albero pialla; prima di
procedere alla lavorazione
registrarli seguendo le istruzioni
sottoriportate.
Montare esclusivamente coltelli
della stessa serie (aventi la
stessa altezza) per evitare
squilibri.
Altezza minima consentita
18 mm.
– Rimuovere i dadi che bloccano
le viti
C
e posizionare il registra-
coltelli
A
come indicato in fi gura.
La spina B deve essere inserita
nella rispettiva foratura realizzata
sull'albero. Avvitare le due viti C
nelle rispettive forature presenti
sul piano a fi lo.
– Svitare le viti di bloccaggio con
apposita chiave
D
; il coltello
fuoriesce spinto dalle molle di
contrasto.
– Se necessita sostituire i coltelli
inserendoli nell' apposita sede
E
(fi g. 2) rispettando l'orienta-
mento dell'angolo di affi latura
relativamente al senso di rota-
zione dell'albero pialla
F
.
– Verifi care l’effi cienza delle molle
di contrasto esercitando una
leggera pressione sui coltelli:
questi devono rientrare nelle sedi
per poi tornare nella posizione
iniziale.
– Verifi care che i coltelli ed i lardoni
siano centrati rispetto all’albero
pialla
F
.
5.1.2 Cutters - assembly
Take the plug out of the socket ..
Handle the knives wearing
protective gloves.
2-cutters cutterblock
(fi g. 2-3)
For safety reasons the blades are
completely inserted in the cutter
block; before machining adjust
them in accordance with the
instructions below.
Exclusively mount knives of the
same series (with the same height)
to prevent unbalancing. Minimum
permitted height:
18 mm
– Remove the nuts that block
screws
C
and position blade
adjusters
A
as indicated in the
fi gure.
Plug B must be inserted in the
appropriate hole in the shaft.
Tighten the two screws C in the
relative holes on the planer table.
– Loosen the blocking screws using
the specifi c key
D
; the blade co-
mes out pushed by the contrast
springs.
– If necessary, replace the blades
by inserting them in their specifi c
slot
E
(fi g.2) ensuring that the
cutting edge meets the direction
of rotation of the planer
F
.
– Make sure springs are in good work-
ing order by exerting a light pressure
on cutters: these should go deeper
into their seats and then go back to
their initial position.
– Check that the blades and wed-
ges are centered against the
planer
F
.
– 79 –
5.
ПРОЦЕДУРЫ НАЛАДКИ • NORMES POUR LA MISE AU POINT
NORMAS PARA LA PUESTA A PUNTO
FRANÇAIS
РУССКИЙ
ESPAÑOL
5.1.2 Ножи - монтаж
Вынуть вилку из розетки.
При обращении с ножами работать
в защитных перчатках.
Ножевой вал с двумя ножами
(рис. 2-3).
По соображениям безопасности
в поставляемом станке ножи
полностью утоплены в ножевой
вал. Перед началом работы их
следует отрегулировать, действуя
согласно представленным ниже
инструкциям.
Во избежание дисбаланса
инструмента устанавливать
ножи одного типа (с одинаковой
высотой).
Минимально допустимая высота
- 18 мм.
– Открутить гайки, фиксирующие винты
C, и разместить приспособление для
регулировки ножей A, как показано
на рисунке.
Штырь B должен быть вставлен
в специальное отверстие вала.
Ввинтить два винта C в отверстия
фуговального стола.
– Ослабить винты крепления ножа
специальным ключом D. При
этом нож будет вытолкнут под
действием возвратных пружин.
– При необходимости заменить
ножи. Ножи вставляются в
гнездо E (рис. 2) с соблюдением
п р а в и л ь н о й о р и е н т а ц и и
з а т о ч е н н о й с т о р о н ы п о
отношению к направлению
вращения ножевого вала F.
– Проверить эффек тивность
возвратных пружин, слегк а
нажав на ножи: нож должен войти
в гнездо, а затем вернуться в
исходное положение.
– Убедиться, что ножи и прижимные
планки расположены по центру
ножевого вала F.
5.1.2 Couteaux - montage
Débrancher la fi che de la prise
électrique.
Manipuler les couteaux en utilisant
des gants de protection.
A r b r e r a b o t à 2 c o u t e a u x
(fi g.2-3).
Pour des raisons de sécurité, les
couteaux sont insérés dans l'arbre
de rabotage ; avant de commencer
l'usinage, les régler en suivant les
instructions ci-dessous.
Monter exclusivement des couteaux
de la même série (ayant la même
hauteur)
pour éviter des déséquilibres.
Hauteur minimale consentie 18mm
– Enlever les écrous bloquant les
vis
C
et positionner les régleurs
de couteaux
A
comme illustré sur
la fi gure.
La broche B doit entrer dans
le perçage pratiqué sur l'arbre.
La broche C doit aller contre la
dégauchisseuse. Visser les deux vis
C dans les trous se trouvant sur la
table de dégauchissage.
– Dévisser les vis de blocage avec
la clé
D
; le couteau sort poussé
par les ressorts de contraste.
– Si nécessaire, remplacer les co-
uteaux en les introduisant dans
le logement prévu à cet effet
E
(fi g.2) en respectant l'orientation
de l'angle d'affûtage en rapport au
sens de rotation de l'arbre rabot
F
.
– Vérifi er le fonctionnement correct des
ressorts de pression en exerçant une
petite pression sur les couteaux: ces
derniers doivent rentrer dans leurs
sièges et revenir sur leur position de
départ.
– Vérifi er si les couteaux et les lar-
dons sont centrés par rapport à
l'arbre rabot
F
.
5.1.2 Cuchillas-montaje
Desenchufar la clavija de la toma de
corriente.
Manejar las cuchillas utilizando
guantes de protección.
Arbol cepillo con tres cuchillas
(fi g.2 - 3).
Por motivos de seguridad, las
cuchillas están completamente
introducidas en el árbol cepillo;
antes de proceder con el
trabajo, regularlos siguiendo las
instrucciones abajo indicadas.
Montar exclusivamente cuchillas
de la misma serie (que tengan
la misma altura) para evitar
desequilibrios. Altura mínima
permitida 18mm.
– Extraiga las tuercas que bloquean
los tornillos
C
y coloque los regula-
cuchillas
A
tal y como indica la
fi gura.
La clavija B tiene que estar
insertada en el respectivo
taladrado realizado en el eje.
Enrosque los dos tornillos C en
los correspondientes orifi cios
presentes sobre la superfi cie de
acepillado.
– Destornillar los tornillos de bloqueo
con la correspondiente llave
D
; la
cuchilla sobresale empujada por
los resortes de contraste.
– En caso de que sea necesario, su-
stituir las cuchillas colocándolas en
el lugar apropiado
E
(fi g. 2) respe-
tando la orientación del ángulo de
afi latura relativamente al sentido
de rotación del árbol cepillo
F
.
– Verifi car la efi ciencia de los re-
sortes de contraste haciendo una
ligera presión sobre las cuchillas:
éstas deben entrar en los espacios
para después volver a la posición
inicial.
– Verifi car que las cuchillas y los
estabilizadores de guía estén cen-
trados respecto al árbol cepillo
F
.
ВНИМАНИЕ
ВНИМАНИЕ
ИНФОРМАЦИЯ
ИНФОРМАЦИЯ
5.
NORME DI MESSA A PUNTO • SET-UP PROCEDURES
ENGLISH
ITALIANO
– 80 –
3
040_075_1.tif
A
D
Per una buona registrazione
occorre che i l fi lo del coltello
appoggi in modo completo
per tutta la sua lunghezza sul
registracoltelli A (fi g.3). In questo
modo viene garantita la giusta
sporgenza del coltello dall'albero
pialla (massimo 1 mm).
– Serrare le viti di bloccaggio con
apposita chiave
D
esercitando
una forte pressione sul registra-
coltelli.
Montare allo stesso modo tutti i
coltelli.
A operazione ultimata predisporre
la macchina per la piallatura a fi lo o
spessore seguendo le indicazioni
riportate nel cap. 5 e 6.
To ensure adjustments are
correct the whole length of the
knife blade should rest on the
knife register A (fi g.3). In this way
proper projection of the knife from
the planer spindle is guaranteed
(maximum 1 mm).
– Tighten the clamping screws with
the wrench
D
, applying a lot of
pressure on the knife setter.
In the same way mount all the
knives.
When the operation has been com-
pleted, set up the machine for buzz
planing or thicknessing following
the instructions in Chapters 5 and 6.
– 81 –
5.
ПРОЦЕДУРЫ НАЛАДКИ • NORMES POUR LA MISE AU POINT
NORMAS PARA LA PUESTA A PUNTO
FRANÇAIS
РУССКИЙ
ESPAÑOL
Для правильной настройки ножей
необходимо, чтобы край ножа
опирался вдоль всей своей длины
на регулировочное приспособление
A (рис. 3). При этом будет обеспечен
правильный вылет ножа
относительно ножевого вала (не более
1 мм).
–
Затянуть винты крепления
специальным ключом D, нажимая
с силой на регулировочное
приспособление.
Установить все ножи таким же
образом.
После завершения процедуры
подготовить станок для операции
фугования или рейсмусования,
следуя инструкциям глав 5 и 6.
Pour un bon réglage, il faut
que le bord du couteau prenne
entièrement appui sur toute la
longueur du régleur des couteaux A
(fi g.3).
De cette manière le dépassement
exact du couteau de l’arbre rabot est
assuré (maximum 1 mm).
– Serrer les vis de blocage avec la
clé D prévue à cet effet en exerçant
une forte pression sur le réglage
des couteaux.
Monter de la même façon tous les
couteaux.
Après l’opération préparer la machi-
ne pour le rabotage du bord ou de
l’épaisseur en suivant les indications
fournies aux chapitres 5 et 6.
Para efectuar una regulación
correcta el fi lo del cuchillo tiene que
estar totalmente apoyado sobre el
regulador de cuchillos A (fi g.3).
De este modo se garantiza el
adecuado saliente de la cuchilla del
árbol cepillo (máximo 1mm).
– Apretar los tornillos de bloqueo
con la llave
D
ejerciendo una fuer-
te presión sobre el regulador de
cuchillas.
Montar todas las cuchillas siguiendo
el mismo procedimiento.
Una vez terminada la operación pre-
parar la máquina para la cepilladura
de eje vertical o de regruesar siguien-
do las indicaciones del cap. 5 y 6.
ИНФОРМАЦИЯ
5.
NORME DI MESSA A PUNTO • SET-UP PROCEDURES
ENGLISH
ITALIANO
– 82 –
040_092_0.tif
4
F
E
E
G
A
B
C
D
1
2
3
Albero pialla tipo TERSA con 3
coltelli (fi g. 4)
– Smontare la protezione mandrino
A
.
– Smontare il mandrino
B
(se
presente).
– Per eseguire questa operazio-
ne, bloccare l'albero tersa inse-
rendo una chiave a forchetta
C
nella sede realizzata sull'albero.
– Inserire la chiave
D
nel mandrino
B
e svitare in senso orario.
– Percuotere i lardoni bloccaggio
coltelli con un martello in gom-
ma.
– Inserire i coltelli
E
nell'albero
F
attraverso il foro
G
.
– Verifi care che i coltelli siano
centrati rispetto all’albero pialla
F
.
– Avviare il gruppo operatore
pialla per bloccare i coltelli.
– Piallare per qualche minuto un
pezzo di legno duro su tutta la
lunghezza dell'albero per otte-
nere un miglior bloccaggio del
gruppo lardone-coltello.
– Per lo smontaggio percuotere il
lardone e sfi lare il coltello.
TERSA-type 3-cutters cutter-
block (fi g. 4)
– Remove the spindle guard
A
.
– Remove the spindle
B
(if present).
– To perform this operation lock the
rigid shaft by inserting a fork wrench
C
in the slot on the shaft.
– Insert wrench
D
in the spindle
B
and
unscrew it in a clockwise direction.
– Loosen the knife locking wedge
with a rubber mallet.
– Insert the knives
E
in the spindle
F
through the hole
A
.
– Check if the knives are centered
with reference to the cutterblock
G
.
– Start the planer working unit to
lock the cutters.
– Take a piece of hard wood and
plane it on its whole length for
a few minutes, in order to get a
better locking of the cutter-gib
unit.
– To remove the cutters, strike the
gib and pull out the cutter.
– 83 –
5.
ПРОЦЕДУРЫ НАЛАДКИ • NORMES POUR LA MISE AU POINT
NORMAS PARA LA PUESTA A PUNTO
FRANÇAIS
РУССКИЙ
ESPAÑOL
Ножевой вал типа TERSA с
тремя ножами (рис. 4)
– Демонтировать ограждение
патрона A.
– Демонтировать патрон B (при
наличии).
– Для выполнения этого действия
зафиксировать ножевой вал,
вставив рожковый ключ C в
гнездо на валу.
– Вставить ключ D в патрон B
и отвинтить его по часовой
стрелке.
– Ударить по прижимным планкам
резиновым молотком.
– Вставить ножи E в вал F через
отверстие G.
– У б е д и т ь с я , ч т о н о ж и
р а с п ол а га ютс я п о це н т ру
ножевого вала F.
– Включить строгальный узел,
чтобы зафиксировать ножи.
– Д л я б о л е е к а ч е с т в е н н о й
фиксации ножа прижимной
планкой прострогать в течение
нескольких минут заготовку из
твердой древесины по всей
длине вала.
– Для снятия ножа ударить по
планке.
Arbre rabot type TERSA à 3 cou-
teaux (fi g. 4)
– Déposer la protection du mandrin
A
.
– Déposer le mandrin
B
(si présent).
– Pour effectuer cette opération,
bloquer l'arbre de type Tersa en
introduisant une clé à fourche
C
dans le logement pratiqué dans
l'arbre.
– Introduire la clé
D
dans le mandrin
B
et dévisser dans le sens horaire.
– Parcourir les lardons de blocage
des couteaux avec un marteau en
caoutchouc.
– Insérer les couteaux
E
dans l’arbre
F
à travers le trou
G
.
– Vérifi er que les couteaux soient
centrés par rapport à l’arbre rabot
F
.
– Mettre en marche le groupe du
rabot pour bloquer les couteaux.
– Raboter une pièce de bois dur
sur toute la longueur de l’arbre
pendant quelques minutes afi n
d’obtenir un meilleur blocage du
groupe lardon-couteau.
– Pour le démontage, frapper le
lardon et enlever le couteau.
Arbol cepillo tipo TERSA con 3
cuchillas (fi g. 4)
– Desmontar la protección husillo
A
.
- Desmontar el husillo
B
(si está pre-
sente).
- Para efectuar esta operación, blo-
quear el eje terso insertando una
llave de horquilla
C
en el alojamiento
realizado en el eje.
- Insertar la llave
D
en el husillo
B
y
desenroscar hacia la derecha.
- Golpear los estabilizadores de guía
con un martillo de goma.
– Introducir las cuchillas
E
en el árbol
F
a través del orifi cio
G
.
– Comprobar que las cuchillas estén
centradas respecto al árbol de la
acepilladora
F
.
– Poner en funcionamiento el grupo
operador cepillo para bloquear las
cuchillas.
– Acepillar por algunos minutos una
pieza de madera dura a lo largo de
todo el árbol para obtener un mejor
bloqueo del grupo listón-cuchilla.
– Para el desmontaje, golpear el
listón y remover la cuchilla.
5.
NORME DI MESSA A PUNTO • SET-UP PROCEDURES
ENGLISH
ITALIANO
– 84 –
040_025_0.tif
5
040_026_2.tif
6
F
A
B
D
C
G
E
F
7
F
040_083_0.tif
5.1.3 Sega circolare -
Montaggio
Maneggiare gli utensili
utilizzando i guanti di protezione.
– Disinserire la tensione di alimen-
tazione.
– Posizionare il gruppo sega a 90°
e abbassarlo al massimo.
Predisporre la macchina seguen-
do le indicazioni:
L'operazione deve essere
effettuata attraverso lo sportello
di accesso A.
– Inserire il perno
B
nel foro della
puleggia albero sega.
Il dado di bloccaggio C della lama
sega è sinistrorso; per svitarlo
occorre ruotarlo in senso orario.
– Allentare il dado di bloccaggio
C
con chiave esagonale da 24
mm, ed estrarre la fl angia
D
.
– Montare in sequenza la sega
E
,
la fl angia
D
e il dado
C
(per evi-
tare eventuali vibrazioni, prima
di montare la lama sega pulire
accuratamente le fl ange).
– Per agevolare l'inserimento del-
la sega
E
, è necessario allargare
leggermente il convogliatrucioli
e far passare la sega stessa
attraverso la fessura creatasi in
corrispondenza della freccia
H
.
– Serrare il dado con la chiave da
24 mm utilizzando il perno
B
.
– Regolare la posizione in altezza
del coltello divisore
F
allentando
il dado
G
.
Regolare la posizione del coltello
divisore in modo che la sua
distanza dalla lama sega sia
compresa fra 3 e 8 mm
(vedi esempio fi g. 7).
Il coltello divisore è nella giusta
posizione quando la protezione
sega copre una parte del
tagliente della lama sega.
5.1.3 Circular saw -
Assembly
Handle the tools with protective
gloves.
– Disconnect input power.
– Position the saw unit at 90° and
lower it as far as it will go.
Prepare the machine following
these instructions:
This operation must be performed
using access door A.
– Fit pin
B
into the saw shaft pulley
hole.
The locking nut C of the saw blade
is counter-clockwise; to unscrew it
turn it clockwise.
– Loosen the lock nut
C
using a
24 mm hex wrench and remove
fl ange
D
.
– In sequence mount the saw
E
, the
fl ange
D
and the nut
C
(to prevent
any vibration, thoroughly clean
the fl anges before mounting the
saw blade).
– To make is easier to insert the
saw
E
, you must widen the chip
conveyor slightly and allow the
saw to pass through the space
created in correspondence to
arrow
H
.
– Tighten the nut using the
24 mm wrench and the pin
B
.
– Adjust dividing knife
F
height by
unloosing nut
G
.
Adjust the position of the riving
knife so that its distance from the
saw blade is between 3 and 8 mm
(see example in fi g.7).
The dividing knife is in the right
position when the saw guard
covers a part of the cutting edge of
the saw blade.
H
E
– 85 –
5.
ПРОЦЕДУРЫ НАЛАДКИ • NORMES POUR LA MISE AU POINT
NORMAS PARA LA PUESTA A PUNTO
FRANÇAIS
РУССКИЙ
ESPAÑOL
5.1.3 Дисковая пила - Монтаж
При обращении с инструментами
работать в защитных перчатках.
– Отключить напряжение питания.
– Установить пилу под 90° и
опустить ее в крайнее нижнее
положение.
Подготовить станок к работе,
действуя в следующем порядке:
Операция выполняется через
дверцу A.
– Вставить стержень B в отверстие
на шкиве вала пилы.
.
Гайка C крепления пильного диска
имеет левую резьбу. Чтобы открутить
гайку, ее необходимо вращать по
часовой стрелке.
– При помощи ключа на 24 мм
ослабить гайку C крепления
пильного диска и снять фланец
D.
– П о с л е д о в а т ел ь н о н а д ет ь
пильный диск E, фланец D и
гайку C (для предотвращения
вибрации перед установкой пилы
тщательно очистить фланец).
– Для удобства установки пилы
E необходимо слегка развести
с т е н к и с т р у ж к о п р и е м н и к а
и п р о п ус т и т ь п и л у ч е р ез
образовавшуюся щель в месте,
показанном стрелкой H.
– Затянуть гайку ключом на 24 мм,
удерживая вал стержнем B.
– Отрегулировать положение по
высоте расклинивающего ножа
F, предварительно ослабив гайку
G.
Расклинивающий нож необходимо
отрегулировать таким образом,
чтобы расстояние от него до
пильного диска находилось
в интервале от 3 до 8 мм (см.
пример на рис. 7).
Расклинивающий нож находится
в верном положении, когда
ограждение закрывает часть зуба
пилы.
5.1.3 Scie circulaire - montage
Manipuler les outils en mettant des
gants de protection.
– Déconnecter la tension d’alimen-
tation.
– Placer le groupe scie à 90° et l'a-
baisser au maximum.
Placer la machine selon les indica-
tions suivantes:
Cette opération doit être effectuée à
travers le portillon d'accès A.
– Introduire le goujon
B
dans le trou
de la poulie de l’arbre de la scie.
L’écrou de blocage C de la lame
scie est sénestrorsum; pour le
dévisser il faut le tourner dans le
sens des aiguilles d’une montre
(horaire).
– Desserrer l’écrou de blocage
C
à
l’aide d’une clé à six pans 24 mm,
et extraire la bride
D
.
– Monter en séquence la scie
E
, la
bride
D
et l’écrou
C
(pour éviter
d’éventuelles vibrations, avant
de monter la lame scie nettoyer
minutieusement les brides).
– Pour faciliter le montage de la scie
E
, il faut élargir légèrement le con-
voyeur de copeaux et faire passer
la scie à travers la fi ssure qui s’est
créée à hauteur de la fl èche
H
.
– Serrer l’écrou à l’aide d’une clé 24
mm, tout en utilisant le pivot
B
.
– Régler la position en hauteur du
couteau diviseur
F
en desserrant
l’écrou
G
.
Régler la position du couteau
diviseur de manière à ce que la
distance entre la lame de la scie et
le couteau soit comprise entre 3 et 8
mm (voir exemple fi g.7).
Le couteau diviseur est dans
la position exacte lorsque la
protection scie couvre une partie du
tranchant de la lame scie.
5.1.3 Sierra circular - montaje
Manejar las herramientas utilizando
guantes de protección.
– Desconectar la tensión de la red.
– Posicionar el grupo sierra a 90° y
bajarlo al máximo.
Preparar la máquina siguiendo las
indicaciones
La operación tiene que efectuarse a
través de la puerta de acceso A.
– Introducir el perno
B
en el agujero
de la polea árbol sierra.
La tuerca de bloqueo C de la hoja
sierra se ajusta hacia la izquierda,
por tanto, para afl ojarla es necesario
girarla en el sentido de las agujas del
reloj.
– Afl ojar la tuerca de bloqueo
C
con
una llave hexagonal de 24 mm, y
extraer el soporte
D
.
– Montar en secuencia la sierra
E
, la
brida
D
y la tuerca
C
(para evitar
vibraciones, antes de montar la
hoja sierra limpiar muy bien las
bridas).
– Para facilitar la inserción de la
sierra
E
, hay que ensanchar lige-
ramente el transportador de virutas
e introducir la sierra a través de la
fi sura que se ha creado en corre-
spondencia de la fl echa
H
.
– Ajustar la tuerca con la llave de 24
mm utilizando el perno
B
.
– Regular la altura de la cuchilla sepa-
radora
F
afl ojando la tuerca
G
.
Regular la posición del cuchillo
divisor de manera que su distancia
de la hoja sierra esté entre 3 y 8 mm
(véase el ejemplo de la fi g.7).
La cuchilla divisoria se encuentra
en la posición correcta cuando la
protección de la sierra cubre una
parte del fi lo de la hoja sierra.
ВНИМАНИЕ
ВНИМАНИЕ
ИНФОРМАЦИЯ
ИНФОРМАЦИЯ
5.
NORME DI MESSA A PUNTO • SET-UP PROCEDURES
ENGLISH
ITALIANO
– 86 –
040_031_1.tif
8
B
A
C
D
T
040_032_1.tif
9
A
040_033_1.tif
10
D
C
B
A
5.1.4 Sega circolare -
regolazione
Regolare la posizione del gruppo
sega in altezza (fi g.8) agendo sul
pomello
A
previo allentamento del
pomello
B
; serrare il pomello
B
a
regolazione eseguita.
Regolare l'inclinazione facendo
riferimento alla targa
T
agendo sul
pomello
C
previo allentamento del
pomello
D
; serrare il pomello
D
a
regolazione eseguita.
5.1.5 Punte per mandrino -
montaggio (fi g. 9)
E' proibito l'uso di mole abrasive.
Fra due utilizzi della cavatrice
smontare la punta, poichè la sua
rotazione è comune all’albero di
piallatura a fi lo e la punta non
può essere protetta.
Le punte devono essere bloccate
per tutta la lunghezza utile del
mandrino.
La macchina può essere dotata
di mandrino fisso o mandrino
autocentrante.
Mandrino fi sso
Monta punte sinistre da 16 mm
le quali vengono serrate tramite
due viti. Per l'installazione agire
sulle viti con la chiave in dotazione
attraverso il foro
A
del copriman-
drino (fi g. 9).
Mandrino autocentrante
Monta punte sinistre da 3 a 16
mm le quali vengono serrate tra-
mite una vite. Per l'installazione
agire sulla vite con la chiave in
dotazione attraverso il foro
A
del
coprimandrino (fi g. 9).
5.2. PIANI A FILO -
REGISTRAZIONE (fi g.
10)
Piano d’entrata
Allentare la leva
A
.
Agire sulla leva
B
per posizio-
nare il piano
D
in funzione del-
l’asportazione desiderata: leggere
lo spostamento sulla targhetta
C
.
A regolazione eseguita serrare
la leva
A
.
5.1.4 Circular saw - adjustment
Adjust the saw assembly position
in height (Fig. 8) turning the knob
A
after loosening the knob
B
; tighten
the knob
B
after the adjustment has
been made.
Adjust the inclination referring to
the plate
T
and turning the knob
C
after loosening the knob
D
; tighten
the knob
D
after the adjustment has
been made.
5.1.5 Spindle bits - assembly
(fi g. 9)
It is prohibited to use abrasive
grinding wheels.
When the slotter is not in use, it
is necessary to disassemble the
bit, as it rotates jointly with the
surfacing table shaft and it cannot
be protected.
The bits must be locked over the
entire useful length of the spindle.
The machine may be equipped with
a fi xed or self-centering spindle.
Fixed spindle
Mounts 16 mm left bits which are
locked by two screws. For the
installation, act on the screws
with the wrench supplied through
the hole
A
of the spindle cover
(fi g. 9).
Self-centering spindle
Mounts from 3 to 16 mm left bits
which are locked by a screw. For the
installation, act on the screw with
the wrench supplied through the
hole
A
of the spindle cover (fi g. 9).
5.2. SURFACING TABLES -
ADJUSTING (fi g. 10)
Inlet table
Loosen the lever
A.
Move lever
B
to position table
D
on
ther basis of the trim required: read
the traverse on the data plate
C
.
When the adjustment is over,
tighten the lever
A
.
– 87 –
5.
ПРОЦЕДУРЫ НАЛАДКИ • NORMES POUR LA MISE AU POINT
NORMAS PARA LA PUESTA A PUNTO
FRANÇAIS
РУССКИЙ
ESPAÑOL
5.1.4 Дисковая пила -
регулировка
Отрегулировать положение пильного
узла по высоте (рис. 8) при помощи
рукоятки A, предварительно ослабив
фиксатор B. После завершения
регулировки затянуть фиксатор B.
Отрегулировать угол наклона пилы
рукояткой C, предварительно ослабив
фиксатор D. При этом ориентироваться
по шкале T. После завершения
регулировки затянуть фиксатор D.
5.1.5 Концевые фрезы
пазовального узла - монтаж
(рис. 9)
Запрещается использовать
абразивные диски.
Когда пазовальный узел не
используется, необходимо
демонтировать концевую фрезу.
Данная мера необходима в связи
с тем, что фреза вращается
совместно с ножевым валом
фуговально-рейсмусового узла, при
этом оставаясь не защищенной.
Концевые фрезы должны
закрепляться на всю рабочую
длину патрона.
Станок может быть оснащен
н е р е г у л и р у е м ы м
и л и
самоцентрирующим патроном.
Нерегулируемый патрон
Предназначен для монтажа левых
к онцевых фрез с диаметром
хвостовика 16 мм. Фрезы зажимаются
двумя винтами, для доступа к
головкам которых служит отверстие
A на кожухе (рис. 9). Для установки
концевой фрезы использовать
прилагаемый в комплекте ключ.
Самоцентрирующий патрон
Предназначен для монтажа левых
к онцевых фрез с диаметром
хвостовика от 3 до 16 мм. Фрезы
зажимаются одним винтом, для
доступа к головке которых служит
отверстие A на кожухе (рис. 9).
Для установки концевой фрезы
использовать прилагаемый в
комплекте ключ.
5.2. ФУГОВАЛЬНЫЕ СТОЛЫ -
РЕГУЛИРОВКА (рис. 10)
Передний стол
Ослабить фиксатор A.
При помощи рукоятки B установить
стол D на требуемую величину
снимаемого припуска. Смещение
стола определяется по шкале C.
После завершения регулировки
затянуть фиксатор A.
.
5.1.4 Scie circulaire - réglage
Régler la position en hauteur du
groupe scie (fi g. 8) en agissant sur
le pommeau
A
, après avoir desserré
le pommeau
B.
Une fois le réglage
effectué serrer le pommeau
B
.
Régler l’inclinaison en se référant
à la plaque
T
et en agissant sur le
pommeau
C
, après avoir desserré
le pommeau
D
. Une fois le réglage
effectué serrer le pommeau
D
.
5.1.5 Mèches pour mandrin -
montage (fi g. 9)
Il est interdit d’utiliser des meules
abrasives.
Entre deux utilisations de la
mortaiseuse démonter la mèche, car
sa rotation est comune à l'arbre de
dégauchisseuse et la mèche ne peut
être protégée.
Les pointes doivent être bloquées
sur toute la longueur utile du
mandrin.
La machine peut être équipée d’un
mandrin fi xe ou d’un mandrin à cen-
trage automatique.
Mandrin fi xe
Monte des mèches gauches de 16
mm, qui sont serrées à l’aide de deux
vis. Pour l’installation agir sur les vis,
à l’aide de la clé fournie, par l’orifi ce
A
du cache-mandrin (fi g. 9).
Mandrin à centrage automatique
Monte des mèches gauches de 3
à 16 mm, qui sont serrées à l’aide
d’une vis. Pour l’installation agir sur
la vis, à l’aide de la clé fournie, par
l’orifi ce
A
du cache-mandrin (fi g.9).
5.2. TABLES DE DEGAUCHIS-
SAGE - REGLAGE (fi g. 10)
Table d’entrée
Relâcher le levier
A
.
Agir sur le levier
B
pour placer la table
D
en fonction de la quantité voulu: lire
le déplacement sur la plaquette
C
.
Lorsque le réglage est terminé, ser-
rer le levier
A
.
5.1.4 Sierra circular -regulación
Regular la altura del grupo sierra (fi g.
8) actuando en el pomo
A
después
de haber afl ojado el pomo
B
; apre-
tar el pomo
B
una vez efectuada la
regulación.
Regular la inclinación tomando como
referencia la placa
T
actuando sobre
el pomo
C
después de haber afl ojado
el pomo
D
; apretar el pomo
D
una
vez efectuada la regulación.
5.1.5 Brocas para mandril -
montaje (fi g. 9)
Está prohibido usar muelas
abrasivas.
Entre dos ciclos de trabajo con la
mortajadora hace falta desmontar la
punta, ya que su rotación es común
para el árbol de acepilladura de eje
vertical y la punta no puede ser
protegida.
Las puntas deben de bloquearse en
toda la longitud útil del mandril.
La máquina puede estar dotada de
mandril fi jo o de autocentrado.
Mandril fi jo
Lleva brocas izquierdas de 16 mm,
las cuales se ajustan mediante dos
tornillos. Para la instalación, colocar
los tornillo a través del orifi cio
A
en
la protección del mandril sirviéndose
de la llave que se entrega con el
equipamiento (fi g. 9).
Mandril de autocentrado
Lleva brocas izquierdas de 3 a 16
mm, las cuales se ajustan mediante
un tornillo. Para la instalación, colo-
car el tornillo a través del orifi cio
A
en
la protección del mandril sirviéndose
de la llave que se entrega con el
equipamiento (fi g. 9).
5.2. PLANOS A RAS -
REGULACION (fi g. 10)
Plano de entrada
Soltar la palanca
A
.
Intervenir sobre la palanca
B
para
colocar la mesa
D
en función de la
extraccion deseada: leer el despla-
zamiento sobre la placa
C
.
Después de la regulación bloquear
la palanca
A
.
ВНИМАНИЕ
5.
NORME DI MESSA A PUNTO • SET-UP PROCEDURES
ENGLISH
ITALIANO
– 88 –
040_034_1.tif
11
E
C
G
B
D
F
L
A
5.3. PIALLA A SPESSORE -
REGOLAZIONI
Predisporre la macchina per lavo-
razioni allo spessore seguendo le
istruzioni indicate di seguito.
– Togliere il gruppo guida fi lo dal
piano.
– Sbloccare la piana tramite la
leva
A
.
– Sollevare la piana
B
(l'apertura
della piana aziona un micro che
impedisce l'aviamento della
macchina).
– Abbassare la piana fi lo
L
in modo
da consentire il corretto bloccag-
gio della cuffi a
C
.
– Ribaltare
la cuffi a convo-gliatruc-
cioli
C
assicurandola tramite la
molla
D
(la rotazione della cuffi a
agisce nuovamente sul micro
riattivando la macchina).
Registrare il piano spessore in
funzione dell’asportazione desi-
derata, operando in questo modo:
– allentare il pomello
E
;
– ruotare il volantino, facendo
riferimento all’indice
F
;
– serrare il pomello
E
.
Per azionare i rulli di trascinamen-
to, alzare la leva
G
.
Riportare la leva G in posizione
di riposo per non rovinare la
frizione.
5.3. THICKNESSING TABLES
- ADJUSTING
Set up the machine for thicknessing
following the instructions and then:
– Remove the planing fence unit
from the table.
– Release the table using lever
A
.
– Lift up table
B
(when the table
opens a microswitch is activated
that stops the machine from star-
ting).
– Lower the planing table
L
so that
guard
C
is locked correctly.
– Turn over the shaving conveyor
hood
C
securing it with the
spring
D
(the hood rotation again
actuates the micro re-activating
the machine).
Adjust the thicknessing tables to
obtain the required stock removal.
Proceed as follows:
– loosen the knob
E;
– turn the handwheel watching the
scale
F
;
– tighten the knob
E
.
To control the driving rollers, lift
lever
G
.
Bring lever G to home position
in order to avoid damaging the
clutch.
– 89 –
5.
ПРОЦЕДУРЫ НАЛАДКИ • NORMES POUR LA MISE AU POINT
NORMAS PARA LA PUESTA A PUNTO
FRANÇAIS
РУССКИЙ
ESPAÑOL
5.3. РЕЙСМУСОВЫЙ УЗЕЛ -
РЕГУЛИРОВКА
Подготовить станок к рейсмусовой
обработке, действуя в следующем
порядке:
– Снять со стола блок фуговальной
направляющей линейки.
– Разблокировать стол при помощи
рычага A.
– Поднять стол B (при подъеме
стола срабатывает концевой
вык лючатель, бл окирующий
запуск станка).
– Опустить фуговальный стол L
так, чтобы обеспечить правильную
фиксацию стружкоприемника C.
– Перекинуть стружкоприемник
C и закрепить его пружиной D
(при повороте стружкоприемника
происходит обратная коммутация
к о н ц е в о г о в ы к л ю ч а т е л я ,
разблокирующая станок).
Настроить рейсмусовый стол на
требуемую величину снимаемого
припуска, действуя в следующем
порядке:
– ослабить барашковый винт E;
– отрегулировать положение
стола маховиком, ориентируясь
по указателю F;
– затянуть барашковый винт E.
Для приведения в действие
подающих валов поднять рычаг G.
Вернуть рычаг G в нерабочее
положение, чтобы не повредить
фрикционную муфту.
5.3. RABOTEUSE - REGLAGES
Préparer la machine pour des usi-
nages de l’épaisseur en procédant
comme suit:
– Déposer le groupe de dégauchis-
sage
de la table ;
– Débloquer la dégauchisseuse avec
le levier
A
.
– Soulever la dégauchisseuse
B
(l'ouverture de la dégauchisseuse
actionne un contact qui empêche
la mise en marche de la machine).
– Abaisser la dégauchisseuse
L
de
manière à permettre le blocage
correct du protecteur
C
.
– faire pivoter le capot du convoya-
ge des copeaux
C
en l’assurant à
l’aide du ressort
D
(la rotation du
capot agit de nouveau sur le mi-
crocontact et réactive la machine).
Régler la table de rabotage selon
l’enlèvement désirée, en opérant de
la manière suivante:
– desserrer le bouton
E;
– tourner le volant, en se référant au
repère
F
;
– serrer le bouton
E
.
Pour actionner les rouleaux d’en-
traînement, soulever le levier
G
.
Ramener le levier G en position
de repos pour ne pas abîmer la
protection.
5.3. CEPILLO DE ESPESOR -
REGULACION
Preparar la máquina para elabora-
ciones sobre el espesor procediendo
de la siguiente manera:
– Quitar el grupo guía hilo de la
mesa;
– Desbloquear la mesa por medio
de la palanca
A
.
– Levantar la mesa
B
(la apertura
de la mesa acciona un micro que
impide la puesta en marcha de la
máquina).
– Bajar la mesa de refrentado
L
para
permitir que se bloquee correcta-
mente la envoltura
C
.
– volcar la envoltura transportador
de virutas
C
fi jándola con el resorte
D
(la rotación de la envoltura actúa
de nuevo sobre el microinterruptor
volviendo a activar la máquina).
Regular el plano de espesor en
función de la extracción deseada,
actuando del siguiente modo:
– afl ojar el botón esférico
E;
– girar la manivela, haciendo refe-
rencia al índice
F
;
– ajustar el botón esférico
E
.
Para accionar los rodillos de arrastre,
elevar la palanca
G.
Vuelva a colocar la palanca G en
posición de descanso para no
estropear el embrague.
ОПАСНОСТЬ
5.
NORME DI MESSA A PUNTO • SET-UP PROCEDURES
ENGLISH
ITALIANO
– 90 –
040_035_0. tif
12
A
D
E
C
D
040_036_0. tif
13
B
C
D
E
5.4. GUIDA SEGA E FILO -
REGOLAZIONE
Il gruppo guida viene utilizzato per
tagli paralleli con sega circolare e
per esecuzioni di piallature a fi lo.
Posizioni per lavorazioni alla
sega
Quando si lavora alla sega la guida
può assumere due posizioni :
A
- per tagli di pezzi di grandi
dimensioni (fi g.12)
B
- per tagli di pezzi bassi e stretti
(fi g.13).
La lettura degli spostamenti
della guida deve essere eseguita
attraverso l'apertura D del
supporto.
Per allontanare o avvicinare la
guida dalla lama occorre:
– allentare la maniglia
C
;
– far scorrere manualmente il
gruppo guida leggendo lo spo-
stamento sulla riga metrica
E
attraverso l'apertura
D
del sup-
porto;
– bloccare la maniglia
C
.
La lettura effettuata attraverso
l'apertura D è corretta solo se la
guida è posizionata come in
fi g. 12 e 13.
5.4. SAW AND SURFA-
CE UNIT FENCE -
ADJUSTMENT
The fence unit is used for parallel
cuts with a circular saw and for
surface planing.
Sawing positions
When working with the saw, the
fence may assume two positions:
A
- for cutting large pieces(fi g. 12)
B
- to cut low and narrow pieces
(fi g. 13).
The guide movements must be
read through opening D on the
support.
In order to remove the fence or to
draw it near the blade it is necessary
to operate as follows:
– loosen the handle
C
;
– manually slide the guide unit
reading the shift on the metric
ruler
E
through the opening
D
of
the support.
– tighten the handle
C
.
Readings made through the
opening D are only correct if the
fence is positioned a shown in fi g.
12 and 13.
– 91 –
5.
ПРОЦЕДУРЫ НАЛАДКИ • NORMES POUR LA MISE AU POINT
NORMAS PARA LA PUESTA A PUNTO
FRANÇAIS
РУССКИЙ
ESPAÑOL
5.4. НАПРАВЛЯЮЩАЯ
ЛИНЕЙКА ПИЛЫ
И ФУГАНКА -
РЕГУЛИРОВКА
Н а п р а в л я ю щ а я л и н е й к а
применяется при параллельном
раскрое и фуговании.
П оложе н и я д л я о п е р а ц и и
распила
П р и в ы п ол н е н и и р а с п и л о в
направляющая линейка может
занимать следующие два
положения:
A - для распила заготовок больших
размеров (рис.12)
B - для распила низких и узких
заготовок (рис.13).
Положение направляющей
линейки считывается в окошке
D суппорта.
Д л я н а с т р о й к и р а с с т о я н и я
между линейкой и пильным
диском необходимо выполнить
следующие действия:
– Ослабить фиксатор C;
– В р у ч н у ю с д в и н у т ь б л о к
н а п р а в л я ю щ е й л и н е й к и .
Смещение считывается по шкале
E через окошко D суппорта;
– Затянуть фиксатор C.
Показания, считываемые в
окошке D, являются правильными
только в том случае, если
направляющая линейка
расположена, как показано на рис.
12 и 13.
5.4. GUIDE SCIE ET DEGAU-
CHISSAGE - REGLAGE
Le groupe guide est utilisé pour les
coupes parallèles avec scie circulaire
et pour les dégauchissages.
Positions pour les usinages à la
scie
Lorsqu’on travaille avec la scie le rail
peut avoir deux positions :
A
- pour les coupes de pièces de
grandes dimensions (fi g.12)
B -
pour coupes de pièces basses
et étroites (fi g.13).
La lecture des déplacements de
la glissière doit être effectuée à
travers l'ouverture D du support.
Pour éloigner ou approcher le guide
de la lame il faut:
– desserrer la poignée
C
;
– faire coulisser manuellement le
groupe de guidage en lisant le
déplacement sur la règle métrique
E
par l’ouverture
D
du support.
– bloquer la poignée
C
.
La lecture effectuée à travers
l'ouverture D n'est correcte que
si le guide est positionné comme
l'indiquent les fi g. 12 et 13.
5.4. GUIA SIERRA E HILO - RE-
GULACION
El grupo guía se utiliza para cortes
paralelos con sierra circular y para
ejecuciones de acepilladura a ras.
Posiciones para trabajos con
sierra
Cuando se trabaja con la sierra, la
guía puede asumir dos posiciones:
A
- Para cortes de grandes dimen-
siones (fi g.12)
B
- para cortes de piezas bajas y
estrechas (fi g.13).
La lectura de los desplazamientos
de la guía tiene que realizarse a
través de la abertura D del soporte.
Para alejar o acercar la guía a la hoja
hace falta:
– afl ojar la manija
C
;
– hacer correr manualmente el grupo
guía leyendo el desplazamiento en
la regla
E
a través de la abertura
D
del soporte.
– bloquear la manija
C
.
La lectura efectuada a través de
la apertura D es correcta solo si la
guía está colocada como en las fi g.
12 y 13.
ИНФОРМАЦИЯ
ИНФОРМАЦИЯ
5.
NORME DI MESSA A PUNTO • SET-UP PROCEDURES
ENGLISH
ITALIANO
– 92 –
D
C
040_093_0.tif
14
A
H
L
E
C
D
A
021_039.tif
B
A
15
021_040.tif
B
A
16
Posizioni per lavorazioni alla
pialla fi lo
Quando si lavora alla pialla fi lo po-
sizionare la guida
A
come in fi g.14.
La guida può assumere due posi-
zioni rispettivamente a 90° e 45°.
Allentare il pomello
C
per portare
la guida nelle posizioni sopraci-
tate.
Per la regolazione trasversale
agire sulla leva
D
.
Accertarsi sempre che il distan-
ziale in plastica
E
sia posizionato
come indicato in fi gura (fi g.14);
questo per evitare interferenze fra
la guida
A
e l'albero pialla.
Le protezioni H e L devono
essere sempre posizionate
sull’albero pialla durante la
lavorazione.
5.5. GUIDE TOUPIE -
REGISTRAZIONE
Il posizionamento e la registrazio-
ne della guida toupie varia col tipo
di lavorazione.
Quando si esegue un profi lo su
tutto il lato del pezzo la guida in
uscita (
B
) deve essere allineata
all’utensile (fi g. 15).
Se la profi latura non viene esegui-
ta su tutto il lato, ma solo su parte
di esso le due guide
A
e
B
devono
essere allineate (fi g. 16).
Planing positions
When operating with the buzz planer,
position the guide
A
as in Fig. 14.
The guide can assume two posi-
tions, at 90° and 45° respectively.
Slacken knob
C
to move the fence
to the positions outlined above.
For transversal adjustment act on
the handle
D
.
Always make sure that the plastic
spacer
E
is positioned as shown
in the diagram (Fig. 14); this is to
prevent interference between the
guide
A
and the planer spindle.
During the machining, the pro-
tections H and L must always
be positioned on the cut-
terblock.
5.5. MOULDER FENCE -
ADJUSTING
The positioning and adjustment of
the spindle moulder fence changes
according to the type of operation
to be carried out.
When profi ling the entire side of
workpiece half-fence (
B
) shall be
alignad with tool (fi g. 15).
If profi ling is not done on the entire
side, but only on a part, the two
fences
A
and
B
must be aligned
(fi g. 16)
– 93 –
5.
ПРОЦЕДУРЫ НАЛАДКИ • NORMES POUR LA MISE AU POINT
NORMAS PARA LA PUESTA A PUNTO
FRANÇAIS
РУССКИЙ
ESPAÑOL
П оложе н и я д л я о п е р а ц и й
фугования
Для выполнения фугования
н е о б х о д и м о р а с п о л о ж и т ь
направляющую линейку A, как
показано на рис.14.
Направляющая линейка может
занимать два угловых положения
- 90° и 45°.
Перестановка направляющей
линейки между этими положениями
возможна после ослабления
барашкового винта C.
Настройка линейки в поперечном
направлении производится с
использованием рычага D.
Пластиковый расширитель E
должен всегда располагаться,
как показано на рис.14. Данная
мера необходима для того, чтобы
избежать к онфлик та между
направляющей линейкой A и
ножевым валом.
Во время работы ограждения
H и L должны находиться над
ножевым валом.
5.5. ФРЕЗЕРНЫЕ
НАПРАВЛЯЮЩИЕ
ЛИНЕЙКИ - НАСТРОЙКА
Положение и порядок настройки
фрезерных направляющих линеек
зависит от выполняемой операции.
При фрезеровании профиля
вдоль всей стороны заготовки
задняя направляющая линейка
(B) должна находиться на одном
уровне с инструментом (рис. 15).
Если же профиль фрезеруется
не вдоль всей стороны, а только
вд ол ь н е к ото р о й е е ч а с т и ,
направляющие линейки A и B
должны находиться на одном
уровне (рис. 16).
Positions pour les usinages à la
dégauchisseuse
Quand on travaille au rabot dégau-
chissage placer le guide
A
comme
sur la fi g. 14.
Le guide peut assumer deux positions,
respectivement à 90° et à 45°.
Desserrer le bouton
C
pour conduire
le guide dans les positions citées
ci-dessus.
Desserrer la poignée
C
pour met-
tre le guide dans les positions
susnommées.
Pour le réglage transversale se servir
de la poignée
D
.
Toujours s'assurer que l'entretoise en
plastique
E
se trouve dans la position
indiquée par la fi gure (Fig. 14) afi n
d’éviter des interférences entre le
guide A et l’arbre du rabot.
Pendant l’usinage, les protections
H et L doivent être toujours
positionnées sur l’arbre rabot.
5.5. GUIDE TOUPIE - REGLAGE
La mise en place et le réglage des
rails de la toupie varient en fonction
du type d’usinage.
Pour l’exécution d’un profil sur
toute la largeur de la piece le
demi-guide (
B
) doit être aligné
avec l’outil (fi g. 15).
Si le profi lage n’est pas exécuté sur
tout le côté, mais uniquement sur une
partie de ce dernier, les deux rails
A
et
B
doivent être alignés (fi g. 16).
Posiciones para trabajos con el
cepillo a ras
Cuando se trabaja con cepillo a ras
se debe colocar la guía
A
como se
indica en fi g. 14.
La guía puede adoptar dos posiciones,
respectivamente de 90º y 45º.
Afl ojar la perilla
C
para colocar la
guía en las posiciones mencionadas.
Para efectuar la regulación transver-
sal se deberá operar con la manilla
D
.
Asegurarse siempre que el distancial
de plástico
E
esté posicionado como
se indica en la fi gura (fi g. 14) para
evitar interferencias entre la guía
A
y el árbol cepillo.
Las protecciones H y L deben
siempre colocarse sobre el árbol
cepillo durante el trabajo.
5.5. GUÍAS TUPÍ - AJUSTE
El posicionamiento y el registro de
la guía tupí varía según el tipo de
elaboración.
Cuando se efectúa un perfi l sobre
todo el lado de la pieza, la guía en
salida (
B
) debe estar alineada a la
herramienta (fi g. 15).
Si el perfi lado no se realiza sobre
todo el lado sino sólo sobre una parte
del mismo, las dos guías
A
y
B
deben
estar alineadas (fi g. 16).
ВНИМАНИЕ
5.
NORME DI MESSA A PUNTO • SET-UP PROCEDURES
ENGLISH
ITALIANO
– 94 –
•
D
040_038_1.tif
B
17
•
A
040_039_1.tif
18
B
D
A
G
E
C
H
D
D
040_100_1.TIF
B
A
040_101_1.tif
D
D
G
A
•
B
•
H
D
E
F
C
D
(OPT)
(OPT)
Per registrare la posizione della
cuffi a e delle guide toupie, agire
nel modo seguente (fi g. 17):
– Posizionare la cuffi a sul piano di
lavoro e avvitare i due pomelli
C
e
G
nei rispettivi fori;
– registrare la guida
B
tramite
pomello
E
previo allenta mento
del pomello
G
.
Leggere lo scostamento fra le due
tavolette sull'indice
H
.
Quando l'indice è posizionato sullo
0
le guide sono allineate fra di loro.
Le due guide vanno registrate in
modo che il pezzo abbia un sicuro
appoggio sia in ingresso che in
uscita.
A regolazione eseguita serrare i
pomelli
C
e
G
(fi g. 17).
– Allentare le due maniglie
D
(fi g.
18) e avvicinare all'utensile le
due guide
A
e
B
;
– Serrare le maniglie
D
.
Le guide devono essere sempre
regolate in modo da essere il più
vicino possibile alla fresa.
For adjusting the hood and the
fence proceed as follows (fi g.17):
– Position the hood on the working
table and screw the two knobs
C
and
G
into their special holes;
– adjust fence
B
by means of knob
E
after loosening knob
G
.
Read the deviation between the two
tables on index
H
.
When the index is positioned on
0
,
the fences are aligned.
The two fences must be adjusted
so the workpiece is stable at both
infeed and outfeed.
When the adjustment has been
completed, tighten the knobs
C
and
G
(Fig.17).
– Loosen the two handles
D
(fi g. 18)
and move the two fences
A
and
B
close to the tool.
– Tighten handles
D
.
The fences must always be
adjusted in order to be as close as
possible to the milling cutter.
– 95 –
5.
ПРОЦЕДУРЫ НАЛАДКИ • NORMES POUR LA MISE AU POINT
NORMAS PARA LA PUESTA A PUNTO
FRANÇAIS
РУССКИЙ
ESPAÑOL
Настройка положения кожуха
и н а п р а в л я ю щ и х л и н е е к
фрезерного узла выполняется
в следующем порядке (рис. 17):
– Установить кожух на стол и
ввинтить барашковые винты C и
G в соответствующие отверстия;
– Н а с т р о и т ь п о л о ж е н и е
н а п р а вл я ю ще й л и н е й к и B
рукояткой E, предварительно
ослабив барашковый винт G.
Разница положений между двумя
линейками определяется по
шкале H.
Когда указатель располагается
напротив 0, направляющие
линейки находятся в одной
плоскости.
Направляющие линейки должны
настраиваться таким образом,
ч то б ы з а гото в к а н а д еж н о
прижималась к ним как на входе,
так и на выходе.
После завершения регулировки
затянуть барашковые винты C
и G (рис. 17).
– Ослабить пару фиксаторов
D (рис. 18) и приблизить к
инструменту направляющие
линейки A и B;
– Затянуть фиксаторы D.
Направляющие линейки должны
устанавливаться как можно ближе
к фрезе.
Pour régler le guide toupie il faut
(fi g.17):
– Positionner le protecteur sur la
table de travail et visser les deux
boutons
C
et
G
dans les trous
prévus;
– régler le rail
B
, à l’aide du pomme-
au
E
, en ayant d’abord desserrer
le pommeau
G
.
Lire l’écart entre les deux tablettes
sur l’index
H
.
Lorsque l’index est placé sur
0
les
deux rails sont alignés entre eux.
Les deux rails doivent être réglés
pour que la pièce ait un appui sûr, à
l’entrée comme à la sortie.
Après le réglage serrer les pomme-
aux
C
et
G
(fi g. 17).
– Desserrer les deux poignées
D
(fi g.
18) et approcher les deux rails
A
et
B
de l’outil.
– Serrer les poignées
D
.
Les guides doivent être toujours réglés
de façon à être toujours rapprochés le
plus possible de la fraise.
Para el ajuste de la posición de la caja
y de las guías tupí, actuar como está
explicado a continuación (fi g.17):
– Colocar el cabezal sobre la mesa de
trabajo y atornillar los dos botones
esféricos
C
y
G
en los agujeros
correspondientes;
– Afl ojando antes la perilla
G
, regi-
strar la guía
B
mediante la perilla
E
.
Leer la diferencia entre las dos tablas
en el índice
H
.
Las guías están alineadas entre
sí cuando el índice se encuentra
sobre el
0
.
Las dos guías deben ser registradas
en modo que la pieza cuente con un
apoyo seguro tanto en la entrada
como en la salida.
Una vez efectuada la regulación,
ajustar las perillas
C
y
G
(fi g. 17).
– Afl ojar las dos manillas
D
(fi g.18)
y acercar las dos guías
A
y
B
a la
herramienta.
– Ajustar las manillas
D
.
Las guías deben estar siempre
reguladas de modo que estén lo
más cerca posible de la fresa.
ВНИМАНИЕ
5.
NORME DI MESSA A PUNTO • SET-UP PROCEDURES
ENGLISH
ITALIANO
– 96 –
H
21
63_137_0.tif
M
E
C
G
D
G
L
20
040_040_1.tif
E
F
M
040_102_1 TIF.
L
M
G
F
E
(OPT)
Regolare la posizione del pressa-
tore orizzontale
E
e verticale
F
in
appoggio sul pezzo da lavorare
procedendo come segue (fi g. 20):
– allentare il pomello
G
e regolare
trasversalmente il pressatore
E
in base alla larghezza del legno
da lavorare.
– Serrare il pomello a regolazione
eseguita.
– Allentare i pomelli
L
e
M
e po-
sizionare il pressatore verticale
F
sul legno mantenendolo il più
vicino possibile alla fresa.
– Serrare i pomelli
L
e
M
a rego-
lazione avvenuta.
Regolare i pressatori in maniera
tale che il legno da lavorare possa
scorrere con facilità.
5.6. CUFFIA TOUPIE PER
SAGOMARE -
REGOLAZIONI (FIG.21)
q
PROFONDITÀ DI LAVORO
REGOLAZIONE
– allentare il pomello
H
e agire
sul pomello
M
per eseguire la
regolazione micrometrica;
– serrare il pomello
H
.
q
LUNETTE COPIATRICI - RE-
GOLAZIONE ALTEZZA
– Allentare il pomello
C
e regolare
le lunette
D
all'altezza desidera-
ta;
– ribloccare a regolazione esegui-
ta.
q
PRESSATORE -
REGOLAZIONE
– Allentare il pomello
E
e regolare
il pressatore
G
in modo che
faccia una leggera pressione
sul pezzo da lavorare;
– ribloccare a regolazione esegui-
ta.
Adjust the position of the horizontal
presser
E
and the vertical presser
F
resting it on the piece to be machi-
ned and proceed as follows (fi g. 20):
– Slacken the knob
G
and adjust the
presser E sideways depending
on the width of the wood to be
planed.
– Serrare il pomello a regolazione
eseguita.
– Loosen the knobs
L
and
M
and
position the vertical presser
F
on
the wood maintaining it is close
as possible to the cutter.
– Lock the knobs
L
and
M
when the
adjustment has been completed.
Adjust the pressers in such a way
that the wood to be machined can
slide easily.
5.6. SHAPING ROUTER
HOOD - ADJUSTMENTS
q
WORKING DEPTH
ADJUSTMENT
– loosen the knob
H
and act on
the knob
M
to make micrometric
adjustments
– tighten the knob
H
.
q
TRACER RESTS - HEIGHT
ADJUSTMENT
– Loosen the knob
C
or the screws
C
and adjust the rest
D
to the
desired height;
– relock when adjustment has been
completed.
q
PRESSER - ADJUSTMENT
– Loosen the knob
E
or the screws
E
and adjust the presser
G
in such
a way that it exercises slight pres-
sure on the piece to be machined.
– relock when adjustment has been
completed.
– 97 –
5.
ПРОЦЕДУРЫ НАЛАДКИ • NORMES POUR LA MISE AU POINT
NORMAS PARA LA PUESTA A PUNTO
FRANÇAIS
РУССКИЙ
ESPAÑOL
Отрегулировать горизонтальный
E и вертикальный F прижим по
заготовке, действуя следующим
образом (рис. 20):
– Ослабить барашковый винт
G и отрегулировать положение
п р и ж и м а E в п о п е р еч н о м
направлении на ширину заготовки.
– Завершив действие, затянуть
барашковый винт.
– Ослабить барашковые винты L и
M и опереть вертикальный прижим
F на заготовку, одновременно
приблизив его как можно ближе
к фрезе.
– Завершив действие, затянуть
барашковые винты L и M.
Прижимы следует настраивать
таким образом, чтобы заготовка
перемещалась без усилий.
5.6. ОГРАЖДЕНИЕ
ШПИНДЕЛЯ ДЛЯ
КРИВОЛИНЕЙНОГО
ФРЕЗЕРОВАНИЯ
ПО ШАБЛОНУ -
РЕГУЛИРОВКА (РИС.21)
ГЛУБИНА ФРЕЗЕРОВАНИЯ
РЕГУЛИРОВКА
– Ослабить барашковый винт H и
выполнить точную регулировку
винтом M;
– Затянуть барашковый винт H.
КОПИРЫ - РЕГУЛИРОВКА ПО
ВЫСОТЕ
– Ослабить барашковый винт C
и отрегулировать копиры D на
требуемую высоту;
– После завершения действия
затянуть барашковый винт.
ПРИЖИМ - РЕГУЛИРОВКА
– Ослабить барашковый винт
E и отрегулировать прижим G
так, чтобы он слегка давил на
заготовку;
– После завершения регулировки
затянуть барашковый винт.
Régler la position du presseur, ho-
rizontal
E
et vertical
F
, en appui sur
la pièce à usiner en agissant comme
suit (fi g. 20):
– desserrer le bouton
G
et régler
transversalement le presseur
E
sur la base de la largeur du bois à
usiner.
– Une fois le réglage effectué, res-
serrer le bouton.
– Desserrer les pommeaux
L
et
M
,
puis placer le presseur vertical
F
sur le bois en le maintenant le plus
près possible de la fraise.
– Une fois le réglage effectué, res-
serrer les pommeaux
L
et
M
.
Régler les presses de sorte que le
bois qui doit être travaillé puisse
glisser facilement.
5.6. PROTECTEUR TOUPIE
POUR FAÇONNER - RE-
GLAGES
q
PROFONDEUR D’USINAGE-RÉ-
GLAGE
– desserrer le pommeau
H
et agir
sur le pommeau
M
pour effectuer
le réglage micrométrique;
– serrer le pommeau
H
.
q
ANNEAUX COPIEURS -
RÉGLAGE HAUTEUR
– Desserrer le pommeau
C
ou les
vis
C
et régler les lunettes
D
à la
hauteur voulue;
– rebloquer après le réglage.
q
PRESSEUR - RÉGLAGE
– Desserrer le pommeau
E
ou les vis
E
et régler le presseur
G
pour qu’il
exerce une légère pression sur la
pièce à usiner;
– rebloquer après le réglage.
Regular la posición de la prensa
horizontal
E
y vertical
F
hasta que
apoyen sobre la pieza a trabajar.
Para ello, proceder de la siguiente
manera (fi g. 20):
– afl ojar la perilla
G
y regular tran-
sversalmente el prensador
E
con-
forme a la anchura de la madera
a tratar.
– Una vez efectuada la regulación,
ajustar la perilla.
– Afl ojar las perillas
L
y
M
y colocar la
prensa vertical
F
sobre la madera,
manteniéndola lo más cercana
posible a la fresa.
– Una vez efectuada la regulación,
ajustar las perillas
L
y
M
.
Regular las prensas de manera que
la madera a trabajar se deslice con
facilidad.
5.6. PROTECCION DEL TUPI
PARA MOLDURAR - RE-
GULACIONES
q
PROFUNDIDAD DE TRABAJO -
REGULACIÓN
– Afl ojar la perilla
H
y mover la pe-
rilla
M
para efectuar la regulación
micrométrica
– Ajustar la perilla
H
q
ANILLOS COPIADORES - REGU-
LACIÓN DE LA ALTURA
– Afl ojar la perilla
C
o los tornillos
C
y regular los apoyos
D
a la altura
deseada
– Una vez efectuada la regulación,
bloquear nuevamente.
q
PRENSA - REGULACIÓN
– Afl ojar la perilla
E
o los tornillos
E
y regular la prensa
G
de manera
que ejerza una leve presión sobre
la pieza a elaborar
– Una vez efectuada la regulación,
bloquear nuevamente.
5.
NORME DI MESSA A PUNTO • SET-UP PROCEDURES
ENGLISH
ITALIANO
– 98 –
040_110_0.tif
22
A
C
040_113_1.tif
23
5.7
CAMBIO VELOCITÀ
ALBERO TOUPIE
Per il cambio della velocita agire
nel modo seguente;
– Allentare la maniglia a ripresa
A
.
– Spingere il motore . La cinghia
C
è ora allentata e, quando ne-
cessita, si può sostituire.
– Cambiare sede alla cinghia po-
sizionandola in funzione della
velocità che si vuole ottenere
facendo riferimento alla targhet-
ta di fi g. 23.
– Agire sul motore allontanando le
due pulegge e serrare la mani-
glia
A
.
Non eccedere nel tensionamento
della cinghia per non
sovraccaricare i cuscinetti.
Per visualizzare la velocità, guar-
dare la posizione della cinghia
attraverso lo sportello
P
(fi g. 22).
La lavorazione di tenonatura va
eseguita esclusivamente con la
velocità di rotazione dell'albero
di 4250 (50 Hz) / 5100 (60 Hz) giri/
min.
5.7
MOULDER SHAFT
SPEED CHANGING
To change the speed, operate as
follows:
– Loosen the handle
A
.
– Push the motor
.
The belt
C
is now
loosened and, if it is necessary, it
can be replaced.
– Change the seat of the belt,
positioning it depending on the
speed to be obtained, referring
to the plate in fi g. 23.
– Operate the motor, moving the
two pulleys away and tightening
the handle
A
.
Do not overstretch the belt not to
overload the bearings.
To display the speed, look at the
position of the belt through door
P
(fi g. 22).
Tenoning must exclusively be
carried out with a spindle rotation
speed of 4250 (50 Hz) / 5100 (60
Hz) rpm.
Posizioni e relative velocità sono
illustrate sulla targhetta (fi g.33).
T1
- Versione motorizzazione 50 Hz
T2
- Versione motorizzazione 60 Hz
Positions and speed values are
shown on the data plate (fi g. 23).
T1
- 50 Hz motor version
T2
- 60 Hz motor version
– 99 –
5.
ПРОЦЕДУРЫ НАЛАДКИ • NORMES POUR LA MISE AU POINT
NORMAS PARA LA PUESTA A PUNTO
FRANÇAIS
РУССКИЙ
ESPAÑOL
5.7
ИЗМЕНЕНИЕ СКОРОСТИ
ФРЕЗЕРНОГО
ШПИНДЕЛЯ
Изменение скорости вращения
п р о и з в од и т с я с л ед у ю щ и м
образом:
– Ослабить фиксатор A.
– Сместить двигатель. При этом
приводной ремень C окажется
ослаблен: при необходимости
его можно заменить.
– Изменить положение приводного
ремня согласно от требуемой
скорости (см. табличку на рис.
23).
– Сместить двигатель, раздвинув
шкивы, и затянуть фиксатор A.
Не перетягивать приводной
ремень с тем, чтобы не создавать
чрезмерной нагрузки на
подшипники.
Д л я о п р ед ел е н и я с к о р о с т и
достаточно посмотреть на ремень
сквозь окошко P (рис. 22).
Шипорезные работы должны
выполняться только на скорости
вращения шпинделя 4250 (50 Гц) /
5100 (60 Гц) об/мин.
5.7. CHANGEMENT DE LA VI-
TESSE DE L’ARBRE TOU-
PIE
Pour le changement de la vitesse
faire de la façon suivante;
– Desserrer la poignée
A .
– Pousser le moteur . La courroie
C
n’est maintenant plus en tension
et, si cela est nécessaire, on peut
la remplacer.
– Changer le logement de la courro-
ie en la plaçant en fonction de la
vitesse qu’on veut obtenir et en se
référant à la plaque de la fi g.23.
– Actionner le moteur en éloignant
les deux poulies et serrer la poi-
gnée
A
.
La courroie ne devra pas être mise
excessivement sous tension, pour
ne pas surcharger les paliers.
Pour visualiser la vitesse, regarder
la position de la courroie par la porte
P
(fi g. 22).
Le tenonnage doit être effectué
exclusivement avec la vitesse de
rotation de l’arbre à 4250 (50 Hz) /
5100 (60 Hz) tours/min.
5.7. CAMBIO DE VELOCIDAD
ÁRBOL TUPÍ
El cambio de la velocidad se efectúa
de la siguiente manera:
– Afl ojar la manija
A
.
– Empujar el motor . La correa
C
está afl ojada; sustituirla cuando
necesario.
– Cambiar alojamiento a la correa si-
tuándola en función de la velocidad
que se desea obtener, tomando
como referencia la placa de fi g. 23.
– Accionar en el motor alejando las
dos poleas y apretar la manija
A
.
No excederse en la tensión de la
correa para no sobrecargar los
cojinetes.
Para visualizar la velocidad, mirar la
posición de la correa a través de la
portezuela
P
(Fig. 22).
El espigado debe ser efectuado
exclusivamente con una velocidad
de rotación del árbol de 4250 (50 Hz)
/ 5100 (60 Hz) rev/min.
Положения приводного ремня и
соответствующие скорости
показаны на табличке (рис.33).
T1 - Вариант исполнения с частотой
питания 50 Гц
T2 - Вариант исполнения с частотой
питания 60 Гц
Les positions et les vitesses y rela-
tives sont indiquées dans la plaque
(fi g.23).
T1
- Modèle avec moteur 50 Hz
T2
- Modèle avec moteur 60 Hz
Posiciones y velocidades correspon-
dientes se ilustran en la plaqueta
(fi g. 23).
T1
- Versión motorización 50 Hz
T2
- Versión motorización 60 Hz.
ВНИМАНИЕ
ОПАСНОСТЬ

